Parts for G0484 9" x 32" Gear-Head Mill / Drill with Stand

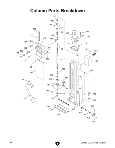
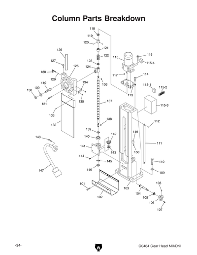
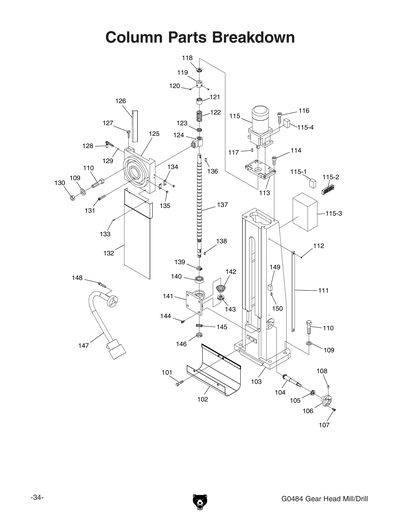
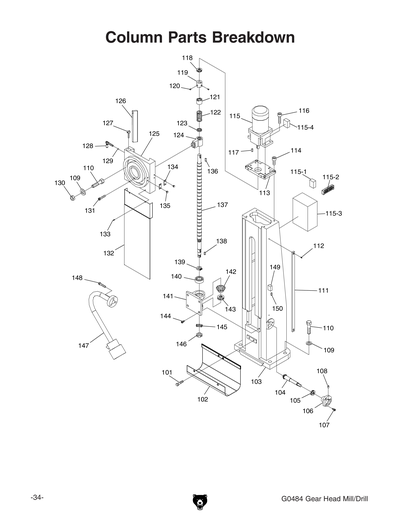
Parts Diagrams for G0484 - 9" x 32" Gear-Head Mill / Drill with Stand

IMPORTANT

Parts may have multiple versions that have changed over time. This will be indicated by V1, V2, V3, etc. in the parts description, followed by the version month and year that it was first used. Example: V2.01.17 indicates version 2 of a part went into use in January 2017. Please reference the manufacture date on the ID Label for your machine to ensure you are selecting the correct part when multiple versions are indicated.

If you cannot locate your part below, please contact our tech support department at techsupport@grizzly.com or 570-546-9663.

Please note: All parts ship out of our Springfield, Missouri facility.

Parts List for Parts for G0484 9" x 32" Gear-Head Mill / Drill with Stand

1
*DISCD*HANDLE
Item is no longer available
Price
N/A
2
*DISCD*HANDWHEEL
Item is no longer available
Price
N/A
3
SET SCREW M6-1 X 8
Price
N/A
4
*DISCD*PIN 5 X 50
Item is no longer available
Price
N/A
5
*DISCD*HANDWHEEL CLUTCH
$57.50
Enter quantity between 1 and 99
6
*DISCD*GRADUATED DIAL
$56.65
Enter quantity between 1 and 99
7
*DISCD*KNOB M5-.8 X 12
$1.49
Enter quantity between 1 and 99
8
*DISCD*SHIFTING RING 17 X 28
Item is no longer available
Price
N/A
9
*DISCD*THRUST BEARING 17 X 30 X 9MM
$16.10
Enter quantity between 1 and 99
10
CAP SCREW M8-1.25 X 20
Price
N/A
11
*DISCD*LEADSCREW SUPPORT
Item is no longer available
Price
N/A
12
*DISCD*PIN 8 X 25
Item is no longer available
Price
N/A
13
*DISCD*BALL OILER
Item is no longer available
Price
N/A
14
*DISCD*LEADSCREW
$140.90
Enter quantity between 1 and 99
15
CAP SCREW M5-.8 X 12
Price
N/A
16
*DISCD*LEADSCREW NUT
Item is no longer available
Price
N/A
17
*DISCD*BASE
Item is no longer available
Price
N/A
18
*DISCD*STAND
Item is no longer available
Price
N/A
19
Now: PS17M
PHLP HD SCR M4-.7 X 6
Price
N/A
20
*DISCD*PANEL FRONT
Item is no longer available
Price
N/A
21
*DISCD*SIDE PANEL
Item is no longer available
Price
N/A
22
Now: PW06M
FLAT WASHER 12MM
Price
N/A
23
HEX BOLT M12-1.75 X 130
Price
N/A
24
*DISCD*GIB
Item is no longer available
Price
N/A
25
*DISCD*GIB ADJUSTING SCR M8 X 35
Item is no longer available
Price
N/A
26
*DISCD*SADDLE
$311.40
Enter quantity between 1 and 99
27
*DISCD*GIB
$23.90
Enter quantity between 1 and 99
28
*DISCD*LOCK HANDLE
Item is no longer available
Price
N/A
29
STEEL BALL 6MM
Price
N/A
30
CAP SCREW M8-1.25 X 25
Price
N/A
31
*DISCD*LEADSCREW SUPPORT
$63.00
Enter quantity between 1 and 99
32
*DISCD*LEADSCREW NUT
Item is no longer available
Price
N/A
33
*DISCD*PIN
Item is no longer available
Price
N/A
34
CAP SCREW M8-1.25 X 25
Price
N/A
35
*DISCD*LEADSCREW
$211.60
Enter quantity between 1 and 99
36
*DISCD*LEADSCREW SUPPORT
$63.00
Enter quantity between 1 and 99
37
*DISCD*DIAL CLUTCH
$57.50
Enter quantity between 1 and 99
38
*DISCD*TABLE
Item is no longer available
Price
N/A
38-1
*DISCD*POWERFEEDER AS-235 220V 60HZ 1PH
Item is no longer available
Price
N/A
38-1A
*DISCD*POWERFEEDER CASTING
Item is no longer available
Price
N/A
39
CAP SCREW M6-1 X 12
Price
N/A
40
*DISCD*STOP BLOCK
Item is no longer available
Price
N/A
41
*DISCD*STOP BLOCK NUT M6
Item is no longer available
Price
N/A
42
*DISCD*BALL OILER 6MM
Item is no longer available
Price
N/A
43
*DISCD*TABLE PLATE REAR
Item is no longer available
Price
N/A
44
Now: PB06M
HEX BOLT M8-1.25 X 12
Price
N/A
101
Now: PB06M
HEX BOLT M8-1.25 X 12
Price
N/A
102
*DISCD*SADDLE WAY PROTECTOR
Item is no longer available
Price
N/A
103
*DISCD*COLUMN
Item is no longer available
Price
N/A
104
*DISCD*GEAR SHAFT
$23.90
Enter quantity between 1 and 99
105
*DISCD*THRUST BEARING 15 X 28 X 9MM
Item is no longer available
Price
N/A
106
*DISCD*GEAR SHAFT BRACKET
Item is no longer available
Price
N/A
107
CAP SCREW M6-1 X 12
Price
N/A
108
*DISCD*BALL OILER 6MM
Item is no longer available
Price
N/A
109
LOCK WASHER 16MM
Price
N/A
110
Now: PB80M
HEX BOLT M16-2 X 55
Price
N/A
111
*DISCD*SCALE
Item is no longer available
Price
N/A
112
Now: PS37M
PHLP HD SCR M6-1 X 6
Price
N/A
113
*DISCD*MOTOR MOUNT
Item is no longer available
Price
N/A
114
CAP SCREW M6-1 X 16
Price
N/A
115
*DISCD*MOTOR 1/8HP 1PH 220V 60HZ
$485.90
Enter quantity between 1 and 99
115-1
*DISCD*R CAPACITOR 5M 450V CBB61
Item is no longer available
Price
N/A
115-2
*DISCD*TERMINAL BLOCK
Item is no longer available
Price
N/A
115-3
*DISCD*MOTOR ELECTRICAL BOX
$31.95
Enter quantity between 1 and 99
115-4
*DISCD*MOTOR JUNCTION BOX
Item is no longer available
Price
N/A
115-5
*DISCD*MOTOR BASE MOUNT
Item is no longer available
Price
N/A
115-6
Now: PS62M
PHLP HD SCR M6-1 X 30
Price
N/A
115-7
Now: PN01M
HEX NUT M6-1
Price
N/A
115-8
LOCK WASHER 6MM
Price
N/A
115-9
Now: PW03M
FLAT WASHER 6MM
Price
N/A
116
CAP SCREW M6-1 X 25
Price
N/A
117
Now: PK01M
KEY 5 X 5 X 22
Price
N/A
118
*DISCD*THRUST BEARING 15 X 28 X 9MM
Price
N/A
119
*DISCD*CLUTCH TOP
Item is no longer available
Price
N/A
120
SET SCREW M6-1 X 8
Price
N/A
121
*DISCD*BOTTOM CLUTCH
Item is no longer available
Price
N/A
122
*DISCD*COMPRESSION SPRING 3.5 X 24.5 X 3
Item is no longer available
Price
N/A
123
*DISCD*SPRING BASE
Item is no longer available
Price
N/A
124
*DISCD*LEADSCREW NUT
Item is no longer available
Price
N/A
125
*DISCD*HEADSTOCK MOUNT
Item is no longer available
Price
N/A
126
*DISCD*GIB
Item is no longer available
Price
N/A
127
*DISCD*GIB ADJUSTING SCR
Item is no longer available
Price
N/A
128
*DISCD*LOCK HANDLE
$1.49
Enter quantity between 1 and 99
129
STEEL BALL 6MM
Price
N/A
130
Now: PN13M
HEX NUT M16-2
Price
N/A
131
CAP SCREW M8-1.25 X 40
Price
N/A
132
*DISCD*COLUMN WAY PROTECTOR
$54.95
Enter quantity between 1 and 99
133
Now: PS07M
PHLP HD SCR M4-.7 X 8
Price
N/A
134
*DISCD*REFERENCE MARKER
Item is no longer available
Price
N/A
135
*DISCD*RIVET 2 X 5
Item is no longer available
Price
N/A
136
KEY 6 X 6 X 18
Price
N/A
137
*DISCD*LEADSCREW
$188.05
Enter quantity between 1 and 99
138
KEY 6 X 6 X 18
Price
N/A
139
Now: PR09M
EXT RETAINING RING 20MM
Price
N/A
140
BALL BEARING 6204ZZ
Price
N/A
141
*DISCD*BEARING BRACKET
$39.40
Enter quantity between 1 and 99
142
*DISCD*BEVEL GEAR
Item is no longer available
Price
N/A
143
*DISCD*THRUST BEARING 17 X 30 X 9MM
Price
N/A
144
CAP SCREW M6-1 X 12
Price
N/A
145
*DISCD*BEARING BRACKET WASHER 16MM
$1.49
Enter quantity between 1 and 99
146
Now: PN13M
HEX NUT M16-2
Price
N/A
147
*DISCD*LAMP JC-35A 24V/35W
Item is no longer available
Price
N/A
148
Now: PS22M
PHLP HD SCR M5-.8 X 25
Price
N/A
149
*DISCD*LIMIT SWITCH D4MC-5020
$70.75
Enter quantity between 1 and 99
150
*DISCD*LIMIT SWITCH STOP
Item is no longer available
Price
N/A
201
*DISCD*MOTOR 1-1/2HP 1PH 220V 60HZ
$469.50
Enter quantity between 1 and 99
201-1
*DISCD*MOTOR JUNCTION BOX COVER
$8.05
Enter quantity between 1 and 99
201-2
*DISCD*MOTOR JUNCTION BOX
$23.90
Enter quantity between 1 and 99
201-3
*DISCD*S CAPACITOR 150M 250V CD60
Item is no longer available
Price
N/A
201-4
*DISCD*R CAPACITOR 20M 450V CBB60
Item is no longer available
Price
N/A
201-5
*DISCD*TERMINAL BLOCK
Item is no longer available
Price
N/A
201-6
*DISCD*MOTOR FAN COVER
$23.90
Enter quantity between 1 and 99
201-7
*DISCD*MOTOR FAN
$8.05
Enter quantity between 1 and 99
202
CAP SCREW M10-1.5 X 25
Price
N/A
203
Now: PK74M
KEY 6 X 6 X 35
Price
N/A
204
*DISCD*HEAD BODY COVER
Item is no longer available
Price
N/A
205
*DISCD*OIL CAP
Item is no longer available
Price
N/A
206
*DISCD*OIL SEAL
Item is no longer available
Price
N/A
207
Now: PR38M
INT RETAINING RING 62MM
Price
N/A
208
BALL BEARING 6007ZZ
Price
N/A
209
*DISCD*MOTOR SHAFT
Item is no longer available
Price
N/A
210
Now: PK42M
KEY 6 X 6 X 30
Price
N/A
211
*DISCD*GEAR
Item is no longer available
Price
N/A
212
Now: G3850
Bearing - 35mm x 17mm
Price
N/A
213
*DISCD*BEARING BRACKET
Item is no longer available
Price
N/A
214
*DISCD*STOPPLE
Item is no longer available
Price
N/A
215
*DISCD*GEAR
Item is no longer available
Price
N/A
216
*DISCD*GEAR
$134.30
Enter quantity between 1 and 99
217
KEY 6 X 6 X 14
Price
N/A
218
*DISCD*KEY 5 X 5 X 60
Item is no longer available
Price
N/A
219
*DISCD*SHAFT
Item is no longer available
Price
N/A
220
STEEL BALL 8MM
Price
N/A
221
*DISCD*COMPRESSION SPRING 0.8 X 6 X 16
Item is no longer available
Price
N/A
222
Now: PR07M
EXT RETAINING RING 18MM
Price
N/A
223
BALL BEARING 6202ZZ
Price
N/A
224
Now: PR21M
INT RETAINING RING 35MM
Price
N/A
225
*DISCD*OIL SEAL RING
Item is no longer available
Price
N/A
226
*DISCD*CAP
Item is no longer available
Price
N/A
227
*DISCD*GEAR
$166.75
Enter quantity between 1 and 99
228
*DISCD*SHAFT
Item is no longer available
Price
N/A
229
Now: PK36M
KEY 5 X 5 X 50
Price
N/A
230
*DISCD*KEY 6 X 6 X 75
Item is no longer available
Price
N/A
231
*DISCD*GEAR
$170.20
Enter quantity between 1 and 99
232
*DISCD*GEAR
$167.90
Enter quantity between 1 and 99
233
*DISCD*GEAR
$173.95
Enter quantity between 1 and 99
234
*DISCD*AIRTIGHT RING
$4.90
Enter quantity between 1 and 99
235
*DISCD*AIRTIGHT BASE
Item is no longer available
Price
N/A
236
Now: PS05M
PHLP HD SCR M5-.8 X 8
Price
N/A
237
*DISCD*OIL SEAL
$16.10
Enter quantity between 1 and 99
238
*DISCD*GEAR
Item is no longer available
Price
N/A
239
*DISCD*GEAR
Item is no longer available
Price
N/A
240
*DISCD*SEPARATING RING
Item is no longer available
Price
N/A
241
Now: PR12M
EXT RETAINING RING 35MM
Price
N/A
242
*DISCD*ARBOR BOLT COVER
Item is no longer available
Price
N/A
243
CAP SCREW M5-.8 X 12
Price
N/A
244
*DISCD*PIN 10 X 50
Item is no longer available
Price
N/A
245
CAP SCREW M8-1.25 X 50
Price
N/A
246
*DISCD*ELECTRIC BOX
Item is no longer available
Price
N/A
246-1
*DISCD*LIFT MOTOR CONTACTOR KM2 CJX2-090
$185.45
Enter quantity between 1 and 99
246-10
*DISCD*FUSE HOLDER WITH CAP
Item is no longer available
Price
N/A
246-11
*DISCD*FUSE 2AMP 250V R054
Item is no longer available
Price
N/A
246-2
*DISCD*LIFT MOTOR CONTACTOR KM1
Item is no longer available
Price
N/A
246-3
*DISCD*LIFT MOTOR UP BUTTON
Item is no longer available
Price
N/A
246-4
*DISCD*LIFT MOTOR DOWN BUTTON
Item is no longer available
Price
N/A
246-5
*DISCD*EMERGENCY STOP BUTTON
Item is no longer available
Price
N/A
246-6
*DISCD*MASTER JUNCTION TERMINAL BLOCK
Item is no longer available
Price
N/A
246-7
*DISCD*TRANSFORMER
Item is no longer available
Price
N/A
246-8
*DISCD*SPINDLE MOTOR ROTARY SWITCH
Item is no longer available
Price
N/A
246-9
*DISCD*MASTER POWER SWITCH
Item is no longer available
Price
N/A
247
*DISCD*PRESSURE RELIEF HOSE
Item is no longer available
Price
N/A
248
*DISCD*KNURLED KNOB
Item is no longer available
Price
N/A
249
LOCK WASHER 6MM
Price
N/A
250
Now: PW01M
FLAT WASHER 8MM
Price
N/A
251
*DISCD*SPRING CAP
Item is no longer available
Price
N/A
252
*DISCD*COIL SPRING 1 X 19 X 110
Item is no longer available
Price
N/A
253
FLAT HD SCR M5-.8 X 12
Price
N/A
254
*DISCD*SPRING BASE
Item is no longer available
Price
N/A
255
*DISCD*PIN 3 X 10
Item is no longer available
Price
N/A
256
SET SCREW M10-1.5 X 30
Price
N/A
257
Now: PN02M
HEX NUT M10-1.5
Price
N/A
258
*DISCD*HANDLE ROD
Item is no longer available
Price
N/A
259
*DISCD*BUSHING 14 X 32 X 89
Item is no longer available
Price
N/A
260
*DISCD*FACEPLATE
$53.50
Enter quantity between 1 and 99
261
SET SCREW M8-1.25 X 8
Price
N/A
262
*DISCD*SPEED LEVER
Item is no longer available
Price
N/A
263
*DISCD*OIL SEAL
$3.20
Enter quantity between 1 and 99
264
Now: PR03M
EXT RETAINING RING 12MM
Price
N/A
265
*DISCD*LEVER SHAFT LEFT
Item is no longer available
Price
N/A
266
Now: PN01M
HEX NUT M6-1
Price
N/A
267
SET SCREW M6-1 X 12
Price
N/A
268
*DISCD*LEVER LEFT
Item is no longer available
Price
N/A
269
*DISCD*PIN M5 X 4.2 X 27
Item is no longer available
Price
N/A
270
*DISCD*LEVER BRACKET
$6.35
Enter quantity between 1 and 99
271
*DISCD*PIN M5 X 4.2 X 27
Item is no longer available
Price
N/A
272
*DISCD*LEVER RIGHT
Item is no longer available
Price
N/A
273
*DISCD*LEVER SHAFT RIGHT
Item is no longer available
Price
N/A
274
Now: PS17M
PHLP HD SCR M4-.7 X 6
Price
N/A
275
*DISCD*SPECIAL NUT M20-1.5 X 23
Item is no longer available
Price
N/A
276
*DISCD*HEAD BODY
Item is no longer available
Price
N/A
276A
*DISCD*COMPLETE HEAD ASSY
Item is no longer available
Price
N/A
277
*DISCD*BUSHING
Item is no longer available
Price
N/A
278
*DISCD*OIL COVER
Item is no longer available
Price
N/A
279
*DISCD*SIGHT GLASS
$4.90
Enter quantity between 1 and 99
280
*DISCD*SCALE
Item is no longer available
Price
N/A
281
Now: PS05M
PHLP HD SCR M5-.8 X 8
Price
N/A
282
*DISCD*PIN 3 X 18
$1.49
Enter quantity between 1 and 99
283
*DISCD*KNOB
$5.75
Enter quantity between 1 and 99
284
*DISCD*SUPPORT
$8.05
Enter quantity between 1 and 99
285
*DISCD*FEED BASE
Item is no longer available
Price
N/A
286
*DISCD*SHAFT
$11.25
Enter quantity between 1 and 99
287
*DISCD*PIN
$1.49
Enter quantity between 1 and 99
288
Now: PS17M
PHLP HD SCR M4-.7 X 6
Price
N/A
289
*DISCD*REFERENCE MARKER
$1.49
Enter quantity between 1 and 99
290
*DISCD*BRACKET
Item is no longer available
Price
N/A
291
*DISCD*SPECIAL NUT M30 X 1.5
Item is no longer available
Price
N/A
292
LOCK WASHER 30MM
Price
N/A
293
TAPERED ROLLER BEARING 30206
Price
N/A
294
*DISCD*FLAT WASHER 75MM
Item is no longer available
Price
N/A
295
*DISCD*QUILL
Item is no longer available
Price
N/A
296
Now: PN01M
HEX NUT M6-1
Price
N/A
297
Now: PW03M
FLAT WASHER 6MM
Price
N/A
298
Now: PB39M
HEX BOLT M6-1 X 50
Price
N/A
299
*DISCD*TAPERED ROLLER BEARING 32008
Item is no longer available
Price
N/A
300
*DISCD*BEARING CUP
Item is no longer available
Price
N/A
301
*DISCD*SPINDLE
Item is no longer available
Price
N/A
301-1
*DISCD*SPINDLE ADJUSTMENT PIN M5X7
Item is no longer available
Price
N/A
302
FLAT HD SCR M4-.7 X 10
Price
N/A
303
*DISCD*PINION SHAFT
Item is no longer available
Price
N/A
304
*DISCD*KEY 8 X 7 X 22
Price
N/A
305
*DISCD*FEED COVER
Item is no longer available
Price
N/A
306
CAP SCREW M8-1.25 X 25
Price
N/A
307
*DISCD*WORM WHEEL
Item is no longer available
Price
N/A
308
*DISCD*HANDLE BODY
Item is no longer available
Price
N/A
309
*DISCD*HANDLE ROD
$10.35
Enter quantity between 1 and 99
310
*DISCD*HANDLE BALL M12 X 60
$2.60
Enter quantity between 1 and 99
311
*DISCD*COMPRESSION SPRING 2 X 16 X 25
$3.20
Enter quantity between 1 and 99
312
*DISCD*KNOB
Item is no longer available
Price
N/A
313
*DISCD*WORM GEAR
Item is no longer available
Price
N/A
314
BALL BEARING 6202ZZ
Price
N/A
315
Now: PR05M
EXT RETAINING RING 15MM
Price
N/A
316
*DISCD*SEPARATING RING
Item is no longer available
Price
N/A
317
*DISCD*WORM COVER
Item is no longer available
Price
N/A
318
CAP SCREW M5-.8 X 16
Price
N/A
319
*DISCD*GRADUATED SCALE
Item is no longer available
Price
N/A
320
*DISCD*KNOB M5-.8 X 12
Item is no longer available
Price
N/A
321
*DISCD*BUSHING 15 X 28 X 20
$8.05
Enter quantity between 1 and 99
322
SET SCREW M5-.8 X 8
Price
N/A
323
*DISCD*HANDWHEEL
$23.90
Enter quantity between 1 and 99
324
*DISCD*HANDLE
$8.05
Enter quantity between 1 and 99
325
SAFETY GLASSES 2W X 3.3H V2.04.08
Price
N/A
326
READ MANUAL 2W X 3.3H V2.07.05
Price
N/A
327
*DISCD*MODEL # LABEL
Item is no longer available
Price
N/A
328
*DISCD*MACHINE ID & CONTROL PANEL LABEL
Item is no longer available
Price
N/A
329
ELECTRICITY 1.4W X 1.2H
Price
N/A
330
*DISCD*CUTTING/DAMAGE LABEL
Item is no longer available
Price
N/A
331
N/S GRIZZLY GREEN G1023S
Price
N/A
332
*DISCD*DRAWBAR 7/16-20 X 16-7/8"
Item is no longer available
Price
N/A
MAN
*DISCD*MANUAL FOR G0484 04/07
Item is no longer available
Price
N/A