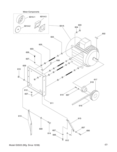
Parts for G0503 12" 20 HP Horizontal Resaw Bandsaw

Parts Diagrams for G0503 - 12" 20 HP Horizontal Resaw Bandsaw

IMPORTANT

Parts may have multiple versions that have changed over time. This will be indicated by V1, V2, V3, etc. in the parts description, followed by the version month and year that it was first used. Example: V2.01.17 indicates version 2 of a part went into use in January 2017. Please reference the manufacture date on the ID Label for your machine to ensure you are selecting the correct part when multiple versions are indicated.

If you cannot locate your part below, please contact our tech support department at techsupport@grizzly.com or 570-546-9663.

Please note: All parts ship out of our Springfield, Missouri facility.

Parts List for Parts for G0503 12" 20 HP Horizontal Resaw Bandsaw

35
Now: PS06
PHLP HD SCR 10-24 X 3/8
Price
N/A
1000
*DISCD*TOOL BOX
Item is no longer available
Price
N/A
101
ELECTRIC BOX
$1,691.45
Enter quantity between 1 and 99
102
CAP SCREW M8-1.25 X 16
Price
N/A
103
LOCK WASHER 8MM
Price
N/A
104
SET SCREW M8-1.25 X 10
Price
N/A
105
GEAR WHEEL 25T X M2.5
$57.10
Enter quantity between 1 and 99
106
GEAR WHEEL 25T X M2.5
$57.10
Enter quantity between 1 and 99
107
PILLOW BLOCK BEARING UCP205
Price
N/A
108
CAP SCREW M12-1.75 X 25
Price
N/A
109
LOCK WASHER 12MM
Price
N/A
110
Now: PW06M
FLAT WASHER 12MM
Price
N/A
111
CONNECT ROD
$7.90
Enter quantity between 1 and 99
112
HANDWHEEL
$135.25
Enter quantity between 1 and 99
113
HANDLE M12-1.75 X 20
$40.80
Enter quantity between 1 and 99
114
Now: PW06M
FLAT WASHER 12MM
Price
N/A
115
Now: PN02M
HEX NUT M10-1.5
Price
N/A
116
FRAME
$919.25
Enter quantity between 1 and 99
116-1
BLADE ELEVATION GAUGE
$6.40
Enter quantity between 1 and 99
117
Now: PB01M
HEX BOLT M10-1.5 X 30
Price
N/A
118
LOCK WASHER 10MM
Price
N/A
119
FLAT WASHER 12MM PLASTIC
$1.60
Enter quantity between 1 and 99
120
CAP SCREW M10-1.5 X 25
Price
N/A
121
CONTROL PANEL BRACKET
$124.40
Enter quantity between 1 and 99
122
CAP SCREW M8-1.25 X 25
Price
N/A
123
CONTROL PANEL SUPPORT
$206.25
Enter quantity between 1 and 99
124
CONTROL PANEL
$40.80
Enter quantity between 1 and 99
125
CONTROL BOX
$325.80
Enter quantity between 1 and 99
125-1
COVER & CABLES
$193.20
Enter quantity between 1 and 99
126
SLIP SLEEVE SET ROD
$20.55
Enter quantity between 1 and 99
127
CLAMP
$1.60
Enter quantity between 1 and 99
128
DUST GUARD BELLOW PL040340
$36.25
Enter quantity between 1 and 99
129
CAP SCREW M12-1.75 X 40
Price
N/A
130
PLATE
$94.85
Enter quantity between 1 and 99
131
SCREW BASE
$126.80
Enter quantity between 1 and 99
132
WORM GEAR
$989.30
Enter quantity between 1 and 99
133
ADJUSTING NUT M25 X 5
$66.75
Enter quantity between 1 and 99
134
FIXED SCREW BASE
$21.75
Enter quantity between 1 and 99
135
Now: PK33M
KEY 5 X 5 X 45
Price
N/A
136
SHAFT COUPLING
$112.95
Enter quantity between 1 and 99
137
CONNECTOR ROD
$101.75
Enter quantity between 1 and 99
138
Now: PB09M
HEX BOLT M8-1.25 X 20
Price
N/A
139
Now: PW01M
FLAT WASHER 8MM
Price
N/A
140
BRACKET
$124.40
Enter quantity between 1 and 99
141
PLATE
$120.20
Enter quantity between 1 and 99
142
PILLOW BLOCK BEARING UCP205
Price
N/A
143
Now: PW06M
FLAT WASHER 12MM
Price
N/A
144
Now: PN02M
HEX NUT M10-1.5
Price
N/A
145
CONNECT ROD
Price
N/A
146
GEAR WHEEL 25T X M2.5
Price
N/A
147
SLIP SLEEVE SET ROD
Price
N/A
148
DUST GUARD BELLOW PL040340
Price
N/A
149
CAP SCREW M12-1.75 X 40
Price
N/A
150
LOCK WASHER 12MM
Price
N/A
151
PLATE
Price
N/A
152
CONTROL PANEL BRACKET
Price
N/A
153
PLATE
Price
N/A
154
CAP SCREW M8-1.25 X 25
Price
N/A
155
CONTROL PANEL BRACKET
Price
N/A
156
Now: PW06M
FLAT WASHER 12MM
Price
N/A
157
LOCK WASHER 10MM
Price
N/A
158
Now: PB01M
HEX BOLT M10-1.5 X 30
Price
N/A
159
SHAFT COUPLING
Price
N/A
160
CONNECTOR ROD
Price
N/A
161
SHAFT COUPLING
Price
N/A
162
WORM GEAR
Price
N/A
163
WORM GEAR
Price
N/A
164
Now: PN01M
HEX NUT M6-1
Price
N/A
165
Now: PW03M
FLAT WASHER 6MM
Price
N/A
166
CONNECTOR ROD
Price
N/A
167
Now: PK33M
KEY 5 X 5 X 45
Price
N/A
168
Now: PW01M
FLAT WASHER 8MM
Price
N/A
169
CAP SCREW M12-1.75 X 40
Price
N/A
201
TENSION HANDLE M10-1.5
$101.45
Enter quantity between 1 and 99
202
Now: PN08M
HEX NUT M10-1.25
Price
N/A
203
PLATE
$36.25
Enter quantity between 1 and 99
204
THRUST BEARING 51204
Price
N/A
205
LOCK COLLAR
$18.15
Enter quantity between 1 and 99
206
STUD-FT M10-1.25 X 200
$21.75
Enter quantity between 1 and 99
207
PLASTIC SLEEVE SPACER 3/8" X 2-3/4"
$21.50
Enter quantity between 1 and 99
208
COMPRESSION SPR TB-60-090
$238.85
Enter quantity between 1 and 99
209
FRAME SUPPORT SHAFT A
$40.80
Enter quantity between 1 and 99
210
SAW BLADE TENSION ROD
$47.10
Enter quantity between 1 and 99
211
PRESSURE BAR BRACKET
$81.25
Enter quantity between 1 and 99
212
CAP SCREW M12-1.75 X 30
Price
N/A
213
LOCK WASHER 12MM
Price
N/A
214
Now: PW06M
FLAT WASHER 12MM
Price
N/A
215
FRAME SUPPORT SHAFT B
$40.80
Enter quantity between 1 and 99
216
Now: PN15M
HEX NUT M18-1.5
Price
N/A
217
ROD END CLEVIS ASSEMBLY
Price
N/A
217A
ROD END CLEVIS ASSEMBLY
$72.45
Enter quantity between 1 and 99
218
Now: PB07M
HEX BOLT M8-1.25 X 25
Price
N/A
219
ROD END CLEVIS ASSEMBLY
Price
N/A
220
Now: PN03M
HEX NUT M8-1.25
Price
N/A
221
LOCK WASHER 8MM
Price
N/A
222
Now: PW01M
FLAT WASHER 8MM
Price
N/A
223
CARRIAGE BOLT M10-1.5 X 30
Price
N/A
224
Now: PN09M
HEX NUT M12-1.75
Price
N/A
225
BEAM
$354.15
Enter quantity between 1 and 99
226
CAP SCREW M10-1.5 X 30
Price
N/A
227
LOCK WASHER 10MM
Price
N/A
228
Now: PW04M
FLAT WASHER 10MM
Price
N/A
229
BEAM SUPPORT BAR
$146.75
Enter quantity between 1 and 99
230
Now: PN09M
HEX NUT M12-1.75
Price
N/A
231
Now: PB63
HEX BOLT 3/4-10 X 3
Price
N/A
232
Now: PLW10
LOCK WASHER 3/4
Price
N/A
233
Now: PW13
FLAT WASHER 3/4
Price
N/A
234
CARRIAGE BOLT M12-1.75 X 40
Price
N/A
235
BEAM PLATE
$169.40
Enter quantity between 1 and 99
236
HINGE UPPER
Price
N/A
237
Now: PB08M
HEX BOLT M6-1 X 20
Price
N/A
238
DOOR LOWER GUARD
Price
N/A
239
HINGE LOWER
Price
N/A
240
Now: PW03M
FLAT WASHER 6MM
Price
N/A
241
Now: PN01M
HEX NUT M6-1
Price
N/A
242
DOOR LEFT
Price
N/A
243
HINGE LOWER
Price
N/A
244
Now: PW03M
FLAT WASHER 6MM
Price
N/A
245
Now: PN01M
HEX NUT M6-1
Price
N/A
246
Now: PW03M
FLAT WASHER 6MM
Price
N/A
247
Now: PN01M
HEX NUT M6-1
Price
N/A
301
DOOR RIGHT
$146.75
Enter quantity between 1 and 99
302
Now: PB08M
HEX BOLT M6-1 X 20
Price
N/A
303
Now: PW03M
FLAT WASHER 6MM
Price
N/A
304
HINGE LOWER
$20.85
Enter quantity between 1 and 99
305
BOTTOM COVER
$206.25
Enter quantity between 1 and 99
306
FLAT HD SCR M6-1 X 12
Price
N/A
307
MAGNET
$16.95
Enter quantity between 1 and 99
308
HINGE UPPER
$5.15
Enter quantity between 1 and 99
309
CARRIAGE BOLT M6-1 X 16
Price
N/A
310
Now: PN01M
HEX NUT M6-1
Price
N/A
311
Now: PN09M
HEX NUT M12-1.75
Price
N/A
312
Now: PW06M
FLAT WASHER 12MM
Price
N/A
313
BOTTOM PLATE
$293.20
Enter quantity between 1 and 99
314
CONNECT PLATE
$1.60
Enter quantity between 1 and 99
315
COVER RIGHT UPPER
$101.75
Enter quantity between 1 and 99
316
STAR KNOB M10-1.5 X 25
$3.65
Enter quantity between 1 and 99
317
COVER UPPER LEFT
$90.30
Enter quantity between 1 and 99
318
STAR KNOB M8-1.25 X 20
$23.60
Enter quantity between 1 and 99
319
Now: PN03M
HEX NUT M8-1.25
Price
N/A
320
SAFETY PLATE
$67.65
Enter quantity between 1 and 99
321
SAFETY PLATE SUPPORT
$16.05
Enter quantity between 1 and 99
322
DOOR LEFT
$146.75
Enter quantity between 1 and 99
323
DOOR LOWER GUARD
$3.65
Enter quantity between 1 and 99
324
LATCH SET
$54.10
Enter quantity between 1 and 99
325
LATCH
$32.65
Enter quantity between 1 and 99
327
COVER RIGHT UPPER
$185.70
Enter quantity between 1 and 99
328
CONNECTOR PLATE
$6.40
Enter quantity between 1 and 99
329
BOTTOM PLATE
$310.10
Enter quantity between 1 and 99
330
DUST GUIDE PLATE
$133.80
Enter quantity between 1 and 99
332
CARRIAGE BOLT M6-1 X 16
Price
N/A
401
SUPPORT ROLLER
$72.45
Enter quantity between 1 and 99
401A
SUPPORT ROLLER W/ECCENTRIC SHAFT ASSY
$117.80
Enter quantity between 1 and 99
402
BALL BEARING 6200ZZ
Price
N/A
403
Now: PR35M
INT RETAINING RING 30MM
Price
N/A
404
ECCENTRIC SHAFT
$36.25
Enter quantity between 1 and 99
405
FLAT HD SCR M6-1 X 25
Price
N/A
406
SAW GUARD 1
$90.60
Enter quantity between 1 and 99
407
SPACER
$18.15
Enter quantity between 1 and 99
408
SAW GUARD C
$86.95
Enter quantity between 1 and 99
409
SPACER LOWER
$18.15
Enter quantity between 1 and 99
410
BLADE GUIDE RIGHT SUPPORT
$61.60
Enter quantity between 1 and 99
411
Now: PB07M
HEX BOLT M8-1.25 X 25
Price
N/A
412
BLADE GUIDE RIGHT BRACKET
$90.60
Enter quantity between 1 and 99
413
Now: PW01M
FLAT WASHER 8MM
Price
N/A
414
LOCK WASHER 8MM
Price
N/A
415
Now: PN02M
HEX NUT M10-1.5
Price
N/A
416
Now: PB32M
HEX BOLT M10-1.5 X 25
Price
N/A
417
CARRIAGE BOLT M10-1.5 X 25
Price
N/A
418
BLADE GUIDE RIGHT ADJ
$65.25
Enter quantity between 1 and 99
419
Now: PW06M
FLAT WASHER 12MM
Price
N/A
420
Now: PN09M
HEX NUT M12-1.75
Price
N/A
421
BLADE GUARD LEFT SUPPORT
$72.45
Enter quantity between 1 and 99
422
BLADE GUIDE LEFT BRACKET
$101.75
Enter quantity between 1 and 99
423
Now: PW04M
FLAT WASHER 10MM
Price
N/A
424
LOCK WASHER 10MM
Price
N/A
425
CARRIAGE BOLT M12-1.75 X 40
Price
N/A
426
BLADE GUIDE LEFT ADJUSTER
$65.25
Enter quantity between 1 and 99
427
CAP SCREW M12-1.75 X 40
Price
N/A
428
Now: PN03M
HEX NUT M8-1.25
Price
N/A
429
LOCK WASHER 8MM
Price
N/A
430
Now: PB82M
HEX BOLT M8-1.25 X 80
Price
N/A
431
SCRAPER BRACKET A
Price
N/A
432
Now: PN03M
HEX NUT M8-1.25
Price
N/A
433
SCRAPE
Price
N/A
434
Now: PW13
FLAT WASHER 3/4
Price
N/A
435
Now: PN03M
HEX NUT M8-1.25
Price
N/A
436
Now: PN09M
HEX NUT M12-1.75
Price
N/A
437
Now: PW13
FLAT WASHER 3/4
Price
N/A
438
Now: PN09M
HEX NUT M12-1.75
Price
N/A
439
Now: PW06M
FLAT WASHER 12MM
Price
N/A
440
FIX SCRAPE
Price
N/A
441
Now: PN03M
HEX NUT M8-1.25
Price
N/A
442
SCRAPER BRACKET A
Price
N/A
443
SCRAPE
Price
N/A
444
Now: PB82M
HEX BOLT M8-1.25 X 80
Price
N/A
445
SCRAPER BRACKET B
Price
N/A
446
CAP SCREW M12-1.75 X 40
Price
N/A
447
LOCK WASHER 12MM
Price
N/A
448
Now: PB33M
HEX BOLT M12-1.75 X 50
Price
N/A
449
Now: PW13
FLAT WASHER 3/4
Price
N/A
450
Now: PN09M
HEX NUT M12-1.75
Price
N/A
451
Now: PB33M
HEX BOLT M12-1.75 X 50
Price
N/A
452
STUD M12-1.75 X 110
Price
N/A
453
Now: PW06M
FLAT WASHER 12MM
Price
N/A
454
Now: PW13
FLAT WASHER 3/4
Price
N/A
455
Now: PW13
FLAT WASHER 3/4
Price
N/A
456
Now: PN02M
HEX NUT M10-1.5
Price
N/A
457
Now: PW06M
FLAT WASHER 12MM
Price
N/A
458
Now: PN09M
HEX NUT M12-1.75
Price
N/A
459
Now: PR98M
INT RETAINING RING 90MM
Price
N/A
501
WHEEL ADJUSTMENT LOWER PLATE
$124.40
Enter quantity between 1 and 99
502
Now: PW13M
FLAT WASHER 20MM
Price
N/A
503
Now: PB27M
HEX BOLT M12-1.75 X 30
Price
N/A
504
WHEEL ADJUSTMENT PIECE
$47.75
Enter quantity between 1 and 99
505
CAP SCREW M10-1.5 X 30
Price
N/A
506
WHEEL ADJUSTMENT UPPER PLATE
$124.40
Enter quantity between 1 and 99
507
Now: PN09M
HEX NUT M12-1.75
Price
N/A
508
Now: PB33M
HEX BOLT M12-1.75 X 50
Price
N/A
509
WHEEL SHAFT RIGHT
$293.20
Enter quantity between 1 and 99
510
Now: PR98M
INT RETAINING RING 90MM
Price
N/A
511
SEAL 70 X 90 X 8
$7.25
Enter quantity between 1 and 99
512
TAPERED ROLLER BEARING 30211
$103.50
Enter quantity between 1 and 99
513
DRIVE PULLEY
$434.70
Enter quantity between 1 and 99
514
SAW BLADE
$108.70
Enter quantity between 1 and 99
515
DRIVE WHEEL
$1,385.35
Enter quantity between 1 and 99
516
LOCK WASHER 12MM
Price
N/A
517
CAP SCREW M12-1.75 X 40
Price
N/A
518
WHEEL SHAFT NUT 70 X 55 X 22
$25.10
Enter quantity between 1 and 99
519
LOCK NUT M55-2
$14.50
Enter quantity between 1 and 99
520
GREASE FITTING
$1.60
Enter quantity between 1 and 99
521
STUD-FT M12-1.75 X 200
$20.55
Enter quantity between 1 and 99
522
SCRAPE
$10.90
Enter quantity between 1 and 99
523
SCRAPER BRACKET A
$36.25
Enter quantity between 1 and 99
524
SCRAPER BRACKET B
$36.25
Enter quantity between 1 and 99
525
Now: PN02M
HEX NUT M10-1.5
Price
N/A
526
FIX SCRAPE
$12.75
Enter quantity between 1 and 99
527
Now: PN03M
HEX NUT M8-1.25
Price
N/A
528
Now: PB82M
HEX BOLT M8-1.25 X 80
Price
N/A
529
Now: PB13M
HEX BOLT M10-1.5 X 80
Price
N/A
530
LINER GUIDE
$271.15
Enter quantity between 1 and 99
531
LINER WAY
$623.40
Enter quantity between 1 and 99
532
LOCK WASHER 8MM
Price
N/A
533
CAP SCREW M8-1.25 X 25
Price
N/A
534
BLADE TENSION PLATE
$78.85
Enter quantity between 1 and 99
535
CAP SCREW M8-1.25 X 20
Price
N/A
536
WHEEL SHAFT LEFT
$260.25
Enter quantity between 1 and 99
537
SAW WHEEL LEFT
$1,021.55
Enter quantity between 1 and 99
538
WHEEL BEARING CAP
$192.00
Enter quantity between 1 and 99
539
Now: PB34M
HEX BOLT M10-1.5 X 60
Price
N/A
540
Now: PB32M
HEX BOLT M10-1.5 X 25
Price
N/A
541
Now: PB34M
HEX BOLT M10-1.5 X 60
Price
N/A
542
Now: PB27M
HEX BOLT M12-1.75 X 30
Price
N/A
543
MOTOR BRACKET SUPPORT B
Price
N/A
544
ROLLER BRACKET
Price
N/A
545
CAP SCREW M10-1.5 X 25
Price
N/A
546
ROLLER BRACKET
Price
N/A
547
ROLLER BRACKET
Price
N/A
548
PILLOW BLOCK BEARING UCP205
Price
N/A
549
LOCK COLLAR A
Price
N/A
550
PRESSURE ROLLER WHEEL
Price
N/A
551
ROLLER ARM SHAFT REAR
Price
N/A
552
SET SCREW M8-1.25 X 10
Price
N/A
553
LOCK COLLAR B
Price
N/A
554
ROLLER ARM SHAFT REAR
Price
N/A
555
CONVEYOR
Price
N/A
556
ROLLER BRACKET
Price
N/A
557
Now: PB32M
HEX BOLT M10-1.5 X 25
Price
N/A
558
Now: PW04M
FLAT WASHER 10MM
Price
N/A
559
PILLOW BLOCK BEARING UCP205
Price
N/A
560
ROLLER BRACKET
Price
N/A
561
Now: PB25M
HEX BOLT M12-1.75 X 25
Price
N/A
562
LOCK WASHER 10MM
Price
N/A
563
Now: PW06M
FLAT WASHER 12MM
Price
N/A
564
Now: PW01M
FLAT WASHER 8MM
Price
N/A
565
CARRIAGE BOLT M12-1.75 X 40
Price
N/A
566
CONVEYOR PLATEN
Price
N/A
567
Now: PW06M
FLAT WASHER 12MM
Price
N/A
568
Now: PN02M
HEX NUT M10-1.5
Price
N/A
569
Now: PN02M
HEX NUT M10-1.5
Price
N/A
601
MOTOR 20HP 220V/440V 3-PH V1
$3,668.40
Enter quantity between 1 and 99
601A
MOTOR SIEMENS 20HP V2.11.07
$1,400.70
Enter quantity between 1 and 99
601A-1
FAN COVER V2.11.07
$80.05
Enter quantity between 1 and 99
601A-2
FAN V2.11.07
$93.95
Enter quantity between 1 and 99
601A-3
MOTOR WIRING BOX V2.11.07
$31.15
Enter quantity between 1 and 99
602
KEY 9 X 14 X 80
$6.40
Enter quantity between 1 and 99
603
Now: PN09M
HEX NUT M12-1.75
Price
N/A
604
Now: PW06M
FLAT WASHER 12MM
Price
N/A
605
STUD M12-1.75 X 110
$1.60
Enter quantity between 1 and 99
606
Now: PB09M
HEX BOLT M8-1.25 X 20
Price
N/A
607
Now: PW01M
FLAT WASHER 8MM
Price
N/A
608
MOTOR BRACKET SUPPORT A
$31.15
Enter quantity between 1 and 99
609
LOCK WASHER 10MM
Price
N/A
610
Now: PN02M
HEX NUT M10-1.5
Price
N/A
611
MOTOR BASE
$145.25
Enter quantity between 1 and 99
612
Now: PN03M
HEX NUT M8-1.25
Price
N/A
613
MOTOR BASE SUPPORT
$43.50
Enter quantity between 1 and 99
614
Now: PB32M
HEX BOLT M10-1.5 X 25
Price
N/A
615
MOTOR BRACKET SUPPORT B
$31.15
Enter quantity between 1 and 99
616
Now: PVB51
V-BELT B51
Price
N/A
617
MOTOR PULLEY
$217.35
Enter quantity between 1 and 99
618
LOCK SLEEVE
$162.75
Enter quantity between 1 and 99
619
Now: PB07M
HEX BOLT M8-1.25 X 25
Price
N/A
700A
COMPLETE CONVEYOR ASSY BOX 2
$4,165.90
Enter quantity between 1 and 99
701
CONVEYOR LOWER PLATE
$312.50
Enter quantity between 1 and 99
702
Now: PN02M
HEX NUT M10-1.5
Price
N/A
703
Now: PW04M
FLAT WASHER 10MM
Price
N/A
704
CARRIAGE BOLT M10-1.5 X 30
Price
N/A
705
CONVEYOR PLATEN
$499.95
Enter quantity between 1 and 99
706
CAP SCREW M10-1.5 X 25
Price
N/A
707
LOCK WASHER 10MM
Price
N/A
708
ADJUST SCREW M12-1.75 X 90
$22.70
Enter quantity between 1 and 99
709
Now: PB25M
HEX BOLT M12-1.75 X 25
Price
N/A
710
LOCK WASHER 12MM
Price
N/A
711
Now: PW06M
FLAT WASHER 12MM
Price
N/A
712
PILLOW BLOCK BEARING UCP205
Price
N/A
713
ROLLER BRACKET
$74.65
Enter quantity between 1 and 99
714
ROLLER FRONT
$293.20
Enter quantity between 1 and 99
715
ROLLER SIDE PLATE
$325.80
Enter quantity between 1 and 99
716
ROLLER SEAT
$81.25
Enter quantity between 1 and 99
717
Now: PN09M
HEX NUT M12-1.75
Price
N/A
718
Now: PB32M
HEX BOLT M10-1.5 X 25
Price
N/A
719
ROLLER
$34.15
Enter quantity between 1 and 99
720
KEY 6 X 5 X 32
$12.75
Enter quantity between 1 and 99
721
CONVEYOR HYDRAULIC MOTOR V1
Price
N/A
722
HYDRAULIC DRIVE FLANGE 6 X 5 X 32
$112.30
Enter quantity between 1 and 99
723
BALL BEARING 6008ZZ
Price
N/A
724
ROLLER BRACKET
$96.35
Enter quantity between 1 and 99
725
CONVEYOR
$724.50
Enter quantity between 1 and 99
726
ROLLER BRACKET
$90.30
Enter quantity between 1 and 99
727
REAR ROLLER
$724.50
Enter quantity between 1 and 99
801
PRESSURE ROLLER WHEEL
$126.80
Enter quantity between 1 and 99
802
Now: PW18M
FLAT WASHER 18MM
Price
N/A
803
ROLLER SHAFT
$23.60
Enter quantity between 1 and 99
804
CAP SCREW M6-1 X 8
Price
N/A
805
ROLLER FRONT BRACKET
$169.40
Enter quantity between 1 and 99
806
Now: PB32M
HEX BOLT M10-1.5 X 25
Price
N/A
807
Now: PN02M
HEX NUT M10-1.5
Price
N/A
808
ROLLER FRONT ADJUSTER
$108.70
Enter quantity between 1 and 99
809
ROLLER SHAFT FRONT
$135.25
Enter quantity between 1 and 99
810
Now: PN09M
HEX NUT M12-1.75
Price
N/A
811
LOCK WASHER 12MM
Price
N/A
812
Now: PW06M
FLAT WASHER 12MM
Price
N/A
813
BALL BEARING 6205ZZ
Price
N/A
814
BEARING BRACKET
$217.10
Enter quantity between 1 and 99
815
Now: PW04M
FLAT WASHER 10MM
Price
N/A
816
LOCK WASHER 10MM
Price
N/A
817
ROLLER SUPPORT FRONT
$195.40
Enter quantity between 1 and 99
818
CAP SCREW M8-1.25 X 20
Price
N/A
819
LOCK WASHER 8MM
Price
N/A
820
Now: PW01M
FLAT WASHER 8MM
Price
N/A
821
SPACER
$10.90
Enter quantity between 1 and 99
822
SHOCK ABSORBER
$142.25
Enter quantity between 1 and 99
823
CAP SCREW M12-1.75 X 120
Price
N/A
824
ROLLER ARM BRACKET REAR
$217.10
Enter quantity between 1 and 99
825
ROLLER ARM SHAFT REAR
$36.25
Enter quantity between 1 and 99
826
SET SCREW M8-1.25 X 10
Price
N/A
827
LOCK COLLAR A
$10.90
Enter quantity between 1 and 99
828
ROLLER BRACKET REAR
$99.65
Enter quantity between 1 and 99
829
LOCK COLLAR B
$18.15
Enter quantity between 1 and 99
830
FIX REAR PRESSURE ROLLER BRACKET
$61.05
Enter quantity between 1 and 99
831
ROLLER SHAFT REAR
$7.00
Enter quantity between 1 and 99
832
COUNTERWEIGHT
$101.45
Enter quantity between 1 and 99
833
COMPRESSION SPRING
$13.95
Enter quantity between 1 and 99
834
UPPER BRACKET
$72.45
Enter quantity between 1 and 99
835
NUT UPPER
$47.10
Enter quantity between 1 and 99
836
ADJUST NUT LOWER
$39.60
Enter quantity between 1 and 99
837
SHOCK SCREW
$47.10
Enter quantity between 1 and 99
901
RETURN CONVEYOR FRAME
$1,305.95
Enter quantity between 1 and 99
902
ROUND SHAFT
$1.60
Enter quantity between 1 and 99
903
ROLLER
$73.70
Enter quantity between 1 and 99
904
Now: PB27M
HEX BOLT M12-1.75 X 30
Price
N/A
905
Now: PW06M
FLAT WASHER 12MM
Price
N/A
906
CONVEYOR SUPPORT BRACKET
$119.55
Enter quantity between 1 and 99
907
CONVEYOR SUPPORT BRACKET
$119.55
Enter quantity between 1 and 99
908
Now: PN09M
HEX NUT M12-1.75
Price
N/A
909
*DISCD*CONVERSION KIT 440V 23/32A V1.12.
Item is no longer available
Price
N/A
909-1
*DISCD*CONVERSION KIT 440V V2.02.07
Item is no longer available
Price
N/A
909V3
440V CONVERSION KIT FOR G0503 V3.08.14
$253.60
Enter quantity between 1 and 99
910
LOCK WASHER 12MM
Price
N/A
A01
NO FUSE SWITCH NFB 3P 75A
$253.35
Enter quantity between 1 and 99
A01-1
POWER ON DIAL SWITCH 30184
$390.70
Enter quantity between 1 and 99
A01-2
POWER ON DIAL SWITCH EZC100F
$321.20
Enter quantity between 1 and 99
A02
CONTACTOR TELE LC1D40A 220V V1
$225.55
Enter quantity between 1 and 99
A02A
MOTOR MAGNETIC STARTER V2.05.04
$485.45
Enter quantity between 1 and 99
A02V3
CONTACTOR SCHN LC1D50A 220V V3.08.14
$525.30
Enter quantity between 1 and 99
A03
CONTACTOR TELE LC1-D096 220V V1
$146.75
Enter quantity between 1 and 99
A03V2
CONTACTOR SCHN LC1D09 220V V2.08.14
$163.05
Enter quantity between 1 and 99
A04
TRANSFORMER 200VA 220/440V-220V
$181.15
Enter quantity between 1 and 99
A05
DOOR/MICRO SWITCH
$45.35
Enter quantity between 1 and 99
A06
FUSE 5A
$1.60
Enter quantity between 1 and 99
A07
BUSS BAR
$16.95
Enter quantity between 1 and 99
A08
MOTOR START BUTTON
$51.75
Enter quantity between 1 and 99
A09
PUMP START BUTTON
$69.00
Enter quantity between 1 and 99
A10
POWER ON BUTTON
$72.45
Enter quantity between 1 and 99
A11
MOTOR STOP BUTTON
$51.75
Enter quantity between 1 and 99
A12
PUMP STOP BUTTON
$30.55
Enter quantity between 1 and 99
A13
E-STOP BUTTON SKB2-BE102
$81.25
Enter quantity between 1 and 99
A14
*DISCD*OVERRE RH 35/42 33-50AMP V1.01.04
$203.30
Enter quantity between 1 and 99
A14A
RELAY 440V LR3D3355 V2.07.04
$91.80
Enter quantity between 1 and 99
A14AV2
OL RELAY SCHN LR3D340 30-40A V2.08.14
$398.50
Enter quantity between 1 and 99
A14V2
*DISCD*OL RELAY SCHN LR3D365 48-65A
$379.50
Enter quantity between 1 and 99
A15
OL RELAY TELE LR3D126 5.5-8A V1
$81.25
Enter quantity between 1 and 99
A15A
OL RELAY TELE LR3D086 2.5-4A V1
$68.85
Enter quantity between 1 and 99
A15AV2
OL RELAY SCHN LR3D08 2.5-4A V2.08.14
$90.60
Enter quantity between 1 and 99
A15V2
OL RELAY SCHN LR3D12 5.5-8A V2.08.14
$90.60
Enter quantity between 1 and 99
A16
TERMINAL BLOCK
$312.50
Enter quantity between 1 and 99
A17
*DISCD*CONVERSION KIT 440V 23/32A V1.12.
Price
N/A
A17V2
440V CONVERSION KIT V2.08.14
$489.05
Enter quantity between 1 and 99
B02
*DISCD*DRAIN POINT
$86.25
Enter quantity between 1 and 99
B09
*DISCD*MOTOR
$207.00
Enter quantity between 1 and 99
B16
*DISCD*HYDRAULIC MOTOR
$529.00
Enter quantity between 1 and 99
B19
*DISCD*HYDRAULIC HOSE 3/8
$47.75
Enter quantity between 1 and 99
B47
HYDRAULIC TANK V1
$804.85
Enter quantity between 1 and 99
B47V2
HYDRAULIC TANK V2.11.06
$289.80
Enter quantity between 1 and 99
B48
OIL DIVERTER V1
$105.10
Enter quantity between 1 and 99
B48V2
T-CONNECTOR 3/8 V2.11.06
$19.95
Enter quantity between 1 and 99
B49
HYDRAULIC PRESSURE GAUGE
$182.35
Enter quantity between 1 and 99
B50
HYDRAULIC HOSE 3/8 X 67 V1
$65.85
Enter quantity between 1 and 99
B50V2
HYDRAULIC HOSE 3/8 X 102 V2.05.16
$72.45
Enter quantity between 1 and 99
B51
HYDRAULIC HOSE 3/8 X 91 V1
$87.30
Enter quantity between 1 and 99
B51V2
HYDRAULIC HOSE 3/8 X 91, 45DEG V2.05.16
$54.35
Enter quantity between 1 and 99
B52
MALE ELBOW 3/8 X 3/8 90DEG
$5.50
Enter quantity between 1 and 99
B53
VARIABLE SPEED ADJUSTOR
$108.70
Enter quantity between 1 and 99
B54
HYDRAULIC VALVE 3/8" V1
$126.80
Enter quantity between 1 and 99
B54V2
HYDRAULIC 3-WAY BALL VALVE 3/8" V2.08.13
$307.95
Enter quantity between 1 and 99
B55
MALE ELBOW 3/8 X 3/8 90DEG
$7.60
Enter quantity between 1 and 99
B56
CONVEYOR HYDRAULIC MOTOR V1
$707.50
Enter quantity between 1 and 99
B56V2
CONVEYOR HYDRAULIC MOTOR VMP-125 V2
$917.70
Enter quantity between 1 and 99
B57
MALE ELBOW 1/2 X 3/8 45DEG V1
$6.95
Enter quantity between 1 and 99
B57V2
MALE ELBOW 1/2T X 3/8H X 90DEG V2.05.16
$10.90
Enter quantity between 1 and 99
B58
MALE ELBOW 1/2 X 3/8 45DEG V1
Price
N/A
B58V2
MALE ELBOW 1/2T X 3/8H X 90DEG V2.05.16
$10.90
Enter quantity between 1 and 99
B59
HYDRAULIC HOSE 3/8 X 60 V1
$65.85
Enter quantity between 1 and 99
B59V2
HYDRAULIC HOSE 3/8 X 30 V2.11.06
$25.40
Enter quantity between 1 and 99
B60
STOP VALVE 3/8
$34.45
Enter quantity between 1 and 99
B61
HYDRAULIC HOSE 1/2 X 16 V1
$32.65
Enter quantity between 1 and 99
B61V2
HYDRAULIC HOSE 1/2 X 12 V2.11.06
$32.65
Enter quantity between 1 and 99
B62
HYDRAULIC PUMP V1
$652.05
Enter quantity between 1 and 99
B62V2
HYDRAULIC PUMP VP-12/70 V2.11.06
$652.05
Enter quantity between 1 and 99
B63
*DISCD*CONNECTOR
Item is no longer available
Price
N/A
B64
HYDRAULIC HOSE 3/8 X 20 V1
$33.25
Enter quantity between 1 and 99
B64V2
HYDRAULIC HOSE 3/8 X 13 V2.11.06
$21.75
Enter quantity between 1 and 99
B65
MOTOR 2HP 220V/440V 3-PH V1
$864.60
Enter quantity between 1 and 99
B65V2
MOTOR 2HP 220V/440V 3-PH V2.11.06
$864.60
Enter quantity between 1 and 99
B66
HOSE 3/8 BRASS V1
$80.05
Enter quantity between 1 and 99
B66V2
HOSE 1/2 X 10 BRASS V2.11.06
$23.60
Enter quantity between 1 and 99
B67
OIL COOLER V1
$362.25
Enter quantity between 1 and 99
B67V2
OIL COOLER V2.11.06
$579.60
Enter quantity between 1 and 99
B68
OIL FILTER
$235.50
Enter quantity between 1 and 99
B68-1
FILTER PRESSURE GAUGE
$86.25
Enter quantity between 1 and 99
B68-2
OIL FILTER
Price
N/A
B68-3
OIL FILTER
Price
N/A
B68-4
OIL FILTER
Price
N/A
B68A
OIL FILTER KIT
$333.60
Enter quantity between 1 and 99
B69
OIL LEVEL GAUGE
$18.15
Enter quantity between 1 and 99
B70
PLUG
$3.05
Enter quantity between 1 and 99
B71
FILTER BREATHER CAP ASSEMBLY
$23.60
Enter quantity between 1 and 99
B71-1
FILLER CAP GASKET
$10.90
Enter quantity between 1 and 99
B71-2
FILLER CAP THREAD PIECE
$5.50
Enter quantity between 1 and 99
B71-3
THREAD PIECE GASKET
$5.50
Enter quantity between 1 and 99
B71-4
FILTER BREATHER CAP ASSEMBLY
Price
N/A
B72
HOSE BRASS
$78.50
Enter quantity between 1 and 99
B73
TANK SCREEN
$18.15
Enter quantity between 1 and 99
B74
FILTER & O-RING KIT
$198.05
Enter quantity between 1 and 99
B75V2
OIL COOLER FAN V2.11.06
$1,630.15
Enter quantity between 1 and 99
B76
HYDRAULIC TANK ACCESS PLATE
$21.20
Enter quantity between 1 and 99
B76-1
ACCESS PLATE GASKET
$5.50
Enter quantity between 1 and 99
B77
BRACKET 3/8T X 3/8T
$5.50
Enter quantity between 1 and 99
B78
BRACKET 3/8T X 3/8H X 90DEG
$7.25
Enter quantity between 1 and 99
B79
MALE ELBOW 1/2T X 1/2H X 90DEG
$10.90
Enter quantity between 1 and 99
B80
MALE ELBOW 1/2T X 3/8H X 90DEG
$10.90
Enter quantity between 1 and 99
B81
CONNECTOR 3/8T X 3/8HF-A
$5.50
Enter quantity between 1 and 99
B82
T-CONNECTOR 3/8H X 3/8HFA
$23.60
Enter quantity between 1 and 99
B83
CONNECTOR 3/8T
$5.50
Enter quantity between 1 and 99
B84
HYDRAULIC HOSE 3/8 X 91
$72.45
Enter quantity between 1 and 99
B85
CONNECTOR 1/2T X 3/4H
$9.10
Enter quantity between 1 and 99
B86
CONNECTOR 3/4HF X 1/2TF X 90 DEG
$32.65
Enter quantity between 1 and 99
MANUAL
MANUAL FOR G0503 08/04
$14.65
Enter quantity between 1 and 99