Parts for G0542 48" 12-Gauge Pan and Box Brake

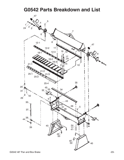
Parts Diagrams for G0542 - 48" 12-Gauge Pan and Box Brake

IMPORTANT

Parts may have multiple versions that have changed over time. This will be indicated by V1, V2, V3, etc. in the parts description, followed by the version month and year that it was first used. Example: V2.01.17 indicates version 2 of a part went into use in January 2017. Please reference the manufacture date on the ID Label for your machine to ensure you are selecting the correct part when multiple versions are indicated.

If you cannot locate your part below, please contact our tech support department at techsupport@grizzly.com or 570-546-9663.

Please note: All parts ship out of our Springfield, Missouri facility.

Parts List for Parts for G0542 48" 12-Gauge Pan and Box Brake

1
Now: PB01M
HEX BOLT M10-1.5 X 30
Price
N/A
2
SPACER
$5.10
Enter quantity between 1 and 99
3
SPRING
$2.25
Enter quantity between 1 and 99
4
CLAMPING HANDLE L
$116.45
Enter quantity between 1 and 99
5
OIL FITTING
$1.90
Enter quantity between 1 and 99
6
LINK
$57.10
Enter quantity between 1 and 99
7
CLAMPING LEAF
$582.20
Enter quantity between 1 and 99
8
$10.10
Enter quantity between 1 and 99
9
CLAMPING HANDLE R
$116.45
Enter quantity between 1 and 99
10
CAP SCREW M10-1.5 X 40
Price
N/A
11
SUPPORT BLOCK
$112.15
Enter quantity between 1 and 99
12-1
UPPER CLAMP BAR 3"
$15.85
Enter quantity between 1 and 99
12-2
UPPER CLAMP BAR 4"
$20.15
Enter quantity between 1 and 99
12-3
UPPER CLAMP BAR 5"
$22.70
Enter quantity between 1 and 99
15
CAP SCREW M10-1.5 X 30
Price
N/A
16
CAP SCREW M10-1.5 X 60
Price
N/A
17
LOCK WASHER 10MM
Price
N/A
18-1
FINGER BLOCK JAW 3"
$62.60
Enter quantity between 1 and 99
18-2
FINGER BLOCK JAW 4"
$74.45
Enter quantity between 1 and 99
18-3
FINGER BLOCK JAW 5"
$90.60
Enter quantity between 1 and 99
21-1
CLAMP BAR 3"
$16.95
Enter quantity between 1 and 99
21-2
CLAMP BAR 4" LOWER
$20.90
Enter quantity between 1 and 99
21-3
CLAMP BAR 5" LOWER
$23.20
Enter quantity between 1 and 99
24
Now: PW04M
FLAT WASHER 10MM
Price
N/A
25-1
FINGER BLOCK 3"
$64.00
Enter quantity between 1 and 99
25-2
FINGER BLOCK 4"
$80.25
Enter quantity between 1 and 99
25-4
FINGER BLOCK 25"
$237.20
Enter quantity between 1 and 99
29
Now: PN15M
HEX NUT M18-1.5
Price
N/A
30
Now: PN09M
HEX NUT M12-1.75
Price
N/A
31
PIVOT BLOCK
$22.70
Enter quantity between 1 and 99
32
ADJUSTING BLOCK
$14.10
Enter quantity between 1 and 99
33
COLLAR
$5.45
Enter quantity between 1 and 99
34
BAR TOP
$176.85
Enter quantity between 1 and 99
35
SETBACK KNOB M20 X 150
$15.15
Enter quantity between 1 and 99
36
BODY
$754.70
Enter quantity between 1 and 99
37
STOP ROD
$10.85
Enter quantity between 1 and 99
38
STOP HUB
$12.65
Enter quantity between 1 and 99
39
STOP COLLAR
$4.00
Enter quantity between 1 and 99
40
SUPPORT
$99.20
Enter quantity between 1 and 99
41
CAP SCREW M10-1.5 X 35
Price
N/A
42
COTTER PIN 2.5 X 35
$1.90
Enter quantity between 1 and 99
43
Now: PB35M
HEX BOLT M12-1.75 X 40
Price
N/A
44
T-BOLT M8-1.25 X 20
$1.90
Enter quantity between 1 and 99
45
TAPER PIN 4 X 4.6 X 30
$1.90
Enter quantity between 1 and 99
46
Now: PN13M
HEX NUT M16-2
Price
N/A
47
RUBBER HANDLE GRIP
$2.20
Enter quantity between 1 and 99
48
Now: PW06M
FLAT WASHER 12MM
Price
N/A
49
LOCK WASHER 12MM
Price
N/A
50
Now: PN09M
HEX NUT M12-1.75
Price
N/A
51
Now: PW08M
FLAT WASHER 16MM
Price
N/A
101
COUNTERWEIGHT
$107.85
Enter quantity between 1 and 99
103
COUNTERWEIGHT SHAFT
$47.45
Enter quantity between 1 and 99
104
SET SCREW M10-1.5 X 10
Price
N/A
105
PIVOT PIN
$5.45
Enter quantity between 1 and 99
106
SET SCREW M12-1.75 X 20
Price
N/A
107
CAP SCREW M10-1.5 X 40
Price
N/A
108
HINGE RIGHT
$112.15
Enter quantity between 1 and 99
109
Now: PB35M
HEX BOLT M12-1.75 X 40
Price
N/A
110
LOCK WASHER 10MM
Price
N/A
111
OPERATING HANDLE
$17.25
Enter quantity between 1 and 99
112
DOWEL PIN 8 X 30MM
$1.90
Enter quantity between 1 and 99
113
Now: PW06M
FLAT WASHER 12MM
Price
N/A
114
BENDING LEAF
$293.25
Enter quantity between 1 and 99
115
Now: PW04M
FLAT WASHER 10MM
Price
N/A
116
Now: PB31M
HEX BOLT M10-1.5 X 40
Price
N/A
117
HANDLE GRIP
$2.20
Enter quantity between 1 and 99
118
CAP SCREW M10-1.5 X 30
Price
N/A
119
BENDING WING
$66.90
Enter quantity between 1 and 99
120
HINGE LEFT
$112.15
Enter quantity between 1 and 99
121
Now: PB35M
HEX BOLT M12-1.75 X 40
Price
N/A
122
Now: PW06M
FLAT WASHER 12MM
Price
N/A
123
HANDLE BAR
$32.40
Enter quantity between 1 and 99
124
LOCK COLLAR M30-3.5
$6.15
Enter quantity between 1 and 99
125
LOCK WASHER 12MM
Price
N/A
BAG1
HARDWARE BAG
$5.75
Enter quantity between 1 and 99
MANUAL
MANUAL FOR G0542 03/04
$14.65
Enter quantity between 1 and 99