Parts for G0554 14" x 40" Lathe

Parts Diagrams for G0554 - 14" x 40" Lathe

IMPORTANT

Parts may have multiple versions that have changed over time. This will be indicated by V1, V2, V3, etc. in the parts description, followed by the version month and year that it was first used. Example: V2.01.17 indicates version 2 of a part went into use in January 2017. Please reference the manufacture date on the ID Label for your machine to ensure you are selecting the correct part when multiple versions are indicated.

If you cannot locate your part below, please contact our tech support department at techsupport@grizzly.com or 570-546-9663.

Please note: All parts ship out of our Springfield, Missouri facility.

Parts List for Parts for G0554 14" x 40" Lathe

1
*DISCD*PLUG
Item is no longer available
Price
N/A
2
*DISCD*HEADSTOCK COVER
Item is no longer available
Price
N/A
3
CAP SCREW M6-1 X 35
Price
N/A
4
*DISCD*GASKET
$29.05
Enter quantity between 1 and 99
5
O-RING 13.8 X 2.4 P14
Price
N/A
6
*DISCD*GEAR 38T
Item is no longer available
Price
N/A
7
*DISCD*SPLINE SHAFT
Price
N/A
8
SET SCREW M6-1 X 10
Price
N/A
9
SET SCREW M6-1 X 6
Price
N/A
10
*DISCD*GEAR 48T
Item is no longer available
Price
N/A
11
*DISCD*GEAR 43T
Item is no longer available
Price
N/A
12
SET SCREW M12-1.75 X 12
Price
N/A
13
*DISCD*SHIFT ARM
Item is no longer available
Price
N/A
14
ROLL PIN 5 X 30
Price
N/A
15
Now: PR03M
EXT RETAINING RING 12MM
Price
N/A
16
*DISCD*SHIFT FORK
Item is no longer available
Price
N/A
17
*DISCD*SHIFT ARM
Item is no longer available
Price
N/A
18
*DISCD*GEAR SHIFTER
Item is no longer available
Price
N/A
19
*DISCD*PLUG
Item is no longer available
Price
N/A
20
Now: PK08M
KEY 5 X 5 X 16
Price
N/A
21
*DISCD*STEEL BALL
Item is no longer available
Price
N/A
22
*DISCD*COMPRESSION SPRING
Item is no longer available
Price
N/A
23
*DISCD*HANDLE BODY
$61.85
Enter quantity between 1 and 99
24
*DISCD*HANDLE CAP
Item is no longer available
Price
N/A
25
*DISCD*HANDLE LEVER
$19.55
Enter quantity between 1 and 99
26
*DISCD*LEVER NAME PLATE
$8.05
Enter quantity between 1 and 99
27
Now: PS12M
PHLP HD SCR M3-.5 X 6
Price
N/A
28
Now: PW03M
FLAT WASHER 6MM
Price
N/A
29
CAP SCREW M6-1 X 12
Price
N/A
30
*DISCD*POSITION PLATE
Item is no longer available
Price
N/A
31
*DISCD*O-RING 19 X 2.65  
Item is no longer available
Price
N/A
32
*DISCD*GEAR SHAFT 22T
Item is no longer available
Price
N/A
33
*DISCD*GEAR SHAFT 17T
Item is no longer available
Price
N/A
34
*DISCD*POSITION PLATE
Item is no longer available
Price
N/A
35
*DISCD*HANDLE BODY
$61.85
Enter quantity between 1 and 99
36
CAP SCREW M12-1.75 X 35
Price
N/A
37
*DISCD*ADJ BOLT M10 X 40
Item is no longer available
Price
N/A
38
*DISCD*ADJ BOLT M12 X 17
Item is no longer available
Price
N/A
39
*DISCD*ALIGNMENT BLOCK
Item is no longer available
Price
N/A
40
*DISCD*OIL SIGHT GLASS
Item is no longer available
Price
N/A
41
*DISCD*HEADSTOCK CASTING 14"
Item is no longer available
Price
N/A
42
*DISCD*DRAIN PLUG
Item is no longer available
Price
N/A
43
*DISCD*GEAR SHAFT 27T
Item is no longer available
Price
N/A
44
*DISCD*SHAFT FORK
Item is no longer available
Price
N/A
45
*DISCD*SHIFTING CRANK
Item is no longer available
Price
N/A
46
*DISCD*SHAFT FORK
$31.05
Enter quantity between 1 and 99
47
*DISCD*SHIFTING CRANK
Item is no longer available
Price
N/A
48
STEEL BALL 9MM
Price
N/A
49
*DISCD*COMPRESSION SPRING
Item is no longer available
Price
N/A
50
*DISCD*SHAFT
Item is no longer available
Price
N/A
51
*DISCD*SHAFT
Item is no longer available
Price
N/A
51-1
Now: H7319
Indexable Carbide Inserts - 14 x 14 x 2mm, 10-Pk.
Price
N/A
52
*DISCD*SHAFT
Item is no longer available
Price
N/A
53
Now: PK05M
KEY 4 X 4 X 10
Price
N/A
54
O-RING 12.3 X 2.4 P12.5
Price
N/A
55
*DISCD*COLLAR
Item is no longer available
Price
N/A
56
CAP SCREW M6-1 X 12
Price
N/A
57
*DISCD*COLLAR
Item is no longer available
Price
N/A
58
*DISCD*HANDLE BODY
Item is no longer available
Price
N/A
59
Now: PW03M
FLAT WASHER 6MM
Price
N/A
60
*DISCD*INDICATOR DISK
Item is no longer available
Price
N/A
61
CAP SCREW M8-1.25 X 20
Price
N/A
62
Now: PW01M
FLAT WASHER 8MM
Price
N/A
63
*DISCD*PULLEY V1
Item is no longer available
Price
N/A
63V2
*DISCD*SPLINED PULLEY
Item is no longer available
Price
N/A
64
*DISCD*BRAKE BLOCK
Item is no longer available
Price
N/A
65
ROLL PIN 5 X 16
Price
N/A
66
*DISCD*BRAKE ACTUATOR SHAFT
Item is no longer available
Price
N/A
67
Now: PR03M
EXT RETAINING RING 12MM
Price
N/A
68
*DISCD*SPACER SD25 X 45 X 7
Item is no longer available
Price
N/A
69
ROLL PIN 6 X 28
Price
N/A
70
Now: PR39M
EXT RETAINING RING 8MM
Price
N/A
71
*DISCD*BRAKE RETAINER STUD
Item is no longer available
Price
N/A
72
*DISCD*COVER
Item is no longer available
Price
N/A
73
*DISCD*GASKET
Item is no longer available
Price
N/A
74
Now: PR11M
EXT RETAINING RING 25MM
Price
N/A
75
BALL BEARING 6205-OPEN
Price
N/A
76
KEY 8 X 8 X 20
Price
N/A
77
*DISCD*SHAFT
Item is no longer available
Price
N/A
78
*DISCD*KEY 8 X 8 X 72
Item is no longer available
Price
N/A
79
*DISCD*GEAR 50T
Item is no longer available
Price
N/A
80
*DISCD*GEAR 37T
Item is no longer available
Price
N/A
81
*DISCD*GEAR 43T
Item is no longer available
Price
N/A
82
BALL BEARING 6204-OPEN
Price
N/A
83
Now: PW13M
FLAT WASHER 20MM
Price
N/A
84
*DISCD*GEAR 57T
Item is no longer available
Price
N/A
85
*DISCD*GEAR SHAFT
Item is no longer available
Price
N/A
86
Now: PR25M
INT RETAINING RING 47MM
Price
N/A
87
O-RING 39.7 X 3.5 P40
Price
N/A
88
*DISCD*PLUG
Item is no longer available
Price
N/A
89
*DISCD*BEARING CAP
Item is no longer available
Price
N/A
90
*DISCD*BEARING CAP GASKET
Item is no longer available
Price
N/A
91
*DISCD*GEAR 28T
Item is no longer available
Price
N/A
92
KEY 8 X 8 X 38
Price
N/A
93
*DISCD*GEAR 41T
Item is no longer available
Price
N/A
94
*DISCD*GEAR 34T
Item is no longer available
Price
N/A
945
*DISCD*FWD/REV SWITCH
Item is no longer available
Price
N/A
95
Now: PR23M
INT RETAINING RING 40MM
Price
N/A
96
BALL BEARING 6005-OPEN
Price
N/A
97
*DISCD*GEAR SHAFT 21T
Item is no longer available
Price
N/A
98
Now: PR18M
EXT RETAINING RING 17MM
Price
N/A
99
*DISCD*BALL BEARING 61803/P5
Item is no longer available
Price
N/A
100
*DISCD*GEAR 21T
Item is no longer available
Price
N/A
1001
*DISCD*GEAR 30T
Item is no longer available
Price
N/A
1002
*DISCD*GEAR 40T
Item is no longer available
Price
N/A
1003
CAP SCREW M5-.8 X 16
Price
N/A
1004
Now: PW03M
FLAT WASHER 6MM
Price
N/A
1005
*DISCD*GEAR 25T
$68.45
Enter quantity between 1 and 99
1006
*DISCD*QUADRANT
Item is no longer available
Price
N/A
1007
Now: PK19M
KEY 5 X 5 X 14
Price
N/A
1008
*DISCD*THREAD SHAFT
Item is no longer available
Price
N/A
1009
*DISCD*COLLAR
$15.55
Enter quantity between 1 and 99
101
*DISCD*GEAR 58T
Item is no longer available
Price
N/A
1010
Now: G3850
Bearing - 35mm x 17mm
Price
N/A
1011
Now: PR12M
EXT RETAINING RING 35MM
Price
N/A
1012
*DISCD*GEAR 120/127T
$393.05
Enter quantity between 1 and 99
1013
Now: PW04M
FLAT WASHER 10MM
Price
N/A
1014
Now: PN02M
HEX NUT M10-1.5
Price
N/A
1015
Now: PN09M
HEX NUT M12-1.75
Price
N/A
1016
Now: PW06M
FLAT WASHER 12MM
Price
N/A
1017
*DISCD*STUD
Item is no longer available
Price
N/A
1018
Now: PK19M
KEY 5 X 5 X 14
Price
N/A
1019
*DISCD*GEAR 50T
Item is no longer available
Price
N/A
102
Now: PW19M
FLAT WASHER 25MM
Price
N/A
1020
Now: PW03M
FLAT WASHER 6MM
Price
N/A
1021
CAP SCREW M6-1 X 16
Price
N/A
1022
*DISCD*GEAR 32T
Item is no longer available
Price
N/A
1023
*DISCD*GEAR 40T
Item is no longer available
Price
N/A
1024
*DISCD*FRONT PLATE
Item is no longer available
Price
N/A
1025
CAP SCREW M8-1.25 X 20
Price
N/A
1026
*DISCD*PLATE
Item is no longer available
Price
N/A
1027
*DISCD*DOOR LATCH
$8.05
Enter quantity between 1 and 99
1028
*DISCD*SHAFT
Item is no longer available
Price
N/A
1029
ROLL PIN 4 X 18
Price
N/A
103
Now: PR78M
EXT RETAINING RING 55MM
Price
N/A
1030
ROLL PIN 4 X 24
Price
N/A
1031
*DISCD*STAR KNOB PINNED
Item is no longer available
Price
N/A
1032
*DISCD*CHANGE GEAR COVER
$139.45
Enter quantity between 1 and 99
1033
*DISCD*REAR PLATE
Item is no longer available
Price
N/A
1034
*DISCD*PLATE
Item is no longer available
Price
N/A
1035
CAP SCREW M6-1 X 10
Price
N/A
1036
*DISCD*GEAR 35T
$69.90
Enter quantity between 1 and 99
104
*DISCD*GEAR 59T
Item is no longer available
Price
N/A
105
*DISCD*GEAR 31T
Item is no longer available
Price
N/A
106
KEY 10 X 10 X 18
Price
N/A
107
*DISCD*SPLINE SHAFT
Item is no longer available
Price
N/A
108
*DISCD*COVER
Item is no longer available
Price
N/A
109
CAP SCREW M6-1 X 35
Price
N/A
110
CAP SCREW M6-1 X 16
Price
N/A
1100
*DISCD*FOLLOW REST COMPLETE ASSY
Item is no longer available
Price
N/A
1101
*DISCD*HANDLE
Item is no longer available
Price
N/A
1102
SET SCREW M6-1 X 6
Price
N/A
1103
*DISCD*BUSHING
Item is no longer available
Price
N/A
1104
*DISCD*SPECIAL SCREW
Item is no longer available
Price
N/A
1105
*DISCD*SLEEVE
Item is no longer available
Price
N/A
1106
*DISCD*BRASS FINGER
$25.90
Enter quantity between 1 and 99
1107
Now: PN01M
HEX NUT M6-1
Price
N/A
1108
SET SCREW M6-1 X 6
Price
N/A
1109
*DISCD*BODY CASTING
Item is no longer available
Price
N/A
111
*DISCD*COVER
Item is no longer available
Price
N/A
1110
CAP SCREW M8-1.25 X 60
Price
N/A
112
*DISCD*GASKET
Item is no longer available
Price
N/A
113
CAP SCREW M5-.8 X 12
Price
N/A
114
*DISCD*COLLAR M55 X 1.5
$58.40
Enter quantity between 1 and 99
115
TAPERED ROLLER BEARING 32011
Price
N/A
116
*DISCD*GEAR 38T
Item is no longer available
Price
N/A
117
*DISCD*LOCK COLLAR
Item is no longer available
Price
N/A
118
*DISCD*GEAR 59T
Item is no longer available
Price
N/A
119
CAP SCREW M8-1.25 X 30
Price
N/A
120
*DISCD*GEAR 87T
Item is no longer available
Price
N/A
1200
*DISCD*THREADING DIAL ASSY
$198.40
Enter quantity between 1 and 99
1201
*DISCD*DIAL
Item is no longer available
Price
N/A
1202
ROLL PIN 3 X 12
Price
N/A
1203
*DISCD*SHAFT
Item is no longer available
Price
N/A
1204
ROLL PIN 3 X 20
Price
N/A
1205
*DISCD*GEAR 32T
Item is no longer available
Price
N/A
1206
*DISCD*BODY
Item is no longer available
Price
N/A
1207
CAP SCREW M6-1 X 45
Price
N/A
1208
*DISCD*NAME PLATE
Item is no longer available
Price
N/A
1209
Now: PS12M
PHLP HD SCR M3-.5 X 6
Price
N/A
121
*DISCD*COLLAR
Item is no longer available
Price
N/A
1210
*DISCD*RIVET 2 X 4MM
Item is no longer available
Price
N/A
122
*DISCD*TAPERED ROLLER BEARING 320212/P5
Item is no longer available
Price
N/A
123
*DISCD*GASKET
Item is no longer available
Price
N/A
124
*DISCD*COVER
Item is no longer available
Price
N/A
125
CAP SCREW M6-1 X 20
Price
N/A
126
Now: PK42M
KEY 6 X 6 X 30
Price
N/A
127
KEY 10 X 10 X 55
Price
N/A
128
CAP SCREW M8-1.25 X 16
Price
N/A
129
*DISCD*SPRING 3 X 19
Item is no longer available
Price
N/A
130
*DISCD*CAMLOCK SET PIN
Item is no longer available
Price
N/A
1300
*DISCD*COMPLETE STEADY REST
Item is no longer available
Price
N/A
1301
*DISCD*HANDLE
$23.60
Enter quantity between 1 and 99
1302
SET SCREW M6-1 X 6
Price
N/A
1303
*DISCD*BUSHING
$15.55
Enter quantity between 1 and 99
1304
*DISCD*SPECIAL SCREW
$12.10
Enter quantity between 1 and 99
1305
*DISCD*SLEEVE
$19.55
Enter quantity between 1 and 99
1306
*DISCD*BRASS FINGER
$20.45
Enter quantity between 1 and 99
1307
*DISCD*BODY CASTING UPPER
Item is no longer available
Price
N/A
1308
*DISCD*PIN 8 X 40
Item is no longer available
Price
N/A
1309
SET SCREW M6-1 X 20
Price
N/A
131
*DISCD*CAMLOCK
Item is no longer available
Price
N/A
1310
Now: PN01M
HEX NUT M6-1
Price
N/A
1311
*DISCD*LOWER BODY CASTING
Item is no longer available
Price
N/A
1312
*DISCD*LOCK PIN
Item is no longer available
Price
N/A
1313
Now: PN09M
HEX NUT M12-1.75
Price
N/A
1314
Now: PW06M
FLAT WASHER 12MM
Price
N/A
1315
Now: PW06M
FLAT WASHER 12MM
Price
N/A
1316
Now: PW06M
FLAT WASHER 12MM
Price
N/A
1317
Now: PB43M
HEX BOLT M12-1.75 X 75
Price
N/A
1318
Now: PW01M
FLAT WASHER 8MM
Price
N/A
1319
*DISCD*KNOB M8-1.25
Item is no longer available
Price
N/A
132
*DISCD*SPINDLE
Item is no longer available
Price
N/A
133
Now: PR09M
EXT RETAINING RING 20MM
Price
N/A
134
*DISCD*SPACER
Item is no longer available
Price
N/A
135
*DISCD*GEAR 32T
Item is no longer available
Price
N/A
136
Now: PR77M
EXT RETAINING RING 37MM
Price
N/A
137
*DISCD*GEAR 32T
Item is no longer available
Price
N/A
138
Now: PK08M
KEY 5 X 5 X 16
Price
N/A
139
*DISCD*GEAR 32T
Item is no longer available
Price
N/A
140
SET SCREW M6-1 X 12
Price
N/A
1400
*DISCD*WORK LIGHT COMPLETE ASSY
Item is no longer available
Price
N/A
1401
Now: H3249
Halogen Machine Lamp-Long
Price
N/A
1401-1
Now: H3249
Halogen Machine Lamp-Long
Price
N/A
1402
Now: PS15M
PHLP HD SCR M6-1 X 14
Price
N/A
1403
*DISCD*LAMP BRACKET
Item is no longer available
Price
N/A
1404
CAP SCREW M6-1 X 20
Price
N/A
1405
*DISCD*CONNECT TUBE
Item is no longer available
Price
N/A
1406
*DISCD*COOLANT DEVICE PLASTIC
Item is no longer available
Price
N/A
1407
*DISCD*RUBBER TUBE
Item is no longer available
Price
N/A
1408
Now: PB94M
HEX BOLT M5-.8 X 25
Price
N/A
1409
*DISCD*COOLANT PUMP 1PH
$500.00
Enter quantity between 1 and 99
141
*DISCD*SHAFT
Item is no longer available
Price
N/A
1410
*DISCD*WATER TANK
$100.95
Enter quantity between 1 and 99
1411
Now: PN06M
HEX NUT M5-.8
Price
N/A
1412
*DISCD*TOOLBOX
Item is no longer available
Price
N/A
1413
*DISCD*CONTACTOR CJX2-3201 ZHEN 220V
$148.95
Enter quantity between 1 and 99
1414
*DISCD*OIL CAN
Item is no longer available
Price
N/A
1415
Now: PSDF2
SCREWDRIVER FLAT #2
Price
N/A
1416
Now: PSDP2
SCREWDRIVER PHILLIPS #2
Price
N/A
1417
*DISCD*CHUCK 3-JAW
Item is no longer available
Price
N/A
1418
WRENCH 9 X 11MM OPEN-ENDS
Price
N/A
1418-1
WRENCH 10 X 12MM OPEN-ENDS
Price
N/A
1418-2
WRENCH 12 X 14MM OPEN-ENDS
Price
N/A
1418-3
WRENCH 14 X 17MM OPEN-ENDS
Price
N/A
1419
HEX WRENCH 2.5MM
Price
N/A
1419-1
HEX WRENCH 3MM
Price
N/A
1419-2
HEX WRENCH 4MM
Price
N/A
1419-3
HEX WRENCH 5MM
Price
N/A
1419-4
HEX WRENCH 6MM
Price
N/A
1419-5
HEX WRENCH 8MM
Price
N/A
142
O-RING 24.7 X 3.5 P25
Price
N/A
1420
*DISCD*TAPERED SLEEVE MT#5-3
Item is no longer available
Price
N/A
1421
*DISCD*DEAD CENTERS MT#3
Item is no longer available
Price
N/A
1422
*DISCD*CHANGE GEARS 30T
Item is no longer available
Price
N/A
1422-1
*DISCD*CHANGE GEARS 32T
Item is no longer available
Price
N/A
1422-2
*DISCD*CHANGE GEARS 40T
Item is no longer available
Price
N/A
1423
*DISCD*TOOL POST WRENCH
Item is no longer available
Price
N/A
1424
*DISCD*CHUCK 3-JAW KEY
Item is no longer available
Price
N/A
1425
*DISCD*SPINDLE LOCK KEY
Item is no longer available
Price
N/A
1426
*DISCD*CHUCK 8" JAW 4PC
Item is no longer available
Price
N/A
1427
*DISCD*FOUR JAW CHUCK KEY
$49.75
Enter quantity between 1 and 99
1428
*DISCD*CAMLOCK STUD
$10.95
Enter quantity between 1 and 99
1429
*DISCD*CAM LOCK STUD SET SCR
Item is no longer available
Price
N/A
143
KEY 6 X 6 X 90
Price
N/A
1430
*DISCD*CAST IRON FOOT PAD
Item is no longer available
Price
N/A
1431
*DISCD*FACEPLATE 12"
$285.80
Enter quantity between 1 and 99
144
*DISCD*GEAR 42T
Item is no longer available
Price
N/A
145
*DISCD*COLLAR
Item is no longer available
Price
N/A
146
*DISCD*GEAR 32T
Item is no longer available
Price
N/A
147
*DISCD*COLLAR
Item is no longer available
Price
N/A
148
*DISCD*GEAR 32T
Item is no longer available
Price
N/A
149
BALL BEARING 6004-OPEN
Price
N/A
150
*DISCD*PLUG
Item is no longer available
Price
N/A
151
*DISCD*SHAFT D
Item is no longer available
Price
N/A
152
*DISCD*GEAR 38T
Item is no longer available
Price
N/A
153
*DISCD*SPLINE SHAFT E
$154.70
Enter quantity between 1 and 99
154
*DISCD*HOUSING GASKET
$4.90
Enter quantity between 1 and 99
155
*DISCD*HOUSING
$53.20
Enter quantity between 1 and 99
156
*DISCD*SPACER SD25 X 40 X 7
Item is no longer available
Price
N/A
157
*DISCD*BRAKE SHOE ASSY
Item is no longer available
Price
N/A
158
*DISCD*COLLAR
Item is no longer available
Price
N/A
159
*DISCD*COVER W/WARNING LABELS
Item is no longer available
Price
N/A
160
*DISCD*BALANCE SPACE
Item is no longer available
Price
N/A
161
*DISCD*BALANCE BLOCK
Item is no longer available
Price
N/A
162
SET SCREW M6-1 X 12
Price
N/A
163
SET SCREW M8-1.25 X 12
Price
N/A
164
Now: PVA67
V-BELT A67
Price
N/A
201
*DISCD*PLUG
Item is no longer available
Price
N/A
202
*DISCD*GEARBOX CASTING
Item is no longer available
Price
N/A
203
*DISCD*FRONT COVER
Item is no longer available
Price
N/A
204
FLAT HD SCR M4-.7 X 10
Price
N/A
205
*DISCD*OIL COVER
Item is no longer available
Price
N/A
206
*DISCD*COVER
Item is no longer available
Price
N/A
207
*DISCD*TOP COVER
$31.05
Enter quantity between 1 and 99
208
*DISCD*BRACKET
Item is no longer available
Price
N/A
209
Now: PS12M
PHLP HD SCR M3-.5 X 6
Price
N/A
210
*DISCD*ELECTRICAL PLATE
Item is no longer available
Price
N/A
211
*DISCD*GEARBOX GASKET
Item is no longer available
Price
N/A
212
CAP SCREW M8-1.25 X 40
Price
N/A
213
CAP SCREW M8-1.25 X 25
Price
N/A
214
ROLL PIN 5 X 20
Price
N/A
215
ROLL PIN 5 X 28
Price
N/A
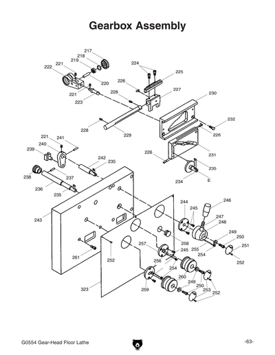
216
*DISCD*PLUG
Item is no longer available
Price
N/A
217
*DISCD*GEAR 18T
Item is no longer available
Price
N/A
218
Now: PR79M
INT RETAINING RING 19MM
Price
N/A
219
BALL BEARING 698ZZ
Price
N/A
220
*DISCD*SHAFT
$6.90
Enter quantity between 1 and 99
221
SET SCREW M6-1 X 8
Price
N/A
222
*DISCD*SHIFTER
$335.25
Enter quantity between 1 and 99
223
*DISCD*SHAFT
$13.25
Enter quantity between 1 and 99
224
CAP SCREW M6-1 X 20
Price
N/A
225
*DISCD*RACK
Item is no longer available
Price
N/A
226
*DISCD*SHIFT KEY
Item is no longer available
Price
N/A
227
*DISCD*SHIFT FORK
Item is no longer available
Price
N/A
228
SET SCREW M6-1 X 8
Price
N/A
229
*DISCD*SHAFT
Item is no longer available
Price
N/A
230
*DISCD*LOCATING PLATE
$170.20
Enter quantity between 1 and 99
231
*DISCD*CONTROL PLATE
$223.40
Enter quantity between 1 and 99
232
CAP SCREW M6-1 X 12
Price
N/A
233
ROLL PIN 8 X 30
Price
N/A
234
*DISCD*SHIFT HUB
Item is no longer available
Price
N/A
235
Now: PK05M
KEY 4 X 4 X 10
Price
N/A
236
*DISCD*SHAFT
Item is no longer available
Price
N/A
237
ROLL PIN 5 X 20
Price
N/A
238
*DISCD*GEAR 26T
Item is no longer available
Price
N/A
239
*DISCD*SHIFT FORK
$60.95
Enter quantity between 1 and 99
240
*DISCD*SHIFT LEVER
Item is no longer available
Price
N/A
241
ROLL PIN 5 X 20
Price
N/A
242
*DISCD*SHAFT
Item is no longer available
Price
N/A
243
*DISCD*COVER
Item is no longer available
Price
N/A
244
*DISCD*LOCATING DISK
Item is no longer available
Price
N/A
245
FLAT HD SCR M5-.8 X 10
Price
N/A
246
*DISCD*HANDLE
$6.90
Enter quantity between 1 and 99
247
*DISCD*HANDLE SHAFT
$15.55
Enter quantity between 1 and 99
248
*DISCD*SHIFT HUB
Item is no longer available
Price
N/A
249
Now: PW09M
FLAT WASHER 7MM
Price
N/A
250
CAP SCREW M6-1 X 16
Price
N/A
251
*DISCD*INDICATOR DISK
Item is no longer available
Price
N/A
252
Now: PS12M
PHLP HD SCR M3-.5 X 6
Price
N/A
253
*DISCD*INDICATOR DISK
$6.90
Enter quantity between 1 and 99
254
SET SCREW M8-1.25 X 8
Price
N/A
255
*DISCD*COMPLESSION SPRING 5.8 X 25
Item is no longer available
Price
N/A
256
STEEL BALL 6.5MM
Price
N/A
257
*DISCD*LOCATING DISK
Item is no longer available
Price
N/A
258
*DISCD*OIL SIGHT
$4.90
Enter quantity between 1 and 99
259
*DISCD*LOCATING DISK
Item is no longer available
Price
N/A
260
*DISCD*SHIFT HUB
$61.85
Enter quantity between 1 and 99
261
CAP SCREW M6-1 X 35
Price
N/A
262
Now: PW03M
FLAT WASHER 6MM
Price
N/A
263
*DISCD*GEAR 50T
Item is no longer available
Price
N/A
264
CAP SCREW M6-1 X 20
Price
N/A
265
*DISCD*FLANGE
$100.95
Enter quantity between 1 and 99
266
*DISCD*GASKET
$4.35
Enter quantity between 1 and 99
267
BALL BEARING 6004-OPEN
Price
N/A
268
Now: PK19M
KEY 5 X 5 X 14
Price
N/A
269
*DISCD*GEAR SHAFT ASSY
Item is no longer available
Price
N/A
270
BALL BEARING 6202-OPEN
Price
N/A
271
*DISCD*SHAFT COLLAR
Item is no longer available
Price
N/A
272
KEY 5 X 5 X 75
Price
N/A
273
*DISCD*SHAFT
Item is no longer available
Price
N/A
274
*DISCD*SHAFT COLLAR
Item is no longer available
Price
N/A
275
BALL BEARING 6003-OPEN
Price
N/A
276
Now: PR09M
EXT RETAINING RING 20MM
Price
N/A
277
*DISCD*GEAR 16T/32T
Item is no longer available
Price
N/A
278
BALL BEARING 6202-OPEN
Price
N/A
279
*DISCD*GASKET
Item is no longer available
Price
N/A
280
*DISCD*FLANGE
Item is no longer available
Price
N/A
281
*DISCD*GEAR 28T
Item is no longer available
Price
N/A
282
*DISCD*KEYED WASHER 52MM
$5.20
Enter quantity between 1 and 99
283
*DISCD*GEAR 26T
Item is no longer available
Price
N/A
284
*DISCD*KEYED WASHER 48.5MM
Item is no longer available
Price
N/A
285
*DISCD*GEAR 24T
$60.95
Enter quantity between 1 and 99
286
*DISCD*KEYED WASHER 45MM
$5.20
Enter quantity between 1 and 99
287
*DISCD*GEAR 23T
Item is no longer available
Price
N/A
288
*DISCD*KEYED WASHER 43MM
$5.20
Enter quantity between 1 and 99
289
*DISCD*GEAR 22T
Item is no longer available
Price
N/A
290
*DISCD*KEYED WASHER 41.5MM
$5.20
Enter quantity between 1 and 99
291
*DISCD*GEAR 20T
Item is no longer available
Price
N/A
292
*DISCD*KEYED WASHER 38MM
$5.20
Enter quantity between 1 and 99
293
*DISCD*GEAR 18T
Item is no longer available
Price
N/A
294
*DISCD*KEYED WASHER 34.5MM
$5.20
Enter quantity between 1 and 99
295
*DISCD*GEAR 16T
Item is no longer available
Price
N/A
296
*DISCD*GEAR 26T
$99.80
Enter quantity between 1 and 99
297
*DISCD*SPLINE SHAFT
Item is no longer available
Price
N/A
298
Now: PK19M
KEY 5 X 5 X 14
Price
N/A
299
KEY 6 X 6 X 14
Price
N/A
300
Now: PR37M
EXT RETAINING RING 32MM
Price
N/A
301
*DISCD*BALL BEARING 31804
Item is no longer available
Price
N/A
302
*DISCD*GEAR 16T
Item is no longer available
Price
N/A
303
Now: PW23M
FLAT WASHER 30MM
Price
N/A
304
*DISCD*GEAR 21T
Item is no longer available
Price
N/A
305
Now: PR05M
EXT RETAINING RING 15MM
Price
N/A
306
*DISCD*GEAR 36T
Item is no longer available
Price
N/A
307
*DISCD*GASKET
Item is no longer available
Price
N/A
308
*DISCD*FLANGE
Item is no longer available
Price
N/A
309
O-RING 14.8 X 2.4 P15 
Price
N/A
310
THRUST BEARING 51104
Price
N/A
311
Now: PK34M
KEY 5 X 5 X 20
Price
N/A
312
*DISCD*SHAFT
Item is no longer available
Price
N/A
313
*DISCD*SHAFT
Item is no longer available
Price
N/A
314
*DISCD*FLANGE
Item is no longer available
Price
N/A
315
*DISCD*GASKET
Item is no longer available
Price
N/A
316
Now: PN17M
HEX NUT M20-1.5
Price
N/A
317
*DISCD*GEAR 32T
Item is no longer available
Price
N/A
318
*DISCD*COLLAR
Item is no longer available
Price
N/A
319
*DISCD*GEAR 16T
Item is no longer available
Price
N/A
320
*DISCD*RETAINING RING
Item is no longer available
Price
N/A
321
*DISCD*RIVET 2 X 4MM
Item is no longer available
Price
N/A
322
*DISCD*SPEED CHART
Item is no longer available
Price
N/A
323
*DISCD*NAME PLATE
$77.35
Enter quantity between 1 and 99
324
*DISCD*COOLANT ON/OFF SWITCH
Item is no longer available
Price
N/A
325
*DISCD*FWD/REV SWITCH
Item is no longer available
Price
N/A
326
*DISCD*JOG BUTTON
Item is no longer available
Price
N/A
327
*DISCD*POWER INDICATOR LIGHT AD11 22MM
Price
N/A
328
*DISCD*EMERGENCY STOP SWITCH
Item is no longer available
Price
N/A
329
*DISCD*THREAD CHART
Item is no longer available
Price
N/A
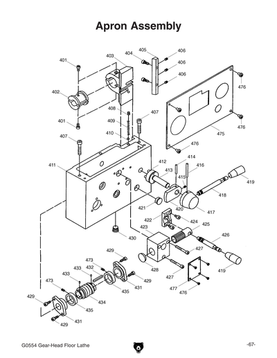
400
*DISCD*COMPLETE APRON ASSY
$1,922.55
Enter quantity between 1 and 99
401
CAP SCREW M6-1 X 10
Price
N/A
402
*DISCD*HALF NUT M23 X 3.175
Item is no longer available
Price
N/A
403
*DISCD*BRACKET
Item is no longer available
Price
N/A
404
CAP SCREW M6-1 X 16
Price
N/A
405
*DISCD*GIB
Item is no longer available
Price
N/A
406
SET SCREW M6-1 X 10
Price
N/A
407
CAP SCREW M8-1.25 X 40
Price
N/A
408
SET SCREW M8-1.25 X 8
Price
N/A
409
*DISCD*COMPRESSION SPRING 6 X 42
Item is no longer available
Price
N/A
410
STEEL BALL 6MM
Price
N/A
411
*DISCD*CASTING
Item is no longer available
Price
N/A
412
*DISCD*DOWEL PIN
Item is no longer available
Price
N/A
413
*DISCD*HALF NUT CAM 16 X 75
Item is no longer available
Price
N/A
414
ROLL PIN 5 X 36
Price
N/A
415
SET SCREW M6-1 X 6
Price
N/A
416
ROLL PIN 5 X 50
Price
N/A
417
*DISCD*HUB
Item is no longer available
Price
N/A
418
*DISCD*HANDLE SHAFT
$29.90
Enter quantity between 1 and 99
419
*DISCD*KNOB
Item is no longer available
Price
N/A
420
*DISCD*SAFETY CATCH
Item is no longer available
Price
N/A
421
*DISCD*SIGHT GLASS 12
Item is no longer available
Price
N/A
422
*DISCD*BRACKET
Item is no longer available
Price
N/A
423
*DISCD*BLOCK
Item is no longer available
Price
N/A
424
CAP SCREW M6-1 X 12
Price
N/A
425
*DISCD*SPLINE SHAFT
Item is no longer available
Price
N/A
426
*DISCD*HANDLE SHAFT
$19.55
Enter quantity between 1 and 99
427
CAP SCREW M6-1 X 45
Price
N/A
428
*DISCD*PLUG
Item is no longer available
Price
N/A
429
CAP SCREW M6-1 X 16
Price
N/A
430
*DISCD*DRAIN PLUG
Item is no longer available
Price
N/A
431
*DISCD*FLANGE
Item is no longer available
Price
N/A
432
KEY 5 X 5 X 56
Price
N/A
433
*DISCD*STEEL PIN 3 X 8MM
$1.75
Enter quantity between 1 and 99
434
*DISCD*WORM
Item is no longer available
Price
N/A
435
*DISCD*COLLAR
Item is no longer available
Price
N/A
436
*DISCD*BUSHING
$15.55
Enter quantity between 1 and 99
437
*DISCD*SHAFT
Item is no longer available
Price
N/A
438
Now: PR06M
EXT RETAINING RING 16MM
Price
N/A
439
*DISCD*GEAR 22T
Item is no longer available
Price
N/A
440
*DISCD*COLLAR
Item is no longer available
Price
N/A
441
ROLL PIN 5 X 36
Price
N/A
442
*DISCD*GEAR 24T
$53.20
Enter quantity between 1 and 99
443
SET SCREW M6-1 X 6
Price
N/A
444
Now: PK20M
KEY 5 X 5 X 15
Price
N/A
445
*DISCD*SHAFT
$35.10
Enter quantity between 1 and 99
446
*DISCD*O-RING 17 X 1.8
Item is no longer available
Price
N/A
447
Now: PR03M
EXT RETAINING RING 12MM
Price
N/A
448
*DISCD*BUSHING
Item is no longer available
Price
N/A
449
*DISCD*COLLAR
Item is no longer available
Price
N/A
450
*DISCD*CLUSTER GEAR 50T/20T
Item is no longer available
Price
N/A
451
SET SCREW M8-1.25 X 8
Price
N/A
452
*DISCD*COMPRESSION SPRING 6 X 22
Item is no longer available
Price
N/A
453
STEEL BALL 6MM
Price
N/A
454
*DISCD*SHAFT
$50.60
Enter quantity between 1 and 99
455
*DISCD*SHAFT
Item is no longer available
Price
N/A
456
ROLL PIN 5 X 30
Price
N/A
457
*DISCD*GEAR 50T
Item is no longer available
Price
N/A
458
*DISCD*BUSHING
Item is no longer available
Price
N/A
459
Now: PR06M
EXT RETAINING RING 16MM
Price
N/A
460
*DISCD*PLUG
$4.35
Enter quantity between 1 and 99
461
*DISCD*SHAFT
Item is no longer available
Price
N/A
462
Now: PK20M
KEY 5 X 5 X 15
Price
N/A
463
*DISCD*WHEEL FLANGE
$73.90
Enter quantity between 1 and 99
464
CAP SCREW M6-1 X 16
Price
N/A
465
*DISCD*INDICATOR RING
$192.65
Enter quantity between 1 and 99
466
STEEL BALL 6MM
Price
N/A
467
*DISCD*SPRING 6 X 12.6
$2.90
Enter quantity between 1 and 99
468
*DISCD*WHEEL
Item is no longer available
Price
N/A
469
SET SCREW M6-1 X 25
Price
N/A
470
*DISCD*WHEEL STUD
Item is no longer available
Price
N/A
471
*DISCD*HANDLE SLEEVE
Item is no longer available
Price
N/A
472
*DISCD*HANDLE LEVER
Item is no longer available
Price
N/A
473
SET SCREW M5-.8 X 10
Price
N/A
474
O-RING 25.7 X 3.5 P26 
Price
N/A
475
*DISCD*APRON LABEL
Item is no longer available
Price
N/A
476
Now: PS12M
PHLP HD SCR M3-.5 X 6
Price
N/A
477
*DISCD*THREAD DIAL LABEL
Item is no longer available
Price
N/A
478
*DISCD*INDICATOR LABEL
Item is no longer available
Price
N/A
501
*DISCD*GIB
$72.20
Enter quantity between 1 and 99
502
*DISCD*GIB ADJUSTING SCREW M6 X 23
Item is no longer available
Price
N/A
503
Now: PS09M
PHLP HD SCR M5-.8 X 10
Price
N/A
504
*DISCD*PLATE
Item is no longer available
Price
N/A
505
*DISCD*PLATE WIPER
$12.10
Enter quantity between 1 and 99
506
*DISCD*CROSS SLIDE BODY
Item is no longer available
Price
N/A
507
*DISCD*CLAMP NUT M8
Item is no longer available
Price
N/A
508
*DISCD*HUB
$10.35
Enter quantity between 1 and 99
509
*DISCD*OILER 8
Item is no longer available
Price
N/A
510
CAP SCREW M6-1 X 20
Price
N/A
511
*DISCD*SLEEVE
$8.05
Enter quantity between 1 and 99
512
SET SCREW M8-1.25 X 8
Price
N/A
513
Now: PN02M
HEX NUT M10-1.5
Price
N/A
514
*DISCD*BEARING CAP
Item is no longer available
Price
N/A
515
CAP SCREW M6-1 X 30
Price
N/A
516
Now: P8101
THRUST BEARING 8101
Price
N/A
517
*DISCD*BLOCK
Item is no longer available
Price
N/A
518
*DISCD*SPACER
$18.40
Enter quantity between 1 and 99
519
*DISCD*LEADSCREW M15 X 2.54
Item is no longer available
Price
N/A
520
CAP SCREW M6-1 X 12
Price
N/A
521
*DISCD*CROSSFEED NUT M15.5 X 2.54
Item is no longer available
Price
N/A
522
Now: PS49M
PHLP HD SCR M3-.5 X 5
Price
N/A
523
Now: PK23M
KEY 5 X 5 X 25
Price
N/A
524
*DISCD*GEAR SHAFT
Item is no longer available
Price
N/A
525
Now: PK48M
KEY 4 X 4 X 20
Price
N/A
526
*DISCD*OILER 6
$2.90
Enter quantity between 1 and 99
527
Now: PS12M
PHLP HD SCR M3-.5 X 6
Price
N/A
528
*DISCD*INDICATOR LABEL
$10.50
Enter quantity between 1 and 99
529
*DISCD*HOUSING
Item is no longer available
Price
N/A
530
CAP SCREW M6-1 X 40
Price
N/A
531
THRUST BEARING 51102
Price
N/A
532
Now: PW08M
FLAT WASHER 16MM
Price
N/A
533
Now: PS09M
PHLP HD SCR M5-.8 X 10
Price
N/A
534
*DISCD*INDEX RING
$198.40
Enter quantity between 1 and 99
535
*DISCD*COMPOUND HANDLE HUB
$129.10
Enter quantity between 1 and 99
536
*DISCD*COVER SCREW M12 X 7
$12.10
Enter quantity between 1 and 99
537
SET SCREW M6-1 X 25
Price
N/A
538
*DISCD*HANDLE LEVER
$19.55
Enter quantity between 1 and 99
539
*DISCD*HANDLE SLEEVE
Item is no longer available
Price
N/A
540
*DISCD*COMPRESSION SPRING
$4.35
Enter quantity between 1 and 99
541
STEEL BALL 6MM
Price
N/A
542
*DISCD*SADDLE
Item is no longer available
Price
N/A
543
ROLL PIN 6 X 40
Price
N/A
544
*DISCD*PLATE WIPER
Item is no longer available
Price
N/A
545
Now: PS09M
PHLP HD SCR M5-.8 X 10
Price
N/A
546
*DISCD*PLATE
Item is no longer available
Price
N/A
547
CAP SCREW M8-1.25 X 40
Price
N/A
548
*DISCD*OILER
$2.90
Enter quantity between 1 and 99
549
*DISCD*PLATE
Item is no longer available
Price
N/A
550
*DISCD*PLATE WIPER
$4.35
Enter quantity between 1 and 99
551
*DISCD*REAR PRESSURE PLATE
Item is no longer available
Price
N/A
552
*DISCD*GIB
Item is no longer available
Price
N/A
553
LOCK NUT M6-1
Price
N/A
554
SET SCREW M6-1 X 20
Price
N/A
555
CAP SCREW M8-1.25 X 20
Price
N/A
556
*DISCD*HANDLE KNOB M10 X 50
Item is no longer available
Price
N/A
557
*DISCD*HANDLE SHAFT
$18.40
Enter quantity between 1 and 99
558
*DISCD*HUB
$27.35
Enter quantity between 1 and 99
559
*DISCD*OIL CAP
$4.90
Enter quantity between 1 and 99
560
*DISCD*LOCK STUD
$27.35
Enter quantity between 1 and 99
561
*DISCD*FRONT PRESSURE PLATE
$27.35
Enter quantity between 1 and 99
562
*DISCD*CONNECT TUBE
Item is no longer available
Price
N/A
563
*DISCD*LAMP BRACKET
Item is no longer available
Price
N/A
564
*DISCD*CROSSFEED LEADSCREW & NUT ASSY
Item is no longer available
Price
N/A
565
*DISCD*CROSSFEED DIAL ASSY
Item is no longer available
Price
N/A
600
*DISCD*TOOL POST ASSY
Item is no longer available
Price
N/A
601
*DISCD*TOOL POST
Item is no longer available
Price
N/A
602
*DISCD*TOOL LOCK SCREW 10 X 50
$9.20
Enter quantity between 1 and 99
603
*DISCD*HANDLE HUB
$31.05
Enter quantity between 1 and 99
604
*DISCD*HANDLE SHAFT
$19.55
Enter quantity between 1 and 99
605
*DISCD*HANDLE
$6.90
Enter quantity between 1 and 99
606
*DISCD*SPACER
Item is no longer available
Price
N/A
607
*DISCD*TOOL POST PIN
$68.75
Enter quantity between 1 and 99
608
*DISCD*TOOL POST PIN
$10.35
Enter quantity between 1 and 99
609
*DISCD*COMPRESSION SPRING
$4.35
Enter quantity between 1 and 99
610
*DISCD*CLAMP NUT M18 X 1.5
$54.65
Enter quantity between 1 and 99
611
*DISCD*OILER 8
Item is no longer available
Price
N/A
612
*DISCD*COMPOUND SLIDE
$193.80
Enter quantity between 1 and 99
613
CAP SCREW M6-1 X 20
Price
N/A
614
*DISCD*POSITION PIN
Item is no longer available
Price
N/A
615
*DISCD*THREADED PIN
Item is no longer available
Price
N/A
616
*DISCD*COMPOUND SCREW
Item is no longer available
Price
N/A
617
Now: PK97M
KEY 4 X 4 X 14
Price
N/A
618
Now: PS12M
PHLP HD SCR M3-.5 X 6
Price
N/A
619
*DISCD*NAME PLATE
Item is no longer available
Price
N/A
620
*DISCD*SCREW BUSHING
Item is no longer available
Price
N/A
621
CAP SCREW M6-1 X 20
Price
N/A
622
Now: P8103
THRUST BEARING 8103
Price
N/A
623
*DISCD*INDEX RING
Item is no longer available
Price
N/A
624
*DISCD*HANDWHEEL
Item is no longer available
Price
N/A
625
*DISCD*HANDLE
Item is no longer available
Price
N/A
626
CAP SCREW M5-.8 X 25
Price
N/A
627
*DISCD*COVER SCREW M12 X 7
Item is no longer available
Price
N/A
628
SET SCREW M6-1 X 25
Price
N/A
629
CAP SCREW M5-.8 X 40
Price
N/A
630
*DISCD*HANDLE
Item is no longer available
Price
N/A
631
STEEL BALL 6MM
Price
N/A
632
*DISCD*COMPRESSION SPRING
Item is no longer available
Price
N/A
633
SET SCREW M6-1 X 16
Price
N/A
634
*DISCD*GIB ADJUSTING SCREW M6 X 23
Item is no longer available
Price
N/A
635
*DISCD*GIB
Item is no longer available
Price
N/A
636
CAP SCREW M8-1.25 X 16
Price
N/A
637
*DISCD*SWIVEL SLIDE 14"
Item is no longer available
Price
N/A
638
*DISCD*SCALE
Item is no longer available
Price
N/A
639
Now: PS12M
PHLP HD SCR M3-.5 X 6
Price
N/A
640
*DISCD*COMPOUND ASSY 14"
Item is no longer available
Price
N/A
700
*DISCD*TAILSTOCK COMPLETE ASSY
Item is no longer available
Price
N/A
701
*DISCD*INDEX RING
Item is no longer available
Price
N/A
702
CAP SCREW M6-1 X 20
Price
N/A
703
*DISCD*HUB
Item is no longer available
Price
N/A
704
Now: P8103
THRUST BEARING 8103
Price
N/A
705
Now: PK48M
KEY 4 X 4 X 20
Price
N/A
706
*DISCD*FEED SCREW
Item is no longer available
Price
N/A
707
CAP SCREW M6-1 X 16
Price
N/A
708
*DISCD*FLANGE
Item is no longer available
Price
N/A
709
*DISCD*KNOB
Item is no longer available
Price
N/A
710
*DISCD*LEVER HANDLE
Item is no longer available
Price
N/A
711
*DISCD*ECCENTRIC SHAFT
Item is no longer available
Price
N/A
712
ROLL PIN 5 X 12
Price
N/A
713
*DISCD*OILER 10
Item is no longer available
Price
N/A
714
*DISCD*TAILSTOCK BODY
Item is no longer available
Price
N/A
715
STEEL BALL 6MM
Price
N/A
716
*DISCD*COMPRESSION SPRING
Item is no longer available
Price
N/A
717
*DISCD*WHEEL
Item is no longer available
Price
N/A
718
SET SCREW M12-1.75 X 12
Price
N/A
719
*DISCD*WHEEL SCREW M6 X 15
Item is no longer available
Price
N/A
720
*DISCD*HANDLE LEVER
Item is no longer available
Price
N/A
721
*DISCD*HANDLE SLEEVE
Item is no longer available
Price
N/A
722
CAP SCREW M8-1.25 X 70
Price
N/A
723
*DISCD*GIB
Item is no longer available
Price
N/A
724
*DISCD*GIB ADJUSTING SCREW 71
Item is no longer available
Price
N/A
725
CAP SCREW M12-1.75 X 90
Price
N/A
726
Now: PW06M
FLAT WASHER 12MM
Price
N/A
727
*DISCD*TAILSTOCK CLAMP PLATE
Item is no longer available
Price
N/A
728
*DISCD*BLOCK
Item is no longer available
Price
N/A
729
*DISCD*TAILSTOCK BASE
Item is no longer available
Price
N/A
730
*DISCD*STOP PIN
Item is no longer available
Price
N/A
731
Now: PN01M
HEX NUT M6-1
Price
N/A
732
SET SCREW M6-1 X 16
Price
N/A
733
ROLL PIN 5 X 12
Price
N/A
734
*DISCD*ECCENTRIC SHAFT
Item is no longer available
Price
N/A
735
*DISCD*LEVER HANDLE
Item is no longer available
Price
N/A
736
*DISCD*SPINDLE
Item is no longer available
Price
N/A
737
*DISCD*KEY 3 X 6 X 55
Item is no longer available
Price
N/A
738
*DISCD*INDICATOR LABEL
Item is no longer available
Price
N/A
739
Now: PS12M
PHLP HD SCR M3-.5 X 6
Price
N/A
740
*DISCD*INDICATOR LABEL
Item is no longer available
Price
N/A
741
*DISCD*INDICATOR LABEL
Item is no longer available
Price
N/A
801
Now: PS39M
PHLP HD SCR M8-1.25 X 10
Price
N/A
802
*DISCD*ELECTRICAL BOX COVER
Item is no longer available
Price
N/A
803
Now: PN03M
HEX NUT M8-1.25
Price
N/A
804
*DISCD*STUD
Item is no longer available
Price
N/A
805
*DISCD*ELECTRICAL PLATE
Item is no longer available
Price
N/A
806
*DISCD*GAP
Item is no longer available
Price
N/A
807
CAP SCREW M12-1.75 X 40
Price
N/A
808
Now: PN03M
HEX NUT M8-1.25
Price
N/A
809
ROLL PIN 8 X 60
Price
N/A
810
*DISCD*BED
Item is no longer available
Price
N/A
811
Now: PB51M
HEX BOLT M16-2 X 50
Price
N/A
812
CAP SCREW M6-1 X 25
Price
N/A
813
ROLL PIN 5 X 36
Price
N/A
814
*DISCD*RACK LONG
Item is no longer available
Price
N/A
815
*DISCD*RACK SHORT
$154.70
Enter quantity between 1 and 99
816
*DISCD*OILER 10
Item is no longer available
Price
N/A
817
*DISCD*PLUG
Item is no longer available
Price
N/A
818
*DISCD*PLUG
Item is no longer available
Price
N/A
819
CAP SCREW M8-1.25 X 55
Price
N/A
820
ROLL PIN 8 X 60
Price
N/A
821
*DISCD*END BRACKET
$154.70
Enter quantity between 1 and 99
822
THRUST BEARING 51104
Price
N/A
823
SET SCREW M8-1.25 X 10
Price
N/A
824
*DISCD*COLLAR
Item is no longer available
Price
N/A
825
*DISCD*LEADSCREW M22 X 3.175
$678.50
Enter quantity between 1 and 99
826
ROLL PIN 5 X 36
Price
N/A
827
*DISCD*COLLAR
Item is no longer available
Price
N/A
828
*DISCD*FEED SHAFT
Item is no longer available
Price
N/A
829
*DISCD*SPRING 6 X 20
Item is no longer available
Price
N/A
830
STEEL BALL 6MM
Price
N/A
831
*DISCD*CLUTCH
$27.35
Enter quantity between 1 and 99
832
Now: PN01M
HEX NUT M6-1
Price
N/A
833
SET SCREW M6-1 X 20
Price
N/A
834
ROLL PIN 3 X 20
Price
N/A
835
*DISCD*CONTROL FORK
Item is no longer available
Price
N/A
836
*DISCD*CONTROL HANDLE
Item is no longer available
Price
N/A
837
*DISCD*HANDLE
Item is no longer available
Price
N/A
838
CAP SCREW M6-1 X 16
Price
N/A
839
*DISCD*CONTROL BRACKET
Item is no longer available
Price
N/A
840
*DISCD*DOWEL PIN
Item is no longer available
Price
N/A
841
*DISCD*COMPRESSION SPRING
Item is no longer available
Price
N/A
842
SET SCREW M8-1.25 X 8
Price
N/A
843
*DISCD*COMPRESSION SPRING
Item is no longer available
Price
N/A
844
*DISCD*SLEEVE
Item is no longer available
Price
N/A
845
*DISCD*SPINDLE CONTROL SHAFT
$357.10
Enter quantity between 1 and 99
846
SET SCREW M3-.5 X 6
Price
N/A
847
KEY 5 X 5 X 56
Price
N/A
848
SET SCREW M6-1 X 10
Price
N/A
849
*DISCD*COLLAR
Item is no longer available
Price
N/A
850
*DISCD*SHIFT COLLAR
Item is no longer available
Price
N/A
851
SET SCREW M6-1 X 16
Price
N/A
852
*DISCD*DOWEL PIN
Item is no longer available
Price
N/A
853
*DISCD*DOWEL PIN
Item is no longer available
Price
N/A
854
*DISCD*INDEX RING
$4.90
Enter quantity between 1 and 99
855
ROLL PIN 3 X 6
Price
N/A
856
*DISCD*SHAFT
$8.05
Enter quantity between 1 and 99
857
*DISCD*BRACKET
$14.40
Enter quantity between 1 and 99
858
SET SCREW M6-1 X 12
Price
N/A
859
*DISCD*PLATE
Item is no longer available
Price
N/A
860
CAP SCREW M6-1 X 16
Price
N/A
861
ROLL PIN 5 X 36
Price
N/A
901
Now: PS68M
PHLP HD SCR M6-1 X 10
Price
N/A
902
*DISCD*REAR SPLASH GUARD
$440.20
Enter quantity between 1 and 99
903
*DISCD*CHIP TRAY
Item is no longer available
Price
N/A
904
*DISCD*GUIDE
Item is no longer available
Price
N/A
905
*DISCD*BRACKET
Item is no longer available
Price
N/A
906
Now: PS68M
PHLP HD SCR M6-1 X 10
Price
N/A
907
*DISCD*PEDESTAL RIGHT
Item is no longer available
Price
N/A
908
CAP SCREW M6-1 X 10
Price
N/A
909
*DISCD*BRACKET
Item is no longer available
Price
N/A
910
Now: PS68M
PHLP HD SCR M6-1 X 10
Price
N/A
911
*DISCD*BRAKE PEDAL
Item is no longer available
Price
N/A
912
*DISCD*FRONT PLATE
Item is no longer available
Price
N/A
913
*DISCD*SHAFT
Item is no longer available
Price
N/A
914
*DISCD*SHAFT
Item is no longer available
Price
N/A
915
ROLL PIN 5 X 16
Price
N/A
916
*DISCD*COOLANT TANK
Item is no longer available
Price
N/A
917
*DISCD*COVER
Item is no longer available
Price
N/A
918
*DISCD*PEDESTAL LEFT
Item is no longer available
Price
N/A
919
*DISCD*SPRING 26 X 250
Item is no longer available
Price
N/A
920
*DISCD*SHAFT
Item is no longer available
Price
N/A
921
*DISCD*SWITCH BOX
Item is no longer available
Price
N/A
922
Now: PS68M
PHLP HD SCR M6-1 X 10
Price
N/A
923
*DISCD*SWITCH BOX COVER
Item is no longer available
Price
N/A
924
*DISCD*CONNECTOR BAR
Item is no longer available
Price
N/A
925
Now: PR04M
EXT RETAINING RING 6MM
Price
N/A
926
*DISCD*DOWEL PIN
Item is no longer available
Price
N/A
927
Now: PN09M
HEX NUT M12-1.75
Price
N/A
928
Now: PW06M
FLAT WASHER 12MM
Price
N/A
929
CAP SCREW M6-1 X 12
Price
N/A
930
*DISCD*MOTOR MOUNTING BRACKET
Item is no longer available
Price
N/A
931
*DISCD*COVER
Item is no longer available
Price
N/A
932
*DISCD*COVER
Item is no longer available
Price
N/A
933
*DISCD*COVER
$73.90
Enter quantity between 1 and 99
934
SET SCREW M8-1.25 X 8
Price
N/A
935
*DISCD*PULLEY
Item is no longer available
Price
N/A
936
*DISCD*LINK
Item is no longer available
Price
N/A
937
*DISCD*LINK NUT 20
Item is no longer available
Price
N/A
938
*DISCD*SHAFT PIN
Item is no longer available
Price
N/A
939
Now: PR04M
EXT RETAINING RING 6MM
Price
N/A
940
*DISCD*TRAY
Item is no longer available
Price
N/A
941
*DISCD*MAIN MOTOR 1PH 3 WIRE V1.08.04
Item is no longer available
Price
N/A
941-1
*DISCD*FAN COVER V1
Item is no longer available
Price
N/A
941-2
*DISCD*FAN V1
Item is no longer available
Price
N/A
941-3
*DISCD*CAPACITOR COVER V1
Item is no longer available
Price
N/A
941-4
*DISCD*CAPACITOR 30M 400V V1
Item is no longer available
Price
N/A
941-5
*DISCD*CAPACITOR COVER
Item is no longer available
Price
N/A
941-6
*DISCD*S CAPACITOR 150M 250V
Price
N/A
941-7
*DISCD*WIRING BOX
Item is no longer available
Price
N/A
941-8
*DISCD*U SHAPED MOTOR CONTACT
Item is no longer available
Price
N/A
941A
*DISCD*MAIN MOTOR 4 WIRE V2.12.06
$637.10
Enter quantity between 1 and 99
941T
*DISCD*SPECIAL REPLACEMENT MOTOR
Item is no longer available
Price
N/A
942
Now: PW03M
FLAT WASHER 6MM
Price
N/A
943
Now: PN01M
HEX NUT M6-1
Price
N/A
944
*DISCD*CONTACTOR JZC4-40 110V 50HZ CHINT
Item is no longer available
Price
N/A
945
*DISCD*CONTACTOR CJX2-32 110V 50HZ CHINT
Item is no longer available
Price
N/A
946
*DISCD*OVERLOAD RELAY 0.35-0.52 ZHENGTAI
$99.50
Enter quantity between 1 and 99
947
*DISCD*OVERLOAD RELAY 18-25
Item is no longer available
Price
N/A
948
*DISCD*TRANSFORMER
Item is no longer available
Price
N/A
949
*DISCD*MAIN POWER SWITCH
$99.50
Enter quantity between 1 and 99
950
*DISCD*BRAKE LIMIT SWITCH
Item is no longer available
Price
N/A
951
*DISCD*SAFETY LIMIT SWITCH
Item is no longer available
Price
N/A
MANUAL
*DISCD*MANUAL FOR G0554 05/06
$13.25
Enter quantity between 1 and 99
TOOLBOX
*DISCD*TOOL BOX
Item is no longer available
Price
N/A