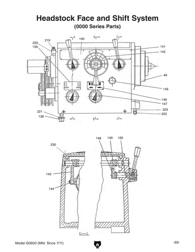
Parts for G0600 20" x 60" 3-Phase Big Bore Metal Lathe

Parts Diagrams for G0600 - 20" x 60" 3-Phase Big Bore Metal Lathe

IMPORTANT

Parts may have multiple versions that have changed over time. This will be indicated by V1, V2, V3, etc. in the parts description, followed by the version month and year that it was first used. Example: V2.01.17 indicates version 2 of a part went into use in January 2017. Please reference the manufacture date on the ID Label for your machine to ensure you are selecting the correct part when multiple versions are indicated.

If you cannot locate your part below, please contact our tech support department at techsupport@grizzly.com or 570-546-9663.

Please note: All parts ship out of our Springfield, Missouri facility.

Parts List for Parts for G0600 20" x 60" 3-Phase Big Bore Metal Lathe

1
CAP SCREW M6-1 X 20
Price
N/A
2
BEARING COVER
$53.50
Enter quantity between 1 and 99
3
BEARING COVER SEAL
$8.95
Enter quantity between 1 and 99
4
SPLINE SHAFT
$164.95
Enter quantity between 1 and 99
5
BALL BEARING 6205-OPEN
Price
N/A
6
CAP SCREW M6-1 X 16
Price
N/A
7
INPUT SHAFT
$156.00
Enter quantity between 1 and 99
8
SPANNER NUT 37MM
Price
N/A
9
LOCK WASHER 30MM
Price
N/A
10
Now: PK41M
KEY 8 X 8 X 40
Price
N/A
11
PULLEY
$167.15
Enter quantity between 1 and 99
12
OIL SEAL
$13.40
Enter quantity between 1 and 99
13
CAP SCREW M6-1 X 30
Price
N/A
14
BALL BEARING 1080908
$40.25
Enter quantity between 1 and 99
15
BEARING CAP
$57.95
Enter quantity between 1 and 99
16
BEARING SEAT SEAL
$8.95
Enter quantity between 1 and 99
17
Now: PR38M
INT RETAINING RING 62MM
Price
N/A
18
BALL BEARING 6206-OPEN
Price
N/A
19
Now: PR15M
EXT RETAINING RING 30MM
Price
N/A
20
SPACER
$22.35
Enter quantity between 1 and 99
21
GEAR 39T X M2.75
$165.00
Enter quantity between 1 and 99
22
KEY 8 X 8 X 70
$1.90
Enter quantity between 1 and 99
23
GEAR 20T X M2.75
$142.60
Enter quantity between 1 and 99
24
SPACER
$4.70
Enter quantity between 1 and 99
25
BALL BEARING 6205-OPEN
Price
N/A
26
GEAR 40T X M2.75
$214.20
Enter quantity between 1 and 99
27
GEAR 33T X M2.75
$115.90
Enter quantity between 1 and 99
28
GEAR 47T X M2.75
$222.85
Enter quantity between 1 and 99
29
BALL BEARING 6206-OPEN
Price
N/A
30
GEAR 46T X M2.75
$194.10
Enter quantity between 1 and 99
31
GEAR 24T X M2.75
$140.60
Enter quantity between 1 and 99
32
SPLINE SHAFT
$133.70
Enter quantity between 1 and 99
33
BALL BEARING 6205-OPEN
Price
N/A
34
FLAT WASHER 50MM
$10.10
Enter quantity between 1 and 99
35
*DISCD*O-RING 56 X 2.65
Price
N/A
36
COVER
$27.00
Enter quantity between 1 and 99
37
Now: PR38M
INT RETAINING RING 62MM
Price
N/A
38
BALL BEARING 6205-OPEN
Price
N/A
39
LOCK WASHER 6MM
Price
N/A
40
*DISCD*END COVER
Price
N/A
41
COVER
$27.00
Enter quantity between 1 and 99
42
SPLINE SHAFT
$93.85
Enter quantity between 1 and 99
43
Now: PR38M
INT RETAINING RING 62MM
Price
N/A
44
Now: PR97M
EXT RETAINING RING 75MM
Price
N/A
45
GEAR 47T X M2.75
$167.15
Enter quantity between 1 and 99
46
CAM LOCK D1-8
$22.35
Enter quantity between 1 and 99
47
CAM LOCK CAP SCREW
$4.70
Enter quantity between 1 and 99
48
COMPRESSION SPRING
$3.65
Enter quantity between 1 and 99
49
SPINDLE
$3,810.15
Enter quantity between 1 and 99
50
SHOULDER STUD D1-8
$13.70
Enter quantity between 1 and 99
51
CAP SCREW M6-1 X 40
Price
N/A
52
BEARING COVER FRONT
$156.00
Enter quantity between 1 and 99
53
BEARING COVER SEAL FRONT
$10.45
Enter quantity between 1 and 99
54
BALL BEARING D2007124E
$361.20
Enter quantity between 1 and 99
55
GEAR 72T X M2.75
$354.40
Enter quantity between 1 and 99
56
GEAR 50T X M2.75
$334.25
Enter quantity between 1 and 99
57
SHAFT
$104.95
Enter quantity between 1 and 99
58
BALL BEARING 6205-OPEN
Price
N/A
59
SHAFT
$62.95
Enter quantity between 1 and 99
60
BALL BEARING 6205-OPEN
Price
N/A
61
Now: PR15M
EXT RETAINING RING 30MM
Price
N/A
62
BALL BEARING 6205-OPEN
Price
N/A
63
Now: PR15M
EXT RETAINING RING 30MM
Price
N/A
64
KEY 8 X 8 X 36
Price
N/A
65
GEAR 48T X M2.25
$194.10
Enter quantity between 1 and 99
66
OUTPUT SHAFT
$103.20
Enter quantity between 1 and 99
67
Now: PK41M
KEY 8 X 8 X 40
Price
N/A
68
GEAR 36T X M2.25
$147.40
Enter quantity between 1 and 99
69
Now: PR15M
EXT RETAINING RING 30MM
Price
N/A
70
SPACER
$5.10
Enter quantity between 1 and 99
71
GEAR 30T X M2.25
$194.10
Enter quantity between 1 and 99
72
IDLER SHAFT
$30.20
Enter quantity between 1 and 99
73
O-RING 30 X 2.4MM
$1.90
Enter quantity between 1 and 99
74
SPACER
$2.60
Enter quantity between 1 and 99
75
CAP SCREW M6-1 X 16
Price
N/A
76
BUSHING BRASS
$13.70
Enter quantity between 1 and 99
77
BALL BEARING 6206-OPEN
Price
N/A
78
BEARING SEAT
$46.40
Enter quantity between 1 and 99
79
BEARING SEAT SEAL
$4.70
Enter quantity between 1 and 99
80
BALL BEARING 1080908
Price
N/A
81
OIL SEAL
$6.90
Enter quantity between 1 and 99
82
Now: PK32M
KEY 6 X 6 X 28
Price
N/A
83
CAP SCREW M6-1 X 20
Price
N/A
84
BEARING COVER
$31.35
Enter quantity between 1 and 99
85
BEARING COVER SEAL
$5.10
Enter quantity between 1 and 99
86
BALL BEARING 6205-OPEN
Price
N/A
87
CAP SCREW M6-1 X 16
Price
N/A
88
BEARING COVER
$40.65
Enter quantity between 1 and 99
89
BEARING COVER SEAL
$6.50
Enter quantity between 1 and 99
90
CAP SCREW M6-1 X 16
Price
N/A
91
LOCK NUT
$31.35
Enter quantity between 1 and 99
92
BUSHING BRASS
$6.90
Enter quantity between 1 and 99
93
SET SCREW M10-1.5 X 10
Price
N/A
94
BALL BEARING 120
$102.85
Enter quantity between 1 and 99
95
GEAR 32T X M2.75
$147.40
Enter quantity between 1 and 99
96
KEY 8 X 8 X 20
Price
N/A
97
Now: PR26M
INT RETAINING RING 52MM
Price
N/A
98
GEAR 51T X M2.75
$227.50
Enter quantity between 1 and 99
99
KEY 10 X 10 X 80MM
$3.65
Enter quantity between 1 and 99
100
Now: PR32M
EXT RETAINING RING 48MM
Price
N/A
101
GEAR 31T X M2.75
$171.85
Enter quantity between 1 and 99
102
Now: PK09M
KEY 8 X 8 X 35
Price
N/A
103
SET SCREW M8-1.25 X 10
Price
N/A
104
GEAR 24T X M2.75
$242.95
Enter quantity between 1 and 99
105
BALL BEARING D2007122E
$289.70
Enter quantity between 1 and 99
106
SPACER
$4.70
Enter quantity between 1 and 99
107
BALL BEARING 6205-OPEN
Price
N/A
108
SET SCREW M10-1.5 X 16
Price
N/A
109
KEY 10 X 10 X 90MM
$3.65
Enter quantity between 1 and 99
110
LOCK NUT
$173.95
Enter quantity between 1 and 99
111
BUSHING BRASS
$6.90
Enter quantity between 1 and 99
112
LOCK NUT
$191.95
Enter quantity between 1 and 99
113
BUSHING BRASS
$6.90
Enter quantity between 1 and 99
114
Now: PR15M
EXT RETAINING RING 30MM
Price
N/A
115
GEAR 24T X M2.25
$120.45
Enter quantity between 1 and 99
116
KEY 8 X 8 X 70
Price
N/A
117
GEAR 36T X M2.25
$140.60
Enter quantity between 1 and 99
118
GEAR 55T X M2.25
$227.50
Enter quantity between 1 and 99
119
GEAR 55T X M2.25/55T X M2.25
$220.70
Enter quantity between 1 and 99
120
SHAFT RING
$60.75
Enter quantity between 1 and 99
121
O-RING
$56.45
Enter quantity between 1 and 99
122
BEARING COVER REAR
$92.40
Enter quantity between 1 and 99
123
BEARING COVER SEAL
$7.95
Enter quantity between 1 and 99
124
SET SCREW M6-1 X 8
Price
N/A
125
COUNTERWEIGHT
$19.10
Enter quantity between 1 and 99
126
Now: PR11M
EXT RETAINING RING 25MM
Price
N/A
127
GEAR 38T X M2.75
$207.40
Enter quantity between 1 and 99
128
GEAR 25T X M2.75
$155.25
Enter quantity between 1 and 99
129
KEY 10 X 7 X 20
$4.70
Enter quantity between 1 and 99
130
KEY 8 X 8 X 90
$3.65
Enter quantity between 1 and 99
131
BALL BEARING 6205-OPEN
Price
N/A
132
GEAR 48T X M2.25
$214.20
Enter quantity between 1 and 99
133
Now: PR32M
EXT RETAINING RING 48MM
Price
N/A
134
Now: PK49M
KEY 6 X 6 X 55
Price
N/A
135
GEAR 36T X M2.25
$133.70
Enter quantity between 1 and 99
136
KEY 8 X 8 X 90
Price
N/A
137
GEAR 24T X M2.25
$140.60
Enter quantity between 1 and 99
138
CAP SCREW M16-2 X 55
Price
N/A
139
INDICATOR PLATE
$9.00
Enter quantity between 1 and 99
140
INDICATOR PLATE
$22.35
Enter quantity between 1 and 99
141
RIVET 2 X 5MM NAMEPLATE, ALUMINUM
Price
N/A
142
INDICATOR PLATE
$9.00
Enter quantity between 1 and 99
143
LEVER
$13.70
Enter quantity between 1 and 99
144
FORK
$55.75
Enter quantity between 1 and 99
145
OIL SIGHT GLASS PLASTIC PUSH-IN
Price
N/A
145V2
OIL SIGHT GLASS METAL M27-1.5 V2.04.13
$8.35
Enter quantity between 1 and 99
146
INDICATOR PLATE
$9.00
Enter quantity between 1 and 99
147
POINTER PLATE
$4.70
Enter quantity between 1 and 99
148
GEAR 31T X M2
$31.35
Enter quantity between 1 and 99
149
GEAR 35T X M2
$35.95
Enter quantity between 1 and 99
150
SHAFT V1
$44.60
Enter quantity between 1 and 99
150V2
SHAFT V2.06.23
$57.95
Enter quantity between 1 and 99
151
FORK
$29.15
Enter quantity between 1 and 99
152
E-CLIP 10MM
Price
N/A
153
LEVER
$19.45
Enter quantity between 1 and 99
154
ROLL PIN 5 X 26
Price
N/A
155
SHAFT V1
$22.35
Enter quantity between 1 and 99
155V2
SHAFT V2.06.23
$53.50
Enter quantity between 1 and 99
156
GUIDE PIN
$1.90
Enter quantity between 1 and 99
157
SET SCREW M10-1.5 X 25
Price
N/A
158
O-RING 20 X 2.4MM
Price
N/A
159
LOCK WASHER 8MM
Price
N/A
160
HANDLE HUB DOME SCREW
$13.70
Enter quantity between 1 and 99
161
SET SCREW M8-1.25 X 8
Price
N/A
162
LEVER
$13.70
Enter quantity between 1 and 99
163
SHAFT V1
$19.45
Enter quantity between 1 and 99
163V2
SHAFT V2.06.23
$53.50
Enter quantity between 1 and 99
164
Now: PK10M
KEY 5 X 5 X 12
Price
N/A
165
HANDLE HUB
$93.85
Enter quantity between 1 and 99
166
SPACER PLATE
$25.90
Enter quantity between 1 and 99
167
LEVER
$13.70
Enter quantity between 1 and 99
169
O-RING 20 X 2.4MM
$1.90
Enter quantity between 1 and 99
170
SET SCREW M6-1 X 6
Price
N/A
171
ROLL PIN 5 X 26
Price
N/A
172
GEAR 35T X M2
$18.40
Enter quantity between 1 and 99
173
GEAR 25T X M2
$15.50
Enter quantity between 1 and 99
174
RUBBER MAT
$27.00
Enter quantity between 1 and 99
175
HEADSTOCK COVER V1
$182.95
Enter quantity between 1 and 99
175V2
HEADSTOCK COVER V2.06.23
$276.35
Enter quantity between 1 and 99
176
SHAFT
$40.25
Enter quantity between 1 and 99
177
PLUG
$9.00
Enter quantity between 1 and 99
178
ROLL PIN 5 X 30
Price
N/A
179
FORK
$38.50
Enter quantity between 1 and 99
180
LEVER
$18.00
Enter quantity between 1 and 99
181
HEADSTOCK V1
$4,211.20
Enter quantity between 1 and 99
181V2
HEADSTOCK V2.06.23
$3,119.40
Enter quantity between 1 and 99
182
FORK
$47.15
Enter quantity between 1 and 99
183
E-CLIP 12MM
Price
N/A
184
GEAR 42T X M2
$22.35
Enter quantity between 1 and 99
185
GEAR 18T X M2
$18.00
Enter quantity between 1 and 99
186
$83.10
Enter quantity between 1 and 99
187
SHAFT V1
$19.45
Enter quantity between 1 and 99
187V2
SHAFT V2.06.23
$53.50
Enter quantity between 1 and 99
188
HANDLE LEVER BLOCK
$26.65
Enter quantity between 1 and 99
189
Now: PK10M
KEY 5 X 5 X 12
Price
N/A
190
ROLL PIN 4 X 20
Price
N/A
191
LEVER
$13.70
Enter quantity between 1 and 99
192
Now: PK10M
KEY 5 X 5 X 12
Price
N/A
193
HANDLE HUB
$19.45
Enter quantity between 1 and 99
194
SHAFT V1
$15.50
Enter quantity between 1 and 99
194V2
SHAFT V2.06.23
$57.95
Enter quantity between 1 and 99
195
LEVER
$14.75
Enter quantity between 1 and 99
196
FORK
$33.45
Enter quantity between 1 and 99
197
O-RING 68 X 3.1MM
$1.90
Enter quantity between 1 and 99
198
COVER
$32.40
Enter quantity between 1 and 99
199
TUBE BRASS 4 X 0.75"
$31.35
Enter quantity between 1 and 99
200
CAP SCREW M5-.8 X 25
Price
N/A
201
MANIFOLD
$40.25
Enter quantity between 1 and 99
202
SEAL SLEEVE
$4.70
Enter quantity between 1 and 99
203
FITTING BRASS
$22.35
Enter quantity between 1 and 99
204
TUBE BRASS 8 X 0.75"
$207.40
Enter quantity between 1 and 99
205
GEAR 20T X M2.75
$31.35
Enter quantity between 1 and 99
206
CAP SCREW M6-1 X 12
Price
N/A
207
CAP SCREW M6-1 X 16
Price
N/A
208
FITTING BRASS
$22.35
Enter quantity between 1 and 99
209
SEALING SLEEVE
$4.70
Enter quantity between 1 and 99
210
FITTING BRASS
$33.45
Enter quantity between 1 and 99
211
Now: PW10M
FLAT WASHER 14MM
Price
N/A
212
OIL PUMP
$191.95
Enter quantity between 1 and 99
213
FITTING BRASS
$33.45
Enter quantity between 1 and 99
214
TUBE BRASS 10 X 0.75"
$66.90
Enter quantity between 1 and 99
215
FITTING BRASS
$33.45
Enter quantity between 1 and 99
216
SEAL SLEEVE
$5.35
Enter quantity between 1 and 99
217
LOCK WASHER 18MM
Price
N/A
218
SCREEN
$40.25
Enter quantity between 1 and 99
219
PLUG
$4.70
Enter quantity between 1 and 99
220
TUBE FITTING
$13.70
Enter quantity between 1 and 99
221
LOCK WASHER 16MM
Price
N/A
222
CAP SCREW M16-2 X 45
$1.90
Enter quantity between 1 and 99
223
ANCHOR PIN 16 X 60
$1.90
Enter quantity between 1 and 99
224
CAP SCREW M6-1 X 16
Price
N/A
225
HANDLE HUB
$93.85
Enter quantity between 1 and 99
226
Now: PS22M
PHLP HD SCR M5-.8 X 25
Price
N/A
227
OIL PLUG
$4.70
Enter quantity between 1 and 99
228
STEEL BALL 1/4
Price
N/A
229
COMPRESSION SPRING
$1.90
Enter quantity between 1 and 99
230
CAP SCREW M8-1.25 X 20
Price
N/A
231
FITTING BRASS
$33.45
Enter quantity between 1 and 99
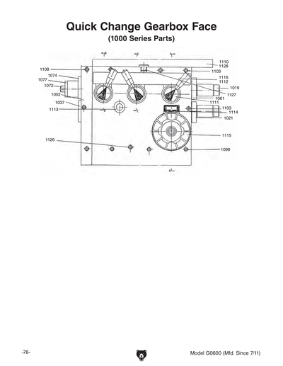
1001
GEAR BOX
$646.20
Enter quantity between 1 and 99
1002
COVER FRONT V1
$245.15
Enter quantity between 1 and 99
1002V2
COVER FRONT V2.06.23
$378.85
Enter quantity between 1 and 99
1003
BEVEL GEAR
$46.40
Enter quantity between 1 and 99
1004
HEX BOLT
$3.65
Enter quantity between 1 and 99
1005
FLAT WASHER
$1.90
Enter quantity between 1 and 99
1006
SHIFTER CLAW
$53.20
Enter quantity between 1 and 99
1007
SHIFTER CLAW
$53.20
Enter quantity between 1 and 99
1008
SHIFTER CLAW
$53.20
Enter quantity between 1 and 99
1009
SHIFTER CLAW
$53.20
Enter quantity between 1 and 99
1010
SHIFTER CLAW
$53.20
Enter quantity between 1 and 99
1011
ROLL PIN 5 X 35
Price
N/A
1012
CAM SHIFTER
$248.70
Enter quantity between 1 and 99
1013
RETAINER
$10.45
Enter quantity between 1 and 99
1014
SET SCREW M8-1.25 X 10
Price
N/A
1015
O-RING 20 X 2.4MM
Price
N/A
1016
H SHAFT
$41.40
Enter quantity between 1 and 99
1017
ROLL PIN 5 X 35
Price
N/A
1018
SET SCREW M6-1 X 20
Price
N/A
1019
RECEIVER HUB
$43.50
Enter quantity between 1 and 99
1020
CAP SCREW M6-1 X 20
Price
N/A
1021
END CAP RIGHT
$32.75
Enter quantity between 1 and 99
1022
OIL SEAL
$9.00
Enter quantity between 1 and 99
1022-1
GASKET
$6.15
Enter quantity between 1 and 99
1023
BALL BEARING 180204
$13.70
Enter quantity between 1 and 99
1024
GEAR 36T X M1.25
$55.75
Enter quantity between 1 and 99
1025
Now: PR11M
EXT RETAINING RING 25MM
Price
N/A
1026
GEAR 22T X 12D.P
$84.85
Enter quantity between 1 and 99
1027
GEAR 22T X M2.25
$47.15
Enter quantity between 1 and 99
1028
GEAR 33T X 14DP
$87.00
Enter quantity between 1 and 99
1029
GEAR 22T X 11D.P
$84.85
Enter quantity between 1 and 99
1030
GEAR 22T X 10D.P
$84.85
Enter quantity between 1 and 99
1031
BALL BEARING 180104
$13.70
Enter quantity between 1 and 99
1032
Now: PR09M
EXT RETAINING RING 20MM
Price
N/A
1033
GEAR 22T X 10D.P
$80.25
Enter quantity between 1 and 99
1034
Now: PK07M
KEY 6 X 6 X 20
Price
N/A
1035
G SHAFT
$242.25
Enter quantity between 1 and 99
1036
BALL BEARING 180103
$13.70
Enter quantity between 1 and 99
1037
COVER
$31.35
Enter quantity between 1 and 99
1038
CAP SCREW M6-1 X 12
Price
N/A
1039
O-RING 36 X 3.5
Price
N/A
1040
E-SHAFT
$64.70
Enter quantity between 1 and 99
1041
GEAR 20T X 10D.P/40T X 14D.P
$104.95
Enter quantity between 1 and 99
1042
BALL BEARING 180203
$13.70
Enter quantity between 1 and 99
1043
D-SHAFT
$53.60
Enter quantity between 1 and 99
1044
KEY 6 X 6 X 146
$4.70
Enter quantity between 1 and 99
1045
GEAR 19T X 10D.P
$80.50
Enter quantity between 1 and 99
1046
GEAR 18T X M2
$80.50
Enter quantity between 1 and 99
1047
GEAR 20T X 10D.P
$84.85
Enter quantity between 1 and 99
1048
GEAR 22T X 11D.P
$84.85
Enter quantity between 1 and 99
1049
GEAR 23T X 11DP
$35.95
Enter quantity between 1 and 99
1050
GEAR 24T X 14DP
$61.85
Enter quantity between 1 and 99
1051
GEAR 27T X 14DP
$87.00
Enter quantity between 1 and 99
1052
GEAR 24T X M2.25
$78.00
Enter quantity between 1 and 99
1053
GEAR 26T X M2.25
$44.60
Enter quantity between 1 and 99
1054
GEAR 36T X M2
$89.15
Enter quantity between 1 and 99
1055
GEAR 27T X 12DP
$87.00
Enter quantity between 1 and 99
1056
GEAR 28T X 12DP
$87.00
Enter quantity between 1 and 99
1057
GEAR 50T X M1.25/20T X M2
$173.95
Enter quantity between 1 and 99
1058
F-SHAFT
$64.00
Enter quantity between 1 and 99
1059
Now: PR07M
EXT RETAINING RING 18MM
Price
N/A
1060
Now: P8104
THRUST BEARING 8104
Price
N/A
1061
END CAP
$27.35
Enter quantity between 1 and 99
1062
STEEL BALL 1/4
Price
N/A
1063
C-SHAFT
$87.00
Enter quantity between 1 and 99
1064
GEAR 35T X M1.25/35T X M2
$173.95
Enter quantity between 1 and 99
1065
$40.25
Enter quantity between 1 and 99
1066
Now: PK48M
KEY 4 X 4 X 20
Price
N/A
1067
BALL BEARING 180105
$15.85
Enter quantity between 1 and 99
1068
A-SHAFT
$160.70
Enter quantity between 1 and 99
1069
GEAR 18T X M2/23T X 11D.P
$140.60
Enter quantity between 1 and 99
1070
GEAR 36T X M2
$89.15
Enter quantity between 1 and 99
1071
GEAR 19T X 10D.P/19T X 14D.P
$82.70
Enter quantity between 1 and 99
1072
B-SHAFT
$58.25
Enter quantity between 1 and 99
1072-1
BUSHINGS 2PC SET
$30.20
Enter quantity between 1 and 99
1073
CLUTCH
$75.90
Enter quantity between 1 and 99
1074
$38.15
Enter quantity between 1 and 99
1075
FORK
$40.25
Enter quantity between 1 and 99
1076
FORK
$40.25
Enter quantity between 1 and 99
1077
SPACER
$11.20
Enter quantity between 1 and 99
1078
ROLL PIN 5 X 30
Price
N/A
1079
BEVEL GEAR
$36.70
Enter quantity between 1 and 99
1080
SPEED CHANGE HUB
$22.35
Enter quantity between 1 and 99
1081
LEVER HUB
$31.35
Enter quantity between 1 and 99
1082
SPACER
$5.45
Enter quantity between 1 and 99
1083
SHAFT SLEEVE
$21.25
Enter quantity between 1 and 99
1084
O-RING 16 X 2.4MM
$1.90
Enter quantity between 1 and 99
1085
SHIFT FORK
$40.25
Enter quantity between 1 and 99
1086
DIAL HUB
$61.85
Enter quantity between 1 and 99
1087
Now: PK19M
KEY 5 X 5 X 14
Price
N/A
1088
$40.25
Enter quantity between 1 and 99
1089
CAP SCREW M8-1.25 X 8
Price
N/A
1090
HAND KNOB
$43.15
Enter quantity between 1 and 99
1091
CAP SCREW M8-1.25 X 35
Price
N/A
1092
CAP SCREW M10-1.5 X 60
Price
N/A
1093
CAP SCREW M6-1 X 16
Price
N/A
1094
KEY 5 X 5 X 28
Price
N/A
1095
CAP SCREW M10-1.5 X 30
Price
N/A
1096
TAPER PIN 10 X 45MM
$1.90
Enter quantity between 1 and 99
1097
HANDLE HUB DOME SCREW
$13.70
Enter quantity between 1 and 99
1098
CAP SCREW M6-1 X 60 BLK C12.9 USA
Price
N/A
1099
DETENT PLATE
$27.70
Enter quantity between 1 and 99
1100
$31.35
Enter quantity between 1 and 99
1101
SHAFT
$31.35
Enter quantity between 1 and 99
1102
FORK
$40.25
Enter quantity between 1 and 99
1103
CAP SCREW M6-1 X 50
Price
N/A
1104
LOCK WASHER 6MM
Price
N/A
1105
COMPRESSION SPRING
$3.25
Enter quantity between 1 and 99
1106
O-RING 16 X 2.4MM
Price
N/A
1107
O-RING 30 X 2.4MM
Price
N/A
1108
CAP SCREW M6-1 X 30
Price
N/A
1110
CAP SCREW M6-1 X 30
Price
N/A
1111
POINTER PLATE
$4.70
Enter quantity between 1 and 99
1112
INDICATOR PLATE
$18.00
Enter quantity between 1 and 99
1112V2
INDICATOR PLATE V2.08.17
$35.95
Enter quantity between 1 and 99
1113
OIL SIGHT GLASS PLASTIC PUSH-IN
$6.15
Enter quantity between 1 and 99
1114
INDICATOR PLATE
$6.90
Enter quantity between 1 and 99
1115
INDICATOR PLATE
$22.35
Enter quantity between 1 and 99
1116
RIVET 2 X 5MM NAMEPLATE, ALUMINUM
Price
N/A
1117
OIL SEAL
$6.90
Enter quantity between 1 and 99
1118
FEMALE KNOB M10-1.5
$13.70
Enter quantity between 1 and 99
1119
SHAFT
$31.35
Enter quantity between 1 and 99
1120
ROLL PIN 5 X 30
Price
N/A
1121
LEVER
$13.70
Enter quantity between 1 and 99
1122
Now: PS09M
PHLP HD SCR M5-.8 X 10
Price
N/A
1123
Now: PS22M
PHLP HD SCR M5-.8 X 25
Price
N/A
1124
SPACER
$6.90
Enter quantity between 1 and 99
1125
ROLL PIN 5 X 16
Price
N/A
1126
OIL PLUG
$6.90
Enter quantity between 1 and 99
1127
OIL PLUG
$9.00
Enter quantity between 1 and 99
1128
COVER TOP
$38.15
Enter quantity between 1 and 99
1129
HANDLE HUB
$13.70
Enter quantity between 1 and 99
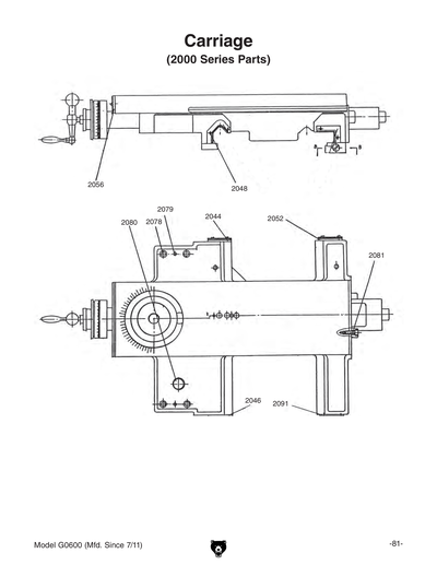
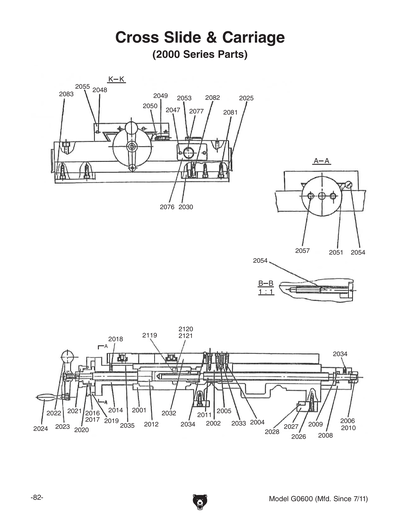
2000
*DISCD*FLANGE NUT M20-2.5
Item is no longer available
Price
N/A
2001
SADDLE
$1,715.70
Enter quantity between 1 and 99
2002
NUT INCH
$75.90
Enter quantity between 1 and 99
2003
GIB SCREW
$6.90
Enter quantity between 1 and 99
2004
CAP SCREW M6-1 X 35
Price
N/A
2005
$49.25
Enter quantity between 1 and 99
2006
CAP SCREW M6-1 X 8
Price
N/A
2007
HANDLE
$23.20
Enter quantity between 1 and 99
2008
BRACKET
$44.60
Enter quantity between 1 and 99
2009
Now: P8101
THRUST BEARING 8101
Price
N/A
2010
HEX NUT
$29.50
Enter quantity between 1 and 99
2011
CROSS FEED SCREW INCH
$164.95
Enter quantity between 1 and 99
2012
CROSS FEED PINION
$115.90
Enter quantity between 1 and 99
2013
CAP SCREW M6-1 X 10
Price
N/A
2014
CROSS FEED DIAL BRACKET
$58.25
Enter quantity between 1 and 99
2015
HANDLE
$17.90
Enter quantity between 1 and 99
2016
SET SCREW M6-1 X 8
Price
N/A
2017
CLUTCH DIAL
$55.75
Enter quantity between 1 and 99
2018
BALL OILER 8MM PRESS-IN
Price
N/A
2019
CROSS FEED DIAL
$40.25
Enter quantity between 1 and 99
2020
WAVY WASHER
$11.90
Enter quantity between 1 and 99
2021
BARREL NUT
$15.85
Enter quantity between 1 and 99
2022
CRANK HANDLE
$29.15
Enter quantity between 1 and 99
2023
CAP SCREW M8-1.25 X 16
Price
N/A
2024
HANDLE
$18.00
Enter quantity between 1 and 99
2025
GIB LEFT FRONT
$16.20
Enter quantity between 1 and 99
2026
CAP SCREW M8-1.25 X 30
Price
N/A
2027
GIB CRADLE
$99.60
Enter quantity between 1 and 99
2028
$49.25
Enter quantity between 1 and 99
2029
CAP SCREW M10-1.5 X 55
Price
N/A
2030
CARRIAGE CLAMP
$22.35
Enter quantity between 1 and 99
2031
KNURLED WASHER
$4.70
Enter quantity between 1 and 99
2032
CROSS SLIDE COVER
$806.85
Enter quantity between 1 and 99
2033
CAP SCREW M8-1.25 X 30
Price
N/A
2034
BALL OILER 6MM PRESS-IN
Price
N/A
2035
HEX NUT
$4.50
Enter quantity between 1 and 99
2037
CAP SCREW M10-1.5 X 40
Price
N/A
2038
COMPOUND REST
$209.60
Enter quantity between 1 and 99
2039
QUICK CHANGE TOOL POST & HANDLE
$534.75
Enter quantity between 1 and 99
2040
CARRIAGE BOLT M12-1.75 X 50
$4.70
Enter quantity between 1 and 99
2041
QUICK CHANGE TOOL POST & HANDLE
Price
N/A
2042
QUICK CHANGE TOOL POST & HANDLE
Price
N/A
2043
QUICK CHANGE TOOL POST & HANDLE
Price
N/A
2044
LEFT FRONT CARRIAGE WAY WIPER
$8.95
Enter quantity between 1 and 99
2045
RIGHT FRONT CARRIAGE WAY WIPER
Price
N/A
2046
RIGHT FRONT CARRIAGE WAY WIPER
$8.95
Enter quantity between 1 and 99
2047
Now: PS08M
PHLP HD SCR M5-.8 X 12
Price
N/A
2048
Now: PS02M
PHLP HD SCR M4-.7 X 12
Price
N/A
2049
CAP SCREW M8-1.25 X 10
Price
N/A
2050
STEEL BALL 1/4
Price
N/A
2051
$77.35
Enter quantity between 1 and 99
2052
LEFT REAR CARRIAGE WAY WIPER
$20.90
Enter quantity between 1 and 99
2053
CARRIAGE CLAMP
$22.35
Enter quantity between 1 and 99
2054
GIB SCREW
$6.90
Enter quantity between 1 and 99
2055
RUBBER WIPER
$20.90
Enter quantity between 1 and 99
2056
WIPER
$20.90
Enter quantity between 1 and 99
2057
SET SCREW M8-1.25 X 70
$1.90
Enter quantity between 1 and 99
2058
SPANNER NUT
$9.00
Enter quantity between 1 and 99
2059
Now: P8102
THRUST BEARING 8102
Price
N/A
2060
SET SCREW M6-1 X 10
Price
N/A
2061
BARREL NUT
$6.90
Enter quantity between 1 and 99
2062
WAVY WASHER 36MM
$3.65
Enter quantity between 1 and 99
2063
DIAL COMPOUND REST INCH
$44.60
Enter quantity between 1 and 99
2064
CLUTCH DIAL
$40.25
Enter quantity between 1 and 99
2065
DIAL HOUSING
$40.25
Enter quantity between 1 and 99
2066
HALF NUT INCH
$53.60
Enter quantity between 1 and 99
2067
LEADSCREW
$82.70
Enter quantity between 1 and 99
2068
TOOL POST SHAFT
$31.35
Enter quantity between 1 and 99
2069
$58.25
Enter quantity between 1 and 99
2070
GUIDE PIN
$4.70
Enter quantity between 1 and 99
2071
SLEEVE
$13.70
Enter quantity between 1 and 99
2072
COMPRESSION SPRING
$3.65
Enter quantity between 1 and 99
2073
CAP SCREW M6-1 X 20
Price
N/A
2074
SET SCREW M5-.8 X 8
Price
N/A
2075
CAP SCREW M6-1 X 6
Price
N/A
2076
END PLATE
$14.10
Enter quantity between 1 and 99
2077
HANDLE
$17.90
Enter quantity between 1 and 99
2078
CAP SCREW M10-1.5 X 60
Price
N/A
2079
TAPER PIN 8 X 60
$1.90
Enter quantity between 1 and 99
2080
OIL PLUG
$5.45
Enter quantity between 1 and 99
2081
CAP SCREW M8-1.25 X 20
Price
N/A
2082
CAP SCREW M6-1 X 20
Price
N/A
2083
GIB FRONT
$40.25
Enter quantity between 1 and 99
2084
Now: PS02M
PHLP HD SCR M4-.7 X 12
Price
N/A
2085
METAL BACKING PLATE
$20.90
Enter quantity between 1 and 99
2086
RUBBER WIPER
$20.90
Enter quantity between 1 and 99
2087
TOOL HOLDER 500 SERIES
$116.15
Enter quantity between 1 and 99
2088
Now: PN09M
HEX NUT M12-1.75
Price
N/A
2089
CAP SCREW M8-1.25 X 40
Price
N/A
2090
RIGHT REAR CARRIAGE WAY WIPER
Price
N/A
2091
RIGHT REAR CARRIAGE WAY WIPER
$8.95
Enter quantity between 1 and 99
2092
STUD- SE M16-2 X 76 24
$3.65
Enter quantity between 1 and 99
2093
PISTON FOOT
$22.35
Enter quantity between 1 and 99
2094
CAP SCREW M16-2 X 12
$1.90
Enter quantity between 1 and 99
2095
FLAT HD SCR M5-.8 X 10
Price
N/A
2096
COMPRESSION SPRING
$12.25
Enter quantity between 1 and 99
2097
BOTTOM PLATE
$13.70
Enter quantity between 1 and 99
2098
TUBE FITTING
$13.70
Enter quantity between 1 and 99
2099
TUBE NUT
$4.70
Enter quantity between 1 and 99
2100
SLEEVE
$13.70
Enter quantity between 1 and 99
2101
CHECK VALVE
$22.35
Enter quantity between 1 and 99
2102
TUBE BRASS 6 X 170MM
$18.00
Enter quantity between 1 and 99
2103
TUBE FITTING
$11.20
Enter quantity between 1 and 99
2104
STEEL BALL 5MM
Price
N/A
2105
COMPRESSION SPRING
$1.90
Enter quantity between 1 and 99
2106
END PLUG
$11.20
Enter quantity between 1 and 99
2107
O-RING 16 X 2.4MM
Price
N/A
2108
PUMP BODY
$53.60
Enter quantity between 1 and 99
2109
*DISCD* O-RING 9 X 1.8
Price
N/A
2110
PISTON ROD
$51.45
Enter quantity between 1 and 99
2111
O-RING 32 X 3.1MM
$1.49
Enter quantity between 1 and 99
2112
TUBE FITTING
$26.75
Enter quantity between 1 and 99
2113
TUBE BRASS 4 X 200MM
$44.60
Enter quantity between 1 and 99
2114
TUBE BRASS 4 X 170MM
$17.25
Enter quantity between 1 and 99
2115
MANIFOLD
$22.35
Enter quantity between 1 and 99
2116
SLEEVE & FITTING
$44.60
Enter quantity between 1 and 99
2117
TUBE BRASS 4 X 390MM
$31.35
Enter quantity between 1 and 99
2118
TUBE BRASS 4 X 410MM
$35.95
Enter quantity between 1 and 99
2119
Now: PR58M
EXT RETAINING RING 24MM
Price
N/A
2120
GEAR 19T X M2
$15.85
Enter quantity between 1 and 99
2121
Now: PK70M
KEY 8 X 8 X 12
Price
N/A
2122
FEMALE KNOB M12-1.75
$9.00
Enter quantity between 1 and 99
2123
WAVY WASHER
$3.65
Enter quantity between 1 and 99
2124
COMPOUND ANGLE SCALE
$13.40
Enter quantity between 1 and 99
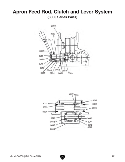
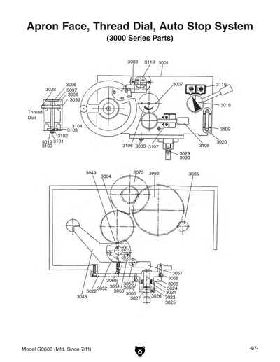
3001
APRON CASE
$913.60
Enter quantity between 1 and 99
3002
$22.35
Enter quantity between 1 and 99
3003
CAP SCREW M6-1 X 12
Price
N/A
3004
LEAD NUT ASSY INCH
$75.90
Enter quantity between 1 and 99
3005
HALF NUT INCH
$156.00
Enter quantity between 1 and 99
3006
CAP SCREW M6-1 X 16
Price
N/A
3007
RIVET 2 X 5MM NAMEPLATE, ALUMINUM
Price
N/A
3008
OIL PLUG
$6.90
Enter quantity between 1 and 99
3009
$1.90
Enter quantity between 1 and 99
3010
SHAFT
$45.70
Enter quantity between 1 and 99
3011
O-RING 32 X 3.1MM
Price
N/A
3012
SET SCREW M8-1.25 X 10
Price
N/A
3013
SHAFT SLEEVE
$31.35
Enter quantity between 1 and 99
3014
STEEL BALL 1/4
Price
N/A
3015
COMPRESSION SPRING
$2.60
Enter quantity between 1 and 99
3016
CAP SCREW M8-1.25 X 10
Price
N/A
3017
LEVER
$22.35
Enter quantity between 1 and 99
3018
POINTER PLATE
$4.70
Enter quantity between 1 and 99
3019
ROLL PIN 5 X 10
Price
N/A
3020
OIL SIGHT
$31.35
Enter quantity between 1 and 99
3021
GUIDE PIN
$7.95
Enter quantity between 1 and 99
3022
BOTTOM COVER
$60.40
Enter quantity between 1 and 99
3023
OIL SEAL
$9.00
Enter quantity between 1 and 99
3024
BRACKET
$13.70
Enter quantity between 1 and 99
3025
DOWEL PIN 8 X 40MM
$1.90
Enter quantity between 1 and 99
3026
CAP SCREW M6-1 X 6
Price
N/A
3027
LEVER
$43.15
Enter quantity between 1 and 99
3028
SPACER
$5.45
Enter quantity between 1 and 99
3029
SET SCREW M8-1.25 X 30
Price
N/A
3030
Now: PN03M
HEX NUT M8-1.25
Price
N/A
3031
LEVER HUB
$40.25
Enter quantity between 1 and 99
3032
CHANGE SLEEVE
$60.75
Enter quantity between 1 and 99
3033
Now: PS09M
PHLP HD SCR M5-.8 X 10
Price
N/A
3034
OIL SEAL
$4.70
Enter quantity between 1 and 99
3035
BUSHING
$29.15
Enter quantity between 1 and 99
3036
FEED ROD SLEEVE
$102.85
Enter quantity between 1 and 99
3037
PLUG
$6.15
Enter quantity between 1 and 99
3038
Now: PK81M
KEY 6 X 6 X 12
Price
N/A
3039
GEAR 24T X M2
$47.15
Enter quantity between 1 and 99
3040
WORM SEAT
$79.45
Enter quantity between 1 and 99
3041
SHAFT
$18.00
Enter quantity between 1 and 99
3042
Now: P8104
THRUST BEARING 8104
Price
N/A
3043
WORM GEAR
$138.40
Enter quantity between 1 and 99
3044
FLAT WASHER 50MM
Price
N/A
3045
SPANNER NUT M20-1.5
$1.90
Enter quantity between 1 and 99
3046
CAP SCREW M6-1 X 20
Price
N/A
3047
STEEL BALL 7/32"
$1.90
Enter quantity between 1 and 99
3048
BLOCK
$31.35
Enter quantity between 1 and 99
3049
FLAT WASHER 20MM
$7.95
Enter quantity between 1 and 99
3050
DOWEL PIN 8 X 25MM
$1.90
Enter quantity between 1 and 99
3051
SHAFT
$27.00
Enter quantity between 1 and 99
3052
BUFFER
$22.35
Enter quantity between 1 and 99
3053
O-RING 20 X 2.4MM
Price
N/A
3054
SLEEVE
$31.35
Enter quantity between 1 and 99
3055
LEVER HUB
$34.50
Enter quantity between 1 and 99
3056
Now: PR01M
EXT RETAINING RING 10MM
Price
N/A
3057
LEVER SHAFT
$21.60
Enter quantity between 1 and 99
3058
CAP SCREW M8-1.25 X 12
Price
N/A
3059
LEVER SCREW
$6.90
Enter quantity between 1 and 99
3060
Now: PS05M
PHLP HD SCR M5-.8 X 8
Price
N/A
3061
COMPRESSION SPRING
$3.65
Enter quantity between 1 and 99
3062
COVER
$22.35
Enter quantity between 1 and 99
3063
BALL BEARING 180105
Price
N/A
3064
WORM GEAR
$303.35
Enter quantity between 1 and 99
3065
GEAR 36T X M2
$58.25
Enter quantity between 1 and 99
3066
Now: PK70M
KEY 8 X 8 X 12
Price
N/A
3067
SHAFT
$22.35
Enter quantity between 1 and 99
3068
GUIDE PIN
$4.70
Enter quantity between 1 and 99
3069
SLEEVE
$9.00
Enter quantity between 1 and 99
3070
HANDLE LEVER
$22.35
Enter quantity between 1 and 99
3071
SET SCREW M10-1.5 X 30
Price
N/A
3072
BALL BEARING 6204-OPEN
Price
N/A
3073
COVER
$16.60
Enter quantity between 1 and 99
3074
Now: PR09M
EXT RETAINING RING 20MM
Price
N/A
3075
GEAR 46T X M2/18T X M2
$69.75
Enter quantity between 1 and 99
3076
SHAFT
$47.15
Enter quantity between 1 and 99
3077
PINION
$53.60
Enter quantity between 1 and 99
3078
Now: PK07M
KEY 6 X 6 X 20
Price
N/A
3079
CAP SCREW M8-1.25 X 12
Price
N/A
3080
SPACER
$5.45
Enter quantity between 1 and 99
3081
***USE PCAP199M***
Price
N/A
3082
GEAR 61T X M2
$77.65
Enter quantity between 1 and 99
3083
BALL BEARING 103
$13.70
Enter quantity between 1 and 99
3084
COVER
$12.25
Enter quantity between 1 and 99
3085
SHAFT
$27.00
Enter quantity between 1 and 99
3086
Now: PK45M
KEY 6 X 6 X 24
Price
N/A
3087
SEAT
$60.40
Enter quantity between 1 and 99
3088
CAP SCREW M6-1 X 25
Price
N/A
3089
NEEDLE BEARING 4644903
$18.00
Enter quantity between 1 and 99
3090
BEARING 2010
$6.90
Enter quantity between 1 and 99
3091
DIAL RACK
$60.40
Enter quantity between 1 and 99
3092
HAND WHEEL
$75.85
Enter quantity between 1 and 99
3093
HANDLE
$13.70
Enter quantity between 1 and 99
3094
FLAT WASHER
$1.90
Enter quantity between 1 and 99
3095
HANDWHEEL SCREW M8-1.25 X 20 STEEL
$3.65
Enter quantity between 1 and 99
3096
DIAL FACE
$9.00
Enter quantity between 1 and 99
3097
DIAL INDICATOR SHAFT
$42.45
Enter quantity between 1 and 99
3098
THREAD DIAL BODY
$42.10
Enter quantity between 1 and 99
3099
CAP SCREW M8-1.25 X 85
Price
N/A
3100
LOCK WASHER 10MM
Price
N/A
3101
Now: PN02M
HEX NUT M10-1.5
Price
N/A
3102
DOWEL PIN 3 X 8MM
$1.90
Enter quantity between 1 and 99
3103
GEAR 16T X M2
$46.35
Enter quantity between 1 and 99
3104
SPACER
$6.15
Enter quantity between 1 and 99
3105
CAP SCREW M5-.8 X 25
Price
N/A
3106
INDICATOR PLATE
$6.90
Enter quantity between 1 and 99
3107
INDICATOR PLATE
$6.90
Enter quantity between 1 and 99
3108
FEMALE KNOB M10-1.5
$13.70
Enter quantity between 1 and 99
3109
Now: PS38M
PHLP HD SCR M4-.7 X 10
Price
N/A
3110
INDICATOR PLATE
$6.90
Enter quantity between 1 and 99
3111
SPACER
$4.70
Enter quantity between 1 and 99
3112
FLAT SPRING
$2.60
Enter quantity between 1 and 99
3113
COMPRESSION SPRING
$9.00
Enter quantity between 1 and 99
3114
Now: PN01M
HEX NUT M6-1
Price
N/A
3115
SET SCREW M6-1 X 20
Price
N/A
3116
BALL OILER 6MM PRESS-IN
Price
N/A
3117
Now: PS52M
PHLP HD SCR M4-.7 X 20
Price
N/A
3118
Now: PW13M
FLAT WASHER 20MM
Price
N/A
3119
INDICATOR PLATE
$6.90
Enter quantity between 1 and 99
4001
QUILL V1
$281.10
Enter quantity between 1 and 99
4001V2
QUILL V2.07.11
$281.10
Enter quantity between 1 and 99
4002
TAILSTOCK BODY V1
$717.70
Enter quantity between 1 and 99
4002V2
TAILSTOCK BODY V2.07.11
$717.70
Enter quantity between 1 and 99
4003
OIL SEAL
$4.70
Enter quantity between 1 and 99
4004
BALL OILER 10MM PRESS-IN
Price
N/A
4005
TAILSTOCK LEADSCREW
$66.90
Enter quantity between 1 and 99
4006
CAP SCREW M6-1 X 12
Price
N/A
4007
TAILSTOCK LEADSCREW NUT
$40.25
Enter quantity between 1 and 99
4008
THRUST BEARING 51104
Price
N/A
4009
CAP SCREW M6-1 X 35
Price
N/A
4010
END CAP
$44.60
Enter quantity between 1 and 99
4011
DIAL FEED INCH
$40.25
Enter quantity between 1 and 99
4012
KEY 6 X 6 X 16
Price
N/A
4013
HANDLE
$17.90
Enter quantity between 1 and 99
4014
Now: PS22M
PHLP HD SCR M5-.8 X 25
Price
N/A
4015
HANDWHEEL FLAT WASHER
$1.90
Enter quantity between 1 and 99
4016
HANDWHEEL
$53.60
Enter quantity between 1 and 99
4017
Now: PN28M
HEX NUT M20-2.5
Price
N/A
4018
LOCK WASHER 20MM
Price
N/A
4019
STRAIGHT WIPER PLATE
$4.70
Enter quantity between 1 and 99
4020
STRAIGHT WAY WIPER RUBBER
$8.95
Enter quantity between 1 and 99
4021
Now: PS02M
PHLP HD SCR M4-.7 X 12
Price
N/A
4022
SET SCREW M6-1 X 10
Price
N/A
4023
PIN SHAFT
$4.70
Enter quantity between 1 and 99
4024
HEX BOLT M12-1.75 X 90
Price
N/A
4025
TAILSTOCK BASE
$196.25
Enter quantity between 1 and 99
4026
LOCK WASHER 12MM
Price
N/A
4027
BOLT CLAMP
$22.35
Enter quantity between 1 and 99
4028
SLEEVE
$27.00
Enter quantity between 1 and 99
4029
ADJUSTMENT BLOCK
$22.35
Enter quantity between 1 and 99
4030
GIB SCREW
$4.70
Enter quantity between 1 and 99
4031
$22.35
Enter quantity between 1 and 99
4032
CLAMP BLOCK
$22.35
Enter quantity between 1 and 99
4033
SHAFT
$31.35
Enter quantity between 1 and 99
4035
LEVER
$13.70
Enter quantity between 1 and 99
4037
LEVER
$22.35
Enter quantity between 1 and 99
4038
SHAFT
$31.35
Enter quantity between 1 and 99
4039
RETAINER PIN M16-2 X 20
$1.90
Enter quantity between 1 and 99
4040
SET SCREW M5-.8 X 25
Price
N/A
4041
SHAFT
$27.00
Enter quantity between 1 and 99
4042
CLAMP SHOE
$31.35
Enter quantity between 1 and 99
4043
LOCK WASHER 20MM
Price
N/A
4044
T-BOLT M20-2.5 X 175
$6.90
Enter quantity between 1 and 99
4045
HEX BOLT M20-2.5 X 100
Price
N/A
4046
ROLL PIN 6 X 36
Price
N/A
4047
BALL OILER 6MM PRESS-IN
Price
N/A
4048
SET SCREW M5-.8 X 25
Price
N/A
4049
LOWER OFFSET PLATE
$2.60
Enter quantity between 1 and 99
4050
RIVET 2 X 5MM NAMEPLATE, STEEL
Price
N/A
4051
UPPER OFFSET PLATE
$2.60
Enter quantity between 1 and 99
4052
V-WAY WIPER RUBBER
$8.95
Enter quantity between 1 and 99
4053
V-WAY WIPER PLATE
$4.70
Enter quantity between 1 and 99
4054
CAP SCREW M10-1.5 X 12
Price
N/A
4055
SET SCREW M10-1.5 X 8
Price
N/A
4056
QUILL LOCK CLAMP
$69.40
Enter quantity between 1 and 99
4057
LOCK LEVER ASSEMBLY
$29.15
Enter quantity between 1 and 99
4058
LOCK LEVER FLAT WASHER 8MM
$1.90
Enter quantity between 1 and 99
4059
CAP SCREW M8-1.25 X 30
Price
N/A
4060
STUD-FT M8-1.25 X 100
$4.70
Enter quantity between 1 and 99
4061
CAP SCREW M6-1 X 10
Price
N/A
4062
Now: PW03M
FLAT WASHER 6MM
Price
N/A
4063
INDICATOR PLATE
$2.60
Enter quantity between 1 and 99
5001
SWITCH SEAT
$73.35
Enter quantity between 1 and 99
5002
LEADSCREW INCH
$575.00
Enter quantity between 1 and 99
5003
COMPLETE RACK ASSY 3PC
$182.95
Enter quantity between 1 and 99
5003-1
RACK SMALL LEFT
$89.15
Enter quantity between 1 and 99
5003-2
RACK LONG CENTER
$164.95
Enter quantity between 1 and 99
5003-3
RACK LONG RIGHT
$164.95
Enter quantity between 1 and 99
5004
ROLL PIN 5 X 30
Price
N/A
5005
CAP SCREW M6-1 X 25
Price
N/A
5006
$6,818.10
Enter quantity between 1 and 99
5007
TAPER PIN 10 X 45MM
Price
N/A
5008
CAP SCREW M10-1.5 X 40
Price
N/A
5009
HOUSING
$120.45
Enter quantity between 1 and 99
5010
BARREL NUT
$6.90
Enter quantity between 1 and 99
5011
Now: P8105
THRUST BEARING 8105
Price
N/A
5012
PLUG
$3.65
Enter quantity between 1 and 99
5013
BUSHING
$13.70
Enter quantity between 1 and 99
5014
PLUG
$3.65
Enter quantity between 1 and 99
5015
BUSHING
$9.00
Enter quantity between 1 and 99
5016
BRACKET
$40.25
Enter quantity between 1 and 99
5017
Now: PN02M
HEX NUT M10-1.5
Price
N/A
5018
COMPRESSION SPRING
$1.90
Enter quantity between 1 and 99
5019
STEEL BALL 6MM
Price
N/A
5020
STAR DIAL
$22.35
Enter quantity between 1 and 99
5021
CAP SCREW M6-1 X 8
Price
N/A
5022
$22.35
Enter quantity between 1 and 99
5023
FEED ROD
$165.00
Enter quantity between 1 and 99
5024
START ROD
$200.60
Enter quantity between 1 and 99
5025
STAR DIAL
$16.60
Enter quantity between 1 and 99
5026
BRACKET
$40.25
Enter quantity between 1 and 99
5027
LIMIT SWITCH
$53.60
Enter quantity between 1 and 99
5028
Now: PS65M
PHLP HD SCR M4-.7 X 40
Price
N/A
5029
LIGHT SEAT
$22.35
Enter quantity between 1 and 99
5030
CAP SCREW M8-1.25 X 25
Price
N/A
5031
SPACER
$22.35
Enter quantity between 1 and 99
5032
CLAMP SHOE
$22.35
Enter quantity between 1 and 99
5033
CAP SCREW M8-1.25 X 6
Price
N/A
5034
AUTO STOP ROD
$432.40
Enter quantity between 1 and 99
5035
V-BELT B76
$44.60
Enter quantity between 1 and 99
5036
CONDUIT
$31.35
Enter quantity between 1 and 99
5037
Now: PS03M
PHLP HD SCR M6-1 X 8
Price
N/A
5038
LOCK WASHER 16MM
Price
N/A
5039
Now: PB80M
HEX BOLT M16-2 X 55
Price
N/A
5040
MOTOR COVER
$44.60
Enter quantity between 1 and 99
5041
MOTOR 10HP 220V 3-PH
$1,331.50
Enter quantity between 1 and 99
5042
PULLEY WASHER 8MM
$6.90
Enter quantity between 1 and 99
5043
CAP SCREW
$9.00
Enter quantity between 1 and 99
5044
Now: PN13M
HEX NUT M16-2
Price
N/A
5045
Now: PW08M
FLAT WASHER 16MM
Price
N/A
5046
LOCK WASHER 10MM
Price
N/A
5047
Now: PB14M
HEX BOLT M10-1.5 X 35
Price
N/A
5048
MOTOR SEAT
$151.70
Enter quantity between 1 and 99
5049
SHAFT
$7.95
Enter quantity between 1 and 99
5050
TENSION SPRING
$1.90
Enter quantity between 1 and 99
5051
SHAFT
$14.75
Enter quantity between 1 and 99
5052
BRAKE LEVER
$38.85
Enter quantity between 1 and 99
5053
$27.00
Enter quantity between 1 and 99
5054
SHAFT
$56.45
Enter quantity between 1 and 99
5055
MOTOR SEAT BRACKET
$133.70
Enter quantity between 1 and 99
5056
LIMIT SWITCH
$44.60
Enter quantity between 1 and 99
5057
LEVELING BLOCK
$31.35
Enter quantity between 1 and 99
5058
BLOCK LEVELING NUT M24-2
$2.60
Enter quantity between 1 and 99
5059
BASE HEAD STUD
$4.70
Enter quantity between 1 and 99
5060
Now: PS52M
PHLP HD SCR M4-.7 X 20
Price
N/A
5061
Now: PN04M
HEX NUT M4-.7
Price
N/A
5062
LIMIT SWITCH SEAT
$23.00
Enter quantity between 1 and 99
5063
Now: PS09M
PHLP HD SCR M5-.8 X 10
Price
N/A
5064
Now: PW04M
FLAT WASHER 10MM
Price
N/A
5065
BRAKE BAND ASSY
$87.00
Enter quantity between 1 and 99
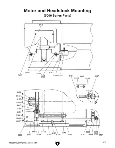
5066
PULLEY
$209.60
Enter quantity between 1 and 99
5067
STAND V1
$7,063.20
Enter quantity between 1 and 99
5067V2
STAND V2.06.23
$6,105.10
Enter quantity between 1 and 99
5068
MOTOR COVER
$49.25
Enter quantity between 1 and 99
5069
LIMIT SWITCH
$49.10
Enter quantity between 1 and 99
5070
Now: PS05M
PHLP HD SCR M5-.8 X 8
Price
N/A
5071
LIMIT SWITCH SEAT
$18.00
Enter quantity between 1 and 99
5072
STUD- SE M8-1.5 X 105 24
$11.20
Enter quantity between 1 and 99
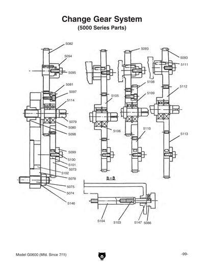
5073
GEAR 56T X 2.25
$53.60
Enter quantity between 1 and 99
5074
Now: PN13M
HEX NUT M16-2
Price
N/A
5075
STUD- UDE M12-1.75 X 80 22 16
$12.25
Enter quantity between 1 and 99
5076
PUMP MOTOR
$142.35
Enter quantity between 1 and 99
5077
COVER TOP
$75.90
Enter quantity between 1 and 99
5078
SWING BRACKET
$100.35
Enter quantity between 1 and 99
5079
STUD- SE M20-2.5 X 105 30
$40.25
Enter quantity between 1 and 99
5080
BALL BEARING 16204
$13.70
Enter quantity between 1 and 99
5081
GEAR 49T X 2.25
$49.25
Enter quantity between 1 and 99
5082
GEAR 55T X 2.25
$51.45
Enter quantity between 1 and 99
5083
BRACKET
$58.25
Enter quantity between 1 and 99
5084
$42.45
Enter quantity between 1 and 99
5085
BRAKE PEDAL
$66.90
Enter quantity between 1 and 99
5086
THUMB KNOB
$6.90
Enter quantity between 1 and 99
5087
SAFETY DOOR V1
$387.85
Enter quantity between 1 and 99
5087V2
SAFETY DOOR V2.06.23
$601.65
Enter quantity between 1 and 99
5088
GUARD ASSEMBLY
$378.85
Enter quantity between 1 and 99
5089
COVER
$31.35
Enter quantity between 1 and 99
5090
OIL GUARD
$40.25
Enter quantity between 1 and 99
5091
HINGE
$22.35
Enter quantity between 1 and 99
5093
GEAR 48T X 2.25
$49.25
Enter quantity between 1 and 99
5094
SPACER
$13.70
Enter quantity between 1 and 99
5095
CAP SCREW M8-1.25 X 20
Price
N/A
5097
CAP SCREW M6-1 X 10
Price
N/A
5098
SPACER
$9.75
Enter quantity between 1 and 99
5099
SPACER
$4.70
Enter quantity between 1 and 99
5100
Now: PK95M
KEY 6 X 6 X 10
Price
N/A
5101
SHAFT
$31.35
Enter quantity between 1 and 99
5102
SPACER
$6.90
Enter quantity between 1 and 99
5103
PLATE SCREW
$6.90
Enter quantity between 1 and 99
5104
PLATE SCREW
$9.00
Enter quantity between 1 and 99
5105
GEAR 57T X 2.25
$82.70
Enter quantity between 1 and 99
5106
*DISCD*EXT RETAINING RING 47MM
Price
N/A
5108
GEAR 66T X 2.25
$53.60
Enter quantity between 1 and 99
5109
GEAR 57T X 2.25
$82.70
Enter quantity between 1 and 99
5110
GEAR 42T X 2.25
$66.90
Enter quantity between 1 and 99
5111
SPACER
$13.70
Enter quantity between 1 and 99
5112
GEAR 57T X 2.25
$116.15
Enter quantity between 1 and 99
5113
GEAR 57T X 2.25
$82.70
Enter quantity between 1 and 99
5114
Now: PR09M
EXT RETAINING RING 20MM
Price
N/A
5115
STUD- SE M6-1 X 70 24
$3.65
Enter quantity between 1 and 99
5116
THREADING PLATE
$13.70
Enter quantity between 1 and 99
5117
Now: PS05M
PHLP HD SCR M5-.8 X 8
Price
N/A
5118
BED GAP
$557.10
Enter quantity between 1 and 99
5119
CAP SCREW M12-1.75 X 50
Price
N/A
5120
BOLT PIN 10 X 75MM
$1.90
Enter quantity between 1 and 99
5121
Now: PN02M
HEX NUT M10-1.5
Price
N/A
5122
CAP SCREW M10-1.5 X 40
Price
N/A
5123
CAP SCREW M6-1 X 16
Price
N/A
5124
BRACKET
$49.95
Enter quantity between 1 and 99
5125
BRACKET
$33.90
Enter quantity between 1 and 99
5126
SET SCREW M8-1.25 X 30
Price
N/A
5127
Now: PN03M
HEX NUT M8-1.25
Price
N/A
5128
FEMALE KNOB M8-1.25
$5.35
Enter quantity between 1 and 99
5129
BUSHING
$9.00
Enter quantity between 1 and 99
5130
OIL PLUG
$4.70
Enter quantity between 1 and 99
5131
Now: PS05M
PHLP HD SCR M5-.8 X 8
Price
N/A
5132
COVER
$4.70
Enter quantity between 1 and 99
5133
SET SCREW M6-1 X 8
Price
N/A
5134
CAP SCREW M6-1 X 8
Price
N/A
5135
CAP SCREW M6-1 X 35
Price
N/A
5136
LEVER
$23.20
Enter quantity between 1 and 99
5137
GUIDE PIN
$1.80
Enter quantity between 1 and 99
5138
LOCK WASHER 6MM
Price
N/A
5139
COMPRESSION SPRING
$1.80
Enter quantity between 1 and 99
5140
BUSHING
$10.70
Enter quantity between 1 and 99
5141
CAP SCREW M8-1.25 X 20
Price
N/A
5142
CAP SCREW M16-2 X 55
Price
N/A
5143
LOCK WASHER 16MM
Price
N/A
5144
WARNING PLATE
$35.95
Enter quantity between 1 and 99
5145
THREADING CHART PLATE
$40.25
Enter quantity between 1 and 99
5146
LOCK WASHER 16MM
Price
N/A
5147
SET SCREW M6-1 X 8
Price
N/A
5148
CAP SCREW M6-1 X 12
Price
N/A
5149
Now: PS09M
PHLP HD SCR M5-.8 X 10
Price
N/A
5150
CAP SCREW M6-1 X 16
Price
N/A
5151
CAP SCREW M8-1.25 X 20
Price
N/A
5152
Now: PN02M
HEX NUT M10-1.5
Price
N/A
5153
CAP SCREW M10-1.5 X 25
Price
N/A
5154
CAP SCREW M6-1 X 16
Price
N/A
5155
SHAFT
$15.85
Enter quantity between 1 and 99
5156
LOCK WASHER 10MM
Price
N/A
5157
CAP SCREW M10-1.5 X 40
Price
N/A
5158
Now: PS03M
PHLP HD SCR M6-1 X 8
Price
N/A
5159
ROLL PIN 5 X 40
Price
N/A
5160
CAP SCREW M6-1 X 12
Price
N/A
5161
LOCK WASHER 10MM
Price
N/A
5162
CAP SCREW M8-1.25 X 30
Price
N/A
5163
ROLL PIN 3 X 20
Price
N/A
5164
Now: PN03M
HEX NUT M8-1.25
Price
N/A
5165
LOCK WASHER 8MM
Price
N/A
5166
CAP SCREW M8-1.25 X 30
Price
N/A
5167
SCREEN
$34.50
Enter quantity between 1 and 99
5168
COOLANT PUMP BASE
$31.35
Enter quantity between 1 and 99
5169
$31.35
Enter quantity between 1 and 99
5170
CAP SCREW M6-1 X 12
Price
N/A
5171
BLOCK
$44.60
Enter quantity between 1 and 99
5172
CAP SCREW M6-1 X 25
Price
N/A
5173
BLOCK
$18.00
Enter quantity between 1 and 99
5174
STAR TYPE RING
$16.60
Enter quantity between 1 and 99
5175
PUMP COVER
$35.95
Enter quantity between 1 and 99
5176
CHUCK 3-JAW
$1,537.45
Enter quantity between 1 and 99
5178
CONTROL PANEL (COVER)
$13.70
Enter quantity between 1 and 99
5179
PANEL FRAME (SEAT-PILOT LIGHT)
$33.45
Enter quantity between 1 and 99
6001
CLAMPING BRACKET
$40.25
Enter quantity between 1 and 99
6001A
COMPLETE STEADY REST
$837.85
Enter quantity between 1 and 99
6002
HEX BOLT M20-2.5 X 110
$9.00
Enter quantity between 1 and 99
6003
STEADY REST BASE NUT M20-1.5
$2.90
Enter quantity between 1 and 99
6004
LOCK WASHER 20MM
Price
N/A
6005
STEADY REST BASE
$178.25
Enter quantity between 1 and 99
6006
LIMIT SCREW
$3.65
Enter quantity between 1 and 99
6007
DOWEL PIN 10 X 60MM
$3.65
Enter quantity between 1 and 99
6008
BALL BEARING 180300
$22.35
Enter quantity between 1 and 99
6009
GUIDE PIN
$1.90
Enter quantity between 1 and 99
6010
SUPPORT SHAFT
$24.85
Enter quantity between 1 and 99
6011
CAP SCREW M6-1 X 8
Price
N/A
6012
SLEEVE
$35.95
Enter quantity between 1 and 99
6013
SHAFT
$24.85
Enter quantity between 1 and 99
6014
UPPER CASTING
$75.90
Enter quantity between 1 and 99
6015
ROLL PIN 5 X 50
Price
N/A
6016
BUSHING
$15.85
Enter quantity between 1 and 99
6017
ADJUSTMENT KNOB
$6.90
Enter quantity between 1 and 99
6018
SET SCREW M6-1 X 8
Price
N/A
6019
LOCK KNOB
$4.70
Enter quantity between 1 and 99
6020
CLAMP SCREW
$4.70
Enter quantity between 1 and 99
6021
DOWEL PIN 10 X 60MM
Price
N/A
6022
ROTATE HANDLE
$6.90
Enter quantity between 1 and 99
6022A
COMPLETE FOLLOW REST
$646.20
Enter quantity between 1 and 99
6023
ROLL PIN 5 X 26
Price
N/A
6024
FOLLOW REST
$111.45
Enter quantity between 1 and 99
6025
LIMIT SCREW
$3.65
Enter quantity between 1 and 99
6026
BRACKET
$6.90
Enter quantity between 1 and 99
6027
SLEEVE
$31.35
Enter quantity between 1 and 99
6028
BUSHING
$15.85
Enter quantity between 1 and 99
6029
ROTATE HANDLE SCREW
$2.60
Enter quantity between 1 and 99
6030
SHAFT
$22.35
Enter quantity between 1 and 99
6031
Now: PB31M
HEX BOLT M10-1.5 X 40
Price
N/A
6032
LOCK WASHER 10MM
Price
N/A
7001
TOOL BOX
$39.40
Enter quantity between 1 and 99
7002
OIL BOTTLE
$9.00
Enter quantity between 1 and 99
7003
*DISCD*SPOT PAINT GREEN
Item is no longer available
Price
N/A
7004
*DISCD*PUTTY SPOT PAINT
Item is no longer available
Price
N/A
7005
TOOL POST WRENCH
$22.35
Enter quantity between 1 and 99
7006
CHUCK 4-JAW WRENCH
$31.35
Enter quantity between 1 and 99
7007
CHUCK 3-JAW WRENCH
$31.35
Enter quantity between 1 and 99
7008
CHUCK 4-JAW LIFT EYE
$4.70
Enter quantity between 1 and 99
7009
FACEPLATE 18"
$378.85
Enter quantity between 1 and 99
7010
CHUCK 4-JAW
$944.75
Enter quantity between 1 and 99
7011
TAPERED SPINDLE SLEEVE MT#7-MT#5
$58.25
Enter quantity between 1 and 99
7012
DEAD CENTER MT#5
$27.00
Enter quantity between 1 and 99
7013
FEED ROD/LEADSCREW SHEAR PIN
$4.70
Enter quantity between 1 and 99
7014
HEX WRENCH SET 1.5-10MM
Price
N/A
7015
STANDARD SCREWDRIVER #2
$7.20
Enter quantity between 1 and 99
7016
Now: PSDP2
SCREWDRIVER PHILLIPS #2
Price
N/A
7017
COMBO WRENCH SET 6/30
$53.60
Enter quantity between 1 and 99
7018
GAP PULLER HUB
$3.65
Enter quantity between 1 and 99
7019
LAMP ASSEMBLY
$178.25
Enter quantity between 1 and 99
7019-1
BASE AND ARM ASSEMBLY
$89.15
Enter quantity between 1 and 99
7019-2
LENS
$6.90
Enter quantity between 1 and 99
7019-3
HALOGEN BULB 50W 24V BI-PIN
Price
N/A
7019V2
WORKLAMP ASSEMBLY V2.01.15
$191.95
Enter quantity between 1 and 99
7020
CAP SCREW M6-1 X 25
Price
N/A
7021
COOLANT PUMP MOTOR 1/8HP 220V 3-PH
$234.35
Enter quantity between 1 and 99
7022
SUPPLY FLEX TUBE
$62.60
Enter quantity between 1 and 99
7023
STANDOFF PIPE
$31.35
Enter quantity between 1 and 99
7024
FLOW VALVE
$31.35
Enter quantity between 1 and 99
7025
NOZZLE AND FLEX TUBE
$35.95
Enter quantity between 1 and 99
8001
CONTACTOR 3TB44
$102.50
Enter quantity between 1 and 99
8002
***USE P06008001***
$78.45
Enter quantity between 1 and 99
8003
THERMAL OVERLOAD RELAY 32A
$111.45
Enter quantity between 1 and 99
8004
CONTACTOR 40E 3TH80
$75.90
Enter quantity between 1 and 99
8005
THERMAL OVERLOAD RELAY 1A
$107.15
Enter quantity between 1 and 99
8006
TRANSFORMER JBK5 160VA 220/440V-220V
$249.60
Enter quantity between 1 and 99
8007
CONTACTOR 40E 3TH80
Price
N/A
8008
CIRCUIT BREAKER 3A HUIL DZ451-63 C3 1P
Price
N/A
8009
CIRCUIT BREAKER 6A HUIL DZ451-63 C6 1P
$31.35
Enter quantity between 1 and 99
8010
MAIN TERMINAL BOARD
$35.95
Enter quantity between 1 and 99
8011
MOTOR TERMINAL BOARD
$22.35
Enter quantity between 1 and 99
8012
GROUND TERMINAL BOARD
$13.70
Enter quantity between 1 and 99
8013
MOUNTING PANEL
$31.35
Enter quantity between 1 and 99
8014
CIRCUIT BREAKER 50A HUIL DZ451-63 C50 3P
Price
N/A
8015
PUMP ON/OFF SWITCH
$32.40
Enter quantity between 1 and 99
8016
MASTER POWER SWITCH ASSEMBLY
$151.70
Enter quantity between 1 and 99
8016-1
MASTER POWER SWITCH
$122.60
Enter quantity between 1 and 99
8016-2
MASTER POWER SWITCH BOX
$22.35
Enter quantity between 1 and 99
8016-3
MASTER POWER SWITCH COVER
$6.90
Enter quantity between 1 and 99
MAN
MANUAL FOR G0600 04/07
$15.25
Enter quantity between 1 and 99
P
THRUST BEARING 8102
$11.25
Enter quantity between 1 and 99