Parts for G0643 21-Bit Line Boring Machine

Parts Diagrams for G0643 - 21-Bit Line Boring Machine

IMPORTANT

Parts may have multiple versions that have changed over time. This will be indicated by V1, V2, V3, etc. in the parts description, followed by the version month and year that it was first used. Example: V2.01.17 indicates version 2 of a part went into use in January 2017. Please reference the manufacture date on the ID Label for your machine to ensure you are selecting the correct part when multiple versions are indicated.

If you cannot locate your part below, please contact our tech support department at techsupport@grizzly.com or 570-546-9663.

Please note: All parts ship out of our Springfield, Missouri facility.

Parts List for Parts for G0643 21-Bit Line Boring Machine

1
KNURLED KNOB
$13.30
Enter quantity between 1 and 99
2
SET SCREW M6-1 X 10
Price
N/A
3
DEPTH CONTROL
$103.60
Enter quantity between 1 and 99
4
CAP SCREW M6-1 X 20
Price
N/A
5
WING SCREW M6-1 X 35
$1.60
Enter quantity between 1 and 99
6
CAP SCREW M8-1.25 X 16
Price
N/A
7
Now: PW01M
FLAT WASHER 8MM
Price
N/A
8
CAP SCREW M8-1.25 X 20
Price
N/A
9
DEPTH CONTROL MOUNT
$64.65
Enter quantity between 1 and 99
10
EYE BOLT M10-1.5 X 15
Price
N/A
11
COLUMN
$587.50
Enter quantity between 1 and 99
11V2
COLUMN V2.05.25
$862.50
Enter quantity between 1 and 99
12
CAP SCREW M5-.8 X 12
Price
N/A
13
COVER
$9.70
Enter quantity between 1 and 99
14
CAP SCREW M10-1.5 X 30
Price
N/A
15
LOCK WASHER 10MM
Price
N/A
16
Now: PW04M
FLAT WASHER 10MM
Price
N/A
17
SET SCREW M8-1.25 X 10
Price
N/A
18
HEADSTOCK LEADSCREW
$36.25
Enter quantity between 1 and 99
19
Now: PS08M
PHLP HD SCR M5-.8 X 12
Price
N/A
20
DEPTH STOP
$18.15
Enter quantity between 1 and 99
21
BUMPER
$7.00
Enter quantity between 1 and 99
22
Now: PW01M
FLAT WASHER 8MM
Price
N/A
23
CAP SCREW M8-1.25 X 50
Price
N/A
24
HEADSTOCK
$818.70
Enter quantity between 1 and 99
25
HEADSTOCK WAY
$75.85
Enter quantity between 1 and 99
26
LINEAR BUSHING 25UU
Price
N/A
27
SEAL 25 X 40 X 7 X 2
Price
N/A
28
Now: PR23M
INT RETAINING RING 40MM
Price
N/A
29
CABLE CLAMP
$1.60
Enter quantity between 1 and 99
30
HEX WRENCH 2.5MM
Price
N/A
31
HEX WRENCH 6MM
Price
N/A
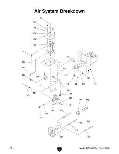
101
CAP SCREW M10-1.5 X 35
Price
N/A
102
Now: PW04M
FLAT WASHER 10MM
Price
N/A
103
CAP SCREW M8-1.25 X 20
Price
N/A
104
Now: PW01M
FLAT WASHER 8MM
Price
N/A
105
AIR CYLINDER COVER
$49.25
Enter quantity between 1 and 99
106
AIR CYLINDER ASSY
$465.85
Enter quantity between 1 and 99
107
PIPE ELBOW MALE 3/8" X 8MM
$7.25
Enter quantity between 1 and 99
107V2
TEE ADAPTER 3/8" PT X 8MM X 8MM V2.05.25
$17.25
Enter quantity between 1 and 99
108
PIPE ELBOW MALE 3/8" X 6MM
$7.25
Enter quantity between 1 and 99
109
AIR PRESSURE VALVE
$43.15
Enter quantity between 1 and 99
110
Now: PW08M
FLAT WASHER 16MM
Price
N/A
111
RUBBER GROMMET
$3.65
Enter quantity between 1 and 99
112
HEADSTOCK MOUNT
$106.90
Enter quantity between 1 and 99
113
THREADED LOCK COLLAR
$10.65
Enter quantity between 1 and 99
114
SET SCREW M6-1 X 10
Price
N/A
115
CAP SCREW M8-1.25 X 40
Price
N/A
116
LOCK WASHER 8MM
Price
N/A
117
Now: PN03M
HEX NUT M8-1.25
Price
N/A
118
PU TUBE 1/2" X 2500MM
$29.00
Enter quantity between 1 and 99
119
RUBBER SLEEVE
$1.60
Enter quantity between 1 and 99
120
Now: PW03M
FLAT WASHER 6MM
Price
N/A
121
CAP SCREW M6-1 X 16
Price
N/A
122
AIR SUPPLY UNIT MACP 300-10A
Price
N/A
123
AIR INLET CONNECTOR 1/4 NPT
Price
N/A
124
AIR INLET CONNECTOR 1/4 NPT
$7.25
Enter quantity between 1 and 99
125
FOOT SWITCH ASSY
$178.90
Enter quantity between 1 and 99
126
PIPE UNION MALE 1/4" X 6MM
$10.35
Enter quantity between 1 and 99
127
PIPE UNION MALE 1/4" X 8MM
$7.25
Enter quantity between 1 and 99
128
PU TUBE 5 X 8 X 3150MM
$4.60
Enter quantity between 1 and 99
129
PU TUBE 5 X 8 X 3090MM
$7.25
Enter quantity between 1 and 99
130
PU TUBE 4 X 6 X 800MM
$3.65
Enter quantity between 1 and 99
131
PU TUBE 4 X 6 X 2950MM
$3.65
Enter quantity between 1 and 99
134
CABLE CLAMP 3/8"
$3.45
Enter quantity between 1 and 99
135
Now: PW02M
FLAT WASHER 5MM
Price
N/A
136
Now: PS08M
PHLP HD SCR M5-.8 X 12
Price
N/A
201
OFF BUTTON
$27.55
Enter quantity between 1 and 99
202
ON BUTTON W/LAMP 220V
$30.20
Enter quantity between 1 and 99
203
SWITCH PANEL LABEL
$1.05
Enter quantity between 1 and 99
204
SWITCH PANEL
$18.15
Enter quantity between 1 and 99
205
RUBBER GASKET
$1.60
Enter quantity between 1 and 99
206
SWITCH BOX
$62.55
Enter quantity between 1 and 99
207
STRAIN RELIEF PG11 TYPE-6 ST
Price
N/A
208
MOTOR 2HP 110V/220V 1-PH
$728.15
Enter quantity between 1 and 99
208-1
MOTOR FAN COVER
$18.15
Enter quantity between 1 and 99
208-2
MOTOR FAN
$36.25
Enter quantity between 1 and 99
208-3
S CAPACITOR 300M 125V 1-3/8 X 2-5/8
Price
N/A
208-4
R CAPACITOR 50M 250V 1-1/2 X 2-3/8
Price
N/A
208-4V2
R CAPACITOR 30M 250V 1-3/8 X 2-3/8
Price
N/A
208-5
TEMINAL BLOCK 3 POLE
$4.30
Enter quantity between 1 and 99
209
CAP SCREW M8-1.25 X 30
Price
N/A
210
Now: PW01M
FLAT WASHER 8MM
Price
N/A
211
Now: PS08M
PHLP HD SCR M5-.8 X 12
Price
N/A
212
CABLE CLAMP
$1.60
Enter quantity between 1 and 99
213
PLUG PLASTIC
$1.60
Enter quantity between 1 and 99
214
LIMIT SWITCH BRACKET
$21.50
Enter quantity between 1 and 99
215
CAP SCREW M5-.8 X 10
Price
N/A
216
Now: PW03M
FLAT WASHER 6MM
Price
N/A
217
CAP SCREW M6-1 X 16
Price
N/A
218
LIMIT SWITCH
$125.60
Enter quantity between 1 and 99
219
Now: PW02M
FLAT WASHER 5MM
Price
N/A
220
ELECTRICAL BOX 220V
$449.20
Enter quantity between 1 and 99
220-1
CONTACTOR TECO CU-18 220V V2.05.08
Price
N/A
220-2
CONTACTOR TECO CU-18 220V V2.05.08
Price
N/A
220-3
RELAY 220V 5A
$43.50
Enter quantity between 1 and 99
220-4
FUSE HOLDER
$4.30
Enter quantity between 1 and 99
220-5
FUSE 5A
$3.45
Enter quantity between 1 and 99
220-6
TEMINAL BLOCK 6 POLE
$6.40
Enter quantity between 1 and 99
221
POWER CABLE
$20.85
Enter quantity between 1 and 99
222
110V Conversion Kit for G0643
Price
N/A
223
LIMIT SWITCH CABLE
$1.60
Enter quantity between 1 and 99
224
MOTOR POWER CABLE
$17.25
Enter quantity between 1 and 99
225
SWITCH BOX CABLE
$20.85
Enter quantity between 1 and 99
301
TABLE
$185.40
Enter quantity between 1 and 99
302
FLAT HD SCR M8-1.25 X 35
Price
N/A
303
SCALE RIGHT REAR
$11.85
Enter quantity between 1 and 99
304
RAIL PLUG RIGHT
$12.40
Enter quantity between 1 and 99
305
Now: PW02M
FLAT WASHER 5MM
Price
N/A
306
Now: PS08M
PHLP HD SCR M5-.8 X 12
Price
N/A
307
Now: PN03M
HEX NUT M8-1.25
Price
N/A
308
BRACKET
$86.00
Enter quantity between 1 and 99
309
LONGITUDINAL STOP PLATE
$25.40
Enter quantity between 1 and 99
310
SET SCREW M6-1 X 5
Price
N/A
311
LOCK HANDLE
$11.85
Enter quantity between 1 and 99
312
CAP SCREW M8-1.25 X 16
Price
N/A
313
LOCK NUT M10-1.5
Price
N/A
314
CROSS STOP PLATE
$23.25
Enter quantity between 1 and 99
315
CROSS STOP PLATE BOLT
$18.15
Enter quantity between 1 and 99
316
RAIL REAR
$223.75
Enter quantity between 1 and 99
317
SCALE LEFT REAR
$13.30
Enter quantity between 1 and 99
318
RAIL PLUG LEFT
$12.40
Enter quantity between 1 and 99
319
LOCK WASHER 8MM
Price
N/A
320
CAP SCREW M8-1.25 X 20
Price
N/A
321
Now: PW01M
FLAT WASHER 8MM
Price
N/A
322
SCALE LEFT SIDE
$7.60
Enter quantity between 1 and 99
323
CAP SCREW M8-1.25 X 25
Price
N/A
324
Now: G3845
Bearing - 22mm x 8mm
Price
N/A
325
BUSHING
Price
N/A
326
TABLE MOUNT
$62.55
Enter quantity between 1 and 99
327
RAIL MOUNT
$17.25
Enter quantity between 1 and 99
328
SCALE RIGHT SIDE
$11.85
Enter quantity between 1 and 99
329
CAP SCREW M8-1.25 X 12
Price
N/A
330
CROSS FENCE
Price
N/A
331
Now: PB07M
HEX BOLT M8-1.25 X 25
Price
N/A
332
CONNECTION BAR
$20.85
Enter quantity between 1 and 99
401
CABINET TOP
$749.30
Enter quantity between 1 and 99
402
Now: PB03M
HEX BOLT M8-1.25 X 16
Price
N/A
403
Now: PW01M
FLAT WASHER 8MM
Price
N/A
404
Now: PN03M
HEX NUT M8-1.25
Price
N/A
405
CABINET BASE
$911.10
Enter quantity between 1 and 99
406
COVER FRONT
$65.85
Enter quantity between 1 and 99
407
GRIZZLY LOGO
$2.90
Enter quantity between 1 and 99
408
Now: PS02M
PHLP HD SCR M4-.7 X 12
Price
N/A
409
CABINET DOOR
$382.55
Enter quantity between 1 and 99
410
DOOR LATCH
$7.60
Enter quantity between 1 and 99
411
Now: PS08M
PHLP HD SCR M5-.8 X 12
Price
N/A
412
Now: PN04M
HEX NUT M4-.7
Price
N/A
413
Now: PN06M
HEX NUT M5-.8
Price
N/A
414
HEX WRENCH 10MM
Price
N/A
415
HEX WRENCH 8MM
Price
N/A
416
HEX WRENCH 6MM
Price
N/A
417
HEX WRENCH 5MM
Price
N/A
418
HEX WRENCH 4MM
Price
N/A
419
HEX WRENCH 3MM
Price
N/A
420
HEX WRENCH 2.5MM
Price
N/A
421
HEX WRENCH 2MM
Price
N/A
422
HEX WRENCH 1.5MM
Price
N/A
423
WRENCH 17 X 19MM OPEN-ENDS
Price
N/A
424
WRENCH 12 X 14MM OPEN-ENDS
Price
N/A
425
WRENCH 8 X 10MM OPEN-ENDS
Price
N/A
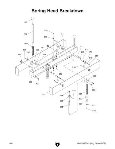
501
INDEXING PIN KNOB
Price
N/A
502
INDEXING PIN
$14.85
Enter quantity between 1 and 99
503
INDEXING COMPRESSION SPRING
Price
N/A
504
GUARD RETAINER
Price
N/A
505
CAP SCREW M5-.8 X 25
Price
N/A
506
CAP SCREW M5-.8 X 16
Price
N/A
507
GUARD MOUNT BUSHING REAR
$4.30
Enter quantity between 1 and 99
508
HEAD SPACER REAR
$3.65
Enter quantity between 1 and 99
509
LOCK WASHER 6MM
Price
N/A
510
Now: PN01M
HEX NUT M6-1
Price
N/A
511
GUARD REAR
$54.10
Enter quantity between 1 and 99
512
BUSHING
Price
N/A
513
CAP SCREW M5-.8 X 35
Price
N/A
514
BUSHING
Price
N/A
515
PIVOT BRACKET
Price
N/A
516
Now: PW02M
FLAT WASHER 5MM
Price
N/A
517
CAP SCREW M5-.8 X 50
Price
N/A
518
CAP SCREW M5-.8 X 20
Price
N/A
519
CAP SCREW M6-1 X 70
Price
N/A
520
BORING HEAD ASSY
$2,879.90
Enter quantity between 1 and 99
521
GUARD FRONT
$54.10
Enter quantity between 1 and 99
522
Now: PR06M
EXT RETAINING RING 16MM
Price
N/A
523
LOCK COLLAR
$7.60
Enter quantity between 1 and 99
524
HOLD DOWN SHAFT
$9.70
Enter quantity between 1 and 99
525
SET SCREW M6-1 X 5
Price
N/A
526
HOLD DOWN COMPRESSION SPRING
$5.50
Enter quantity between 1 and 99
527
COLLAR
$7.60
Enter quantity between 1 and 99
528
HOLD DOWN PAD
$2.75
Enter quantity between 1 and 99
529
HOLD DOWN MOUNT
$20.30
Enter quantity between 1 and 99
530
CAP SCREW M6-1 X 30
Price
N/A
531
Now: PW03M
FLAT WASHER 6MM
Price
N/A
532
CAP SCREW M6-1 X 20
Price
N/A
533
SET SCREW M5-.8 X 5
Price
N/A
601
MACHINE ID LABEL
$16.40
Enter quantity between 1 and 99
602
READ MANUAL 2W X 3.3H V2.07.05
Price
N/A
603
HAND INJURY LABEL VERT
$1.05
Enter quantity between 1 and 99
604
SAFETY GLASSES 2W X 3.3H V2.04.08
Price
N/A
605
ELECTRICITY 1.4W X 1.2H
Price
N/A
606
ENTANGLEMENT VERT LABEL
$1.05
Enter quantity between 1 and 99
607
DISCONNECT POWER LABEL VERT
$1.05
Enter quantity between 1 and 99
608
MODEL NUMBER LABEL
$16.40
Enter quantity between 1 and 99
609
N/S GRIZZLY GREEN G1023S
Price
N/A
610
GREY PUTTY REF G0504
Price
N/A
611
DOWNFEED SPEED LABEL
$1.05
Enter quantity between 1 and 99
MAN
MANUAL FOR G0643 11/07
$12.50
Enter quantity between 1 and 99