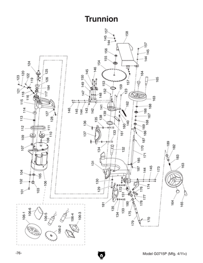
Parts for G0715P - 10" Hybrid Table Saw with Riving Knife, Polar Bear Series

Part Diagram for G0715P
Part Diagram for G0715P
Part Diagram for G0715P
Part Diagram for G0715P
Part Diagram for G0715P
Part Diagram for G0715P
Part Diagram for G0715P
Part Diagram for G0715P
Part Diagram for G0715P
Part Diagram for G0715P
Part Diagram for G0715P
Part Diagram for G0715P
Part Diagram for G0715P
Part Diagram for G0715P
Part Diagram for G0715P
Part Diagram for G0715P

IMPORTANT: Parts may have multiple versions that have changed over time. This will be indicated by V1, V2, V3, etc. in the parts description, followed by the version month and year that it was first used. Example: V2.01.17 indicates version 2 of a part went into use in January 2017. Please reference the manufacture date on the ID Label for your machine to ensure you are selecting the correct part when multiple versions are indicated.

If you cannot locate your part below, please contact our tech support department at techsupport@grizzly.com or 570-546-9663.

Please note: All parts ship out of our Springfield, Missouri facility.

Ref #
Part #
Description
1
Price
$166.75
2
CAP SCREW M10-1.25 X 25
Price
N/A
3
LOCK WASHER 10MM
Price
N/A
4
FLAT WASHER 10MM
Price
N/A
5
Price
$349.05
7
FLAT HD SCR M5-.8 X 10
Price
N/A
8
*DISCD*MAGNET
Item is no longer available
Price
N/A
9
*DISCD*STANDARD TABLE INSERT
Item is no longer available
Price
N/A
10
*DISCD*DADO TABLE INSERT
Item is no longer available
Price
N/A
11
Price
$138.90
12
INT TOOTH WASHER 6MM
Price
N/A
13
Price
$3.45
14
*DISCD*TILT SCALE
Item is no longer available
Price
N/A
15
*DISCD*STRAIN RELIEF
Item is no longer available
Price
N/A
16
*DISCD*CABINET STAND
Item is no longer available
Price
N/A
17
PHLP HD SCR M6-1 X 12
Price
N/A
18
LOCK WASHER 6MM
Price
N/A
19
FENDER WASHER 6MM
Price
N/A
20
Price
$79.35
21
FLAT WASHER 5MM
Price
N/A
22
LOCK WASHER 5MM
Price
N/A
23
CAP SCREW M5-.8 X 12
Price
N/A
24
*DISCD*DUST HOOD 4"
Item is no longer available
Price
N/A
25
*DISCD*LEADSCREW EXTERNAL BRACKET
Price
$8.65
26
*DISCD*CABINET REAR ACCESS PANEL
Price
$34.50
27
*DISCD*LEADSCREW INTERNAL BRACKET
Item is no longer available
Price
N/A
28
CAP SCREW M8-1.25 X 25
Price
N/A
29
LOCK WASHER 8MM
Price
N/A
30
FLAT WASHER 8MM
Price
N/A
31
CAP SCREW M5-.8 X 20
Price
N/A
101
CAP SCREW M8-1.25 X 16
Price
N/A
102
LOCK WASHER 8MM
Price
N/A
103
LOCK NUT M16-2
Price
N/A
104
FENDER WASHER 8MM
Price
N/A
105
FLAT WASHER 16MM
Price
N/A
106
MOTOR 2HP 110V/220V 1-PH
Price
$319.10
106-1
Price
$24.45
106-2
Price
$9.10
106-3
*DISCD*MOTOR JUNCTION BOX
Price
$6.90
106-4
R CAPACITOR 60M 300V 1-3/4 X 4
Price
$28.75
106-5
S CAPACITOR 200M 250V 1-3/4 X 2-1
Price
$32.05
106-6
*DISCD*CAPACITOR COVER
Item is no longer available
Price
N/A
106-7
Price
$20.15
106-8
Price
$7.80
106-9
*DISCD*CENTRIFUGAL SWITCH
Item is no longer available
Price
N/A
107
LOCK NUT M12-1.75
Price
N/A
108
KEY 6 X 6 X 20
Price
N/A
109
Price
$14.75
110
Price
$11.80
111
SET SCREW M6-1 X 10
Price
N/A
112
*DISCD*RIBBED V-BELT 6PJ-365
Item is no longer available
Price
N/A
113
*DISCD*ARBOR BUSHING
Item is no longer available
Price
N/A
114
BALL BEARING 6202-2RS
Price
N/A
115
*DISCD*MOTOR MOUNT
Item is no longer available
Price
N/A
115-1
*DISCD*COMPLETE ARBOR BRACKET ASSY
Item is no longer available
Price
N/A
116
*DISCD*COMPRESSION SPRING
Item is no longer available
Price
N/A
117
*DISCD*ARBOR LOCK BUSHING
Item is no longer available
Price
N/A
118
*DISCD*ARBOR LOCK PIN
Item is no longer available
Price
N/A
119
*DISCD*BEVEL STOP SUPPORT
Item is no longer available
Price
N/A
120
FLAT WASHER 5MM
Price
N/A
121
LOCK WASHER 5MM
Price
N/A
122
*DISCD*ARBOR LOCK PIN KNOB
Item is no longer available
Price
N/A
123
PHLP HD SCR M5-.8 X 12
Price
N/A
124
Price
$47.15
125
KEY 5 X 5 X 15
Price
N/A
126
BALL BEARING 6203-2RS
Price
N/A
127
HEX NUT M6-1
Price
N/A
128
CAP SCREW M6-1 X 40
Price
N/A
129
CAP SCREW M10-1.5 X 55
Price
N/A
130
HEX NUT M10-1.5
Price
N/A
131
*DISCD*MAIN TRUNNION
Item is no longer available
Price
N/A
132
*DISCD*MOTOR MOUNT PIVOT SHAFT
Price
$8.05
133
HEX BOLT M10-1.25 X 30
Price
N/A
134
LOCK WASHER 10MM
Price
N/A
135
FLAT WASHER 10MM
Price
N/A
136
Price
$1.49
137
Price
$11.80
138
*DISCD*SPACER
Item is no longer available
Price
N/A
139
Price
$1.49
140
LOCK NUT M5-.8
Price
N/A
141
*DISCD*ARBOR SUPPORT
Item is no longer available
Price
N/A
142
*DISCD*RIVING KNIFE MOUNT
Item is no longer available
Price
N/A
143
Price
$4.35
144
FLAT WASHER 6MM
Price
N/A
145
LOCK WASHER 6MM
Price
N/A
146
CAP SCREW M6-1 X 20
Price
N/A
147
*DISCD*COMPRESSION SPRING
Price
$1.49
148
*DISCD*SPACER
Item is no longer available
Price
N/A
149
Price
$1.49
150
*DISCD*RIVING KNIFE CLAMP PLATE
Item is no longer available
Price
N/A
151
*DISCD*LOCK COLLAR
Item is no longer available
Price
N/A
152
SET SCREW M5-.8 X 6
Price
N/A
153
EXT RETAINING RING 48MM
Price
N/A
154
*DISCD*SAW BLADE 10" X 40T 5/8" ARBOR
Price
$56.10
155
BLADE FLANGE
Price
N/A
156
Price
$6.15
157
CAP SCREW M6-1 X 10
Price
N/A
158
*DISCD*LOWER BLADE GUARD
Price
$11.80
159
*DISCD*GROOVED CAPTIVE PIN
Price
$1.49
160
*DISCD*SPRING RETAINING SCREW
Item is no longer available
Price
N/A
161
E-CLIP 4MM
Price
N/A
162
*DISCD*TENSION SPRING
Item is no longer available
Price
N/A
163
Price
$64.70
164
*DISCD*HANDWHEEL LOCK KNOB
Price
$18.15
165
*DISCD*HANDWHEEL HANDLE
Price
$18.15
166
*DISCD*BEVELED BUSHING
Item is no longer available
Price
N/A
167
E-CLIP 9MM
Price
N/A
168
*DISCD*SPACER
Item is no longer available
Price
N/A
169
*DISCD*TILT LEADSCREW BEARING
Item is no longer available
Price
N/A
170
ROLL PIN 3 X 20
Price
N/A
171
Price
$19.85
172
*DISCD*TILT LEADSCREW NUT
Item is no longer available
Price
N/A
173
PHLP HD SCR M6-1 X 12
Price
N/A
174
Price
$1.49
175
E-CLIP 12MM
Price
N/A
176
Price
$4.35
177
FLAT WASHER 4MM
Price
N/A
178
PHLP HD SCR M4-.7 X 8
Price
N/A
179
Price
$22.45
180
*DISCD*SPACER
Item is no longer available
Price
N/A
181
Price
$11.80
182
*DISCD*ELEVATION SHAFT BUSHING
Item is no longer available
Price
N/A
183
*DISCD*COMPRESSION SPRING
Price
$1.49
184
*DISCD*WAVY WASHER 16MM
Item is no longer available
Price
N/A
185
*DISCD*LOCK COLLAR 90 DEG
Item is no longer available
Price
N/A
186
*DISCD*LOCK COLLAR 45 DEG
Item is no longer available
Price
N/A
187
CAP SCREW M5-.8 X 16
Price
N/A
188
*DISCD*TILT LEADSCREW SPACER
Item is no longer available
Price
N/A
189
*DISCD*ELEVATION SHAFT SPACER
Item is no longer available
Price
N/A
190
*DISCD*ARBOR WRENCH 24MM
Item is no longer available
Price
N/A
201
TAP SCREW M3.5 X 19
Price
N/A
202
Paddle Switch 120/230V
Price
N/A
202-1
SWITCH DISABLING PIN 3/16 X 2-1/8"
Price
N/A
202-2
*DISCD*HOOK FOR DISABLING PIN CHAIN
Price
$1.49
203
*DISCD*SWITCH BOX
Item is no longer available
Price
N/A
204
CIRCUIT BREAKER 10A
Price
N/A
204-1
CIRCUIT BREAKER 20A
Price
N/A
205
*DISCD*CIRCUIT BREAKER NUT
Price
$1.49
206
PHLP HD SCR M5-.8 X 8
Price
N/A
207
LOCK WASHER 5MM
Price
N/A
208
FLAT WASHER 5MM
Price
N/A
209
*DISCD*CLAMP-ON TERMINAL RING
Price
$1.49
210
EXT TOOTH WASHER 5MM
Price
N/A
211
*DISCD*SWITCH BRACKET
Item is no longer available
Price
N/A
212
TAP SCREW M3.5 X 10
Price
N/A
213
Price
$1.49
300
*DISCD*BLADE GUARD ASSEMBLY V1
Price
$158.70
300V2
*DISCD*BLADE GUARD ASSEMBLY V2.11.10
Price
$215.65
301
ROLL PIN 4 X 20
Price
N/A
302
*DISCD*TORSION SPRING
Price
N/A
303
LOCK NUT M6-1
Price
N/A
304
*DISCD*SUPPORTING ARM V2.10.10
Price
N/A
305
PHLP HD SCR M6-1 X 25
Price
N/A
306
FLAT WASHER 6MM
Price
N/A
307
*DISCD*TOP GUARD
Price
N/A
308
PHLP HD SCR M4-.7 X 6
Price
N/A
309
*DISCD*GUARD FRONT
Price
N/A
310
*DISCD*SIDE GUARD V2.10.10
Price
N/A
311
*DISCD*GUARD CLAMP
Price
N/A
312
LOCK NUT M5-.8
Price
N/A
313
PHLP HD SCR M4-.7 X 10
Price
N/A
314
ROLL PIN 6 X 32
Price
N/A
315
PHLP HD SCR M6-1 X 10
Price
N/A
315V2
*DISCD*RIVET 5 X 12MM BLIND, STEEL
Price
N/A
316
HEX BOLT M4-.7 X 8
Price
N/A
317
*DISCD*GUARD SUPPORT V2.10.10
Price
N/A
318
PHLP HD SCR M6-1 X 30
Price
N/A
319
*DISCD*SPACER V2.10.10
Price
N/A
320
*DISCD*SPACER
Price
N/A
321
PHLP HD SCR M5-.8 X 20
Price
N/A
321V2
HEX BOLT M5-.8 X 20
Price
N/A
322
FLAT WASHER 5MM
Price
N/A
323
*DISCD*PAWL
Price
N/A
324
*DISCD*BLADE GUARD ASSEMBLY V4.11.10
Price
N/A
325
*DISCD*RIVING KNIFE 0.100" THICK V2.04.1
Price
N/A
325V2
*DISCD*RIVING KNIFE 0.100" THICK V2.04.1
Item is no longer available
Price
N/A
326
PHLP HD SCR M5-.8 X 8
Price
N/A
326V2
*DISCD*RIVET 4 X 8MM BLIND, STEEL
Price
N/A
327
*DISCD*RIVING KNIFE HOOK PLATE
Price
N/A
328
CAP SCREW M5-.8 X 8
Price
N/A
328V2
HEX BOLT M5-.8 X 8
Price
N/A
329
CAP SCREW M6-1 X 35
Price
N/A
329V2
PHLP HD SCR M6-1 X 35
Price
N/A
400
*DISCD*MITER GAUGE ASSEMBLY
Item is no longer available
Price
N/A
401
Price
$1.49
402
Price
$10.10
403
Price
$1.49
404
*DISCD*MITER GAUGE BODY
Price
$15.85
405
HEX NUT M5-.8
Price
N/A
406
PHLP HD SCR M5-.8 X 20
Price
N/A
407
PHLP HD SCR M4-.7 X 10
Price
N/A
408
Price
$1.49
409
FLAT WASHER 4MM
Price
N/A
410
Price
$1.49
411
Price
$1.49
412
Price
$1.49
413
*DISCD*MITER BAR
Item is no longer available
Price
N/A
414
FLAT HD SCR M4-.7 X 10
Price
N/A
415
*DISCD*T-SLOT WASHER
Item is no longer available
Price
N/A
416
FLAT HD SCR M6-1 X 8
Price
N/A
500
*DISCD*RIP FENCE ASSEMBLY
Price
$297.60
501
*DISCD*GLIDE PAD
Item is no longer available
Price
N/A
502
*DISCD*ALUMINUM LOCK NUT M12-1.75
Price
N/A
503
*DISCD*BRASS GLIDE SCREW M12-1.75 X 16
Price
N/A
504
*DISCD*SET SCREW M12-1 X 10
Price
N/A
505
HEX BOLT M6-1 X 40
Price
N/A
506
Price
$2.60
507
LOCK NUT M6-1
Price
N/A
508
HEX BOLT M8-1.25 X 50
Price
N/A
509
*DISCD*FENCE LOCK LEVER
Price
$11.80
510
*DISCD*MAGNET
Item is no longer available
Price
N/A
511
Price
$5.75
512
LOCK NUT M10-1.25
Price
N/A
513
PHLP HD SCR M5-.8 X 25
Price
N/A
514
LOCK WASHER 5MM
Price
N/A
515
*DISCD*FENCE SCALE WINDOW
Item is no longer available
Price
N/A
516
*DISCD*FENCE FACE
Item is no longer available
Price
N/A
517
PHLP HD SCR M6-1 X 16
Price
N/A
518
Price
$142.90
519
*DISCD*FENCE BASE END CAP 50 X 50MM
Item is no longer available
Price
N/A
520
*DISCD*GLIDE SCREW M12-1.75 X 30
Price
N/A
601
Price
$77.35
602
FLAT WASHER 10MM
Price
N/A
603
LOCK WASHER 10MM
Price
N/A
604
CAP SCREW M10-1.5 X 25
Price
N/A
605
CAP SCREW M8-1.25 X 35
Price
N/A
606
FLAT WASHER 8MM
Price
N/A
607
LOCK WASHER 8MM
Price
N/A
608
HEX NUT M8-1.25
Price
N/A
609
Price
$75.35
610
FLAT WASHER 6MM
Price
N/A
611
LOCK WASHER 6MM
Price
N/A
612
CAP SCREW M6-1 X 16
Price
N/A
613
*DISCD*GUIDE TUBE END CAP 40 X 50MM
Price
$1.49
614
Price
$6.05
615
*DISCD*FENCE GUIDE TUBE
Price
$79.35
616
FLAT HD SCR M8-1.25 X 35
Price
N/A
617
CAP SCREW M5-.8 X 12
Price
N/A
618
FLAT WASHER 5MM
Price
N/A
619
LOCK WASHER 5MM
Price
N/A
701
ELECTRICITY 0.7W X 0.6H
Price
N/A
702
*DISCD*RIVING KNIFE PRECAUTIONS LABEL
Price
$1.50
703
TABLE SAW BLADE GUARD 4.7W X 1.8H
Price
N/A
704
*DISCD*RIP FENCE LABEL
Item is no longer available
Price
N/A
705
GLASSES/RESPIRATOR 2W X 3.3H
Price
N/A
706
POLAR BEAR WHITE TOUCH-UP PAINT
Price
N/A
707
Nameplate - Small
Price
N/A
708
*DISCD*GRIZZLY GREEN TAPE 3PC SET
Item is no longer available
Price
N/A
709
POLAR BEAR LOGO-LARGE 9.5W X 2.5H
Price
N/A
710
*DISCD*MODEL NUMBER LABEL
Item is no longer available
Price
N/A
711
POLAR BEAR GRIZZLY.COM 10.8W X 1.2H
Price
N/A
712
*DISCD*MACHINE ID LABEL
Item is no longer available
Price
N/A
713
READ MANUAL 2W X 3.3H V2.07.05
Price
N/A
714
TABLE SAW UL 987 2.5W X 2.1H
Price
N/A
715
DOOR CLOSED BLADE 2W X 3.3H
Price
N/A
716
DISCONNECT 220V 2W X 3.3H
Price
N/A
BOX3
*DISCD*COMPLETE FENCE RAILS ASSY BOX 3
Price
$186.30
HDWBAG
*DISCD*HARDWARE BAG FOR G0715P
Price
$40.25
MAN
MANUAL FOR G0715P 07/10
Price
$17.25