Parts for G1028Z2 1-1/2 HP Portable Dust Collector

Parts Diagrams for G1028Z2 - 1-1/2 HP Portable Dust Collector

IMPORTANT

Parts may have multiple versions that have changed over time. This will be indicated by V1, V2, V3, etc. in the parts description, followed by the version month and year that it was first used. Example: V2.01.17 indicates version 2 of a part went into use in January 2017. Please reference the manufacture date on the ID Label for your machine to ensure you are selecting the correct part when multiple versions are indicated.

If you cannot locate your part below, please contact our tech support department at techsupport@grizzly.com or 570-546-9663.

Please note: All parts ship out of our Springfield, Missouri facility.

Parts List for Parts for G1028Z2 1-1/2 HP Portable Dust Collector

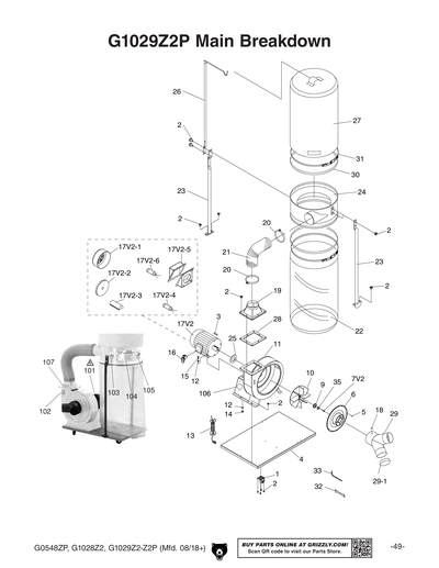
1
CASTER
$11.20
Enter quantity between 1 and 99
2
Now: PFB01
FLANGE BOLT 5/16-18 X 1/2
Price
N/A
3
Now: PK32M
KEY 6 X 6 X 28
Price
N/A
4
BASE PLATE
$63.75
Enter quantity between 1 and 99
5
Now: PS06
PHLP HD SCR 10-24 X 3/8
Price
N/A
6
INLET COVER 6"
$22.70
Enter quantity between 1 and 99
6-1
INLET SEAL
$6.70
Enter quantity between 1 and 99
7
CAP SCREW M6-1 X 20 LH
Price
N/A
7V2
CAP SCREW M6-1 X 30LH PRE-COATED
$1.85
Enter quantity between 1 and 99
8
Now: PSS15
SET SCREW 3/8-16 X 3/8
Price
N/A
9
IMPELLER WASHER
$1.85
Enter quantity between 1 and 99
10
*DISCD*IMPELLER 12-3/4" STEEL BLADE 3-1/2" V1
Item is no longer available
Price
N/A
10V2
IMPELLER 12-3/4"X85MM X3/4 ALUM V2.09.11
$168.20
Enter quantity between 1 and 99
11
COLLECTOR BODY
$210.75
Enter quantity between 1 and 99
12
Now: PW07
FLAT WASHER 5/16
Price
N/A
13
POWER CORD 12G X 3W 36"L
Price
N/A
13V2
POWER CORD 14G 3W 6' 5-15 V2.09.11
$24.85
Enter quantity between 1 and 99
14
Now: PN02
HEX NUT 5/16-18
Price
N/A
15
Now: PB03
HEX BOLT 5/16-18 X 1
Price
N/A
16
PUSH BUTTON SWITCH V1
$21.60
Enter quantity between 1 and 99
16V2
Now: G8988
Safety Paddle Switch
Price
N/A
17
MOTOR 1.5HP 110V/220V 1-PH V1
Price
N/A
17-1
MOTOR FAN COVER
Price
N/A
17-2
MOTOR FAN
Price
N/A
17-3
CAPACITOR COVER
Price
N/A
17-4
S CAPACITOR 300M 125V 1-3/4 X 3-3/8
Price
N/A
17-5
JUNCTION BOX
Price
N/A
17V2
MOTOR 1.5HP 120V/240V 1-PH V2.09.11
$429.45
Enter quantity between 1 and 99
17V2-1
MOTOR FAN COVER
$20.55
Enter quantity between 1 and 99
17V2-2
MOTOR FAN
Price
N/A
17V2-3
CAPACITOR COVER
$7.60
Enter quantity between 1 and 99
17V2-4
S CAPACITOR 300M 125V 1-3/4 X 3-3/8
Price
N/A
17V2-5
JUNCTION BOX
Price
N/A
17V2-6
R CAPACITOR 45M 250V 1-3/4 X 2-3/8
$28.75
Enter quantity between 1 and 99
18
Now: PS06
PHLP HD SCR 10-24 X 3/8
Price
N/A
19
OUTLET
$19.35
Enter quantity between 1 and 99
20
HOSE CLAMP
Price
N/A
21
HOSE 5"
$19.05
Enter quantity between 1 and 99
22
19-3/4 D x 41" L Plastic Bottom Bag
Price
N/A
23
***USE P0548Z023***
Item is no longer available
Price
N/A
24
COLLECTOR
$94.20
Enter quantity between 1 and 99
25
SPACER
$6.35
Enter quantity between 1 and 99
26
UPPER BAG SUPPORT
$14.40
Enter quantity between 1 and 99
27
2.5 Micron Top Bag for G1028Z/G1029Z
Price
N/A
28
GASKET
$6.85
Enter quantity between 1 and 99
29
Y-INLET 6 X 4 X 4"
$15.70
Enter quantity between 1 and 99
29-1
INLET CAP 4"
$2.75
Enter quantity between 1 and 99
30
FOAM STRIP 5 X 20MM
$2.45
Enter quantity between 1 and 99
31
62" Bag Clamp
Price
N/A
32
WRENCH 10 X 12MM OPEN-ENDS
Price
N/A
33
HEX WRENCH 5MM
Price
N/A
34
POWER CORD 12G X 3W 86"L
Price
N/A
35
LOCK WASHER 6MM
Price
N/A
101
ELECTRICITY 1.4W X 1.2H
Price
N/A
102
HANDS/DUST COLLECTOR OUTLET 2W X 3.3H
Price
N/A
103
READ MANUAL 2W X 3.3H V2.07.05
Price
N/A
104
MACHINE ID LABEL V1
$16.40
Enter quantity between 1 and 99
104V2
MACHINE ID LABEL CSA V2.09.11
$16.40
Enter quantity between 1 and 99
105
GLASSES/RESPIRATOR 2W X 3.3H
Price
N/A
106
N/S GRIZZLY GREEN G1023S
Price
N/A
MAN
MANUAL G0548Z MFG-03.09 V3.03.11
Price
N/A
MANV1
MANUAL G0548Z MFG-03.09 V1.04.09
Price
N/A
MANV2
MANUAL G0548Z MFG-03.09 V2.12.09
Price
N/A
MANV3
MANUAL G0548Z MFG-03.09 V3.03.11
Price
N/A
MANV4
MANUAL G0548Z-ZP MFD-09.11 V4.02.12
Price
N/A