Parts for G1033Z 20" 5 HP Planer

Parts Diagrams for G1033Z - 20" 5 HP Planer

IMPORTANT

Parts may have multiple versions that have changed over time. This will be indicated by V1, V2, V3, etc. in the parts description, followed by the version month and year that it was first used. Example: V2.01.17 indicates version 2 of a part went into use in January 2017. Please reference the manufacture date on the ID Label for your machine to ensure you are selecting the correct part when multiple versions are indicated.

If you cannot locate your part below, please contact our tech support department at techsupport@grizzly.com or 570-546-9663.

Please note: All parts ship out of our Springfield, Missouri facility.

Parts List for Parts for G1033Z 20" 5 HP Planer

1
HEADSTOCK CASTING
Price
N/A
2
SET SCREW M10-1.5 X 12
Price
N/A
3
CUTTERHEAD 20" 4-KNIFE
Price
N/A
4
COMPRESSION SPRING 0.6 X 5.9 X 16
Price
N/A
5
Now: G6702
20" x 1" x 1/8" HSS Planer Knives, Set of 4
Price
N/A
6
GIB
Price
N/A
7
Now: PB17M
HEX BOLT M8-1.25 X 10
Price
N/A
8
COMPLETE KNIFE GAUGE ASSY FOR G1021
Price
N/A
8-1
E-CLIP 9MM
Price
N/A
8-2
KNIFE-SETTING JIG FOOT
Price
N/A
8-3
KNIFE-SETTING JIG SHAFT
Price
N/A
12
BALL BEARING 6206-2RS
Price
N/A
13
Now: PK09M
KEY 8 X 8 X 35
Price
N/A
14
CUTTERHEAD PULLEY
Price
N/A
15
FENDER WASHER 8 X 30 X 4MM
Price
N/A
16
SET SCREW M6-1 X 12
Price
N/A
17
MOTOR PULLEY 28MM BORE
$26.60
Enter quantity between 1 and 99
17-1
SET SCREW M6-1 X 12
Price
N/A
17V2
MOTOR PULLEY 23MM BORE
Price
N/A
18
INFEED ROLLER
Price
N/A
19
BUSHING BLOCK
Price
N/A
20
COMPRESSION SPRING 3.5 X 19.7 X 70
Price
N/A
21
TENSIONING SET SCREW M22-1.5 X 20
Price
N/A
22
PLATE
Price
N/A
23
Now: PB26M
HEX BOLT M8-1.25 X 30
Price
N/A
24
SET SCREW M6-1 X 16
Price
N/A
25
Now: PN49M
HEX NUT M6-1 THIN
Price
N/A
26
Now: PK21M
KEY 5 X 5 X 23
Price
N/A
29
Now: PB18M
HEX BOLT M6-1 X 15
Price
N/A
30
OUTFEED ROLLER
Price
N/A
31
SPROCKET 31T
Price
N/A
32
CHIP BREAKER PIVOT ROD M12-1.75 X 25
Price
N/A
33
Now: PR03M
EXT RETAINING RING 12MM
Price
N/A
34
CHIP BREAKER
Price
N/A
35
Now: PN09M
HEX NUT M12-1.75
Price
N/A
36
FLAT SPRING 84 X 46 X 0.6MM
Price
N/A
37
Now: PW03M
FLAT WASHER 6MM
Price
N/A
38
Now: PB02M
HEX BOLT M6-1 X 12
Price
N/A
38V2
FLANGE BOLT M6-1 X 12
Price
N/A
39
CHIPBREAKER ADJUSTMENT ROD
Price
N/A
40
BRACKET
Price
N/A
41
PRESSURE BAR
Price
N/A
42
LOCK WASHER 8MM
Price
N/A
43
SHAFT
Price
N/A
44
SET SCREW M6-1 X 20
Price
N/A
45
SET SCREW M6-1 X 16
Price
N/A
46
FLAT SPRING 84 X 46 X 0.6MM
Price
N/A
47
CHIP DEFLECTOR
Price
N/A
48
ANTI-KICKBACK FINGER
Price
N/A
49
SPACER
Price
N/A
50
SHAFT
Price
N/A
51
E-CLIP 15MM
Price
N/A
52
DEPTH LIMITER
Price
N/A
53
FLAT HD SCR M5-.8 X 12
Price
N/A
54
UPPER COVER
Price
N/A
55
GASKET
Price
N/A
56
DUST PORT 5"
Price
N/A
57
RETURN ROLLER BRACKET
Price
N/A
58
RETURN ROLLER
Price
N/A
59
CAP SCREW M6-1 X 16
Price
N/A
60
WORM GEAR HOUSING
Price
N/A
61
CAP SCREW M6-1 X 50
Price
N/A
62
WORM SHAFT
Price
N/A
63
BALL BEARING 6201-2RS
Price
N/A
64
Now: PR29M
INT RETAINING RING 32MM
Price
N/A
65
Now: PK05M
KEY 4 X 4 X 10
Price
N/A
66
HANDWHEEL TYPE-2 200D X 12B-K X 3/8-16
Price
N/A
66-1
LOW/HIGH DIRECTION LABEL (HANDWHEEL)
Price
N/A
67
Now: PW06M
FLAT WASHER 12MM
Price
N/A
68
REVOLVING HANDLE 1X3-9/16, 3/8-16X1/2
Price
N/A
69
SCALE
Price
N/A
70
CAP SCREW M4-.7 X 13
Price
N/A
73
DRIVE CHAIN COVER V1
Price
N/A
73V2
DRIVE CHAIN COVER V2.05.18
Price
N/A
75
GEARBOX COVER PLATE-A V1
Price
N/A
75V2
GEARBOX COVER PLATE-A V2.05.18
Price
N/A
76
Now: PB04M
HEX BOLT M6-1 X 10
Price
N/A
77
GEARBOX COVER PLATE-B V1
Price
N/A
77V2
GEARBOX COVER PLATE-B V2.05.18
Price
N/A
78
CAP SCREW M8-1.25 X 40
Price
N/A
78V2
CAP SCREW M8-1.25 X 10
Price
N/A
79
PULLEY GUARD
Price
N/A
80
STANDOFF-HEX DE
Price
N/A
81
Now: PW07
FLAT WASHER 5/16
Price
N/A
82
Now: PN02
HEX NUT 5/16-18
Price
N/A
83
Now: PVM59
V-BELT M59 3L590
Price
N/A
83V2
Now: PVM58
V-BELT M58 3L580
Price
N/A
84
PULLEY COVER
Price
N/A
85
KNOB 5/16-18, D1-3/4, ROUND
Price
N/A
86
SWITCH BRACKET
$8.80
Enter quantity between 1 and 99
87
MAG SWITCH SDE MP-30
$172.50
Enter quantity between 1 and 99
87-1
CONTACTOR SDE MP-30 220V
$87.60
Enter quantity between 1 and 99
87V2
MAGNETIC SWITCH ASSY SDE MP-30 V2.05.18
$127.15
Enter quantity between 1 and 99
87V2-1
CONTACTOR SDE MA-30 220-240V
$63.75
Enter quantity between 1 and 99
87V2-2
OL RELAY SDE RA-30 22-34A
$38.40
Enter quantity between 1 and 99
87V2-3
MAGNETIC SWITCH COVER (FRONT)
$19.35
Enter quantity between 1 and 99
87V2-4
MAGNETIC SWITCH COVER (REAR)
$4.60
Enter quantity between 1 and 99
88
Now: PN06M
HEX NUT M5-.8
Price
N/A
89
*DISCD* NAME PLATE STICKER
Price
N/A
90
RIVET 2 X 5MM NAMEPLATE, STEEL
Price
N/A
91
CHAIN 33 LINKS
Price
N/A
92
STRAIN RELIEF M25 TYPE-6 ST
$6.70
Enter quantity between 1 and 99
93
MOTOR CORD 10G 3W 57"
$15.70
Enter quantity between 1 and 99
94
EXT TOOTH WASHER #10
Price
N/A
95
CAP SCREW M6-1 X 12
Price
N/A
96
SET SCREW M8-1.25 X 12
Price
N/A
97
Now: PW07
FLAT WASHER 5/16
Price
N/A
97V2
FENDER WASHER 6 X 22 X 3MM V2.05.18
Price
N/A
98
SLEEVE 13.5 ID X 30 L
Price
N/A
107
LOCK WASHER 6MM
Price
N/A
108
Now: PS14M
PHLP HD SCR M6-1 X 12
Price
N/A
109
WHITE SWITCH COVER SCREW V1.12.95
Price
N/A
110
FLAT HD CAP SCR M5-.8 X 10
Price
N/A
111
SPROCKET 31T
Price
N/A
112
Now: PB09M
HEX BOLT M8-1.25 X 20
Price
N/A
113
Now: PS07M
PHLP HD SCR M4-.7 X 8
Price
N/A
114
PULLEY GUARD PLATE
Price
N/A
115
CHIP BREAKER GASKET
Price
N/A
201
MAIN TABLE
Price
N/A
202
ROLLER
Price
N/A
203
BALL BEARING 6201-2RS
Price
N/A
204
ECCENTRIC SHAFT
Price
N/A
205
SET SCREW M6-1 X 12
Price
N/A
206
THREADED GIB
Price
N/A
207
LOCK ROD
Price
N/A
208
GIB
Price
N/A
209
KNOB 6-LOBE M12-1.75, D53
Price
N/A
210
CAP SCREW M8-1.25 X 16
Price
N/A
211
EXT ROLLER BRACKET V2.03.05
Price
N/A
212
STEEL ROLLER V1.10.95
Price
N/A
212-1
BUSHING PLASTIC
$1.85
Enter quantity between 1 and 99
212-2
ROLLER ROD
$6.70
Enter quantity between 1 and 99
212V2
EXTENSION TABLE ROLLER V4.05.18
Price
N/A
213
Now: PB32M
HEX BOLT M10-1.5 X 25
Price
N/A
214
FENDER WASHER 14MM
Price
N/A
215
POINTER
Price
N/A
216
CAP SCREW M5-.8 X 10
Price
N/A
217
LOCK WASHER 5MM
Price
N/A
218
Now: PB02M
HEX BOLT M6-1 X 12
Price
N/A
219
Now: PW01M
FLAT WASHER 8MM
Price
N/A
220
EXTENSION ROLLER AXLE
Price
N/A
221
EXTENSION ROLLER BUSHING, PLASTIC
Price
N/A
301
BASE
Price
N/A
302
SET SCREW M10-1.5 X 12
Price
N/A
303
COLUMN, SECONDARY
Price
N/A
304
COLUMN, PRIMARY
Price
N/A
305
LEADSCREW 19.05-4 X 321, SECONDARY
Price
N/A
306
LEADSCREW 19.05-4 X 335, PRIMARY
Price
N/A
307
LEADSCREW NUT 19.05-4
Price
N/A
308
SPACER
Price
N/A
309
Now: PR22M
INT RETAINING RING 38MM
Price
N/A
310
Now: PK05M
KEY 4 X 4 X 10
Price
N/A
311
GEAR 24T
Price
N/A
312
Now: PR03M
EXT RETAINING RING 12MM
Price
N/A
313
BALL BEARING 6202-2RS
Price
N/A
314
Now: PR21M
INT RETAINING RING 35MM
Price
N/A
315
Now: PK08M
KEY 5 X 5 X 16
Price
N/A
316
SPROCKET 10T
Price
N/A
317
Now: PW04M
FLAT WASHER 10MM
Price
N/A
318
Now: PN08M
HEX NUT M10-1.25
Price
N/A
319
SPACER 8.2 X 22 X 3MM
Price
N/A
320
Now: PB07M
HEX BOLT M8-1.25 X 25
Price
N/A
321
IDLER BRACKET
Price
N/A
322
IDLER SHAFT
Price
N/A
323
SPROCKET 10T
Price
N/A
324
Now: PR05M
EXT RETAINING RING 15MM
Price
N/A
325
CHAIN #40 X 166
Price
N/A
326
LIFTING BAR
Price
N/A
327
Now: PR18M
EXT RETAINING RING 17MM
Price
N/A
328
DUST BOOT FLANGE
Price
N/A
329
TAP SCREW M5 X 10
Price
N/A
330
DUST BOOT
Price
N/A
331
Now: PB33M
HEX BOLT M12-1.75 X 50
Price
N/A
332
Now: PW06M
FLAT WASHER 12MM
Price
N/A
333
LOCK WASHER 12MM
Price
N/A
334
Now: PN09M
HEX NUT M12-1.75
Price
N/A
335
DUST BOOT FLANGE RING
Price
N/A
336
TAP SCREW M5 X 16
Price
N/A
337
EXTENSION WING
Price
N/A
338
Now: PB07M
HEX BOLT M8-1.25 X 25
Price
N/A
339
SET SCREW M8-1.25 X 12
Price
N/A
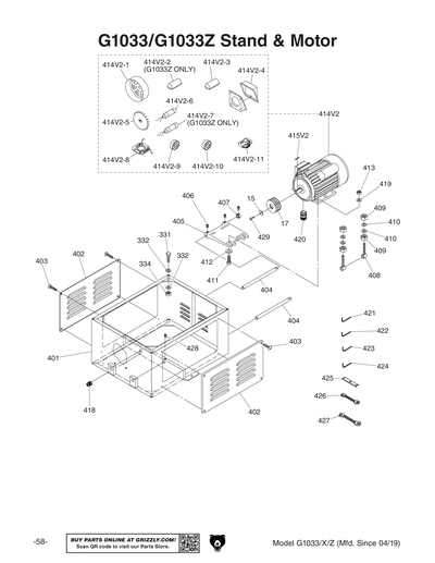
401
STAND
$293.75
Enter quantity between 1 and 99
402
MOTOR ACCESS PANEL
Price
N/A
403
FLAT HD SCR M6-1 X 20
Price
N/A
404
PLATE CONNECTING ROD
Price
N/A
405
MOTOR MOUNT PLATE
$34.80
Enter quantity between 1 and 99
406
SET SCREW M8-1.25 X 12
Price
N/A
407
COLLAR
Price
N/A
408
ROD END BOLT M12-1.75 X 105, ID 20MM
Price
N/A
409
Now: PN09M
HEX NUT M12-1.75
Price
N/A
410
Now: PW06M
FLAT WASHER 12MM
Price
N/A
411
Now: PB15M
HEX BOLT M8-1.25 X 40
Price
N/A
412
*DISCD*FENDER WASHER 8 X 22 X 3MM
Price
N/A
413
Now: PN03M
HEX NUT M8-1.25
Price
N/A
414
MOTOR 5HP 220V 1-PH 28MM SHAFT V1
$930.45
Enter quantity between 1 and 99
414-1
MOTOR FAN COVER
$14.50
Enter quantity between 1 and 99
414-2
*DISCD*MOTOR FAN
Item is no longer available
Price
N/A
414-3
CAPACITOR COVER
$7.90
Enter quantity between 1 and 99
414-4
S CAPACITOR 800M 250V 1-3/4 X 4-1/4
$39.85
Enter quantity between 1 and 99
414-5
JUNCTION BOX
$7.60
Enter quantity between 1 and 99
414V2
MOTOR 5HP 230V 1-PH V2.05.18
$652.40
Enter quantity between 1 and 99
414V2-1
MOTOR FAN COVER
$15.70
Enter quantity between 1 and 99
414V2-10
BALL BEARING 6203ZZ
Price
N/A
414V2-11
CENTRIFUGAL SWITCH
$9.40
Enter quantity between 1 and 99
414V2-2
CAPACITOR COVER (RUN)
$5.80
Enter quantity between 1 and 99
414V2-3
CAPACITOR COVER (START)
$5.80
Enter quantity between 1 and 99
414V2-4
MOTOR JUNCTION BOX
$13.05
Enter quantity between 1 and 99
414V2-5
MOTOR FAN
$5.80
Enter quantity between 1 and 99
414V2-6
R CAPACITOR 60M 350V 1-3/4 X 4-5/16
$31.15
Enter quantity between 1 and 99
414V2-7
S CAPACITOR 600M 125V 1-3/4 X 3-5/16
Price
N/A
414V2-8
CONTACT PLATE
$7.60
Enter quantity between 1 and 99
414V2-9
BALL BEARING 6205ZZ
Price
N/A
415
Now: PK36M
KEY 5 X 5 X 50
Price
N/A
415V2
Now: PK12M
KEY 5 X 5 X 30
Price
N/A
417
POWER CORD 10AWG X 3C V1
$20.85
Enter quantity between 1 and 99
417V2
POWER CORD 12G 3W 138" L6-30P V2.05.18
$42.60
Enter quantity between 1 and 99
418
STRAIN RELIEF M25 TYPE-6 ST
Price
N/A
419
Now: PW01M
FLAT WASHER 8MM
Price
N/A
420
STRAIN RELIEF TYPE-3 M25-1.5
Price
N/A
421
HEX WRENCH 3MM
Price
N/A
422
HEX WRENCH 4MM
Price
N/A
423
HEX WRENCH 5MM
Price
N/A
424
HEX WRENCH 6MM
Price
N/A
425
FLAT WRENCH 10 X 13MM OPEN-ENDS
Price
N/A
426
WRENCH 12 X 14MM OPEN-ENDS
Price
N/A
427
WRENCH 17 X 19MM OPEN-ENDS
Price
N/A
428
SET SCREW M8-1.25 X 16
Price
N/A
501
GEAR BOX V2.04.05
Price
N/A
501A
GEARBOX ASSEMBLY V2.05.18
Price
N/A
501AV2
GEARBOX ASSEMBLY V2.05.18
Price
N/A
501AV3
GEARBOX ASSEMBLY V3.10.24
$455.95
Enter quantity between 1 and 99
501V2
GEAR BOX
Price
N/A
502
OIL SEAL 28 X 40 X 8
Price
N/A
503
BALL BEARING 6204ZZ
Price
N/A
504
GEAR 16T V2.12.97
Price
N/A
505
CAP SCREW M6-1 X 20
Price
N/A
505V2
CAP SCREW M6-1 X 25
Price
N/A
506
*DISCD*FLAT WASHER 6 X 20 X 3MM
Price
N/A
507
CAP SCREW M6-1 X 12
Price
N/A
508
BALL BEARING 6201ZZ
Price
N/A
509
GEAR 47T V2.04.99
Price
N/A
510
GEARED SHAFT 18T V2.10.97
Price
N/A
511
Now: PK10M
KEY 5 X 5 X 12
Price
N/A
512
GEAR 71T
Price
N/A
513
Now: PK06M
KEY 5 X 5 X 10
Price
N/A
514
GEARED SHAFT 22T/18T
Price
N/A
514V2
GEARED SHAFT 28T/18T V2.02.19
Price
N/A
517
COMBO GEAR 92T/96T
Price
N/A
517V2
COMBO GEAR 86T/96T V2.02.19
Price
N/A
520
Now: PK11M
KEY 6 X 6 X 40
Price
N/A
521
STEEL BALL 6MM
Price
N/A
522
COMPRESSION SPRING 0.6 X 5.9 X 16
Price
N/A
523
SHAFT
Price
N/A
524
OIL SEAL 25 X 47 X 6
Price
N/A
525
SPROCKET 12T W/KEY V2.02.98
Price
N/A
526
Now: PK21M
KEY 5 X 5 X 23
Price
N/A
527
CHAIN 25 LINKS
Price
N/A
528
Now: PB18M
HEX BOLT M6-1 X 15
Price
N/A
529
SHIFTING FORK
Price
N/A
530
SHIFTING SHAFT
Price
N/A
531
Now: PW03M
FLAT WASHER 6MM
Price
N/A
532
Now: PB02M
HEX BOLT M6-1 X 12
Price
N/A
533
O-RING 12 X 1.5 S12.5
Price
N/A
534
KNOB 3/8-16, D1-1/4, BALL
Price
N/A
535
LOCATING PIN 8 X 7.55 X 7.95
Price
N/A
536
GASKET
Price
N/A
537
GEAR CASE
Price
N/A
537V2
GEARBOX COVER V2.05.18
Price
N/A
538
CAP SCREW M6-1 X 25
Price
N/A
539
OIL PLUG
Price
N/A
539V2
OIL PLUG 1/4 NPT X 3/4" V2.05.18
Price
N/A
540
CAP SCREW M8-1.25 X 50
Price
N/A
601
SPROCKET 31T
Price
N/A
601V2
SPROCKET 31T V2.05.18
Price
N/A
602
*DISCD*FENDER WASHER 6 X 20 X 3MM
Price
N/A
603
Now: PB83M
HEX BOLT M6-1 X 16
Price
N/A
604
SPROCKET 31T
Price
N/A
604V2
SPROCKET 31T V2.05.18
Price
N/A
605
ROLL PIN 6 X 20
Price
N/A
606
CHAIN 33 LINKS
Price
N/A
607
CAP SCREW M6-1 X 10
Price
N/A
608
CHAIN TENSIONER
Price
N/A
609
SHAFT
Price
N/A
610
HANGER
Price
N/A
611
HELICAL SPRING 1 X 33
Price
N/A
612
SPACER 8.2 X 22 X 3MM
Price
N/A
613
OUTER CHAIN TENSIONER
Price
N/A
613V2
OUTER CHAIN TENSIONER V2.10.24
$5.35
Enter quantity between 1 and 99
614
SPROCKET 12T W/KEY V2.02.98
Price
N/A
615
CHAIN 25 LINKS
Price
N/A
616
CAP SCREW M6-1 X 35
Price
N/A
617
Now: PW03M
FLAT WASHER 6MM
Price
N/A
618
Now: PK21M
KEY 5 X 5 X 23
Price
N/A
619
CHAIN TENSIONER
Price
N/A
620
CHAIN TENSIONER
Price
N/A
621
OUTER CHAIN TENSIONER
Price
N/A
622
OUTER CHAIN TENSIONER
Price
N/A
623
HELICAL SPRING 1 X 33
Price
N/A
624
BUTTON HD CAP SCR M6-1 X 10
Price
N/A
625
BUSHING 6.2 x 10.2 X 11
Price
N/A
700
MACHINE ID LABEL V1
$16.40
Enter quantity between 1 and 99
700V2
MACHINE ID LABEL V2.08.18
$16.40
Enter quantity between 1 and 99
700V3
MACHINE ID LABEL V3.02.19
$16.40
Enter quantity between 1 and 99
701
READ MANUAL 2W X 3.3H V2.07.05
Price
N/A
702
EYE/EAR/LUNG 2W X 3.3H
Price
N/A
703
ELECTRICITY 1.4W X 1.2H
Price
N/A
704
BELT COVER WARNING LABEL V2.05.18
Price
N/A
705
DISCONNECT 110V 2W X 3.3H
Price
N/A
706
ADD OIL NOTICE
Price
N/A
707
SHIFT GEARBOX NOTICE
Price
N/A
707V2
SHIFT GEARBOX NOTICE V2.02.19
Price
N/A
708
MODEL NUMBER LABEL
$16.40
Enter quantity between 1 and 99
709
GREY PUTTY REF G0504
Price
N/A
710
N/S GRIZZLY GREEN G1023S
Price
N/A
711
***USE PGZCOM-36B***
Price
N/A
712
Now: G8589
Nameplate - Large
Price
N/A
MAN
MANUAL G1033Z MFD-03.05-02.18 V1.03.05
$11.50
Enter quantity between 1 and 99
MANV2
MANUAL G1033/X/Z MFD-03.18+ V2.11.18
Price
N/A
MANV3
MANUAL G1033/X/Z MFD-2.19-3.19 V3.02.19
Price
N/A
MANV4
MANUAL G1033/X/Z MFD-04.19+ V4.04.19
Price
N/A