Parts for G1066 24" Drum Sander

Parts Diagrams for G1066 - 24" Drum Sander

IMPORTANT

Parts may have multiple versions that have changed over time. This will be indicated by V1, V2, V3, etc. in the parts description, followed by the version month and year that it was first used. Example: V2.01.17 indicates version 2 of a part went into use in January 2017. Please reference the manufacture date on the ID Label for your machine to ensure you are selecting the correct part when multiple versions are indicated.

If you cannot locate your part below, please contact our tech support department at techsupport@grizzly.com or 570-546-9663.

Please note: All parts ship out of our Springfield, Missouri facility.

Parts List for Parts for G1066 24" Drum Sander

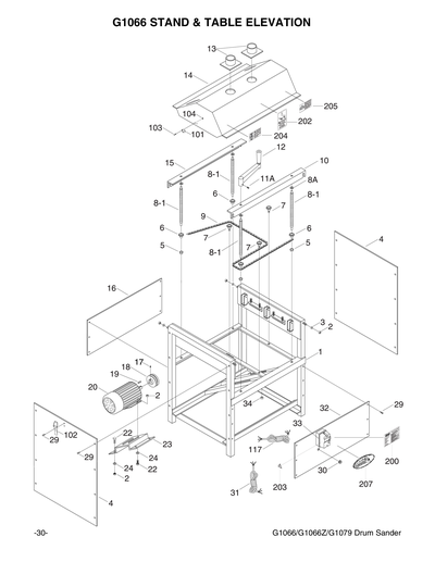
1
FRAME
Item is no longer available
Price
N/A
2
Now: PN08
HEX NUT 3/8-16
Price
N/A
3
Now: PW02
FLAT WASHER 3/8
Price
N/A
4
SIDE PANEL
$68.85
Enter quantity between 1 and 99
5
*DISCD*BUSHING
Item is no longer available
Price
N/A
5-1
BRASS SHIM
$1.49
Enter quantity between 1 and 99
6
SPROCKET
$13.05
Enter quantity between 1 and 99
7
SPROCKET
$5.05
Enter quantity between 1 and 99
7-1
SHAFT
$4.85
Enter quantity between 1 and 99
8
*DISCD*TABLE SCREW COARSE THREADS
Item is no longer available
Price
N/A
8-1
TABLE SCREW FINE THREADS 3/4-16
$23.35
Enter quantity between 1 and 99
8A
TABLE SCREW SHIM 1/2 X 27 X 1
$3.65
Enter quantity between 1 and 99
9
CHAIN
$39.85
Enter quantity between 1 and 99
10
FRONT BRACE
$45.35
Enter quantity between 1 and 99
11
Now: PSS28
SET SCREW 5/16-24 X 3/8
Price
N/A
11A
Now: PSS28
SET SCREW 5/16-24 X 3/8
Price
N/A
12
COMPLETE CRANK HANDLE ASSY
$22.85
Enter quantity between 1 and 99
12-1
CRANK W/O HANDLE
Price
N/A
12-2
HANDLE W/SCREW V1
Price
N/A
12A
CRANK W/O HANDLE
$6.70
Enter quantity between 1 and 99
13
Now: W1010
Universal Dust Port
Price
N/A
14
HOOD V1
$108.70
Enter quantity between 1 and 99
14V2
*DISCD*HOOD V2.09.22
Item is no longer available
Price
N/A
15
REAR BRACE
$45.35
Enter quantity between 1 and 99
16
REAR PANEL
$63.45
Enter quantity between 1 and 99
17
Now: PSS07
SET SCREW 1/4-20 X 1/2
Price
N/A
18
MOTOR PULLEY
$38.40
Enter quantity between 1 and 99
19
Now: PK36M
KEY 5 X 5 X 50
Price
N/A
20
DRIVE MOTOR 5HP 220V 1-PH
$741.20
Enter quantity between 1 and 99
20-1
MOTOR FAN
Price
N/A
20-2
MOTOR FAN COVER
$7.60
Enter quantity between 1 and 99
21
Now: PN08
HEX NUT 3/8-16
Price
N/A
22
Now: PB21
HEX BOLT 3/8-16 X 3/4
Price
N/A
23
BRACKET
$34.15
Enter quantity between 1 and 99
24
Now: PW02
FLAT WASHER 3/8
Price
N/A
25
Now: PB21
HEX BOLT 3/8-16 X 3/4
Price
N/A
26
Now: PW02
FLAT WASHER 3/8
Price
N/A
27
Now: PN08
HEX NUT 3/8-16
Price
N/A
28
SIDE PANEL
Price
N/A
29
TAP SCREW #6 X 1/2
Price
N/A
30
GROMMET 35 X 26MM
$3.65
Enter quantity between 1 and 99
31
POWER CORD 12G X 3W 86"L
Price
N/A
32
FRONT PANEL
$68.55
Enter quantity between 1 and 99
33
5 HP 220V Magnetic Switch Single-Phase
Price
N/A
34
Now: PN02
HEX NUT 5/16-18
Price
N/A
35
*DISCD*SQUARE NUT COARSE THREAD
Item is no longer available
Price
N/A
35-1
HEX NUT 3/4-16 1-1/4"DIA
Price
N/A
35A
HEX NUT 3/4-16 1-1/4"DIA
$4.85
Enter quantity between 1 and 99
36
*DISCD*TABLE FRAME
Item is no longer available
Price
N/A
37
Now: PW07
FLAT WASHER 5/16
Price
N/A
38
Now: PLN02
LOCK NUT 1/4-20
Price
N/A
39
FEED MOTOR 1/4HP 220V 1-PH
$380.35
Enter quantity between 1 and 99
39-1
R CAPACITOR 12M 350V 1-1/2 X 2
$21.20
Enter quantity between 1 and 99
39-2
GEAR 45T FOR FEED MOTOR
$12.65
Enter quantity between 1 and 99
39-3
BALL BEARING 6072-OPEN
Price
N/A
39-4
PINION FOR FEED MOTOR
$17.25
Enter quantity between 1 and 99
39-5
FEED MOTOR ROTOR
$33.10
Enter quantity between 1 and 99
39-6
GEAR 7T FEED MOTOR
$13.30
Enter quantity between 1 and 99
39-8
***SEE EXT. DESCRIPTION***
Item is no longer available
Price
N/A
39A
R CAPACITOR 12M 350V 1-1/2 X 2
Price
N/A
39B
GEAR 45T FOR FEED MOTOR
Price
N/A
39C
BALL BEARING 6072-OPEN
Price
N/A
39D
PINION FOR FEED MOTOR
Price
N/A
39E
FEED MOTOR ROTOR
Price
N/A
40
Now: PW07
FLAT WASHER 5/16
Price
N/A
41
Now: PN02
HEX NUT 5/16-18
Price
N/A
42
Now: PK34M
KEY 5 X 5 X 20
Price
N/A
43
CHAIN
$36.45
Enter quantity between 1 and 99
44
SPROCKET
$8.35
Enter quantity between 1 and 99
45
Now: PSS07
SET SCREW 1/4-20 X 1/2
Price
N/A
46
MOTOR BRACKET
$26.00
Enter quantity between 1 and 99
47
CAP SCREW 3/8-16 X 3/4
Price
N/A
48
Now: PW07
FLAT WASHER 5/16
Price
N/A
49
Now: PB03
HEX BOLT 5/16-18 X 1
Price
N/A
50
GUARD HINGED LEFT
Price
N/A
50A
GUARD HINGED LEFT
$15.70
Enter quantity between 1 and 99
51
ROLLER BRACKET
$20.50
Enter quantity between 1 and 99
52
Now: PFH10
FLAT HD SCR 1/4-20 X 1-3/4
Price
N/A
53
Now: PFH11
FLAT HD SCR 1/4-20 X 2-3/8
Price
N/A
54
Now: PW07
FLAT WASHER 5/16
Price
N/A
55
Now: PLN02
LOCK NUT 1/4-20
Price
N/A
56
*DISCD*TABLE BRACKET
Item is no longer available
Price
N/A
57
ROLLER BRACKET
Price
N/A
57A
ROLLER BRACKET
Price
N/A
58
CAP SCREW 1/4-20 X 3/4
Price
N/A
59
GUARD RIGHT
$15.70
Enter quantity between 1 and 99
59A
HINGED GUARD RIGHT
$12.75
Enter quantity between 1 and 99
60
ROLLER BRACKET BOLT 1/2-13 X 70
$4.95
Enter quantity between 1 and 99
61
BUSHING SUPPORT
$4.75
Enter quantity between 1 and 99
62
BUSHING
$6.10
Enter quantity between 1 and 99
64
PLATE
$6.60
Enter quantity between 1 and 99
65
DRIVE ROLLER KNURLED 24 IN
Price
N/A
65A
DRIVE ROLLER KNURLED 24 IN
$68.75
Enter quantity between 1 and 99
65B
IDLE ROLLER SMOOTH 24 IN
$54.80
Enter quantity between 1 and 99
66
*DISCD*TABLE 3ROW 12HOLE 1-3/8" THICK
Item is no longer available
Price
N/A
67
Now: PSS07
SET SCREW 1/4-20 X 1/2
Price
N/A
68
SPROCKET
$15.45
Enter quantity between 1 and 99
69
CONVEYOR BELT
$144.60
Enter quantity between 1 and 99
70
PRESSURE ROLLER
$129.25
Enter quantity between 1 and 99
71
*DISCD*SANDING DRUM
Item is no longer available
Price
N/A
72
PRESSURE ROLLER
Price
N/A
73
Now: PR08M
EXT RETAINING RING 19MM
Price
N/A
74
BUSHING
Price
N/A
75
*DISCD*EYE BOLT
$1.49
Enter quantity between 1 and 99
76
CLIP
$3.65
Enter quantity between 1 and 99
77
TENSION WHEEL
$27.75
Enter quantity between 1 and 99
78
Now: PFH17
FLAT HD ALLEN SCR 1/4-20 X 1/2
Price
N/A
79
PILLOW BLOCK BEARING UCP205
Price
N/A
80
Now: PB16
HEX BOLT 3/8-16 X 1-1/2
Price
N/A
81
BEARING BLOCK
Price
N/A
81A
BEARING BLOCK
$25.90
Enter quantity between 1 and 99
81B
*DISCD*TAPPED BEARING BLOCK
Item is no longer available
Price
N/A
82
BEARING BLOCK PLATE, TAPPED
$11.10
Enter quantity between 1 and 99
83
GREASE FITTING M6-1 X 5
Price
N/A
85
Now: PW02
FLAT WASHER 3/8
Price
N/A
86
Now: PLN01
LOCK NUT 3/8-16
Price
N/A
87
TENSION SPRING
$2.60
Enter quantity between 1 and 99
88
COMPRESSION SPRING
$2.45
Enter quantity between 1 and 99
89
Now: PB05M
HEX BOLT M6-1 X 8
Price
N/A
90
PRESSURE ROLLER BRACKET W/ FOOT
$10.65
Enter quantity between 1 and 99
90A
BRACKET
Price
N/A
91
Now: PLN02
LOCK NUT 1/4-20
Price
N/A
92
Now: G2787
6" x 50' A/O Sanding Roll 60-X Grit, Cloth
Price
N/A
93
Now: PSS09
SET SCREW 3/8-16 X 1/2
Price
N/A
94
DRUM PULLEY
$68.85
Enter quantity between 1 and 99
95
Now: PK42M
KEY 6 X 6 X 30
Price
N/A
97
SET SCREW M6-1 X 8
Price
N/A
98
Now: PVB67
V-BELT B67
Price
N/A
99
*DISCD*FELT 19 X 24 IN
Item is no longer available
Price
N/A
100
*DISCD*RUBBER BUSHING
Item is no longer available
Price
N/A
101
STRIKE
Price
N/A
102
LATCH
Price
N/A
103
Now: PS23
PHLP HD SCR 8-32 X 1/4
Price
N/A
104
Now: PN14
HEX NUT 8-32
Price
N/A
105
Now: PSS23
SET SCREW 5/16-24 X 5/8
Price
N/A
106
Now: PN05
HEX NUT 1/4-20
Price
N/A
107
Now: PB05
HEX BOLT 1/4-20 X 3/4
Price
N/A
108
GEAR 7T FEED MOTOR
Price
N/A
109
Now: PK65M
KEY 4 X 4 X 8
Price
N/A
115
SPRING PLATE
$3.65
Enter quantity between 1 and 99
116
DUST SCOOP DEFLECTOR
$32.65
Enter quantity between 1 and 99
117
POWER CORD 12G X 3W 36"L
Price
N/A
200
*DISCD*WARNING LABEL
Item is no longer available
Price
N/A
201
SAFETY GLASSES 2W X 3.3H V2.04.08
Price
N/A
202
DISCONNECT SANDER 220V 2W X 3.3H
Price
N/A
203
ELECTRICITY 1.4W X 1.2H
Price
N/A
204
FEED ONLY ONE 5.3W X 2.8H V2.04.08
Price
N/A
205
SANDER REAR EJECT 5.3W X 2.8H V2.04.08
Price
N/A
206
READ MANUAL 2W X 3.3H V2.07.05
Price
N/A
207
Now: G8589
Nameplate - Large
Price
N/A
900
CARTON FOR G1066
Item is no longer available
Price
N/A
901
STYROFOAM 2PC
Item is no longer available
Price
N/A
A147
SANDER BELT PINCH 4W X 2.1H
Price
N/A
MANUAL
MANUAL FOR G1066/Z/R/G1079 06/12
$21.95
Enter quantity between 1 and 99