Parts for G1073Z 16" Bandsaw (Best on the Market) - Cabinet Stand Version

Parts Diagrams for G1073Z - 16" Bandsaw (Best on the Market) - Cabinet Stand Version

IMPORTANT

Parts may have multiple versions that have changed over time. This will be indicated by V1, V2, V3, etc. in the parts description, followed by the version month and year that it was first used. Example: V2.01.17 indicates version 2 of a part went into use in January 2017. Please reference the manufacture date on the ID Label for your machine to ensure you are selecting the correct part when multiple versions are indicated.

If you cannot locate your part below, please contact our tech support department at techsupport@grizzly.com or 570-546-9663.

Please note: All parts ship out of our Springfield, Missouri facility.

Parts List for Parts for G1073Z 16" Bandsaw (Best on the Market) - Cabinet Stand Version

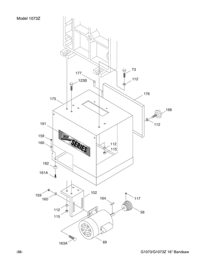
1
CASTING BODY
Price
N/A
2
TABLE
Price
N/A
3
*DISCD*TRUNNION SUPPORT
Price
N/A
4
*DISCD*TRUNNION
Price
N/A
5
TRUNNION CLAMP
Price
N/A
6A
*DISCD*KNOB SCREW 3/8-16
Price
N/A
6B
*DISCD*TRUNNION KNOB THREADED
Price
N/A
7
SUPPORT BRACKET V1.10.95
Price
N/A
8
*DISCD*GUIDE BLOCK HOLDER
Price
N/A
9
BLADE GUIDE BLOCK ROUND
Price
N/A
10
*DISCD*BEARING ARBOR UPPER
Price
N/A
11
*DISCD*BEARING ARBOR LOWER
Price
N/A
12
*DISCD*ADJUST NUT 5/16-24
Price
N/A
13
*DISCD*UPPER SUPPORT BRACKET V1.10.95
Price
N/A
14
*DISCD*ECCENTRIC GUIDE POST
Price
N/A
15
*DISCD*GUIDE POST BRACKET
Price
N/A
16
SLIDING BRACKET
Price
N/A
17
*DISCD*SHAFT HINGE ASSY
Price
N/A
18
STEEL PIN
Price
N/A
20
BRACKET WASHER 5/8 X 30 X 27
Price
N/A
20A
SHIM 3/4"
Price
N/A
21
SLIDING GIB
Price
N/A
22
*DISC*UPPER WHEEL
Price
N/A
23
LOWER WHEEL
Price
N/A
24
SHAFT LOWER V2.05.98
Price
N/A
25
*DISCD*KNOB
Price
N/A
28
Now: PSS08
SET SCREW 5/16-18 X 1/2
Price
N/A
29
*DISCD*ADJUST SCREW 5/16-18
Price
N/A
30
ADJUST SCREW CAP
Price
N/A
31
BLADE GUARD
Price
N/A
32
TABLE INSERT
Price
N/A
34
INDICATOR
Price
N/A
35
*DISCD*BLADE TENSION KNOB V1.10.95
Price
N/A
36
THRUST BEARING 51100
Price
N/A
37
*DISCD*SPRING 25 X 72
Price
N/A
38
DEGREE PLATE
Price
N/A
39
THUMBSCREW 1/4-20 X 1/2
Price
N/A
40
*DISCD*FENCE HEADSTOCK
Price
N/A
41
*DISCD*CLAMP SHOE
Price
N/A
42
*DISCD*PIN
Price
N/A
43
*DISCD*CAM
Price
N/A
44
*DISCD*HANDLE
Price
N/A
45
*DISCD*SPRING 16 X 34
Price
N/A
46
*DISCD*DRAWBAR
Price
N/A
47
*DISCD*DRAWBAR NUT
Price
N/A
48
*DISCD*FENCE
Price
N/A
49
*DISCD*BLOCK
Price
N/A
50
*DISCD*LEVER
Price
N/A
51
ROLL PIN 4 X 20
Price
N/A
52
*DISCD*SPRING 10 X 26
Price
N/A
53
*DISCD*CLAMP HOOK
Price
N/A
54
*DISCD*GUIDE RAIL
Price
N/A
55
SPACER
Price
N/A
56
GUIDE RAIL PLUG
Price
N/A
57
CAST IRON WHEEL PULLEY
Price
N/A
58
MOTOR PULLEY V2.11.98
Price
N/A
59
PULLEY COVER
Price
N/A
60
STAND TOP V2.09.98
Price
N/A
60A
STAND LEG
Price
N/A
60B
SHORT CROSS BRACE V2.09.98
Price
N/A
60C
CROSS BRACE LONG V2.09.98
Price
N/A
61
*DISCD*UPPER COVER
Price
N/A
62
*DISCD*LOWER COVER
Price
N/A
63
TIRE
Price
N/A
64
BALL BEARING 6200-2RS
Price
N/A
65
BALL BEARING 6204-2RS
Price
N/A
66
BALL BEARING 6202-2RS
Price
N/A
67
Now: PVM50
V-BELT M50 3L500
Price
N/A
68
***SEE EXT. DESCRIPTION***
Price
N/A
69
*DISCD*MOTOR 2HP 110V/220V 1-PH
Price
N/A
70
*DISCD*PIN
Price
N/A
71
Now: PB03
HEX BOLT 5/16-18 X 1
Price
N/A
72
Now: PB06
HEX BOLT 5/16-18 X 2
Price
N/A
73
Now: PB16
HEX BOLT 3/8-16 X 1-1/2
Price
N/A
74
Now: PB25
HEX BOLT 3/8-16 X 1-3/4
Price
N/A
75
CAP SCREW 1/4-20 X 1-1/4
Price
N/A
76
LOCK KNOB
Price
N/A
77
CAP SCREW 5/16-18 X 1-3/4
Price
N/A
78
*DISCD*RACKING ADJUST NUT 5/16-18
Price
N/A
79
Now: PK34M
KEY 5 X 5 X 20
Price
N/A
80
Now: PK15M
KEY 5 X 5 X 35
Price
N/A
81B
NUT 3/4-16 RH
Price
N/A
82
Now: PB19
HEX BOLT 1/4-20 X 1/2
Price
N/A
83A
NUT 3/4-16 LH
Price
N/A
85
CAP SCREW 5/16-18 X 3/4
Price
N/A
87
Now: PS07
PHLP HD SCR 1/4-20 X 3/8
Price
N/A
88
CAP SCREW 1/4-20 X 1-1/4
Price
N/A
89
CAP SCREW 5/16-18 X 1/2
Price
N/A
90
COLLAR
Price
N/A
91
Now: PSS07
SET SCREW 1/4-20 X 1/2
Price
N/A
92
Now: PSS07
SET SCREW 1/4-20 X 1/2
Price
N/A
93
Now: PR01M
EXT RETAINING RING 10MM
Price
N/A
95
Now: PS07
PHLP HD SCR 1/4-20 X 3/8
Price
N/A
98
LATCH
Price
N/A
99
STRIKE
Price
N/A
100A
Now: PCB02
CARRIAGE BOLT 5/16-18 X 1/2
Price
N/A
101
*DISCD*TRACKING KNOB
Price
N/A
102
MOTOR MOUNT BRACKET FOR 2HP MOTOR
Price
N/A
103
NAME PLATE
Price
N/A
104
*DISCD*BEARING SPACER
Price
N/A
105
CAP SCREW 1/4-20 X 3/4
Price
N/A
106
TENSION BRACKET
Price
N/A
107
Now: PS22
PHLP HD SCR 10-24 X 5/8
Price
N/A
108
*DISCD*QUICK DISCONNECT CORD MALE
Price
N/A
109
QUICK DISCONNECT CORD FEMALE
Price
N/A
110
Now: PN01
HEX NUT 1/2-20
Price
N/A
111
Now: PB18
HEX BOLT 3/8-16 X 1
Price
N/A
112
Now: PW02
FLAT WASHER 3/8
Price
N/A
113
Now: PB19
HEX BOLT 1/4-20 X 1/2
Price
N/A
114
Now: PW06
FLAT WASHER 1/4
Price
N/A
115
Now: PN08
HEX NUT 3/8-16
Price
N/A
116
E-CLIP 7MM
Price
N/A
117
Now: PSS07
SET SCREW 1/4-20 X 1/2
Price
N/A
118
Now: PS23
PHLP HD SCR 8-32 X 1/4
Price
N/A
119
Now: PW07
FLAT WASHER 5/16
Price
N/A
120
Now: PLW01
LOCK WASHER 5/16
Price
N/A
121
Now: PN14
HEX NUT 8-32
Price
N/A
122
TAP SCREW #6 X 1/2
Price
N/A
123A
Now: PB67
HEX BOLT 3/8-16 X 7/8
Price
N/A
124
Now: PN07
HEX NUT 10-24
Price
N/A
125
Now: PN05
HEX NUT 1/4-20
Price
N/A
126
*DISCD*BRUSH
Price
N/A
127
MOUNT BRACKET
Price
N/A
128
TAP SCREW #6 X 1/2"
Price
N/A
129
Now: PW02
FLAT WASHER 3/8
Price
N/A
130
Now: PS07
PHLP HD SCR 1/4-20 X 3/8
Price
N/A
131
Now: W1042
2-1/2" Universal Dust Port for Shop-Vac & Sears
Price
N/A
132
*DISCD*UPPER SUPPORT BRACKET V1.10.95
Price
N/A
133
*DISCD*UPPER SUPPORT BRACKET V1.10.95
Price
N/A
134
Now: PW07
FLAT WASHER 5/16
Price
N/A
135
Now: PW02
FLAT WASHER 3/8
Price
N/A
136
RIVET 2 X 5MM NAMEPLATE, STEEL
Price
N/A
137
Now: PS24
PHLP HD SCR 8-32 X 3/8
Price
N/A
138
Now: PN05
HEX NUT 1/4-20
Price
N/A
139
Now: PW07
FLAT WASHER 5/16
Price
N/A
140
Now: PN02
HEX NUT 5/16-18
Price
N/A
141
Now: PB03
HEX BOLT 5/16-18 X 1
Price
N/A
142
Now: PW07
FLAT WASHER 5/16
Price
N/A
154
MITER GAUGE BODY V1.12.95
Price
N/A
155
Now: PN07
HEX NUT 10-24
Price
N/A
156
Now: PS08
PHLP HD SCR 10-24 X 3/4
Price
N/A
157
MITER HINGE PIN V1.12.95
Price
N/A
158
MITER BAR
Price
N/A
159
Now: PN02
HEX NUT 5/16-18
Price
N/A
160
Now: PW07
FLAT WASHER 5/16
Price
N/A
161A
Now: PCB11
CARRIAGE BOLT 5/16-18 X 1
Price
N/A
162
FOOT
Price
N/A
163A
Now: PCB11
CARRIAGE BOLT 5/16-18 X 1
Price
N/A
164
Now: PK15M
KEY 5 X 5 X 35
Price
N/A
165
STRAIN RELIEF M15 TYPE-2
Price
N/A
166
KNOB
$5.50
Enter quantity between 1 and 99
167
SPACER
Price
N/A
168
Now: G8988
Safety Paddle Switch
Price
N/A
169
ID/WARNING LABEL
Price
N/A
170
BANDSAW BLADE 2W X 3.3H V2.04.08
Price
N/A
171
DO NOT OPEN LABEL
Price
N/A
172
ELECTRICITY 1.4W X 1.2H
Price
N/A
173
SWITCH PLATE
Price
N/A
174
*DISCD*SWITCH COVER
Price
N/A
175
*DISCD*CABINET
Item is no longer available
Price
N/A
176
CABINET COVER
$25.40
Enter quantity between 1 and 99
177
HINGE SHAFT
$4.35
Enter quantity between 1 and 99
178
COMPLETE MITER GAUGE ASSY
Price
N/A
179
Now: PSS29
SET SCREW 10-24 X 1/4
Price
N/A
180
MITER GAUGE STOP
Price
N/A
181
*DISCD*POINTER
Price
N/A
182
MITER GAUGE SCALE
Price
N/A
183
Now: PW06
FLAT WASHER 1/4
Price
N/A
184
MITER GAUGE HANDLE V2.10.01
Price
N/A
185
Now: G9987
Nameplate - Mini
Price
N/A
191
Z SERIES 11.7W X 2.8H
Price
N/A
301
CABINET STAND ASSY W/MOTOR 2HP 110V/220V
$323.35
Enter quantity between 1 and 99
500
CARTON FOR G1073Z
Item is no longer available
Price
N/A
MANUAL
MANUAL FOR G1073/Z 10/02
Price
N/A
STAND
CABINET STAND ASSY W/MOTOR 2HP 110V/220V
Price
N/A