Parts for G3104 6" x 18" Surface Grinder

Parts Diagrams for G3104 - 6" x 18" Surface Grinder

IMPORTANT

Parts may have multiple versions that have changed over time. This will be indicated by V1, V2, V3, etc. in the parts description, followed by the version month and year that it was first used. Example: V2.01.17 indicates version 2 of a part went into use in January 2017. Please reference the manufacture date on the ID Label for your machine to ensure you are selecting the correct part when multiple versions are indicated.

If you cannot locate your part below, please contact our tech support department at techsupport@grizzly.com or 570-546-9663.

Please note: All parts ship out of our Springfield, Missouri facility.

Parts List for Parts for G3104 6" x 18" Surface Grinder

1
KNOB M10-1.5, 7 LOBE, D40
Price
N/A
2
HANDWHEEL W/HANDLE, ALUMINUM V2.01.14
Price
N/A
2V2
HANDWHEEL W/HANDLE, ALUMINUM V2.01.14
Price
N/A
2V3
HANDWHEEL W/HANDLE, PLASTIC V3.06.22
$22.35
Enter quantity between 1 and 99
3
GRADUATED DIAL
$64.70
Enter quantity between 1 and 99
4
INDICATOR RING
$27.70
Enter quantity between 1 and 99
5
Now: PN15M
HEX NUT M18-1.5
Price
N/A
6
SPANNER NUT M40-1.5
$4.00
Enter quantity between 1 and 99
7
Now: G3850
Bearing - 35mm x 17mm
Price
N/A
8
BEARING HOUSING
$37.40
Enter quantity between 1 and 99
9
CROSS FEED LEADSCREW W/NUT 27-601/1
$133.70
Enter quantity between 1 and 99
10
CROSS FEED LEADSCREW W/NUT 27-601/1
Price
N/A
11
LIFTING NUT M30 X 2.5
$24.45
Enter quantity between 1 and 99
11V2
EYE BOLT 1-1/4", M20-2.5 X 30 V2.07.14
$17.90
Enter quantity between 1 and 99
12
SQUARE HEAD BOLT M20-2.5 X 90 DOG-PT
$24.45
Enter quantity between 1 and 99
13
IRON PAD
$19.45
Enter quantity between 1 and 99
14
$1,625.85
Enter quantity between 1 and 99
15
REAR COVER
$230.95
Enter quantity between 1 and 99
16
KNOB M10-1.5, 7 LOBE, D40
$4.50
Enter quantity between 1 and 99
17
HANDWHEEL W/HANDLE, ALUMINUM V2.01.14
Price
N/A
17V2
HANDWHEEL W/HANDLE, ALUMINUM V2.01.14
Price
N/A
17V3
HANDWHEEL W/HANDLE, PLASTIC V3.06.22
Price
N/A
18
GRADUATED DIAL
$64.70
Enter quantity between 1 and 99
19
INDICATOR RING
$27.70
Enter quantity between 1 and 99
20
Now: PN15M
HEX NUT M18-1.5
Price
N/A
21
BALL BEARING 6204ZZ
Price
N/A
22
BEARING HOUSING
$70.85
Enter quantity between 1 and 99
23
SHAFT
$119.35
Enter quantity between 1 and 99
24
BALL BEARING 6204ZZ
Price
N/A
25
BALL BEARING 6204ZZ
Price
N/A
26
BEVEL GEAR
$145.60
Enter quantity between 1 and 99
27
GEAR HOUSING
$79.45
Enter quantity between 1 and 99
28
Now: PB26M
HEX BOLT M8-1.25 X 30
Price
N/A
29
Now: P8108
THRUST BEARING 8108
Price
N/A
30
BEVEL GEAR
$225.70
Enter quantity between 1 and 99
31
VERTICAL LEADSCREW NUT M26 X 2.5
Price
N/A
32
SPANNER NUT M39-1.5
$7.95
Enter quantity between 1 and 99
33
GRINDING WHEEL BOLT
$12.25
Enter quantity between 1 and 99
34
GRINDING WHEEL
$42.45
Enter quantity between 1 and 99
34-1
GRINDING WHEEL HUB ASSEMBLY
Price
N/A
35
GRINDING WHEEL HUB ASSEMBLY
$71.90
Enter quantity between 1 and 99
35-1
GRINDING WHEEL HUB ASSEMBLY
Price
N/A
35-2
WHEEL BALANCING WEIGHT
$4.35
Enter quantity between 1 and 99
36
GRINDING WHEEL GUARD
$232.60
Enter quantity between 1 and 99
37
CAP SCREW M6-1 X 10
Price
N/A
38
CHIP GUARD PLATE
$96.70
Enter quantity between 1 and 99
39
LARGE CHIP GUARD
$48.90
Enter quantity between 1 and 99
40
MEDIUM CHIP GUARD
$42.45
Enter quantity between 1 and 99
41
SMALL CHIP GUARD
$34.20
Enter quantity between 1 and 99
42
SPINDLE
$690.00
Enter quantity between 1 and 99
43
CLUTCH 22MM ID V1
$43.90
Enter quantity between 1 and 99
43V2
CLUTCH V2.11.13
$30.20
Enter quantity between 1 and 99
44
CROSS PAD 10MM V1
$10.10
Enter quantity between 1 and 99
44V2
CROSS PAD 20MM V2.11.13
$4.35
Enter quantity between 1 and 99
45
CLUTCH 19MM ID V1
$54.85
Enter quantity between 1 and 99
45V2
CLUTCH V2.11.13
$30.20
Enter quantity between 1 and 99
46
ROLL PIN 6 X 30
Price
N/A
47
BALL BEARING 6008ZZ
Price
N/A
48
ROLL PIN 6 X 40
Price
N/A
49
SPINDLE HOUSING
$521.15
Enter quantity between 1 and 99
50
LEADSCREW SLEEVE
$11.50
Enter quantity between 1 and 99
51
ROLL PIN 5 X 30
Price
N/A
52
VERTICAL LEADSCREW M12 X 1.5
$5.45
Enter quantity between 1 and 99
53
REAR GUARD COVER
Price
N/A
54
MOTOR 2HP 110/220V 1PH
$330.65
Enter quantity between 1 and 99
54-1
MOTOR FAN COVER
$43.15
Enter quantity between 1 and 99
54-2
MOTOR FAN
$51.75
Enter quantity between 1 and 99
54-3
S CAPACITOR 200M 250V 2 X 3-3/4
$77.65
Enter quantity between 1 and 99
54-4
Now: PC030
R CAPACITOR 30M 450V 2 X 4
Price
N/A
54-5
MOTOR WIRING JUNCTION BOX
$64.70
Enter quantity between 1 and 99
54-6
CENTRIFUGAL SWITCH W/CONTACT PLATE
$35.70
Enter quantity between 1 and 99
54-7
BALL BEARING 6204-2RS
Price
N/A
54-8
BALL BEARING 6205-2RS
Price
N/A
55
SCREW M8 X 30
$186.20
Enter quantity between 1 and 99
56
CAP SCREW M8-1.25 X 30
Price
N/A
57
COLUMN
$1,272.20
Enter quantity between 1 and 99
58
CLAMPING KIT
$290.40
Enter quantity between 1 and 99
59
COLUMN
$1.90
Enter quantity between 1 and 99
60
TOP COVER
$146.65
Enter quantity between 1 and 99
61
SET SCREW M6-1 X 10
Price
N/A
62
SET SCREW M6-1 X 12
Price
N/A
63
Now: PK07M
KEY 6 X 6 X 20
Price
N/A
64
COOLANT VALVE
$34.20
Enter quantity between 1 and 99
65
COOLANT NOZZLE
$10.10
Enter quantity between 1 and 99
65V2
ADJUSTABLE COOLANT NOZZLE V2.07.14
$22.35
Enter quantity between 1 and 99
66
CAP SCREW M6-1 X 20
Price
N/A
67
CAP SCREW M6-1 X 20
Price
N/A
68
COOLANT NOZZLE SUPPORT
$6.50
Enter quantity between 1 and 99
69
CROSS SLIDE
$575.00
Enter quantity between 1 and 99
70
HANDWHEEL W/HANDLE, ALUMINUM V2.01.14
Price
N/A
70V2
HANDWHEEL W/HANDLE, ALUMINUM V2.01.14
Price
N/A
70V3
HANDWHEEL W/HANDLE, PLASTIC V3.06.22
Price
N/A
71
Now: PK07M
KEY 6 X 6 X 20
Price
N/A
72
HANDWHEEL SUPPORT
$58.25
Enter quantity between 1 and 99
73
SHAFT
$102.10
Enter quantity between 1 and 99
74
CAP SCREW M10-1.5 X 10
Price
N/A
74V2
CAP SCREW M8-1.25 X 16
Price
N/A
75
LOCK WASHER 8MM
Price
N/A
75V2
Now: PW01M
FLAT WASHER 8MM
Price
N/A
76
RIGHT EXTENSION WING
$111.90
Enter quantity between 1 and 99
77
TRIP DOG
$10.10
Enter quantity between 1 and 99
78
LIMIT BLOCK
$24.45
Enter quantity between 1 and 99
79
Now: PB07M
HEX BOLT M8-1.25 X 25
Price
N/A
80
Now: PN09M
HEX NUT M12-1.75
Price
N/A
80V2
WING NUT M8-1.25
Price
N/A
81
STUD-FT M7.5-1.25 X 80
$5.45
Enter quantity between 1 and 99
81V2
THREADED STUD M8-1.25 X 70 V2.07.14
$4.50
Enter quantity between 1 and 99
82
Now: PN02M
HEX NUT M10-1.5
Price
N/A
82V2
Now: PN03M
HEX NUT M8-1.25
Price
N/A
83
PULLEY SUPPORT
$34.20
Enter quantity between 1 and 99
83V2
PULLEY SUPPORT V2.07.14
$35.70
Enter quantity between 1 and 99
84
PULLEY
$89.15
Enter quantity between 1 and 99
85
TIMING BELT 4 X 114 X 25
$127.70
Enter quantity between 1 and 99
86
BELT CLAMP
$54.85
Enter quantity between 1 and 99
86-1
CAP SCREW M6-1 X 20
Price
N/A
86-1V2
CAP SCREW M8-1.25 X 30
Price
N/A
86V2
BELT CLAMP V2.07.14
$35.70
Enter quantity between 1 and 99
87
TABLE BALL BEARING ASSY
$523.85
Enter quantity between 1 and 99
88
LIMIT STOP
$9.75
Enter quantity between 1 and 99
89
T-NUT
$6.50
Enter quantity between 1 and 99
89V2
SQUARE NUT M6-1.25 V2.07.14
$4.50
Enter quantity between 1 and 99
90
LEFT EXTENSION WING
$111.90
Enter quantity between 1 and 99
90-1
SPLASH PAN SIDE GUARD
$80.90
Enter quantity between 1 and 99
91
SPLASH PAN
$217.85
Enter quantity between 1 and 99
92
LOCK WASHER 6MM
Price
N/A
93
CAP SCREW M6-1 X 12
Price
N/A
94
RUBBER GASKET
$6.50
Enter quantity between 1 and 99
95
TABLE
$848.15
Enter quantity between 1 and 99
96
SET SCREW M8-1.25 X 50
Price
N/A
97
Now: PS05M
PHLP HD SCR M5-.8 X 8
Price
N/A
97V2
Now: PS55M
PHLP HD SCR M3-.5 X 10
Price
N/A
98
COOLANT PUMP SWITCH
$44.60
Enter quantity between 1 and 99
98V2
COOLANT PUMP SWITCH V2.07.14
$13.40
Enter quantity between 1 and 99
98V3
COOLANT PUMP SWITCH V3.06.22
$13.40
Enter quantity between 1 and 99
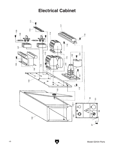
99
ELECTRICAL PANEL
$111.45
Enter quantity between 1 and 99
99V2
ELECTRICAL PANEL V2.07.14
$22.35
Enter quantity between 1 and 99
100
SPINDLE MOTOR ON SWITCH
$64.70
Enter quantity between 1 and 99
100-1
SPINDLE MOTOR OFF SWITCH
$34.50
Enter quantity between 1 and 99
100V2
***SEE EXT. DESCRIPTION***
Item is no longer available
Price
N/A
100V3
SPINDLE MOTOR ON SWITCH V3.06.22
$13.40
Enter quantity between 1 and 99
101
E-STOP BUTTON LAY3 A012640
$48.90
Enter quantity between 1 and 99
101V2
EMERGENCY STOP BUTTON V2.07.14
$13.40
Enter quantity between 1 and 99
101V3
E-STOP BUTTON OCHENG LA239A V3.06.22
$13.40
Enter quantity between 1 and 99
102
ELECTRICAL CABINET
$178.65
Enter quantity between 1 and 99
103
MAIN POWER SWITCH
$207.75
Enter quantity between 1 and 99
104
MOUNTING PLATE
$48.90
Enter quantity between 1 and 99
104V2
MOUNTING PLATE V2.07.14
$35.70
Enter quantity between 1 and 99
105
TRANFORMER TENGEN JBK3-100VA
$242.25
Enter quantity between 1 and 99
106
CAP SCREW M5-.8 X 10
Price
N/A
106V2
FLANGE SCREW M4-.7 X 8
Price
N/A
107
FUSE HOLDER ASSEMBLY
$11.50
Enter quantity between 1 and 99
108
FUSE 2A
$5.45
Enter quantity between 1 and 99
109
CAP SCREW M5-.8 X 10
Price
N/A
109V2
FLAT HD SCR M4-.7 X 8
Price
N/A
110
GROUND STRAP
$7.95
Enter quantity between 1 and 99
111
CAP SCREW M5-.8 X 10
Price
N/A
111V2
FLANGE SCREW M4-.7 X 8
Price
N/A
112
CAP SCREW M5-.8 X 12
Price
N/A
112V2
FLANGE SCREW M4-.7 X 12 V2.07.14
$2.25
Enter quantity between 1 and 99
113
CONTACTOR SIEMENS 3BT40 220V
$46.75
Enter quantity between 1 and 99
113V2
CONTACTOR SIEMENS 3BT42 17-0A V2.06.22
$89.15
Enter quantity between 1 and 99
114
CONTACTOR SIEMENS 3BT43 220V
$80.00
Enter quantity between 1 and 99
114V2
CONTACTOR SIEMENS 3BT40 22-0X V2.06.22
$89.15
Enter quantity between 1 and 99
115
OL RELAY SIEMENS 3UA52 16-25A
$89.15
Enter quantity between 1 and 99
115V2
OL RELAY SIEMENS 3US55 40-2C V2.06.22
$89.15
Enter quantity between 1 and 99
116
CAP SCREW M5-.8 X 10
Price
N/A
116V2
FLANGE SCREW M4-.7 X 12 V2.07.14
Price
N/A
117
TERMINAL BLOCK 10-POST
$43.90
Enter quantity between 1 and 99
118
CAP SCREW M5-.8 X 16
Price
N/A
118V2
FLANGE SCREW M4-.7 X 8
Price
N/A
119
CAP SCREW M5-.8 X 10
Price
N/A
119V2
Now: PS14M
PHLP HD SCR M6-1 X 12
Price
N/A
120
MAIN POWER SWITCH
$64.70
Enter quantity between 1 and 99
121
CAP SCREW M6-1 X 10
Price
N/A
121V2
FLANGE SCREW M4-.7 X 12 V2.07.14
Price
N/A
122
POWER SWITCH COVER
$19.45
Enter quantity between 1 and 99
123
CAP SCREW M6-1 X 16
Price
N/A
123V2
Now: PS06M
PHLP HD SCR M5-.8 X 20
Price
N/A
124
WORK LAMP ASSEMBLY
$48.90
Enter quantity between 1 and 99
125
MAGNETIC CHUCK ASSEMBLY
$1,399.45
Enter quantity between 1 and 99
125-1
CHUCK BACKPLATE
$15.85
Enter quantity between 1 and 99
126
Now: PS14M
PHLP HD SCR M6-1 X 12
Price
N/A
127
Now: PW03M
FLAT WASHER 6MM
Price
N/A
128
SIDE GRATE
$26.75
Enter quantity between 1 and 99
129
Now: PS26M
PHLP HD SCR M6-1 X 20
Price
N/A
130
Now: PS26M
PHLP HD SCR M6-1 X 20
Price
N/A
131
CAP SCREW M5-.8 X 16
Price
N/A
132
CAP SCREW M6-1 X 30
Price
N/A
133
HEX NUT M3-.5 THIN
$2.25
Enter quantity between 1 and 99
134
Now: PW02M
FLAT WASHER 5MM
Price
N/A
135
Now: PW03M
FLAT WASHER 6MM
Price
N/A
136
INDICATOR LAMP SKYLAND AD61
$8.95
Enter quantity between 1 and 99
138
Now: PW01M
FLAT WASHER 8MM
Price
N/A
139
KNOB BOLT M8-1.25 X 25, 7 LOBE, D40
$6.70
Enter quantity between 1 and 99
140
SPACER 20.5 X 28MM
$13.40
Enter quantity between 1 and 99
153
REAR GUARD COVER
$174.35
Enter quantity between 1 and 99
501-1
WHEEL MOUNT FLANGE
$66.90
Enter quantity between 1 and 99
501-2
*DISCD*WHEEL BALANCING KIT
Item is no longer available
Price
N/A
501-3
WHEEL BALANCING ARBOR 5:1 TPR
$43.15
Enter quantity between 1 and 99
502
WHEEL BALANCING BASE
$133.70
Enter quantity between 1 and 99
600
COOLANT PUMP/RESERVOIR ASSY
$499.95
Enter quantity between 1 and 99
600-1
COOLANT PUMP
$120.75
Enter quantity between 1 and 99
600-2
COOLANT TANK
$181.15
Enter quantity between 1 and 99
601
ONE SHOT OILER W/PUMP
$89.15
Enter quantity between 1 and 99
602
COOLANT RETURN HOSE
$23.75
Enter quantity between 1 and 99
603
COOLANT FEED HOSE
$23.75
Enter quantity between 1 and 99
604
HOSE CLAMP 1"
$10.10
Enter quantity between 1 and 99
605
TOOL BOX
$59.70
Enter quantity between 1 and 99
606
Now: PW01
FLAT WASHER 1/2
Price
N/A
607
Now: PN06
HEX NUT 1/2-12
Price
N/A
608
T-BOLT 1/2-13 X 2
$89.50
Enter quantity between 1 and 99
608V2
CAP SCREW M10-1.5 X 50
Price
N/A
609
WRENCH MAGNETIC CHUCK HEX
$12.25
Enter quantity between 1 and 99
610
CLAMP
$20.90
Enter quantity between 1 and 99
610V2
T-NUT M10-1.5 V2.07.14
$22.35
Enter quantity between 1 and 99
611
DRESSER HOLDER
$35.95
Enter quantity between 1 and 99
612
WRENCH SPANNER
$32.90
Enter quantity between 1 and 99
613
Now: PSDP2
SCREWDRIVER PHILLIPS #2
Price
N/A
614
Now: PSDF2
SCREWDRIVER FLAT #2
Price
N/A
615
WRENCH 22 X 24MM OPEN-ENDS
Price
N/A
616
WRENCH 17 X 19MM OPEN-ENDS
Price
N/A
617
WRENCH 12 X 14MM OPEN-ENDS
Price
N/A
618
HEX WRENCH 1.5-10MM 10PC SET
Price
N/A
619
ARBOR BOLT M16-1 X 15
$20.90
Enter quantity between 1 and 99
620
RUBBER SEAL
$8.95
Enter quantity between 1 and 99
621
DIAMOND DRESSER
$44.60
Enter quantity between 1 and 99
701
MACHINE ID LABEL
$16.40
Enter quantity between 1 and 99
702
BIOLOGICAL/POISON HAZARD 3.8W X 2H
Price
N/A
703
READ MANUAL 2W X 3.3H V2.07.05
Price
N/A
704
KICKOUT HAZARD LABEL HL
$1.25
Enter quantity between 1 and 99
705
FACE SHIELD/RESPIRATOR 2W X 3.3H
Price
N/A
706
DISCONNECT 110V 2W X 3.3H
Price
N/A
707
MODEL NUMBER LABEL
$16.40
Enter quantity between 1 and 99
708
GREY PUTTY REF G0504
Price
N/A
709
N/S GRIZZLY GREEN G1023S
Price
N/A
710
Now: G8588
Nameplate - Small
Price
N/A
711
GRIZZLY.COM LABEL
$10.95
Enter quantity between 1 and 99
712
ELECTRICITY 0.7W X 0.6H
Price
N/A
713
NOTICE LABEL
$2.85
Enter quantity between 1 and 99
MAN
MANUAL G3104/G3155 10/08 V1.06.07
$11.25
Enter quantity between 1 and 99
MANV2
MANUAL G3104/G3155 MFD-06.22+ V2.08.24
$15.20
Enter quantity between 1 and 99