Parts for G4003 12" x 36" Gearhead Metal Lathe

Parts Diagrams for G4003 - 12" x 36" Gearhead Metal Lathe

IMPORTANT

Parts may have multiple versions that have changed over time. This will be indicated by V1, V2, V3, etc. in the parts description, followed by the version month and year that it was first used. Example: V2.01.17 indicates version 2 of a part went into use in January 2017. Please reference the manufacture date on the ID Label for your machine to ensure you are selecting the correct part when multiple versions are indicated.

If you cannot locate your part below, please contact our tech support department at techsupport@grizzly.com or 570-546-9663.

Please note: All parts ship out of our Springfield, Missouri facility.

Parts List for Parts for G4003 12" x 36" Gearhead Metal Lathe

1
START BUTTON
Price
N/A
2
POWER INDICATOR LIGHT HUI XD103 22MM GRN
Price
N/A
3
JOG BUTTON HUI LA103 22MM BLK
Price
N/A
4
E-STOP BUTTON HUILONG LA103
Price
N/A
50
OL RELAY TIANSHUI JRS4-09 25D 9-13A
Price
N/A
51
TRANSFORMER JBK5-63VATH 100VA 110/400V-24/110V
Price
N/A
52
CONTACTOR GSC1 CJX4-D-1801 110V/120V
Price
N/A
53
MAGNETIC CONTACTOR JZC3-40D 110/120V
Price
N/A
54
FUSE HOLDER
Price
N/A
55
CONTROL PANEL PLATE V1.03.01
Price
N/A
55V2
CONTROL PANEL PLATE V2.03.07
Price
N/A
65A
OIL WINDOW 12MM
Price
N/A
1001
LATHE BED V1
$1,914.75
Enter quantity between 1 and 99
1001V2
LATHE BED V2.04.20
Price
N/A
1002
RACK 16-1/2" LONG 1PC
Price
N/A
1002B
RACK 6-1/8" SHORT
Price
N/A
1003
ROLL PIN 5 X 24
Price
N/A
1004
CAP SCREW M6-1 X 14
Price
N/A
1005
CAP SCREW M12-1.75 X 40
Price
N/A
1008
CHIP PAN 19" X 61"
$311.95
Enter quantity between 1 and 99
1009
Now: PW06M
FLAT WASHER 12MM
Price
N/A
101
CAP SCREW M6-1 X 25
Price
N/A
1010
Now: PN09M
HEX NUT M12-1.75
Price
N/A
1011
SPLASH GUARD 46"
$334.25
Enter quantity between 1 and 99
1012
TAILSTOCK STOP BOLT M12-1.75 X 50
Price
N/A
102
COVER
Price
N/A
103
OIL SEAL
Price
N/A
104
SPINDLE 16" V1.03.96
Price
N/A
105
Now: P7212
*DISCD*ANGULAR CONTACT BEARING 7212
Price
N/A
106
KEY 8 X 8 X 80 W/ HOLE
Price
N/A
107
KEY 8 X 7 X 45
Price
N/A
108
SLOTTED SCREW M3-.5 X 8
Price
N/A
109
GEAR 37T/74T
Price
N/A
110
GEAR 46T
Price
N/A
1100
SHIFTER ARM
Price
N/A
1101
SHIFTER
Price
N/A
1102
RIVET 2 X 5MM NAMEPLATE, STEEL
Price
N/A
1103
NAME PLATE
$49.10
Enter quantity between 1 and 99
1104
OIL WINDOW 12MM
Price
N/A
1104B
O-RING 15 X 2.65
Price
N/A
1105
CAP SCREW M8-1.25 X 30
Price
N/A
1106
OIL SEAL 9.5 X 2.65
Price
N/A
1107
CAP SCREW M8-1.25 X 30
Price
N/A
1108
Now: PB15M
HEX BOLT M8-1.25 X 40
Price
N/A
1109
HANDLE
Price
N/A
111
GEAR 59T
Price
N/A
1110
BOSS
Price
N/A
1111
Now: PK20M
KEY 5 X 5 X 15
Price
N/A
1112
GEAR
Price
N/A
1113
CAP SCREW M6-1 X 8
Price
N/A
1114
CAP SCREW M6-1 X 8
Price
N/A
1115
BOSS
Price
N/A
1116
SHIFTER
Price
N/A
1117
COLLAR
Price
N/A
1118
INSERT TOOL HOLDER SET - 4 PC
$125.85
Enter quantity between 1 and 99
112
NUT 58OD
Price
N/A
113
CAP SCREW M8-1.25 X 10
Price
N/A
114
ROLL PIN 5 X 40
Price
N/A
115
COLLAR
Price
N/A
116
CAP SCREW M3-.5 X 8
Price
N/A
117
GEAR
Price
N/A
118
Now: P7211
ANGULAR CONTACT BEARING 7211
Price
N/A
119
NUT
Price
N/A
120
OIL SEAL
Price
N/A
1201
ELECTRICITY 1.4W X 1.2H
Price
N/A
1202
FLUID CAPACITY LABEL
$7.20
Enter quantity between 1 and 99
1203
TRAINED PERSONNEL NOTICE 3W X 2H
Price
N/A
1204
ENTANGLEMENT HAZARD 2.8W X 1.5H
Price
N/A
1205
FACE SHIELD & SAFETY GLASSES 2.8W X 1.5H
Price
N/A
1206
DISCONNECT 110V 2.8W X 1.5H
Price
N/A
1207
READ MANUAL 2.8W X 1.5H
Price
N/A
1208
IMPACT INJURY 2.8W X 1.5H
Price
N/A
1209
SPINDLE SPEED HAZARD 2.8W X 1.5H
Price
N/A
121
COVER
Price
N/A
1210
MACHINE ID LABEL
$16.40
Enter quantity between 1 and 99
1211
STOP OIL FILL TAG 4W X 4H
Price
N/A
1212
ELECTRICITY 0.7W X 0.6H
Price
N/A
1213
N/S GRIZZLY GREEN G1023S
Price
N/A
1214
PINCH/ENTANGLEMENT 2.8W X 1.5H
Price
N/A
122
CAP SCREW M8-1.25 X 20
Price
N/A
123
CAP SCREW M6-1 X 12
Price
N/A
124
COVER
Price
N/A
125
OIL SEAL
Price
N/A
126
BALL BEARING 6304Z
Price
N/A
127
*DISCD*SHAFT V1
Price
N/A
127V2
SHAFT 219MM V2.01.03
Price
N/A
128
KEY 8 X 8 X 180
Price
N/A
129
CAP SCREW M3-.5 X 8
Price
N/A
130
GEAR
Price
N/A
131
GEAR
Price
N/A
132
GEAR
Price
N/A
133
Now: PR54M
INT RETAINING RING 15MM
Price
N/A
134
GEAR
Price
N/A
135
GEAR
Price
N/A
136
GEAR
Price
N/A
137
BALL BEARING 6004-OPEN
Price
N/A
138
OIL SEAL
Price
N/A
139
*DISCD*COVER V1
Price
N/A
139V2
COVER 45MM V2.01.03
Price
N/A
140
CAP SCREW M8-1.25 X 20
Price
N/A
141
FLAT WASHER 8MM
Price
N/A
142
PULLEY
Price
N/A
143
CAP SCREW M6-1 X 12
Price
N/A
144
COVER
Price
N/A
145
OIL SEAL
Price
N/A
146
GEAR
Price
N/A
147
GEAR
Price
N/A
148
GEAR
Price
N/A
149
*DISCD*SHAFT V1
Price
N/A
149V2
SHAFT 178MM V2.01.03
Price
N/A
150
KEY 5 X 5 X 30
Price
N/A
151
Now: PK17M
KEY 5 X 5 X 80
Price
N/A
152
BALL BEARING 6004-OPEN
Price
N/A
153
CAP SCREW M6-1 X 12
Price
N/A
154
Now: PW03M
FLAT WASHER 6MM
Price
N/A
155
GEAR 40T
Price
N/A
156
Now: PK94M
KEY 5 X 5 X 8
Price
N/A
157
OIL SEAL PD25 X 45 X 10
Price
N/A
158
Now: PR09M
EXT RETAINING RING 20MM
Price
N/A
159
Now: PR23M
INT RETAINING RING 40MM
Price
N/A
160
BALL BEARING 6004-OPEN
Price
N/A
161
CAP SCREW M6-1 X 12
Price
N/A
162
OIL SEAL
Price
N/A
163
COVER
Price
N/A
164
COLLAR
Price
N/A
165
SHAFT 117MM LONG V1.10.96
Price
N/A
166
Now: PK34M
KEY 5 X 5 X 20
Price
N/A
167
GEAR
Price
N/A
168
SHAFT
Price
N/A
169
OIL SEAL 17 X 2.65
Price
N/A
170
SET SCREW M8-1.25 X 6
Price
N/A
171
C-CLIP
Price
N/A
172
Now: PR25M
INT RETAINING RING 47MM
Price
N/A
173
BALL BEARING 6204-OPEN
Price
N/A
174
GEAR 38T/45T
Price
N/A
175
LOCK PIN
Price
N/A
176
SPRING 6 X 4 X 22
Price
N/A
177
CAP SCREW M8-1.25 X 16
Price
N/A
178
ECCENTRIC SHAFT
Price
N/A
179
GEAR
Price
N/A
180
SET SCREW M8-1.25 X 10
Price
N/A
181
ROLL PIN 5 X 30
Price
N/A
182
SHAFT
Price
N/A
183
OIL SEAL
Price
N/A
184
SHAFT ARM
Price
N/A
185
C-CLIP
Price
N/A
186
CAP SCREW M8-1.25 X 16
Price
N/A
187
Now: PN03M
HEX NUT M8-1.25
Price
N/A
188
SIGN BOARD
Price
N/A
189
SET SCREW M8-1.25 X 8
Price
N/A
190
SPRING 1.2 X 48 X 27
Price
N/A
191
STEEL BALL 6MM
Price
N/A
192
SET SCREW M6-1 X 20
Price
N/A
193
*DISCD*COVER 9-1/4" V1
Price
N/A
193V2
COVER 10-3/8" V2.01.03
Price
N/A
194
SCREW
Price
N/A
195
CAP SCREW M6-1 X 25
Price
N/A
196
OIL SEAL V1.10.96
Price
N/A
196V2
OIL SEAL V2.09.05
Price
N/A
197
*DISCD*HEADSTOCK V1
Price
N/A
197V2
HEADSTOCK V2.01.03
Price
N/A
198
SHAFT
Price
N/A
199
COLLAR
Price
N/A
200
Now: PR21M
INT RETAINING RING 35MM
Price
N/A
201
CAP SCREW M6-1 X 12
Price
N/A
202
Now: PW03M
FLAT WASHER 6MM
Price
N/A
203
GEAR
Price
N/A
204
Now: PK12M
KEY 5 X 5 X 30
Price
N/A
205
CAP SCREW M6-1 X 12
Price
N/A
206
WASHER
Price
N/A
207B
GEAR 86T/91T V3.08.05
Price
N/A
208
BALL BEARING 6003-2RS
Price
N/A
209
SPACER
Price
N/A
210
QUADRANT
Price
N/A
211
SHAFT
Price
N/A
212
GEAR 40T
Price
N/A
213
Now: PK12M
KEY 5 X 5 X 30
Price
N/A
237
Now: PR12M
EXT RETAINING RING 35MM
Price
N/A
301
LONGITUDINAL LEADSCREW
Price
N/A
302
ROLL PIN 5 X 36
Price
N/A
304
Now: P8103
THRUST BEARING 8103
Price
N/A
305
SHAFT
Price
N/A
306
Now: PK19M
KEY 5 X 5 X 14
Price
N/A
308
GEAR
Price
N/A
309
Now: PN09M
HEX NUT M12-1.75
Price
N/A
310
Now: PW06M
FLAT WASHER 12MM
Price
N/A
311
CAP SCREW M6-1 X 16
Price
N/A
312
COVER
Price
N/A
313
Now: PK12M
KEY 5 X 5 X 30
Price
N/A
314
Now: PK06M
KEY 5 X 5 X 10
Price
N/A
315
SHAFT
Price
N/A
316
BRASS BUSHING 16 X 19 X 18.8MM LONG
Price
N/A
318
GEAR 16T/32T
Price
N/A
320
GEAR 16T/32T
Price
N/A
322
LEVER
Price
N/A
323
FEED ROD
$133.70
Enter quantity between 1 and 99
323A
*DISCD*LEADSCREW
Item is no longer available
Price
N/A
324
Now: PB01M
HEX BOLT M10-1.5 X 30
Price
N/A
325
BOSS
Price
N/A
326
ROLL PIN 5 X 40
Price
N/A
327
GEAR BOX
Price
N/A
327A
COMPLETE GEAR BOX
Price
N/A
328
PLATE
Price
N/A
329
CAP SCREW M6-1 X 16
Price
N/A
330
SHAFT
Price
N/A
331
E-CLIP 13MM
Price
N/A
332
SHIFT PIVOT
Price
N/A
333
PIN 4 X 30
Price
N/A
334
SHIFT YOKE
Price
N/A
335
CAP SCREW M6-1 X 12
Price
N/A
336
FENDER WASHER 6MM
Price
N/A
337
GEAR 16T
Price
N/A
338
*DISCD*HALF NUT
Price
N/A
339
*DISCD*WORM
Price
N/A
340
DUPLEX GEAR 32T/16T
Price
N/A
341
DUPLEX GEAR 32T/16T
Price
N/A
342
DUPLEX GEAR 32T/16T
Price
N/A
343
*DISCD*GEAR
Price
N/A
344
GEAR 16T
Price
N/A
345
GEAR 18T
Price
N/A
346
GEAR 19T
Price
N/A
347
GEAR 20T
Price
N/A
348
GEAR 22T
Price
N/A
349
GEAR 24T
Price
N/A
350
GEAR 26T
Price
N/A
351
GEAR 28T
Price
N/A
352
GEAR 24T
Price
N/A
353
SHAFT
Price
N/A
354
KEY 5 X 5 X 75
Price
N/A
355
Now: PK02M
KEY 5 X 5 X 40
Price
N/A
356
BALL BEARING 6002-2RS
Price
N/A
357
GEAR 16T
Price
N/A
358
GEAR 32T W/BUSHING
Price
N/A
359
SHIFT LEVER
Price
N/A
362
KEY 5 X 5 X 16
Price
N/A
363
SHAFT
Price
N/A
364
Now: PN01M
HEX NUT M6-1
Price
N/A
365
SHAFT 16MM X 32MM
Price
N/A
366
SHAFT
Price
N/A
367
SPRING 1 X 8 X 47
Price
N/A
368
SLEEVE
Price
N/A
369
HOUSING
Price
N/A
370
SHAFT
Price
N/A
371
***USE PCAP199M***
Price
N/A
372
GEAR 15T
Price
N/A
373
GEAR 24T
Price
N/A
374
***USE P4003G0211***
Price
N/A
401
HANDLE V1
Price
N/A
401V2
HANDWHEEL HANDLE M8-1.25 X 8 V2.04.12
Price
N/A
402
*DISCD*HANDWHEEL V1
Price
N/A
402V2
CARRIAGE HANDWHEEL V2.04.12
Price
N/A
403
GRADUATED DIAL V1
Price
N/A
403V2
GRADUATED DIAL V2.04.12
Price
N/A
404
ROLL PIN 5 X 40
Price
N/A
404V2
SET SCREW M6-1 X 8
Price
N/A
405
CAP SCREW M6-1 X 20
Price
N/A
406
BRACKET
Price
N/A
407
GEAR SHAFT V1
Price
N/A
407V2
GEAR SHAFT 12T W/KEYWAY V2.04.12
Price
N/A
408
BUSHING
Price
N/A
409
ROLL PIN 5 X 30
Price
N/A
410
GEAR 50T
Price
N/A
411
Now: PR08M
EXT RETAINING RING 19MM
Price
N/A
412
GEAR SHAFT 11T
Price
N/A
413
GEAR 48T
Price
N/A
414
GEAR 51T
Price
N/A
415
ROLL PIN 5 X 30
Price
N/A
417
SHAFT
Price
N/A
418
*DISCD*BUSHING
Price
N/A
419-1
GEAR W/BUSHING AND SPACER
Price
N/A
419-2
GEAR W/BUSHING AND SPACER
Price
N/A
420
SHAFT
Price
N/A
420-1
WORM GEAR
Price
N/A
421
WORM
Price
N/A
422
Now: PK33M
KEY 5 X 5 X 45
Price
N/A
423
ROLL PIN 5 X 24
Price
N/A
424
GEAR 14T
Price
N/A
425
BUSHING
Price
N/A
426
GEAR SHAFT B5 X 36
Price
N/A
427
LEVER
Price
N/A
428
ROLL PIN 5 X 24
Price
N/A
429
STEEL BALL 6MM
Price
N/A
430
SPRING 1 X 4.5 X 6
Price
N/A
431
SET SCREW M6-1 X 8
Price
N/A
432
CAP SCREW M6-1 X 45
Price
N/A
433
BOSS
Price
N/A
434
Now: PW03M
FLAT WASHER 6MM
Price
N/A
435
CAP SCREW M6-1 X 40
Price
N/A
436
SHAFT
Price
N/A
437
SAFETY SHIFTER
Price
N/A
438
CAP SCREW M8-1.25 X 6
Price
N/A
439
SPRING 1X45X6
Price
N/A
440
STEEL BALL 6MM
Price
N/A
441
BOSS
Price
N/A
442
ROLL PIN 6 X 40
Price
N/A
443
DOG
Price
N/A
444
CAP SCREW M8-1.25 X 30
Price
N/A
445
LEVER
Price
N/A
447
SHAFT
Price
N/A
448
CAP SCREW M6-1 X 65
Price
N/A
449
CAP SCREW M6-1 X 15
Price
N/A
450
GEAR 16T
Price
N/A
451
CAP SCREW M6-1 X 60 BLK C12.9 USA
Price
N/A
451-2
SPACER
Price
N/A
452
HOUSING
Price
N/A
453
THREAD DIAL
Price
N/A
454
Now: PN01M
HEX NUT M6-1
Price
N/A
455
Now: PB83M
HEX BOLT M6-1 X 16
Price
N/A
456
HALF NUT 2-PC
Price
N/A
457
HALF NUT HOUSING
Price
N/A
458
CAP SCREW M6-1 X 25
Price
N/A
459
GIB
Price
N/A
461
SHAFT
Price
N/A
463
GEAR 25T
Price
N/A
464
SET SCREW M6-1 X 6
Price
N/A
465
APRON CASE
Price
N/A
466
WORM BRACKET
Price
N/A
467
LIMIT BLOCK
Price
N/A
468
OIL PLUG M10-1.5 X 20
Price
N/A
469
SET SCREW M6-1 X 20
Price
N/A
470
HANDWHEEL RETAINER
Price
N/A
471
Now: PK34M
KEY 5 X 5 X 20
Price
N/A
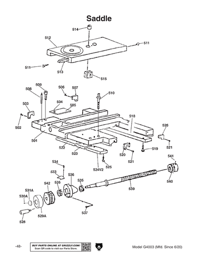
501
SADDLE
Price
N/A
502
Now: PS59M
PHLP HD SCR M3-.5 X 14
Price
N/A
503
SADDLE WIPER W/PLATE LEFT FRONT
Price
N/A
504
Now: PS24
PHLP HD SCR 8-32 X 3/8
Price
N/A
505
*DISCD*COVER
Price
N/A
506
CAP SCREW M5-.8 X 14
Price
N/A
507
SADDLE WIPER W/PLATE LEFT REAR
Price
N/A
508
ROLL PIN 5 X 45
Price
N/A
509
CAP SCREW M8-1.25 X 35
Price
N/A
510
SADDLE LOCK BOLT M8-1.25 X 55
Price
N/A
511
GIB SCREW
Price
N/A
512
***USE P4003G0512***
Price
N/A
512-2
SOLID BUSHING 25 X 25MM
Price
N/A
513
GIB
Price
N/A
514
BUSHING
Price
N/A
515
LEADSCREW NUT M8-1.25 BRASS
Price
N/A
518
REAR SLIDE PLATE
Price
N/A
518-1
SADDLE GIB REAR
Price
N/A
519
CAP SCREW M8-1.25 X 25
Price
N/A
520
SADDLE WIPER W/PLATE RIGHT FRONT
Price
N/A
521
WIPER SCREW
Price
N/A
522
SLIDE PLATE
Price
N/A
523
SLIDE PLATE 3 HOLES V2.01.09
Price
N/A
524
SLIDE PLATE 3 HOLES V2.01.09
Price
N/A
524V2
SLIDE PLATE 3 HOLES V2.01.09
Price
N/A
525
Now: PB19M
HEX BOLT M8-1.25 X 24
Price
N/A
526
***USE P4003G0526***
Price
N/A
527
Now: PB09M
HEX BOLT M8-1.25 X 20
Price
N/A
528
HANDLE
Price
N/A
529A
CROSS SLIDE HANDWHEEL HUB
Price
N/A
530A
SET SCREW
Price
N/A
531A
SPANNER NUT
Price
N/A
533
INDICATOR PLATE
Price
N/A
534
RIVET 2 X 4MM NAMEPLATE, STEEL
Price
N/A
535
THRUST BEARING 51102
Price
N/A
536
BRACKET
Price
N/A
537
CAP SCREW M6-1 X 25
Price
N/A
539
***USE P0750G0629***
Price
N/A
540
GEAR 13T
Price
N/A
541
CAP SCREW M6-1 X 8
Price
N/A
542
CROSS SLIDE GRADUATED DIAL
Price
N/A
543
STEEL BALL 6MM
Price
N/A
544
COMPRESSION SPRING 6 X 16MM
Price
N/A
601
GIB SCREW
Price
N/A
602
GIB
Price
N/A
603
COMPOUND REST
Price
N/A
604
Now: PN03M
HEX NUT M8-1.25
Price
N/A
605
COMPOUND SLIDE T-BOLT
Price
N/A
606
COMPOUND GIB BOLT
Price
N/A
607
LEADSCREW NUT
Price
N/A
608
SET SCREW M6-1 X 8
Price
N/A
609
Now: PN01M
HEX NUT M6-1
Price
N/A
610
COMPOUND REST LEADSCREW
Price
N/A
611
Now: P8101
THRUST BEARING 8101
Price
N/A
612
BRACKET
Price
N/A
613
Now: P8101
THRUST BEARING 8101
Price
N/A
614
COMPOUND REST GRADUATED DIAL
Price
N/A
615A
SPANNER NUT
Price
N/A
616A
COMPOUND REST HANDWHEEL HUB
Price
N/A
617
LONG HANDLE W/SCREW
Price
N/A
617A
SHORT HANDLE
Price
N/A
618A
SET SCREW M5-.8 X 5
Price
N/A
619
CAP SCREW M6-1 X 15
Price
N/A
620
COMPOUND REST
Price
N/A
621
STEEL BALL 6MM
Price
N/A
622
COMPRESSION SPRING 6 X 16MM
Price
N/A
640
PLUNGER
Price
N/A
641
SPRING 1 X 3 X 12
Price
N/A
701
CENTER
Price
N/A
702
SET SCREW M8-1.25 X 16 DOG-PT
Price
N/A
703
QUILL
Price
N/A
704
TAIL STOCK
Price
N/A
705
BASE
Price
N/A
706
CAP SCREW M10-1.5 X 50
Price
N/A
707
SCREW
Price
N/A
708
Now: PK97M
KEY 4 X 4 X 14
Price
N/A
709
Now: P8101
THRUST BEARING 8101
Price
N/A
710
BRACKET
Price
N/A
711
GRADUATED DIAL
Price
N/A
712
CAP SCREW M6-1 X 20
Price
N/A
713
HAND WHEEL
Price
N/A
714
HANDLE
Price
N/A
715
Now: PN09M
HEX NUT M12-1.75
Price
N/A
716
HANDLE
Price
N/A
717
QUILL LOCK BOLT
Price
N/A
718
LOCK SHAFT
Price
N/A
719
HANDLE
Price
N/A
720
SHAFT
Price
N/A
721
ROLL PIN 5 X 30
Price
N/A
722
COLLAR
Price
N/A
723
***SEE EXT. DESCRIPTION***
Price
N/A
724
CLAMP SHOE
Price
N/A
725
Now: PW06M
FLAT WASHER 12MM
Price
N/A
726
Now: PN09M
HEX NUT M12-1.75
Price
N/A
727
NUT
Price
N/A
728
INDICATOR PLATE
Price
N/A
730
*DISCD*HANDLE STOP
Price
N/A
801
COVER
Price
N/A
802
SCREW
Price
N/A
803
KNURLED KNOB M10-1.5
Price
N/A
812
MOTOR 2HP 220V 1-PH
Price
N/A
813
Now: PW04M
FLAT WASHER 10MM
Price
N/A
814
Now: PB01M
HEX BOLT M10-1.5 X 30
Price
N/A
815
KEY 8 X 7 X 35
Price
N/A
816
PULLEY
Price
N/A
817
MOTOR MOUNT BRACKET
Price
N/A
818
Now: PW06M
FLAT WASHER 12MM
Price
N/A
819
Now: PB01M
HEX BOLT M10-1.5 X 30
Price
N/A
820
Now: PVA29
V-BELT A29
Price
N/A
901
BRACKET
Price
N/A
902
CAP SCREW M6-1 X 11
Price
N/A
903
OIL CAP 6MM
Price
N/A
904
ROLL PIN 6 X 55
Price
N/A
905
SET SCREW M6-1 X 6
Price
N/A
906
COLLAR
Price
N/A
907
SPINDLE ROD V1
$56.45
Enter quantity between 1 and 99
907V2
SPINDLE ROD V2.12.14
Price
N/A
908
KEY
Price
N/A
909
ROLL PIN 4 X 20
Price
N/A
910
SPRING 7020
Price
N/A
911
HANDLE
Price
N/A
912
BRACKET
Price
N/A
913
CAP SCREW M6-1 X 14
Price
N/A
914
ROLL PIN 5 X 25
Price
N/A
915
BRACKET
Price
N/A
916
Now: PR15M
EXT RETAINING RING 30MM
Price
N/A
917
CAP SCREW M8-1.25 X 25
Price
N/A
918
BRACKET V1
Price
N/A
918V2
CONNECTION BRACKET V2.12.14
Price
N/A
919-1
*DISCD*FWD/REV SWITCH BOX ASSEMBLY GREEN
Item is no longer available
Price
N/A
919A
FWD/REV SWITCH ROUND TYPE V1
Price
N/A
919V2
SPINDLE ON/OFF SWITCH
Price
N/A
933
FUSE 2A
Price
N/A
945
GEAR 36T
Price
N/A
946
CAP SCREW M4-.7 X 6
Price
N/A
947
SET SCREW M6-1 X 8
Price
N/A
948
SPINDLE SWITCH ARM
Price
N/A
949
***USE P4003G0923***
Price
N/A
950
BUTTON HD CAP SCR M4-.7 X 45
Price
N/A
MANV2
MANUAL G4002/G4003 MFD-06.11-07.12 V2.03
Price
N/A
MANV3
MANUAL G4002/G4003 MFD-08.12-02.14 V3.06
Price
N/A
MANV4
MANUAL G4002/G4003 MFD-03.14-05.20 V4.05
Price
N/A
MANV5
MANUAL G4003 MFD-06.20+ V5.03.21
$22.65
Enter quantity between 1 and 99
TRANS
TRANSFORMER JBK5-63VATH 100VA 110/400V-24/110V
Price
N/A