Parts for G5771 50" Slip Roll - 16 Gauge

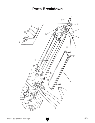
Parts Diagrams for G5771 - 50" Slip Roll - 16 Gauge

IMPORTANT

Parts may have multiple versions that have changed over time. This will be indicated by V1, V2, V3, etc. in the parts description, followed by the version month and year that it was first used. Example: V2.01.17 indicates version 2 of a part went into use in January 2017. Please reference the manufacture date on the ID Label for your machine to ensure you are selecting the correct part when multiple versions are indicated.

If you cannot locate your part below, please contact our tech support department at techsupport@grizzly.com or 570-546-9663.

Please note: All parts ship out of our Springfield, Missouri facility.

Parts List for Parts for G5771 50" Slip Roll - 16 Gauge

1
*DISCD*BASE
Item is no longer available
Price
N/A
2
Now: PW06M
FLAT WASHER 12MM
Price
N/A
3
LOCK WASHER 12MM
Price
N/A
4
Now: PB75M
HEX BOLT M12-1.75 X 35
Price
N/A
5
*DISCD*LIFT STAND
$123.35
Enter quantity between 1 and 99
6
*DISCD*SETTING KNOB PIN
$2.25
Enter quantity between 1 and 99
7
*DISCD*SETTING KNOB
$6.90
Enter quantity between 1 and 99
8
*DISCD*SET SCREW M10 X 30
Item is no longer available
Price
N/A
9
*DISCD*STAND RIGHT
$133.00
Enter quantity between 1 and 99
10
*DISCD*GEAR LOCKING SHAFT
Item is no longer available
Price
N/A
11
*DISCD*BEARING 30 X 38 X 24
$23.30
Enter quantity between 1 and 99
12
*DISCD*GEAR 19T
Item is no longer available
Price
N/A
13
*DISCD*GEAR 13T
Item is no longer available
Price
N/A
14
*DISCD*GEAR 16T
Item is no longer available
Price
N/A
15
*DISCD*WOODRUFF KEY 10 X 25
$1.49
Enter quantity between 1 and 99
16
*DISCD*GEAR 40T
Item is no longer available
Price
N/A
17
Now: PW04M
FLAT WASHER 10MM
Price
N/A
18
Now: PB14M
HEX BOLT M10-1.5 X 35
Price
N/A
19
*DISCD*GEAR COVER
$25.20
Enter quantity between 1 and 99
20
LOCK WASHER 6MM
Price
N/A
21
Now: PB18M
HEX BOLT M6-1 X 15
Price
N/A
22
*DISCD*FEED ROLLER KNOB
$10.10
Enter quantity between 1 and 99
23
Now: PB09M
HEX BOLT M8-1.25 X 20
Price
N/A
24
*DISCD*HEX SCREW M12 X 65
$1.75
Enter quantity between 1 and 99
25
*DISCD*ROLLER #1 BASE
$16.10
Enter quantity between 1 and 99
26
*DISCD*ROLLER #1
Item is no longer available
Price
N/A
27
*DISCD*ROLLER BASE
Item is no longer available
Price
N/A
28
*DISCD*FEED ROLLER
Item is no longer available
Price
N/A
29
*DISCD*ROLLER #2
Item is no longer available
Price
N/A
30
*DISCD*SHAFT
Item is no longer available
Price
N/A
31
*DISCD*HANDLE LOCKING BUSH
Item is no longer available
Price
N/A
32
SET SCREW M8-1.25 X 8
Price
N/A
33
*DISCD*ROLLER #1 BUSHING M10 X 15
$17.75
Enter quantity between 1 and 99
34
SET SCREW M10-1.5 X 20
Price
N/A
35
*DISCD*CRANK HANDLE
$17.85
Enter quantity between 1 and 99
36
Now: PB09M
HEX BOLT M8-1.25 X 20
Price
N/A
37
*DISCD*GRIP
$6.35
Enter quantity between 1 and 99
38
*DISCD*GRIP SHAFT
Item is no longer available
Price
N/A
MAN
*DISCD*MANUAL FOR G5771 FACTORY
Item is no longer available
Price
N/A