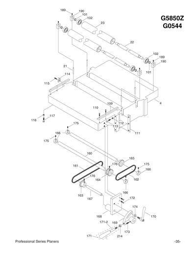
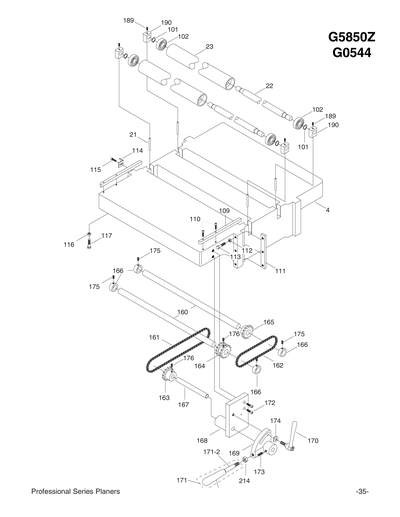
Parts for G5850Z 20" 5 HP Professional Planer

Parts Diagrams for G5850Z - 20" 5 HP Professional Planer

IMPORTANT

Parts may have multiple versions that have changed over time. This will be indicated by V1, V2, V3, etc. in the parts description, followed by the version month and year that it was first used. Example: V2.01.17 indicates version 2 of a part went into use in January 2017. Please reference the manufacture date on the ID Label for your machine to ensure you are selecting the correct part when multiple versions are indicated.

If you cannot locate your part below, please contact our tech support department at techsupport@grizzly.com or 570-546-9663.

Please note: All parts ship out of our Springfield, Missouri facility.

Parts List for Parts for G5850Z 20" 5 HP Professional Planer

25B
BEARING LOCKING RING 15/16-16 LH L SIDE
Price
N/A
48
*DISCD*INFEED ROLLER SOLID SLEEVE
Item is no longer available
Price
N/A
51
*DISCD*CUTTERHEAD 20" 4 KNIFE
Item is no longer available
Price
N/A
51-1
FLAT HD SCR M6-1 X 16
Price
N/A
64-1
GIB W/GIB BOLTS 4-KNIFE CUTTERHEAD
Item is no longer available
Price
N/A
64-2
GIB BOLT
Price
N/A
79
Now: PK09
KEY 1/4 X 1/4 X 3/4
Price
N/A
158
SPACER
$7.25
Enter quantity between 1 and 99
170
LOCK HANDLE 1/2-12
$12.75
Enter quantity between 1 and 99
171-1
PLASTIC KNOB
$4.60
Enter quantity between 1 and 99
171-2
SHOULDER STUD 1/2-12
$19.30
Enter quantity between 1 and 99
176
Now: PSS05
SET SCREW 5/16-18 X 1/4
Price
N/A
177-1
FEED MOTOR FAN
$7.25
Enter quantity between 1 and 99
178-1
*DISCD*VARIABLE SPEED CONTROLLER KNOB V1
Item is no longer available
Price
N/A
178-1V2
*DISCD*VS CONTROLLER KNOB V2.10.09
Item is no longer available
Price
N/A
178-2V2
KNOB PLATE V2.10.09
Item is no longer available
Price
N/A
178V2
VARIABLE SPEED CONTROLLER V2.10.09
$659.25
Enter quantity between 1 and 99
179
CONTROL PANEL
$92.50
Enter quantity between 1 and 99
180
POWER INDICATOR LIGHT 22MM WHT
$37.95
Enter quantity between 1 and 99
181
E-STOP BUTTON 250V 10A
$43.50
Enter quantity between 1 and 99
182
CUTTERHEAD MOTOR ON BUTTON
$64.70
Enter quantity between 1 and 99
182A
INDICATOR BULB 220V
Price
N/A
190
BED ROLLER BASE
$55.45
Enter quantity between 1 and 99
191
DUST HOOD
$366.65
Enter quantity between 1 and 99
202
Now: PB70
HEX BOLT 3/8-16 X 6
Price
N/A
203
COMPRESSION SPRING
$4.30
Enter quantity between 1 and 99
206-1
KNIFE GAUGE FEET 2PC
$142.25
Enter quantity between 1 and 99
214
Now: PN06
HEX NUT 1/2-12
Price
N/A
300
MAG SWITCH ASSY V1
$1,800.40
Enter quantity between 1 and 99
300-3
CONTACTOR RAB-35T10
$92.40
Enter quantity between 1 and 99
300V2
MAG SWITCH ASSY V2.12.16
Item is no longer available
Price
N/A
300V2-1
CONTACTOR RIKEN RAB-A18 220V
$189.50
Enter quantity between 1 and 99
300V2-2
OL RELAY RIKEN BTH-18T-2H18 12-18A
$130.10
Enter quantity between 1 and 99
300V2-3
CONTACTOR RIKEN RAB-A35 220V
$307.65
Enter quantity between 1 and 99
300V2-4
OL RELAY RIKEN BTH-352H36 24-36A
$269.20
Enter quantity between 1 and 99
301-1
FUSE 2A
$9.10
Enter quantity between 1 and 99
302
INDICATOR BULB 220V
$30.85
Enter quantity between 1 and 99