Parts for G5912Z 5 HP Professional Spindle Shaper - Z Series

Parts Diagrams for G5912Z - 5 HP Professional Spindle Shaper - Z Series

IMPORTANT

Parts may have multiple versions that have changed over time. This will be indicated by V1, V2, V3, etc. in the parts description, followed by the version month and year that it was first used. Example: V2.01.17 indicates version 2 of a part went into use in January 2017. Please reference the manufacture date on the ID Label for your machine to ensure you are selecting the correct part when multiple versions are indicated.

If you cannot locate your part below, please contact our tech support department at techsupport@grizzly.com or 570-546-9663.

Please note: All parts ship out of our Springfield, Missouri facility.

Parts List for Parts for G5912Z 5 HP Professional Spindle Shaper - Z Series

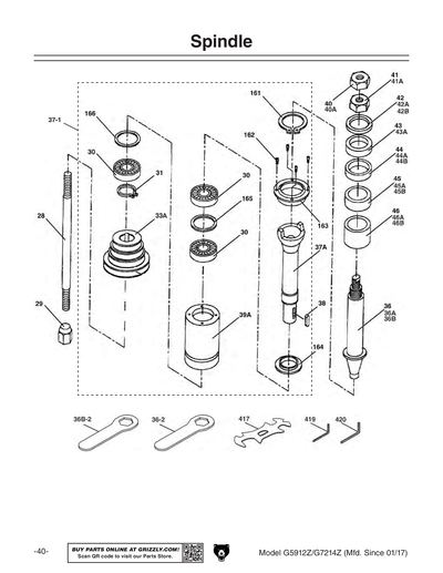
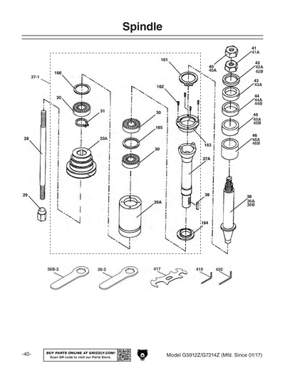
1
Now: PSS38
SET SCREW 5/16-18 X 5/8
Price
N/A
2
TABLE
$1,027.60
Enter quantity between 1 and 99
2B
*DISCD*ELECTRICAL BOX ASSY V2.03.06
Item is no longer available
Price
N/A
3
SMALL INNER
$54.35
Enter quantity between 1 and 99
4
MID-SIZED INSERT
$55.20
Enter quantity between 1 and 99
5
LARGE INSERT
$165.40
Enter quantity between 1 and 99
6
STAND ASSY
$1,174.90
Enter quantity between 1 and 99
6-1
DEGREE SCALE
$6.75
Enter quantity between 1 and 99
7
Now: PN08
HEX NUT 3/8-16
Price
N/A
8
Now: PLW04
LOCK WASHER 3/8
Price
N/A
9
Now: PW02
FLAT WASHER 3/8
Price
N/A
10
RIGHT TABLE BRACE
$30.95
Enter quantity between 1 and 99
11
Now: PN07
HEX NUT 10-24
Price
N/A
12
Now: PS12
PHLP HD SCR 1/4-20 X 5/8
Price
N/A
13
REMOVABLE DUST DOOR
$77.20
Enter quantity between 1 and 99
14
Now: PB24
HEX BOLT 3/8-16 X 1-1/4
Price
N/A
15
Now: PB21
HEX BOLT 3/8-16 X 3/4
Price
N/A
16
MOTOR COVER
$83.45
Enter quantity between 1 and 99
17
Now: PS08
PHLP HD SCR 10-24 X 3/4
Price
N/A
18
TERMINAL BOX ASSY
$22.20
Enter quantity between 1 and 99
18A
TERMINAL BOX W/O BUSBAR
$22.20
Enter quantity between 1 and 99
19
STRAIN RELIEF M14.5 TYPE-6 ST
$4.70
Enter quantity between 1 and 99
20
CORD ELECTRIC
$23.90
Enter quantity between 1 and 99
21
STRAIN RELIEF 5/8" TYPE-9 ELBOW
$4.70
Enter quantity between 1 and 99
22
*DISCD*ELECTRICAL BOX ASSY V1.10.98
Item is no longer available
Price
N/A
22-1
CONTACTOR
Price
N/A
22-1A
ON SWITCH ROUND V2.03.06
Price
N/A
22-1B
CONTACTOR
Price
N/A
22-2
*DISCD*THERMAL TYPE TH-20 24/36A
Item is no longer available
Price
N/A
22-2A
OFF SWITCH ROUND V2.03.06
Price
N/A
22-3
E-STOP BUTTON 230V 6A V2.03.06
Price
N/A
22-5V2
F/O/R SWITCH KEDU ZH-HC-31-BY V2.03.06
$79.15
Enter quantity between 1 and 99
22A
CONTROL PANEL ASSY V2.03.06
Price
N/A
22A-1
CONTACTOR
Price
N/A
22A-2
OL RELAY NHD TH-60 24-36A V2.01.06
$54.30
Enter quantity between 1 and 99
22A-7
RED AND GREEN 220V LIGHT BULB 2PC
Price
N/A
22B
CONTROL PANEL ASSY V2.03.06
$799.40
Enter quantity between 1 and 99
22B-1
CONTACTOR
$150.05
Enter quantity between 1 and 99
22B-2
OL RELAY
$73.10
Enter quantity between 1 and 99
23
LEFT TABLE BRACE
$30.95
Enter quantity between 1 and 99
24
Now: G5799
Cast-Iron Miter Gauge
Price
N/A
28
LOCK BOLT 5/8-11
$28.70
Enter quantity between 1 and 99
29
TAPER LOCK NUT
$11.50
Enter quantity between 1 and 99
30
BALL BEARING 6008ZZ
Price
N/A
31
Now: PR68M
EXT RETAINING RING 40MM
Price
N/A
32
Now: PR50M
INT RETAINING RING 80MM
Price
N/A
33
SPINDLE PULLEY ASSEMBLY
Price
N/A
33A
SPINDLE PULLEY ASSEMBLY
$708.65
Enter quantity between 1 and 99
34
*DISCD*STAR WASHER 30MM
Item is no longer available
Price
N/A
35
*DISCD*SPANNER NUT
Item is no longer available
Price
N/A
36
SPINDLE ASSEMBLY 1-1/4"
Price
N/A
36-1
SPINDLE ASSEMBLY 1-1/4"
$423.05
Enter quantity between 1 and 99
36-2
MULTI-WRENCH
Price
N/A
36A
SPINDLE 3/4" ASSY
Price
N/A
36A-1
SPINDLE 3/4" ASSY
$331.90
Enter quantity between 1 and 99
36B
SPINDLE 1" ASSY
Price
N/A
36B-1
SPINDLE 1" ASSY
$432.05
Enter quantity between 1 and 99
36B-2
MULTI-WRENCH
Price
N/A
37
PULLEY AND QUILL ASSEMBLY
Price
N/A
37-1
PULLEY AND QUILL ASSEMBLY
$1,575.90
Enter quantity between 1 and 99
37A
SPINDLE PULLEY ASSEMBLY
Price
N/A
38
Now: PK55M
KEY 7 X 7 X 40
Price
N/A
39
*DISCD*QUILL 7-3/4" LONG V1.08.98
Item is no longer available
Price
N/A
39-1
PULLEY AND QUILL ASSEMBLY
Price
N/A
39A
QUILL 7-3/4" LONG V2.01.02
$494.10
Enter quantity between 1 and 99
40
HEX NUT 3/4-16 LH
Price
N/A
40A
HEX NUT 5/8-18 LH
Price
N/A
41
Now: PN32
HEX NUT 1-14
Price
N/A
42
***USE P5912Z036-1***
$16.70
Enter quantity between 1 and 99
42A
COLLAR 1" X 1/4"
$8.65
Enter quantity between 1 and 99
42B
COLLAR 3/4" X 1/4"
$14.95
Enter quantity between 1 and 99
43
COLLAR 1-1/4" X 3/8" 1PC
$17.85
Enter quantity between 1 and 99
43A
COLLAR 1" X 3/8"
$8.65
Enter quantity between 1 and 99
43B
SPINDLE 3/4" ASSY
Price
N/A
44
COLLAR 1-1/4" X 1/2 2PC
Price
N/A
44A
COLLAR 1" X 1/2"
$8.65
Enter quantity between 1 and 99
44B
COLLAR 3/4" X 1/2"
$14.95
Enter quantity between 1 and 99
45
COLLAR 1-1/4" X 3/4" (2PC)
$37.70
Enter quantity between 1 and 99
45A
COLLAR 1" X 3/4" 2PC
$16.10
Enter quantity between 1 and 99
45B
SPINDLE 3/4" ASSY
Price
N/A
46
COLLAR 1-1/4" X 1" 2PC
$53.50
Enter quantity between 1 and 99
46A
COLLAR 1" X 1" 2PC
$16.10
Enter quantity between 1 and 99
46B
COLLAR 3/4" X 1" 2PC
$17.25
Enter quantity between 1 and 99
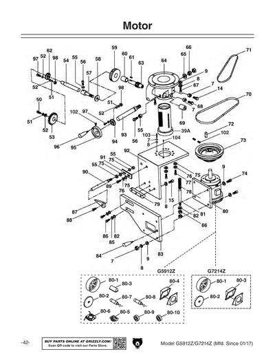
50
Now: PB02
HEX BOLT 1/4-20 X 5/8
Price
N/A
51
Now: PLW02
LOCK WASHER 1/4
Price
N/A
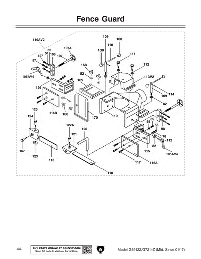
52
Now: PW06
FLAT WASHER 1/4
Price
N/A
53
LOCK KNOB
$24.30
Enter quantity between 1 and 99
54
BAR LOCK
$25.70
Enter quantity between 1 and 99
55
Now: PN02
HEX NUT 5/16-18
Price
N/A
56
Now: PB03
HEX BOLT 5/16-18 X 1
Price
N/A
57
SCREW LOCK
$11.95
Enter quantity between 1 and 99
58
WASHER GEAR
$22.70
Enter quantity between 1 and 99
59
GEAR
$68.60
Enter quantity between 1 and 99
60
COLLAR
$23.90
Enter quantity between 1 and 99
61
Now: PK37M
KEY 4 X 4 X 16
Price
N/A
62
BASE GEAR SHAFT
$39.85
Enter quantity between 1 and 99
63
SHAFT GEAR
$78.85
Enter quantity between 1 and 99
64
BASE SPINDLE
$540.10
Enter quantity between 1 and 99
65
Now: PW01
FLAT WASHER 1/2
Price
N/A
66
LOCK NUT 1/2"-12
$5.15
Enter quantity between 1 and 99
67
CAP SCREW 3/8-16 X 1-1/4
Price
N/A
68
SCREW 3/8-16 X 1-1/4
$5.05
Enter quantity between 1 and 99
69
COLLAR
$22.50
Enter quantity between 1 and 99
70
Now: PVA30
V-BELT A30
Price
N/A
71
Now: PVA28
V-BELT A28
Price
N/A
72
KEY 7 X 7 X 50
Price
N/A
73
MOTOR PULLEY
$247.55
Enter quantity between 1 and 99
74
Now: PB16
HEX BOLT 3/8-16 X 1-1/2
Price
N/A
75
Now: PW07
FLAT WASHER 5/16
Price
N/A
76
Now: PLW01
LOCK WASHER 5/16
Price
N/A
77
CAP SCREW 5/16-18 X 1
Price
N/A
78
COMPRESSION SPRING 3.4 X 20.3
$23.30
Enter quantity between 1 and 99
79
*DISCD*KEY 3/8 X 3/4 X 1
$7.20
Enter quantity between 1 and 99
80
MOTOR 5HP 220V 1-PH
Price
N/A
80-1
MOTOR FAN COVER
$21.75
Enter quantity between 1 and 99
80-10
FRONT MOTOR BEARING
$19.10
Enter quantity between 1 and 99
80-2
MOTOR FAN
$35.00
Enter quantity between 1 and 99
80-3
CAPACITOR COVER
$10.65
Enter quantity between 1 and 99
80-4
MOTOR JUNCTION BOX
$13.60
Enter quantity between 1 and 99
80-5
CENT SWITCH 1/2-3450
Price
N/A
80-6
CONTACT PLT-TUNGSTEN 5HP OR LESS
Price
N/A
80-7
S CAPACITOR 400M 125V 1-3/4 X 3-3/8
Price
N/A
80-8
R CAPACITOR 50M 250V 1-3/4 X 2-3/4
Price
N/A
80-9
REAR MOTOR BEARING
$18.70
Enter quantity between 1 and 99
81
SHAFT
$36.55
Enter quantity between 1 and 99
82
Now: PW01
FLAT WASHER 1/2
Price
N/A
83
MOTOR BASE
$254.45
Enter quantity between 1 and 99
84
KNOB
$5.55
Enter quantity between 1 and 99
85
Now: PLW07
LOCK WASHER 1/2
Price
N/A
86
Now: PB54
HEX BOLT 1/2-20 X 1
Price
N/A
87
POINTER
$5.85
Enter quantity between 1 and 99
88
Now: PS06
PHLP HD SCR 10-24 X 3/8
Price
N/A
89
Now: PB07
HEX BOLT 5/16-18 X 3/4
Price
N/A
90
SHAFT GUIDE
$21.75
Enter quantity between 1 and 99
91
PLATE
$56.60
Enter quantity between 1 and 99
92
MOTOR PLATE
$162.45
Enter quantity between 1 and 99
93
SHAFT GEAR
$68.60
Enter quantity between 1 and 99
94
BASE GEAR SHAFT
$31.15
Enter quantity between 1 and 99
95
METAL HANDWHEEL
$131.85
Enter quantity between 1 and 99
96
HANDLE
$31.25
Enter quantity between 1 and 99
97
Now: PB13
HEX BOLT 1/4-20 X 1-1/4
Price
N/A
98
Now: PN05
HEX NUT 1/4-20
Price
N/A
102
Now: PSS24
SET SCREW 10-32 X 3/16
Price
N/A
103
Now: PSS53
SET SCREW 3/8-16 X 1
Price
N/A
104
Now: PSS09
SET SCREW 3/8-16 X 1/2
Price
N/A
105
*DISCD*RATCHET LOCK HANDLE PLASTIC V1
Item is no longer available
Price
N/A
105A
ADJ HANDLE 1/2" - 12
Price
N/A
105AV3
ADJ HANDLE 1/2" - 12
Price
N/A
105AV4
ADJ HANDLE 1/2" - 12
$43.80
Enter quantity between 1 and 99
106
BRACKET SCREW GUIDE
$24.85
Enter quantity between 1 and 99
107
SCREW GUIDE ASSY
$42.15
Enter quantity between 1 and 99
107-1
SCREW GUIDE ROD
$6.70
Enter quantity between 1 and 99
107A
HANDWHEEL
$13.55
Enter quantity between 1 and 99
108
BALL KNOB 3/8-16 (PLASTIC)
$3.40
Enter quantity between 1 and 99
109
SHAFT GUIDE
$53.85
Enter quantity between 1 and 99
110
$10.35
Enter quantity between 1 and 99
111
KNOB 5/16-18 V1
$21.40
Enter quantity between 1 and 99
112
Now: PW07
FLAT WASHER 5/16
Price
N/A
113
CUTTER GUARD COVER V2.01.17
Price
N/A
113V2
CUTTER GUARD COVER V2.01.17
$106.00
Enter quantity between 1 and 99
114
Now: PSS11
SET SCREW 1/4-20 X 1/4
Price
N/A
115
BRACKET ASSY FENCE RH
$111.25
Enter quantity between 1 and 99
116
FENCE WOODEN ASSEMBLY 2PC
$89.15
Enter quantity between 1 and 99
116A
FENCE WOODEN ASSEMBLY 2PC
Price
N/A
116B
FENCE WOODEN ASSEMBLY 2PC
Price
N/A
117
Now: PFH23
FLAT HD SCR 5/16-18 X 1-1/2
Price
N/A
118
HOLD DOWN PLATE
$26.80
Enter quantity between 1 and 99
119
GUARD/DUST HOOD
$337.25
Enter quantity between 1 and 99
119A
COMPLETE FENCE ASSY V1
$1,424.15
Enter quantity between 1 and 99
119AV2
COMPLETE FENCE ASSY V2.01.17
$1,305.35
Enter quantity between 1 and 99
120
$35.00
Enter quantity between 1 and 99
121
RETAINER L 5/8"
$56.05
Enter quantity between 1 and 99
122
HANDLE LOCK V1.08.98
$9.70
Enter quantity between 1 and 99
122A
KNOB BOLT 3/8-16 X 1 V2.10.02
$10.10
Enter quantity between 1 and 99
123
NUT 3/8
$21.40
Enter quantity between 1 and 99
124
RETAINER S 1/2"
$56.05
Enter quantity between 1 and 99
125
KNOB
$22.60
Enter quantity between 1 and 99
126
BRACKET ASSY FENCE LH
$108.45
Enter quantity between 1 and 99
127
Now: PB26
HEX BOLT 1/4-20 X 1-1/2
Price
N/A
128
E-STOP BUTTON 230V 6A V2.03.06
Price
N/A
129
F/O/R SWITCH KEDU ZH-HC-433-BY V2.03.06
Price
N/A
161
Now: PR43M
EXT RETAINING RING 50MM
Price
N/A
162
CAP SCREW M4-.7 X 10
Price
N/A
163
OUTER DUST COVER
$43.30
Enter quantity between 1 and 99
164
INNER DUST COVER
$27.35
Enter quantity between 1 and 99
165
WAVY WASHER
$22.45
Enter quantity between 1 and 99
166
WAVY WASHER
$17.55
Enter quantity between 1 and 99
167
KNOB BOLT 3/8-16 X 1
$12.35
Enter quantity between 1 and 99
168
KNOB BOLT 1/4-20 X 1/2
$9.35
Enter quantity between 1 and 99
169
FRONT GUARD EXTENSION PLATE
$46.85
Enter quantity between 1 and 99
170
FRONT SPINDLE ENCLOSURE GUARD
$42.70
Enter quantity between 1 and 99
223
ADJ HANDLE 1/2" - 12
Price
N/A
250
KNOB BOLT 3/8"
Price
N/A
319
HOOD
$365.90
Enter quantity between 1 and 99
400
MACHINE ID LABEL
$16.40
Enter quantity between 1 and 99
401
Now: G8589
Nameplate - Large
Price
N/A
402
*DISCD*PULLEY LABEL
Price
N/A
403
SPEED CHANGE LABEL
$7.85
Enter quantity between 1 and 99
404
BOLT BAG FOR CENTER SECTION
$211.80
Enter quantity between 1 and 99
405
BOLT BAG FOR BRACKET SCREW GUIDE SECTION
$61.60
Enter quantity between 1 and 99
406
MOVABLE FENCE ASSY L & R
$153.40
Enter quantity between 1 and 99
407
HOLD DOWN ASSY
$222.85
Enter quantity between 1 and 99
408
READ MANUAL 2W X 3.3H V2.07.05
Price
N/A
409
SCALE LABEL
$4.50
Enter quantity between 1 and 99
410
ROTATION DIRECTION LABEL
$9.95
Enter quantity between 1 and 99
411
GLASSES/RESPIRATOR 2W X 3.3H
Price
N/A
412
HAND NEAR CUTTER LABEL
$2.65
Enter quantity between 1 and 99
413
DISCONNECT HARDWIRED POWER 1.5W X 2.5H
Price
N/A
414
ELECTRICITY 1.4W X 1.2H
Price
N/A
415
LARGE ELECTRICITY LABEL
$24.15
Enter quantity between 1 and 99
416
N/S GRIZZLY GREEN G1023S
Price
N/A
417
MULTI-WRENCH
$46.80
Enter quantity between 1 and 99
418
MODEL NUMBER LABEL
$16.40
Enter quantity between 1 and 99
419
HEX WRENCH 3MM
Price
N/A
420
HEX WRENCH 4MM
Price
N/A
MANUAL
***USE P5912ZMANUAL***
Price
N/A
MANV2
MANUAL G5912Z/G7214Z MFD-12.06-02.13 V2
$11.50
Enter quantity between 1 and 99
MANV3
MANUAL G5912Z/G7214Z MFD-03.13-12.16 V3
$11.75
Enter quantity between 1 and 99
MANV4
MANUAL G5912Z/G7214Z MFD-01.17+ V4
$12.50
Enter quantity between 1 and 99
SAMPLE
SAMPLE SPINDLES
$182.60
Enter quantity between 1 and 99