Parts for G5959 12" Table Saw Pro-Cabinet-Style 5 HP Single-Phase 220V

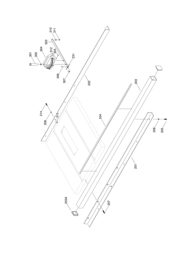
Parts Diagrams for G5959 - 12" Table Saw Pro-Cabinet-Style 5 HP Single-Phase 220V

IMPORTANT

Parts may have multiple versions that have changed over time. This will be indicated by V1, V2, V3, etc. in the parts description, followed by the version month and year that it was first used. Example: V2.01.17 indicates version 2 of a part went into use in January 2017. Please reference the manufacture date on the ID Label for your machine to ensure you are selecting the correct part when multiple versions are indicated.

If you cannot locate your part below, please contact our tech support department at techsupport@grizzly.com or 570-546-9663.

Please note: All parts ship out of our Springfield, Missouri facility.

Parts List for Parts for G5959 12" Table Saw Pro-Cabinet-Style 5 HP Single-Phase 220V

1
*DISCD*WASHER D20XD28X0.5MMT
$1.49
Enter quantity between 1 and 99
2
*DISCD*BUSHING
$3.75
Enter quantity between 1 and 99
3
*DISCD*BUSHING
Item is no longer available
Price
N/A
4
*DISCD*ARBOR NUT 1"-12
$22.95
Enter quantity between 1 and 99
4A
*DISCD*ARBOR NUT 5/8"-12
Item is no longer available
Price
N/A
5
*DISCD*BLADE FLANGE 1"
Item is no longer available
Price
N/A
5A
*DISCD*BLADE FLANGE 5/8"
Item is no longer available
Price
N/A
6
*DISCD*ARBOR EXTENSION 1"ID BLADE
Item is no longer available
Price
N/A
6A
*DISCD*ARBOR ADAPTER 5/8" LH
Item is no longer available
Price
N/A
7
*DISCD*ARBOR
Item is no longer available
Price
N/A
8
BALL BEARING 6005ZZ
Price
N/A
9
CAP SCREW M8-1.25 X 25
Price
N/A
10
SET SCREW M8-1.25 X 8
Price
N/A
11
*DISCD*ARBOR BRACKET
Item is no longer available
Price
N/A
11A
COMPLETE ARBOR BRACKET ASSY
Item is no longer available
Price
N/A
12
Now: PB02M
HEX BOLT M6-1 X 12
Price
N/A
13
Now: PN01M
HEX NUT M6-1
Price
N/A
14
Now: PB14M
HEX BOLT M10-1.5 X 35
Price
N/A
15
LOCK WASHER 10MM
Price
N/A
16
SET SCREW M6-1 X 6
Price
N/A
17
*DISCD*INDICATOR BRACKET
$6.90
Enter quantity between 1 and 99
18
*DISCD*SOCKET HEAD BOLT M5-.8 x 75
Price
N/A
19
*DISCD*INDICATOR
Item is no longer available
Price
N/A
20
Now: PW02M
FLAT WASHER 5MM
Price
N/A
21
Now: PS05M
PHLP HD SCR M5-.8 X 8
Price
N/A
22
*DISCD*COLLAR
Item is no longer available
Price
N/A
23
*DISCD*COLLAR
Item is no longer available
Price
N/A
24
ROLL PIN 4 X 32
Price
N/A
25
*DISCD*PIN BRASS
Item is no longer available
Price
N/A
26
*DISCD*TILT ADJUSTMENT SHAFT
$9.50
Enter quantity between 1 and 99
27
*DISCD*FRONT TRUNNION BRACKET
Item is no longer available
Price
N/A
28
Now: PK23M
KEY 5 X 5 X 25
Price
N/A
29
*DISCD*WASHER D20XD28X0.5MM
$1.49
Enter quantity between 1 and 99
30
*DISCD*FRONT TRUNNION
$43.45
Enter quantity between 1 and 99
31
Now: PN03M
HEX NUT M8-1.25
Price
N/A
32
CAP SCREW M8-1.25 X 35
Price
N/A
33
CAP SCREW M8-1.25 X 35
Price
N/A
34
*DISCD*PIVOT SHAFT
$3.45
Enter quantity between 1 and 99
35
HEX BOLT M12-1.75 X 16
Price
N/A
36
Now: PW06M
FLAT WASHER 12MM
Price
N/A
37
*DISCD*COTTER PIN
$1.49
Enter quantity between 1 and 99
38
Now: PK33M
KEY 5 X 5 X 45
Price
N/A
39
SET SCREW M6-1 X 6
Price
N/A
40
*DISCD*DRIVE PULLEY
Item is no longer available
Price
N/A
41
*DISCD*SNAP RING, R22
$1.49
Enter quantity between 1 and 99
41A
Now: PR10M
EXT RETAINING RING 22MM
Price
N/A
42
*DISCD*BEARING WASHER P62043
Item is no longer available
Price
N/A
43
BALL BEARING 6204ZZ
Price
N/A
44
*DISCD*WASHER AW04
Item is no longer available
Price
N/A
45
*DISCD*LOCK NUT 20MM AN04
Item is no longer available
Price
N/A
46
*DISCD*COVER
Item is no longer available
Price
N/A
47
CAP SCREW M6-1 X 12
Price
N/A
48
*DISCD*DUST DEFLECTOR
Item is no longer available
Price
N/A
49
Now: PS05M
PHLP HD SCR M5-.8 X 8
Price
N/A
50
CAP SCREW M8-1.25 X 12
Price
N/A
51
Now: PW01M
FLAT WASHER 8MM
Price
N/A
52
*DISCD*FRONT SUPPORT BRACKET
Item is no longer available
Price
N/A
53
CAP SCREW M6-1 X 12
Price
N/A
54
LOCK WASHER 12MM
Price
N/A
55
Now: PN09M
HEX NUT M12-1.75
Price
N/A
56
CAP SCREW M10-1.5 X 25
Price
N/A
57
*DISCD*BALL PIN 8 X 20
$1.49
Enter quantity between 1 and 99
58
*DISCD*REAR TRUNNION BRACKET
Item is no longer available
Price
N/A
59
*DISCD*BALL PIN 8 X 20
Price
N/A
60
*DISCD*ARM
$40.25
Enter quantity between 1 and 99
61
SET SCREW M6-1 X 6
Price
N/A
62
*DISCD*MOTOR MOUNT SUPPORT
Item is no longer available
Price
N/A
63
Now: PB20M
HEX BOLT M8-1.25 X 35
Price
N/A
64
Now: PN03M
HEX NUT M8-1.25
Price
N/A
65
KEY 5 X 5 X 75
Price
N/A
66
*DISCD*SHAFT
$7.20
Enter quantity between 1 and 99
67
*DISCD*WASHER D29XD55X0.5MM
Item is no longer available
Price
N/A
68
*DISCD*WORM GEAR
Item is no longer available
Price
N/A
69
LOCK WASHER 10MM
Price
N/A
70
Now: PN02M
HEX NUT M10-1.5
Price
N/A
71
*DISCD*MOTOR MOUNT PLATE
$20.15
Enter quantity between 1 and 99
72
Now: PB01M
HEX BOLT M10-1.5 X 30
Price
N/A
73
*DISCD*BEARING DUST DEFLECTOR
$1.49
Enter quantity between 1 and 99
74
THRUST BEARING 51104
Price
N/A
75
*DISCD*HEIGHT ADJUSTMENT SHAFT
$10.35
Enter quantity between 1 and 99
76
Now: PR19M
EXT RETAINING RING 28MM
Price
N/A
77
*DISCD*REAR TRUNNION BRACKET
Item is no longer available
Price
N/A
78
Now: PW02M
FLAT WASHER 5MM
Price
N/A
80
MOTOR PULLEY
$41.70
Enter quantity between 1 and 99
80A
Now: PK41M
KEY 8 X 8 X 40
Price
N/A
81
SET SCREW M6-1 X 6
Price
N/A
82
Now: PVA28
V-BELT A28
Price
N/A
83
*DISCD*ARBOR EXTENSION DADO 5/8"
Item is no longer available
Price
N/A
84
HEX WRENCH 8MM
Price
N/A
85
*DISCD*SPANNER WRENCH
Price
N/A
86
Now: G4808
12" x 1" 40t ATB .130 Ripping Blade
Price
N/A
87
HEX WRENCH 5MM
Price
N/A
88
HEX WRENCH 3MM
Price
N/A
89
WRENCH 11 X 13MM OPEN-ENDS
Price
N/A
90
WRENCH 12 X 14MM OPEN-ENDS
Price
N/A
91
WRENCH 17 X 19MM OPEN-ENDS
Price
N/A
92
*DISCD*COMPLETE MITER GAUGE
Item is no longer available
Price
N/A
92A
Now: PW04M
FLAT WASHER 10MM
Price
N/A
101
*DISCD*EXTENSION TABLE RIGHT
Price
N/A
101A
*DISCD*EXTENSION TABLE RIGHT
Item is no longer available
Price
N/A
101B
*DISCD*EXTENSION TABLE LEFT
Item is no longer available
Price
N/A
102
Now: PB14M
HEX BOLT M10-1.5 X 35
Price
N/A
103
LOCK WASHER 10MM
Price
N/A
104
CAP SCREW M6-1 X 20
Price
N/A
106
*DISCD*BLADE INSERT
Item is no longer available
Price
N/A
107
SET SCREW M6-1 X 8
Price
N/A
108
*DISCD*TABLE
$364.00
Enter quantity between 1 and 99
109
*DISCD*BASE
$401.65
Enter quantity between 1 and 99
110
*DISCD*INDICATOR PLATE
$4.35
Enter quantity between 1 and 99
111
Now: PS34
PHLP HD SCR M3-.5 X 25
Price
N/A
112
*DISCD*MAG SWITCH 5HP 220V 50/60HZ
Price
N/A
113
Now: PN04M
HEX NUT M4-.7
Price
N/A
114
LINE CORD 51"L MAG TO MOTOR
$19.35
Enter quantity between 1 and 99
115
LOCK WASHER 10MM
Price
N/A
116
Now: PB01M
HEX BOLT M10-1.5 X 30
Price
N/A
117
*DISCD*MAG SWITCH 5HP 220V 50/60HZ
Item is no longer available
Price
N/A
118
Now: PS05M
PHLP HD SCR M5-.8 X 8
Price
N/A
119
LOCK NUT M5-.8
Price
N/A
120
Now: PS05M
PHLP HD SCR M5-.8 X 8
Price
N/A
121
*DISCD*LINE CORD CLAMP
$1.49
Enter quantity between 1 and 99
122
*DISCD*LINE CORD 65"L MAG-TERM W/O JUNCT
Item is no longer available
Price
N/A
122V2
LINE CORD 51"L MAG TO MOTOR
Price
N/A
123
*DISCD*DOOR
Item is no longer available
Price
N/A
125
*DISCD*STRAIN RELIEF M20.5 TYPE-1 SNAP-I
Item is no longer available
Price
N/A
126
*DISCD*LOCK KNOB
Item is no longer available
Price
N/A
127
*DISCD*SCREW
$3.45
Enter quantity between 1 and 99
128
*DISCD*CRANK HANDLE
Price
N/A
128A
*DISCD*CRANK HANDLE
Item is no longer available
Price
N/A
129
*DISCD*HEX NUT
$1.49
Enter quantity between 1 and 99
130
*DISCD*HANDWHEEL
Item is no longer available
Price
N/A
131
CAP SCREW M8-1.25 X 20
Price
N/A
132
*DISCD*SHIELD PLATE
$5.20
Enter quantity between 1 and 99
133
SET SCREW M6-1 X 6
Price
N/A
134
*DISCD*STRAIN RELIEF
Item is no longer available
Price
N/A
134A
*DISCD*WIRING BOX
Item is no longer available
Price
N/A
135
LOCK WASHER 4MM
Price
N/A
136
*DISCD*HANDWHEEL
Price
N/A
137
*DISCD*GUARD SUPPORT ROD
Item is no longer available
Price
N/A
137A
*DISCD*COMPLETE GUARD SUPPORT ASSY
Item is no longer available
Price
N/A
138
Now: PB07M
HEX BOLT M8-1.25 X 25
Price
N/A
139
Now: PW01M
FLAT WASHER 8MM
Price
N/A
140
*DISCD*GUARD SUPPORT UPPER
Item is no longer available
Price
N/A
141
LOCK WASHER 8MM
Price
N/A
142
*DISCD*GUARD SUPPORT LOWER
Item is no longer available
Price
N/A
143
Now: PW01M
FLAT WASHER 8MM
Price
N/A
144
Now: PB06M
HEX BOLT M8-1.25 X 12
Price
N/A
145
*DISCD*FRONT RAIL V1.04.98
Price
N/A
146
*DISCD*BACK RAIL V1.04.98
Price
N/A
147
*DISCD*T-BOLT
Item is no longer available
Price
N/A
148
*DISCD*RAIL SPACER 350ID 0.541T V1.04.98
Price
N/A
149
LOCK WASHER 10MM
Price
N/A
150
Now: PN02M
HEX NUT M10-1.5
Price
N/A
151
SET SCREW M6-1 X 8
Price
N/A
152
*DISCD*DADO INSERT
Item is no longer available
Price
N/A
153
MOTOR 5HP 220V 1PH
Price
N/A
153-1
Now: PC800
S CAPACITOR 800M 125V 1-3/4 X 3-3/8
Price
N/A
153-2
*DISCD*CAPACITOR COVER
Item is no longer available
Price
N/A
153-3
*DISCD*MOTOR FAN
Item is no longer available
Price
N/A
153-4
*DISCD*MOTOR FAN COVER
Item is no longer available
Price
N/A
153-5
*DISCD*CONNECTION BLOCK
$6.90
Enter quantity between 1 and 99
153A
*DISCD*CONTACT PLT SM EXT PT W/CENTRIFUA
Item is no longer available
Price
N/A
200
*DISCD*COMPLETE FENCE ASSY BOX 2
$172.50
Enter quantity between 1 and 99
201
*DISCD*FRONT RAIL V1.04.98
$46.00
Enter quantity between 1 and 99
202
*DISCD*BACK RAIL V1.04.98
$34.50
Enter quantity between 1 and 99
203
*DISCD*SQUARE TUBE V1.04.98
$46.30
Enter quantity between 1 and 99
203A
*DISCD*TUBE END CAP V1.08.03
Item is no longer available
Price
N/A
204
*DISCD*TAPE SCALE 50" V1.04.98
Item is no longer available
Price
N/A
205
Now: PB03M
HEX BOLT M8-1.25 X 16
Price
N/A
206
LOCK WASHER 8MM
Price
N/A
207
FLAT HD SCR M8-1.25 X 12
Price
N/A
208
*DISCD*FENCE SIDE V1.04.98
Item is no longer available
Price
N/A
208A
*DISCD*FENCE END CAP V1.06.03
Item is no longer available
Price
N/A
209
*DISCD*MAIN FENCE BODY V1.04.98
$65.55
Enter quantity between 1 and 99
209A
*DISCD*COMPLETE RAIL ASSY BOX 3 V1.02.08
Item is no longer available
Price
N/A
209B
Now: W2006
The Classic Fence w/ 7' Rails & Legs
Price
N/A
210
Now: PB74M
HEX BOLT M10-1.5 X 20
Price
N/A
211
Now: PW04M
FLAT WASHER 10MM
Price
N/A
212
LOCK WASHER 10MM
Price
N/A
213
Now: PN02M
HEX NUT M10-1.5
Price
N/A
214
Now: PB26M
HEX BOLT M8-1.25 X 30
Price
N/A
215
*DISCD*RAIL SPACER 350ID 0.541T V1.04.98
Item is no longer available
Price
N/A
216
*DISCD*NYLON BLOCK V1.04.98
$4.35
Enter quantity between 1 and 99
217
Now: PS20M
PHLP HD SCR M5-.8 X 15
Price
N/A
218
KNOB 3/8-16, D1-1/4, BALL
Price
N/A
219
*DISCD*LOCK HANDLE V1.04.98
Item is no longer available
Price
N/A
220
*DISCD*TEFLON PAD V1.04.98
Item is no longer available
Price
N/A
221
*DISCD*FENCE LOCK V1.04.98
Item is no longer available
Price
N/A
222
Now: PLN01
LOCK NUT 3/8-16
Price
N/A
223
Now: PB25
HEX BOLT 3/8-16 X 1-3/4
Price
N/A
224
LOCK NUT M6-1
Price
N/A
225
CAP SCREW M6-1 X 40
Price
N/A
226
*DISCD*HAIRLINE INDICATOR V1.04.98
Item is no longer available
Price
N/A
227
*DISCD*INDICATOR BRACKET V1.04.98
$6.90
Enter quantity between 1 and 99
228
Now: PS05M
PHLP HD SCR M5-.8 X 8
Price
N/A
229
Now: PW02M
FLAT WASHER 5MM
Price
N/A
230
SET SCREW M8-1.25 X 10
Price
N/A
231
*DISCD*NYLON ADJ SCR M12-1.75 X 12 V1.04
Item is no longer available
Price
N/A
232
Now: PN01M
HEX NUT M6-1
Price
N/A
233
*DISCD*FRONT GUIDE RAIL CAP
$6.05
Enter quantity between 1 and 99
234
*DISCD*STOP PIN
Item is no longer available
Price
N/A
235
*DISCD*WIPER PLATE
Item is no longer available
Price
N/A
236
*DISCD*ROUND HD SCR M4-.7 X 8
Item is no longer available
Price
N/A
237
*DISCD*FELT WIPER
Item is no longer available
Price
N/A
238
*DISCD*RAIL SPACER 350ID 0.541T V1.04.98
Price
N/A
239
*DISCD*FELT SPACER
Item is no longer available
Price
N/A
240
*DISCD*ROUND HD SCR M5-.8 X 16
Item is no longer available
Price
N/A
241
*DISCD*LOCK LEVER
Item is no longer available
Price
N/A
242
*DISCD*FRONT GUIDE CASTING
Item is no longer available
Price
N/A
244
*DISCD*FRONT ROLLER B
Item is no longer available
Price
N/A
245
CAP SCREW M6-1 X 20
Price
N/A
246
*DISCD*STUD
Item is no longer available
Price
N/A
247
*DISCD*SPRING
Item is no longer available
Price
N/A
248
Now: PN03M
HEX NUT M8-1.25
Price
N/A
249
*DISCD*HOOK CLAMP FRONT
Item is no longer available
Price
N/A
250
*DISCD*FENCE INDICATOR
Item is no longer available
Price
N/A
251
*DISCD*ROLLER SHAFT
Item is no longer available
Price
N/A
252
*DISCD*ROUND HD SCR M5-.8 X 8
Item is no longer available
Price
N/A
253
*DISCD*FRONT ROLLER C
Item is no longer available
Price
N/A
254
*DISCD*TOOL BOX W/O ARBOR EXTS
$33.65
Enter quantity between 1 and 99
254A
*DISCD*COMPLETE TOOL BOX ASSY
Item is no longer available
Price
N/A
255
*DISCD*HARDWARE BAG
Item is no longer available
Price
N/A
256
*DISCD*COMPLETE GUARD ASSY V2.11.05
Price
N/A
300
WARNING LABEL
$4.25
Enter quantity between 1 and 99
301
*DISCD*HANDLE
Item is no longer available
Price
N/A
302
Now: PW04M
FLAT WASHER 10MM
Price
N/A
303
*DISCD*MITER BAR
Item is no longer available
Price
N/A
304
*DISCD*MITER BODY
$22.75
Enter quantity between 1 and 99
305
Now: PS06M
PHLP HD SCR M5-.8 X 20
Price
N/A
306
*DISCD*INDICATOR
Item is no longer available
Price
N/A
307
*DISCD*STOP
Item is no longer available
Price
N/A
308
SET SCREW M6-1 X 6
Price
N/A
309
SET SCREW M5-.8 X 6
Price
N/A
310
*DISCD*MITER BAR WASHER
Item is no longer available
Price
N/A
311
FLAT HD SCR M6-1 X 8
Price
N/A
312
LOCK NUT M5-.8
Price
N/A
313
*DISCD*SCALE
Item is no longer available
Price
N/A
314
*DISCD*PUSH NUT
Item is no longer available
Price
N/A
315
*DISCD*CLEAR BLADE GUARD
Price
N/A
316
*DISCD*SUPPORT ARM
Price
N/A
317
*DISCD*STEEL PIN 6 X 44 MM
Price
N/A
318
*DISCD*SPRING
Price
N/A
319
*DISCD*BLADE SPLITTER
Price
N/A
320
*DISCD*SPACER
Price
N/A
321
*DISCD*STEEL PIN 6 X 44 MM
Price
N/A
322
*DISCD*PAWL
Price
N/A
323
*DISCD*RETAINER 9/16
Price
N/A
329
GUARD WARNING LABEL
$4.25
Enter quantity between 1 and 99
330
*DISCD*MACHINE ID/WARNING LABEL
Item is no longer available
Price
N/A
331
SAFETY GLASSES 2W X 3.3H V2.04.08
Price
N/A
332
DISCONNECT 110V 1.5W X 2.5H
Price
N/A
333
READ MANUAL 2W X 3.3H V2.07.05
Price
N/A
334
ELECTRICITY 1.4W X 1.2H
Price
N/A
335
*DISCD*CAST LOGO
Item is no longer available
Price
N/A
401
*DISCD*RETAINER
$2.45
Enter quantity between 1 and 99
402
*DISCD*CLEAR BLADE GUARD
Item is no longer available
Price
N/A
402A
*DISCD*COMPLETE GUARD ASSY V2.11.05
Item is no longer available
Price
N/A
403
*DISCD*SUPPORT ARM
Item is no longer available
Price
N/A
404
*DISCD*STEEL PIN 6 X 44 MM
$1.49
Enter quantity between 1 and 99
405
*DISCD*SPRING
Item is no longer available
Price
N/A
406
*DISCD*BLADE SPLITTER
Item is no longer available
Price
N/A
407
*DISCD*SPACER
$1.49
Enter quantity between 1 and 99
408
*DISCD*DOWEL PIN 6 X 24
$1.49
Enter quantity between 1 and 99
409
*DISCD*PAWL
Item is no longer available
Price
N/A
410
*DISCD*RETAINER 9/16
$1.49
Enter quantity between 1 and 99
411
*DISCD*STEEL PIN 6 X 44 MM
Price
N/A
412
ROLL PIN 3 X 20
Price
N/A
500
Now: W2006
The Classic Fence w/ 7' Rails & Legs
Price
N/A
501
FENCE LOCKING TAB
Price
N/A
502
KNOB 3/8-16, D1-9/16, BALL
Price
N/A
503
BEARING PAD
Price
N/A
504
LOCKING LEVER
Price
N/A
507
FRONT RAIL TUBE
Price
N/A
508
FENCE BODY
Price
N/A
508A
FENCE FACING
Price
N/A
510
REAR RAIL
Price
N/A
510A
FRONT RAIL SUPPORT
Price
N/A
511
SCALE
Price
N/A
512A
CLEAR INDICATOR
Price
N/A
514
ADJUSTABLE FOOT
Price
N/A
516
CAP SCREW 1/4-20 X 1/2
Price
N/A
517
Now: PB88
HEX BOLT 1/4-20 X 1-3/4
Price
N/A
518
CAP SCREW 3/8-16 X 1
Price
N/A
519
Now: PN06
HEX NUT 1/2-12
Price
N/A
520
Now: PB25
HEX BOLT 3/8-16 X 1-3/4
Price
N/A
522
Now: PS06
PHLP HD SCR 10-24 X 3/8
Price
N/A
523
Now: PSS15
SET SCREW 3/8-16 X 3/8
Price
N/A
526
Now: PFH21
FLAT HD SCR 10-24 X 3/4
Price
N/A
527
Now: PLN02
LOCK NUT 1/4-20
Price
N/A
530
Now: PW03
FLAT WASHER #10
Price
N/A
531
Now: PW06
FLAT WASHER 1/4
Price
N/A
532
Now: PW02
FLAT WASHER 3/8
Price
N/A
533
Now: PW06
FLAT WASHER 1/4
Price
N/A
534
Now: PN05
HEX NUT 1/4-20
Price
N/A
535
Now: PB65
HEX BOLT 3/8-16 X 5/8
Price
N/A
536
Now: PB21
HEX BOLT 3/8-16 X 3/4
Price
N/A
544
MAGNET
Price
N/A
545
Now: PS01
PHLP HD SCR 10-24 X 1/2
Price
N/A
546
Now: PW02
FLAT WASHER 3/8
Price
N/A
547
Now: PB19
HEX BOLT 1/4-20 X 1/2
Price
N/A
548
WARNING LABEL
Price
N/A
BOX3
COMPLETE RAIL ASSY BOX 3
$205.60
Enter quantity between 1 and 99
MANUAL
MANUAL FOR G5959 10/01
$14.65
Enter quantity between 1 and 99