Parts for G5959Z 12" Table Saw Pro-Cabinet-Style 5 HP Single-Phase 220V Left-Tilt

Parts Diagrams for G5959Z - 12" Table Saw Pro-Cabinet-Style 5 HP Single-Phase 220V Left-Tilt

IMPORTANT

Parts may have multiple versions that have changed over time. This will be indicated by V1, V2, V3, etc. in the parts description, followed by the version month and year that it was first used. Example: V2.01.17 indicates version 2 of a part went into use in January 2017. Please reference the manufacture date on the ID Label for your machine to ensure you are selecting the correct part when multiple versions are indicated.

If you cannot locate your part below, please contact our tech support department at techsupport@grizzly.com or 570-546-9663.

Please note: All parts ship out of our Springfield, Missouri facility.

Parts List for Parts for G5959Z 12" Table Saw Pro-Cabinet-Style 5 HP Single-Phase 220V Left-Tilt

1
Now: PW13M
FLAT WASHER 20MM
Price
N/A
2
*DISCD*BUSHING
Price
N/A
3
*DISCD*BUSHING
Price
N/A
4
*DISCD*ARBOR NUT 1"-12
Item is no longer available
Price
N/A
4A
*DISCD*ARBOR NUT 5/8-12 RH
Item is no longer available
Price
N/A
5
*DISCD*BLADE FLANGE 1"
Price
N/A
5A
*DISCD*BLADE FLANGE 5/8"
Price
N/A
6
*DISCD*ARBOR ADAPTER 1"
Item is no longer available
Price
N/A
6A
*DISCD*ARBOR ADAPTER 5/8" RH
Item is no longer available
Price
N/A
7
*DISCD*ARBOR
Item is no longer available
Price
N/A
8
BALL BEARING 6005ZZ
Price
N/A
9
CAP SCREW M8-1.25 X 25
Price
N/A
10
SET SCREW M8-1.25 X 8
Price
N/A
11
*DISCD*ARBOR BRACKET
Item is no longer available
Price
N/A
11A
*DISCD*COMPLETE ARBOR BRACKET
Item is no longer available
Price
N/A
12
Now: PB02M
HEX BOLT M6-1 X 12
Price
N/A
13
Now: PN01M
HEX NUT M6-1
Price
N/A
14
Now: PB14M
HEX BOLT M10-1.5 X 35
Price
N/A
15
LOCK WASHER 10MM
Price
N/A
16
SET SCREW M6-1 X 6
Price
N/A
17
*DISCD*INDICATOR BRACKET
$6.90
Enter quantity between 1 and 99
18
*DISCD*SOCKET HEAD BOLT M5-.8 x 75
Price
N/A
19
*DISCD*INDICATOR
$1.49
Enter quantity between 1 and 99
20
Now: PW02M
FLAT WASHER 5MM
Price
N/A
21
Now: PS05M
PHLP HD SCR M5-.8 X 8
Price
N/A
22
*DISCD*COLLAR
Price
N/A
23
*DISCD*COLLAR
Price
N/A
24
ROLL PIN 4 X 32
Price
N/A
25
*DISCD*PIN BRASS
Price
N/A
26
*DISCD*TILT ADJUSTMENT SHAFT
Price
N/A
27
*DISCD*FRONT TRUNNION BRACKET
$60.40
Enter quantity between 1 and 99
28
Now: PK23M
KEY 5 X 5 X 25
Price
N/A
29
*DISCD*WASHER D20XD28X0.5MM
Price
N/A
30
*DISCD*FRONT TRUNNION KIT
Item is no longer available
Price
N/A
31
Now: PN03M
HEX NUT M8-1.25
Price
N/A
32
CAP SCREW M8-1.25 X 35
Price
N/A
33
CAP SCREW M8-1.25 X 35
Price
N/A
34
*DISCD*PIVOT SHAFT
Price
N/A
35
HEX BOLT M12-1.75 X 16
Price
N/A
36
Now: PW06M
FLAT WASHER 12MM
Price
N/A
37
*DISCD*COTTER PIN
Price
N/A
38
Now: PK33M
KEY 5 X 5 X 45
Price
N/A
39
SET SCREW M6-1 X 6
Price
N/A
40
*DISCD*DRIVE PULLEY
Price
N/A
41A
Now: PR10M
EXT RETAINING RING 22MM
Price
N/A
42
*DISCD*BEARING WASHER P62043
Price
N/A
43
BALL BEARING 6204ZZ
Price
N/A
44
*DISCD*WASHER AW04
Price
N/A
45
*DISCD*LOCK NUT 20MM AN04
Price
N/A
45A
*DISCD*LOCK NUT 20MM AN04
Price
N/A
46
*DISCD*COVER
Price
N/A
47
CAP SCREW M6-1 X 12
Price
N/A
48
*DISCD*DUST DEFLECTOR
$4.05
Enter quantity between 1 and 99
49
Now: PS05M
PHLP HD SCR M5-.8 X 8
Price
N/A
50
CAP SCREW M8-1.25 X 12
Price
N/A
51
Now: PW01M
FLAT WASHER 8MM
Price
N/A
52
*DISCD*FRONT SUPPORT BRACKET
Item is no longer available
Price
N/A
53
CAP SCREW M6-1 X 12
Price
N/A
54
LOCK WASHER 12MM
Price
N/A
55
Now: PN09M
HEX NUT M12-1.75
Price
N/A
56
CAP SCREW M10-1.5 X 25
Price
N/A
57A
*DISCD*BALL PIN 8 X 20
Price
N/A
58
*DISCD*REAR TRUNNION BRACKET
$26.75
Enter quantity between 1 and 99
59A
*DISCD*BALL PIN 8 X 20
Price
N/A
60
*DISCD*ARM
Item is no longer available
Price
N/A
61
SET SCREW M6-1 X 6
Price
N/A
62
*DISCD*MOTOR MOUNT SUPPORT
Item is no longer available
Price
N/A
63
Now: PB20
HEX BOLT 1/2-12 X 2-1/2
Price
N/A
64
Now: PN03M
HEX NUT M8-1.25
Price
N/A
65
KEY 5 X 5 X 75
Price
N/A
66
*DISCD*SHAFT
Price
N/A
67
Now: PW13M
FLAT WASHER 20MM
Price
N/A
68
*DISCD*WORM GEAR
Price
N/A
69
LOCK WASHER 10MM
Price
N/A
70
Now: PN02M
HEX NUT M10-1.5
Price
N/A
71
*DISCD*MOTOR MOUNT PLATE
Item is no longer available
Price
N/A
72
Now: PB01M
HEX BOLT M10-1.5 X 30
Price
N/A
73
*DISCD*BEARING DUST DEFLECTOR
Price
N/A
74
THRUST BEARING 51104
Price
N/A
75
*DISCD*HEIGHT ADJUSTMENT SHAFT
$10.35
Enter quantity between 1 and 99
76
Now: PR19M
EXT RETAINING RING 28MM
Price
N/A
77
*DISCD*REAR TRUNNION
$27.90
Enter quantity between 1 and 99
78
Now: PW02M
FLAT WASHER 5MM
Price
N/A
80
MOTOR PULLEY
Price
N/A
80A
Now: PK41M
KEY 8 X 8 X 40
Price
N/A
81
SET SCREW M6-1 X 6
Price
N/A
82
Now: PVA28
V-BELT A28
Price
N/A
83
*DISCD*ARBOR EXTENSION DADO 5/8
Item is no longer available
Price
N/A
92
*DISCD*COMPLETE MITER GAUGE
Price
N/A
101A
*DISCD*WING RIGHT
Item is no longer available
Price
N/A
101B
*DISCD*WING LEFT
Item is no longer available
Price
N/A
102
Now: PB14M
HEX BOLT M10-1.5 X 35
Price
N/A
103
LOCK WASHER 10MM
Price
N/A
106
*DISCD*BLADE INSERT
Item is no longer available
Price
N/A
107
SET SCREW M6-1 X 8
Price
N/A
108
*DISCD*TABLE
Item is no longer available
Price
N/A
109
*DISCD*BASE
Item is no longer available
Price
N/A
110
*DISCD*INDICATOR PLATE
$4.35
Enter quantity between 1 and 99
111
Now: PS34
PHLP HD SCR M3-.5 X 25
Price
N/A
114
LINE CORD 51"L MAG TO MOTOR
Price
N/A
115
LOCK WASHER 10MM
Price
N/A
116
Now: PB01M
HEX BOLT M10-1.5 X 30
Price
N/A
117
*DISCD*MAG SWITCH 5HP 220V 50/60HZ
Price
N/A
118
Now: PS05M
PHLP HD SCR M5-.8 X 8
Price
N/A
122
*DISCD*LINE CORD 65"L MAG-TERM W/O JUNCT
Price
N/A
123
*DISCD*DOOR
$30.50
Enter quantity between 1 and 99
125
*DISCD*STRAIN RELIEF M20.5 TYPE-1 SNAP-I
Price
N/A
126
*DISCD*LOCK KNOB
Price
N/A
128A
*DISCD*CRANK HANDLE
Price
N/A
130
*DISCD*HANDWHEEL
Price
N/A
131
CAP SCREW M8-1.25 X 20
Price
N/A
132
*DISCD*SHIELD PLATE
Price
N/A
133
SET SCREW M6-1 X 6
Price
N/A
134A
*DISCD*WIRING BOX
$5.20
Enter quantity between 1 and 99
134B
*DISCD*STRAIN RELIEF
Item is no longer available
Price
N/A
137
*DISCD*GUARD SUPPORT ROD
Price
N/A
137A
*DISCD*COMPLETE GUARD SUPPORT ASSY
Price
N/A
138
Now: PB07M
HEX BOLT M8-1.25 X 25
Price
N/A
139
Now: PW01M
FLAT WASHER 8MM
Price
N/A
140
*DISCD*GUARD SUPPORT UPPER
Price
N/A
141
LOCK WASHER 8MM
Price
N/A
142
*DISCD*GUARD SUPPORT LOWER
Price
N/A
143
Now: PW01M
FLAT WASHER 8MM
Price
N/A
144
Now: PB06M
HEX BOLT M8-1.25 X 12
Price
N/A
151
SET SCREW M6-1 X 8
Price
N/A
152
*DISCD*DADO INSERT
Item is no longer available
Price
N/A
153
MOTOR 5HP 220V 1PH
$751.80
Enter quantity between 1 and 99
153-1
Now: PC800
S CAPACITOR 800M 125V 1-3/4 X 3-3/8
Price
N/A
153-2
*DISCD*CAPACITOR COVER
Price
N/A
153-3
*DISCD*MOTOR FAN
Price
N/A
153-4
*DISCD*MOTOR FAN COVER
Price
N/A
153-5
*DISCD*CONNECTION BLOCK
Price
N/A
153-6
*DISCD*CONTACT PLT SM EXT PT W/CENTRIFUA
Price
N/A
153-7
CENT SWITCH 3/4-3450
Price
N/A
200
*DISCD*COMPLETE FENCE ASSY BOX 2
Price
N/A
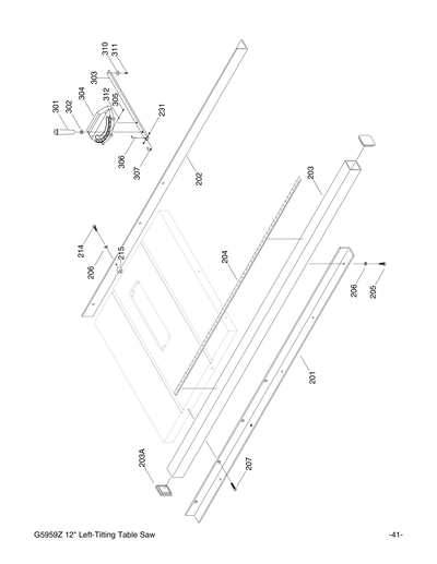
201
*DISCD*FRONT RAIL V1.04.98
Price
N/A
202
*DISCD*BACK RAIL V1.04.98
Price
N/A
203
*DISCD*SQUARE TUBE V1.04.98
Price
N/A
203A
*DISCD*TUBE END CAP V1.08.03
Price
N/A
204
Now: W1206
Self-Stick Measuring Tape - 6' Left to Right Reading
Price
N/A
205
Now: PB03M
HEX BOLT M8-1.25 X 16
Price
N/A
206
LOCK WASHER 8MM
Price
N/A
207
FLAT HD SCR M8-1.25 X 12
Price
N/A
208
*DISCD*FENCE SIDE V1.04.98
Price
N/A
208A
*DISCD*FENCE END CAP V1.06.03
Price
N/A
209
*DISCD*MAIN FENCE BODY V1.04.98
Price
N/A
209A
COMPLETE RAIL ASSY BOX 3
$138.90
Enter quantity between 1 and 99
210
Now: PB74M
HEX BOLT M10-1.5 X 20
Price
N/A
211
Now: PW04M
FLAT WASHER 10MM
Price
N/A
212
LOCK WASHER 10MM
Price
N/A
213
Now: PN02M
HEX NUT M10-1.5
Price
N/A
214
Now: PB26M
HEX BOLT M8-1.25 X 30
Price
N/A
215
*DISCD*RAIL SPACER 350ID 0.541T V1.04.98
Price
N/A
216
*DISCD*NYLON BLOCK V1.04.98
Price
N/A
217
Now: PS20M
PHLP HD SCR M5-.8 X 15
Price
N/A
218
KNOB 3/8-16, D1-1/4, BALL
Price
N/A
219
*DISCD*LOCK HANDLE V1.04.98
Price
N/A
220
*DISCD*TEFLON PAD V1.04.98
Price
N/A
221
*DISCD*FENCE LOCK V1.04.98
Price
N/A
222
Now: PLN01
LOCK NUT 3/8-16
Price
N/A
223
Now: PB25
HEX BOLT 3/8-16 X 1-3/4
Price
N/A
224
LOCK NUT M6-1
Price
N/A
225
CAP SCREW M6-1 X 40
Price
N/A
226
*DISCD*HAIRLINE INDICATOR V1.04.98
Price
N/A
227
*DISCD*INDICATOR BRACKET V1.04.98
Price
N/A
228
Now: PS05M
PHLP HD SCR M5-.8 X 8
Price
N/A
229
Now: PW02M
FLAT WASHER 5MM
Price
N/A
230
SET SCREW M8-1.25 X 10
Price
N/A
231
*DISCD*NYLON ADJ SCR M12-1.75 X 12 V1.04
Price
N/A
256A
*DISCD*COMPLETE GUARD ASSY V2.11.05
Price
N/A
301
*DISCD*HANDLE
Price
N/A
302
Now: PW04M
FLAT WASHER 10MM
Price
N/A
303
*DISCD*MITER BAR
Price
N/A
304
*DISCD*MITER BODY
Price
N/A
305
Now: PS06M
PHLP HD SCR M5-.8 X 20
Price
N/A
306
*DISCD*INDICATOR
Price
N/A
307
*DISCD*STOP
Price
N/A
308
SET SCREW M6-1 X 6
Price
N/A
309
SET SCREW M5-.8 X 6
Price
N/A
310
*DISCD*MITER BAR WASHER
Price
N/A
311
FLAT HD SCR M6-1 X 8
Price
N/A
312
LOCK NUT M5-.8
Price
N/A
313
*DISCD*SCALE
Price
N/A
329
GUARD WARNING LABEL
Item is no longer available
Price
N/A
330
*DISCD*MACHINE ID/WARNING LABEL
Price
N/A
331
SAFETY GLASSES 2W X 3.3H V2.04.08
Price
N/A
332
DISCONNECT 110V 1.5W X 2.5H
Price
N/A
333
READ MANUAL 2W X 3.3H V2.07.05
Price
N/A
334
ELECTRICITY 1.4W X 1.2H
Price
N/A
335
*DISCD*CAST LOGO
Price
N/A
401
*DISCD*RETAINER
Price
N/A
402
*DISCD*CLEAR BLADE GUARD
Price
N/A
403
*DISCD*SUPPORT ARM
Price
N/A
404
*DISCD*STEEL PIN 6 X 44 MM
Price
N/A
405
*DISCD*SPRING
Price
N/A
406
*DISCD*BLADE SPLITTER
Price
N/A
408
*DISCD*DOWEL PIN 6 X 24
Price
N/A
409
*DISCD*PAWL
Price
N/A
410
*DISCD*RETAINER 9/16
Price
N/A
411
*DISCD*STEEL PIN 6 X 44 MM
Price
N/A
412
ROLL PIN 3 X 20
Price
N/A
500
*DISCD*FENCE W/RAILS
Item is no longer available
Price
N/A
501
FENCE LOCKING TAB
Price
N/A
502
KNOB 3/8-16, D1-9/16, BALL
Price
N/A
503
BEARING PAD
Price
N/A
504
LOCKING LEVER
Price
N/A
506
*DISCD*EXTENSION LEG V2.01.05
Price
N/A
507
FRONT RAIL TUBE
Price
N/A
508
FENCE BODY
Price
N/A
508A
FENCE FACING
Price
N/A
510
REAR RAIL
Price
N/A
510A
FRONT RAIL SUPPORT
Price
N/A
511
SCALE
Price
N/A
512A
CLEAR INDICATOR
Price
N/A
514
ADJUSTABLE FOOT
Price
N/A
516
CAP SCREW 1/4-20 X 1/2
Price
N/A
517
Now: PB88
HEX BOLT 1/4-20 X 1-3/4
Price
N/A
518
CAP SCREW 3/8-16 X 1
Price
N/A
519
Now: PN06
HEX NUT 1/2-12
Price
N/A
520
Now: PB25
HEX BOLT 3/8-16 X 1-3/4
Price
N/A
522
Now: PS06
PHLP HD SCR 10-24 X 3/8
Price
N/A
523
Now: PSS15
SET SCREW 3/8-16 X 3/8
Price
N/A
526
Now: PFH21
FLAT HD SCR 10-24 X 3/4
Price
N/A
527
Now: PLN02
LOCK NUT 1/4-20
Price
N/A
530
Now: PW03
FLAT WASHER #10
Price
N/A
531
Now: PW06
FLAT WASHER 1/4
Price
N/A
532
Now: PW02
FLAT WASHER 3/8
Price
N/A
533
Now: PW06
FLAT WASHER 1/4
Price
N/A
534
Now: PN05
HEX NUT 1/4-20
Price
N/A
535
Now: PB65
HEX BOLT 3/8-16 X 5/8
Price
N/A
536
Now: PB21
HEX BOLT 3/8-16 X 3/4
Price
N/A
544
MAGNET
Price
N/A
545
Now: PS01
PHLP HD SCR 10-24 X 1/2
Price
N/A
546
Now: PW02
FLAT WASHER 3/8
Price
N/A
547
Now: PB19
HEX BOLT 1/4-20 X 1/2
Price
N/A
548
WARNING LABEL
Price
N/A
MAN
MANUAL FOR G5959Z 02/04
Item is no longer available
Price
N/A