Parts for G7214Z 7-1/2 HP 3-Phase Spindle Shaper

Parts Diagrams for G7214Z - 7-1/2 HP 3-Phase Spindle Shaper

IMPORTANT

Parts may have multiple versions that have changed over time. This will be indicated by V1, V2, V3, etc. in the parts description, followed by the version month and year that it was first used. Example: V2.01.17 indicates version 2 of a part went into use in January 2017. Please reference the manufacture date on the ID Label for your machine to ensure you are selecting the correct part when multiple versions are indicated.

If you cannot locate your part below, please contact our tech support department at techsupport@grizzly.com or 570-546-9663.

Please note: All parts ship out of our Springfield, Missouri facility.

Parts List for Parts for G7214Z 7-1/2 HP 3-Phase Spindle Shaper

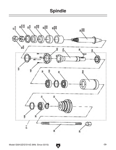
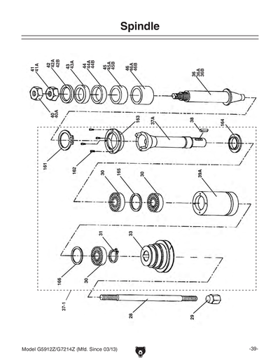
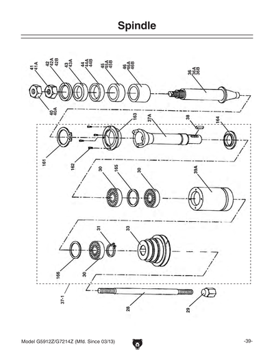
1
Now: PSS23
SET SCREW 5/16-24 X 5/8
Price
N/A
2
TABLE
Price
N/A
3
SMALL INNER
Price
N/A
4
MID-SIZED INSERT
Price
N/A
5
LARGE INSERT
Price
N/A
6
STAND ASSY
Price
N/A
6-1
DEGREE SCALE
Price
N/A
7
Now: PN08
HEX NUT 3/8-16
Price
N/A
8
Now: PLW04
LOCK WASHER 3/8
Price
N/A
9
Now: PW02
FLAT WASHER 3/8
Price
N/A
10
RIGHT TABLE BRACE
Price
N/A
11
Now: PN07
HEX NUT 10-24
Price
N/A
12
Now: PS12
PHLP HD SCR 1/4-20 X 5/8
Price
N/A
13
REMOVABLE DUST DOOR
Price
N/A
14
Now: PB24
HEX BOLT 3/8-16 X 1-1/4
Price
N/A
15
Now: PB21
HEX BOLT 3/8-16 X 3/4
Price
N/A
16
MOTOR COVER
Price
N/A
17
Now: PS08
PHLP HD SCR 10-24 X 3/4
Price
N/A
18
TERMINAL BOX ASSY
Price
N/A
18A
TERMINAL BOX W/O BUSBAR
Price
N/A
19
STRAIN RELIEF M14.5 TYPE-6 ST
Price
N/A
20
CORD ELECTRIC
Price
N/A
21
STRAIN RELIEF 5/8" TYPE-9 ELBOW
Price
N/A
22
*DISCD*SWITCH BOX ASSEMBLY V1.03.99
Item is no longer available
Price
N/A
22-1
*DISCD*SQUARE GREEN ON SWITCH V1.08.03
Item is no longer available
Price
N/A
22-1A
ON SWITCH ROUND V2.03.06
$25.50
Enter quantity between 1 and 99
22-2
*DISCD*SQUARE RED OFF SWITCH V1.08.03
Item is no longer available
Price
N/A
22-2A
OFF SWITCH ROUND V2.03.06
$19.70
Enter quantity between 1 and 99
22-3
E-STOP BUTTON 230V 6A V2.03.06
$52.20
Enter quantity between 1 and 99
22-4
CONTACTOR
Price
N/A
22-5
*DISCD*F/O/R SWITCH KEDU ZH-HC-33-BY V1
Item is no longer available
Price
N/A
22-5V2
F/O/R SWITCH KEDU ZH-HC-433-BY V2.03.06
$92.15
Enter quantity between 1 and 99
22-6
THERMAL OVERLOAD TH-20 18-26A
$91.55
Enter quantity between 1 and 99
22A-7
RED AND GREEN 220V LIGHT BULB 2PC
$7.60
Enter quantity between 1 and 99
22B
CONTACTOR
Price
N/A
22B-1
CONTACTOR
$105.80
Enter quantity between 1 and 99
22B-2
OL RELAY
$100.00
Enter quantity between 1 and 99
22C
E-STOP BUTTON 230V 6A V2.03.06
Price
N/A
22D
CONTACTOR
Price
N/A
22E
*DISCD*F/O/R SWITCH KEDU ZH-HC-33-BY V1
Price
N/A
22F
SWITCH BOX ASSEMBLY V2.10.09
Price
N/A
22V2
SWITCH BOX ASSEMBLY V2.10.09
$799.40
Enter quantity between 1 and 99
23
LEFT TABLE BRACE
Price
N/A
24
Now: G5799
Cast-Iron Miter Gauge
Price
N/A
28
LOCK BOLT 5/8-11
Price
N/A
29
TAPER LOCK NUT
Price
N/A
30
BALL BEARING 6008ZZ
Price
N/A
31
Now: PR68M
EXT RETAINING RING 40MM
Price
N/A
32
Now: PR50M
INT RETAINING RING 80MM
Price
N/A
33
PULLEY AND QUILL ASSEMBLY
Price
N/A
34
*DISCD*STAR WASHER 30MM
Price
N/A
35
*DISCD*SPANNER NUT
Price
N/A
36
SPINDLE ASSEMBLY 1-1/4"
Price
N/A
36-2
MULTI-WRENCH
Price
N/A
36A
***USE P5912Z036A-1***
Price
N/A
36B
SPINDLE 1" ASSY
Price
N/A
36B-2
MULTI-WRENCH
Price
N/A
37
PULLEY AND QUILL ASSEMBLY
Price
N/A
37A
PULLEY AND QUILL ASSEMBLY
Price
N/A
38
Now: PK55M
KEY 7 X 7 X 40
Price
N/A
39
*DISCD*QUILL 7-3/4" LONG V1.08.98
Price
N/A
39A
QUILL 7-3/4" LONG V2.01.02
Price
N/A
40
HEX NUT 3/4-16 LH
Price
N/A
41
Now: PN32
HEX NUT 1-14
Price
N/A
42
SPINDLE ASSEMBLY 1-1/4"
Price
N/A
42A
COLLAR 1" X 1/4"
Price
N/A
42B
COLLAR 3/4" X 1/4"
Price
N/A
43
COLLAR 1-1/4" X 3/8" 1PC
Price
N/A
43A
COLLAR 1" X 3/8"
Price
N/A
44
***USE P5913Z115***
Price
N/A
44A
COLLAR 1" X 1/2"
Price
N/A
44B
COLLAR 3/4" X 1/2"
Price
N/A
45
COLLAR 1-1/4" X 3/4" (2PC)
Price
N/A
45A
COLLAR 1" X 3/4" 2PC
Price
N/A
45B
SPINDLE 3/4" ASSY
Price
N/A
46
COLLAR 1-1/4" X 1" 2PC
Price
N/A
46A
COLLAR 1" X 1" 2PC
Price
N/A
46B
COLLAR 3/4" X 1" 2PC
Price
N/A
50
Now: PB02
HEX BOLT 1/4-20 X 5/8
Price
N/A
51
Now: PLW02
LOCK WASHER 1/4
Price
N/A
52
Now: PW06
FLAT WASHER 1/4
Price
N/A
53
LOCK KNOB
Price
N/A
54
BAR LOCK
Price
N/A
55
Now: PN02
HEX NUT 5/16-18
Price
N/A
56
Now: PB03
HEX BOLT 5/16-18 X 1
Price
N/A
57
SCREW LOCK
Price
N/A
58
WASHER GEAR
Price
N/A
59
GEAR
Price
N/A
60
COLLAR
Price
N/A
61
Now: PK37M
KEY 4 X 4 X 16
Price
N/A
62
BASE GEAR SHAFT
Price
N/A
63
SHAFT GEAR
Price
N/A
64
BASE SPINDLE
Price
N/A
65
Now: PW01
FLAT WASHER 1/2
Price
N/A
66
Now: PN06
HEX NUT 1/2-12
Price
N/A
67
CAP SCREW 3/8-16 X 1-1/4
Price
N/A
68
SCREW 3/8-16 X 1-1/4
Price
N/A
69
COLLAR
Price
N/A
70
Now: PVA30
V-BELT A30
Price
N/A
71
Now: PVA28
V-BELT A28
Price
N/A
72
KEY 7 X 7 X 50
Price
N/A
73
MOTOR PULLEY
Price
N/A
74
Now: PB16
HEX BOLT 3/8-16 X 1-1/2
Price
N/A
75
Now: PW07
FLAT WASHER 5/16
Price
N/A
76
Now: PLW01
LOCK WASHER 5/16
Price
N/A
77
CAP SCREW 5/16-18 X 1
Price
N/A
78
COMPRESSION SPRING 3.4 X 20.3
Price
N/A
79
*DISCD*KEY 3/8 X 3/4 X 1
Price
N/A
80
MOTOR 7.5HP 220V/440V 3-PH
$922.60
Enter quantity between 1 and 99
80-1
MOTOR FAN COVER
$63.60
Enter quantity between 1 and 99
80-2
MOTOR FAN
$48.85
Enter quantity between 1 and 99
80-3
MOTOR JUNCTION BOX
$42.70
Enter quantity between 1 and 99
81
SHAFT
Price
N/A
82
Now: PW01
FLAT WASHER 1/2
Price
N/A
83
MOTOR BASE
Price
N/A
84
KNOB
Price
N/A
85
Now: PLW07
LOCK WASHER 1/2
Price
N/A
86
Now: PB54
HEX BOLT 1/2-20 X 1
Price
N/A
87
POINTER
Price
N/A
88
Now: PS06
PHLP HD SCR 10-24 X 3/8
Price
N/A
89
Now: PB07
HEX BOLT 5/16-18 X 3/4
Price
N/A
90
SHAFT GUIDE
Price
N/A
91
PLATE
Price
N/A
92
MOTOR PLATE
Price
N/A
93
SHAFT GEAR
Price
N/A
94
BASE GEAR SHAFT
Price
N/A
95
METAL HANDWHEEL
Price
N/A
96
HANDLE
Price
N/A
97
Now: PB31
HEX BOLT 1/4-20 X 1
Price
N/A
98
Now: PN05
HEX NUT 1/4-20
Price
N/A
102
Now: PSS24
SET SCREW 10-32 X 3/16
Price
N/A
103
Now: PSS53
SET SCREW 3/8-16 X 1
Price
N/A
104
Now: PSS09
SET SCREW 3/8-16 X 1/2
Price
N/A
105
ADJ HANDLE 1/2" - 12
Price
N/A
105A
ADJ HANDLE 1/2" - 12
Price
N/A
105V2
ADJ HANDLE 1/2" - 12
Price
N/A
106
BRACKET SCREW GUIDE
Price
N/A
107
SCREW GUIDE ASSY
Price
N/A
107-1
SCREW GUIDE ROD
Price
N/A
107A
HANDWHEEL
Price
N/A
108
BALL KNOB 3/8-16 (PLASTIC)
Price
N/A
109
SHAFT GUIDE
Price
N/A
110
BAR
Price
N/A
111
KNOB 5/16-18 V1
Price
N/A
112
Now: PW07
FLAT WASHER 5/16
Price
N/A
113
CUTTER GUARD COVER V2.01.17
Price
N/A
113V2
CUTTER GUARD COVER V2.01.17
Price
N/A
114
Now: PSS11
SET SCREW 1/4-20 X 1/4
Price
N/A
115
BRACKET ASSY FENCE RH
Price
N/A
116
FENCE WOODEN ASSEMBLY 2PC
Price
N/A
116A
FENCE WOODEN ASSEMBLY 2PC
Price
N/A
116B
FENCE WOODEN ASSEMBLY 2PC
Price
N/A
117
Now: PFH23
FLAT HD SCR 5/16-18 X 1-1/2
Price
N/A
118
HOLD DOWN PLATE
Price
N/A
119
GUARD/DUST HOOD
Price
N/A
119A
COMPLETE FENCE ASSY V1
Price
N/A
119AV2
COMPLETE FENCE ASSY V2.01.17
Price
N/A
120
BAR
Price
N/A
121
RETAINER L 5/8"
Price
N/A
122
HANDLE LOCK V1.08.98
Price
N/A
122A
KNOB BOLT 3/8-16 X 1 V2.10.02
Price
N/A
123
NUT 3/8
Price
N/A
124
RETAINER S 1/2"
Price
N/A
125
KNOB
Price
N/A
126
BRACKET ASSY FENCE LH
Price
N/A
127
Now: PB26
HEX BOLT 1/4-20 X 1-1/2
Price
N/A
128
E-STOP BUTTON 230V 6A V2.03.06
Price
N/A
129
F/O/R SWITCH KEDU ZH-HC-433-BY V2.03.06
Price
N/A
156
CONVERSION KIT 440V NHD V1
$400.65
Enter quantity between 1 and 99
156-1
MAGNETIC CONTACTOR 440V SRC3631-5-1 FUSU
$71.90
Enter quantity between 1 and 99
156-2
THERMAL PROTECTOR 440V TH-20 7/11A
$91.55
Enter quantity between 1 and 99
156-3
LIGHT BULB 440V
$18.75
Enter quantity between 1 and 99
156A
CONVERSION KIT 440V NHD V2.01.06
$392.80
Enter quantity between 1 and 99
156A-1
MAGNETIC CONTACTOR 440V NHD V2.01.06
$71.90
Enter quantity between 1 and 99
156A-2
THERMAL PROTECTOR 440V HND V2.01.06
$54.30
Enter quantity between 1 and 99
156A-3
LIGHT BULB 440V V2.01.06
$8.20
Enter quantity between 1 and 99
161
Now: PR43M
EXT RETAINING RING 50MM
Price
N/A
162
CAP SCREW M4-.7 X 10
Price
N/A
163
OUTER DUST COVER
Price
N/A
164
INNER DUST COVER
Price
N/A
165
WAVY WASHER
Price
N/A
166
WAVY WASHER
Price
N/A
167
KNOB BOLT 3/8-16 X 1
Price
N/A
168
KNOB BOLT 1/4-20 X 1/2
Price
N/A
169
FRONT GUARD EXTENSION PLATE
Price
N/A
170
FRONT SPINDLE ENCLOSURE GUARD
Price
N/A
200
MACHINE ID LABEL
Price
N/A
201
*DISCD*GRIZZLY NAMEPLATE 8W X 3.5H
Price
N/A
202
*DISCD*PULLEY LABEL
Price
N/A
203
BELT GUARD LABEL
Price
N/A
204
*DISCD*F/O/R SWITCH KEDU ZH-HC-33-BY V1
Price
N/A
205
E-STOP BUTTON 230V 6A V2.03.06
Price
N/A
319
HOOD
Price
N/A
400
MACHINE ID LABEL
$16.40
Enter quantity between 1 and 99
401
Now: G8589
Nameplate - Large
Price
N/A
402
*DISCD*PULLEY LABEL
Price
N/A
403
SPEED CHANGE LABEL
Price
N/A
408
READ MANUAL 2W X 3.3H V2.07.05
Price
N/A
409
SCALE LABEL
Price
N/A
410
ROTATION DIRECTION LABEL
Price
N/A
411
GLASSES/RESPIRATOR 2W X 3.3H
Price
N/A
412
HAND NEAR CUTTER LABEL
Price
N/A
413
DISCONNECT HARDWIRED POWER 1.5W X 2.5H
Price
N/A
414
ELECTRICITY 1.4W X 1.2H
Price
N/A
415
LARGE ELECTRICITY LABEL
Price
N/A
416
N/S GRIZZLY GREEN G1023S
Price
N/A
417
MULTI-WRENCH
Price
N/A
418
MODEL NUMBER LABEL
$16.40
Enter quantity between 1 and 99
419
HEX WRENCH 3MM
Price
N/A
420
HEX WRENCH 4MM
Price
N/A
MANUAL
*DISCD*MAN G5912Z/G7214Z 01.01-11.06 V1
Price
N/A
MANV2
MANUAL G5912Z/G7214Z MFD-12.06-02.13 V2
Price
N/A
MANV3
MANUAL G5912Z/G7214Z MFD-03.13-12.16 V3
Price
N/A
MANV4
MANUAL G5912Z/G7214Z MFD-01.17+ V4
Price
N/A