Parts for G8299 4.5 HP Dual Head Air Compressor

Parts Diagrams for G8299 - 4.5 HP Dual Head Air Compressor

IMPORTANT

Parts may have multiple versions that have changed over time. This will be indicated by V1, V2, V3, etc. in the parts description, followed by the version month and year that it was first used. Example: V2.01.17 indicates version 2 of a part went into use in January 2017. Please reference the manufacture date on the ID Label for your machine to ensure you are selecting the correct part when multiple versions are indicated.

If you cannot locate your part below, please contact our tech support department at techsupport@grizzly.com or 570-546-9663.

Please note: All parts ship out of our Springfield, Missouri facility.

Parts List for Parts for G8299 4.5 HP Dual Head Air Compressor

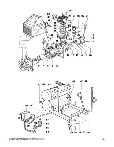
41
*DISCD*AIR PRESSURE
$39.10
Enter quantity between 1 and 99
42
*DISCD*CONNECTING PIPE
Item is no longer available
Price
N/A
43
*DISCD*NON-RETURN VALVE
Item is no longer available
Price
N/A
44
*DISCD*KNOB 22MM
$10.10
Enter quantity between 1 and 99
46
*DISCD*TANK ASSEMBLY
$462.90
Enter quantity between 1 and 99
47
*DISCD*WASHER 8MM
Item is no longer available
Price
N/A
48
*DISCD*SUPPORT
Item is no longer available
Price
N/A
49
Now: PN03M
HEX NUT M8-1.25
Price
N/A
50
*DISCD*WHEEL
Item is no longer available
Price
N/A
51
*DISCD*PIPE
Item is no longer available
Price
N/A
52
Now: PN01M
HEX NUT M6-1
Price
N/A
53
*DISCD*SCREW
Item is no longer available
Price
N/A
54
*DISCD*PRESSURE REDUCER
Item is no longer available
Price
N/A
55
*DISCD*PRESSURE GAUGE
$22.45
Enter quantity between 1 and 99
56
*DISCD*NIPPLE 1/4"
$10.10
Enter quantity between 1 and 99
57
*DISCD*AIR PRESSURE
$39.10
Enter quantity between 1 and 99
58
*DISCD*CABLE
Item is no longer available
Price
N/A
59
*DISCD*VALVE
Item is no longer available
Price
N/A
60
*DISCD*DRAIN COCK 1/4"
Item is no longer available
Price
N/A