Parts for G8621 5 HP Sliding Table Shaper

Parts Diagrams for G8621 - 5 HP Sliding Table Shaper

IMPORTANT

Parts may have multiple versions that have changed over time. This will be indicated by V1, V2, V3, etc. in the parts description, followed by the version month and year that it was first used. Example: V2.01.17 indicates version 2 of a part went into use in January 2017. Please reference the manufacture date on the ID Label for your machine to ensure you are selecting the correct part when multiple versions are indicated.

If you cannot locate your part below, please contact our tech support department at techsupport@grizzly.com or 570-546-9663.

Please note: All parts ship out of our Springfield, Missouri facility.

Parts List for Parts for G8621 5 HP Sliding Table Shaper

1
Now: PSS23
SET SCREW 5/16-24 X 5/8
Price
N/A
3
SMALL INNER
Price
N/A
4
SMALL INNER
Price
N/A
5
LARGE INSERT
Price
N/A
6
STAND ASSY
Price
N/A
7
Now: PN08
HEX NUT 3/8-16
Price
N/A
8
Now: PLW04
LOCK WASHER 3/8
Price
N/A
9
Now: PW02
FLAT WASHER 3/8
Price
N/A
10
RIGHT TABLE BRACE
Price
N/A
11
Now: PN07
HEX NUT 10-24
Price
N/A
12
Now: PS12
PHLP HD SCR 1/4-20 X 5/8
Price
N/A
13
REMOVABLE DUST DOOR
Price
N/A
14
Now: PB24
HEX BOLT 3/8-16 X 1-1/4
Price
N/A
15
Now: PB21
HEX BOLT 3/8-16 X 3/4
Price
N/A
16
MOTOR COVER
Price
N/A
17
Now: PS08
PHLP HD SCR 10-24 X 3/4
Price
N/A
18
TERMINAL BOX ASSY
Price
N/A
19
STRAIN RELIEF M14.5 TYPE-6 ST
Price
N/A
21
STRAIN RELIEF 5/8" TYPE-9 ELBOW
Price
N/A
22
CONTROL PANEL ASSY V2.03.06
Price
N/A
22A
*DISCD*ELECTRICAL BOX ASSY NS-1/06
Item is no longer available
Price
N/A
22A-1
CONTACTOR
Price
N/A
22A-2
OVERLOAD RELAY NS-03/06 N.H.D.
$81.55
Enter quantity between 1 and 99
22B
*DISCD*SQUARE RED OFF SWITCH V1.08.03
Price
N/A
22C
*DISCD*EMERGENCY SAFETY SWITCH
Item is no longer available
Price
N/A
22E
***USE P5912Z022B-1***
Price
N/A
22V2
CONTROL PANEL ASSY V2.03.06
Price
N/A
22V2-1
OFF SWITCH ROUND V2.03.06
Price
N/A
22V2-2
ON SWITCH ROUND V2.03.06
Price
N/A
22V2-3
F/O/R SWITCH KEDU ZH-HC-31-BY V2.03.06
Price
N/A
22V2-4
E-STOP BUTTON 230V 6A V2.03.06
Price
N/A
22V2-5
RED AND GREEN 220V LIGHT BULB 2PC
Price
N/A
23
LEFT TABLE BRACE
Price
N/A
24
Now: G5799
Cast-Iron Miter Gauge
Price
N/A
28
LOCK BOLT 5/8-11
Price
N/A
29
TAPER LOCK NUT
Price
N/A
30
BALL BEARING 6008ZZ
Price
N/A
31
Now: PR68M
EXT RETAINING RING 40MM
Price
N/A
32
Now: PR50M
INT RETAINING RING 80MM
Price
N/A
33
QUILL ASSY V2.03.07
Price
N/A
34
*DISCD*STAR WASHER 30MM
Price
N/A
35
*DISCD*SPANNER NUT
Price
N/A
36
SPINDLE ASSEMBLY 1-1/4"
Price
N/A
36A
***USE P5912Z036A-1***
Price
N/A
36B
SPINDLE 1" ASSY
Price
N/A
37A
COMPLETE CARTRIDGE ASSY
$544.55
Enter quantity between 1 and 99
38
Now: PK55M
KEY 7 X 7 X 40
Price
N/A
39
QUILL 8-3/4" LONG V2.03.07
Price
N/A
40
Now: PN42
HEX NUT 3/4-10 (LH)
Price
N/A
40A
HEX NUT 5/8-18 LH
Price
N/A
41
Now: PN32
HEX NUT 1-14
Price
N/A
41A
Now: PN03
HEX NUT 3/4-16
Price
N/A
42
SPINDLE ASSEMBLY 1-1/4"
Price
N/A
42A
COLLAR 1" X 1/4"
Price
N/A
42B
COLLAR 3/4" X 1/4"
Price
N/A
43
COLLAR 1-1/4" X 3/8" 1PC
Price
N/A
43A
COLLAR 1" X 3/8"
Price
N/A
44
***USE P5913Z115***
Price
N/A
44A
COLLAR 1" X 1/2"
Price
N/A
44B
COLLAR 3/4" X 1/2"
Price
N/A
45
COLLAR 1-1/4" X 3/4" (2PC)
Price
N/A
45A
COLLAR 1" X 3/4" 2PC
Price
N/A
45B
SPINDLE 3/4" ASSY
Price
N/A
46
COLLAR 1-1/4" X 1" 2PC
Price
N/A
46A
COLLAR 1" X 1" 2PC
Price
N/A
46B
COLLAR 3/4" X 1" 2PC
Price
N/A
50
Now: PB02
HEX BOLT 1/4-20 X 5/8
Price
N/A
51
Now: PLW02
LOCK WASHER 1/4
Price
N/A
52
Now: PW02
FLAT WASHER 3/8
Price
N/A
53
LOCK KNOB
Price
N/A
54
BAR LOCK
Price
N/A
55
Now: PN02
HEX NUT 5/16-18
Price
N/A
56
Now: PB03
HEX BOLT 5/16-18 X 1
Price
N/A
57
SCREW LOCK
Price
N/A
58
WASHER GEAR
Price
N/A
59
GEAR
Price
N/A
60
COLLAR
Price
N/A
61
Now: PK37M
KEY 4 X 4 X 16
Price
N/A
62
BASE GEAR SHAFT
Price
N/A
63
SHAFT GEAR
Price
N/A
64
BASE SPINDLE
Price
N/A
65
Now: PW01
FLAT WASHER 1/2
Price
N/A
66
Now: PN06
HEX NUT 1/2-12
Price
N/A
67
CAP SCREW 3/8-16 X 1-1/4
Price
N/A
68
SCREW 3/8-16 X 1-1/4
Price
N/A
69
COLLAR
Price
N/A
70
Now: PVA30
V-BELT A30
Price
N/A
71
Now: PVA28
V-BELT A28
Price
N/A
72
KEY 7 X 7 X 50
Price
N/A
73
MOTOR PULLEY
Price
N/A
74
Now: PB16
HEX BOLT 3/8-16 X 1-1/2
Price
N/A
75
Now: PW07
FLAT WASHER 5/16
Price
N/A
76
Now: PLW01
LOCK WASHER 5/16
Price
N/A
77
CAP SCREW 5/16-18 X 1
Price
N/A
78
COMPRESSION SPRING 3.4 X 20.3
Price
N/A
79
*DISCD*KEY 3/8 X 3/4 X 1
Price
N/A
80
MOTOR 5HP 220V 1-PH
Price
N/A
81
SHAFT
Price
N/A
82
Now: PW01
FLAT WASHER 1/2
Price
N/A
83
MOTOR BASE
Price
N/A
84
KNOB
Price
N/A
85
Now: PLW07
LOCK WASHER 1/2
Price
N/A
86
Now: PB39
HEX BOLT 1/2-12 X 3/4
Price
N/A
87
POINTER
Price
N/A
88
Now: PS06
PHLP HD SCR 10-24 X 3/8
Price
N/A
89
Now: PB07
HEX BOLT 5/16-18 X 3/4
Price
N/A
90
SHAFT GUIDE
Price
N/A
91
PLATE
Price
N/A
92
MOTOR PLATE
Price
N/A
93
SHAFT GEAR
Price
N/A
94
BASE GEAR SHAFT
Price
N/A
95
METAL HANDWHEEL
Price
N/A
96
HANDLE V1.12.95
Price
N/A
97
Now: PB31
HEX BOLT 1/4-20 X 1
Price
N/A
98
Now: PN05
HEX NUT 1/4-20
Price
N/A
1000
MACHINE ID LABEL
Price
N/A
1001
*DISCD*GRIZZLY NAMEPLATE 8W X 3.5H
Price
N/A
1002
*DISCD*PULLEY LABEL
$3.00
Enter quantity between 1 and 99
103
Now: PSS53
SET SCREW 3/8-16 X 1
Price
N/A
104
Now: PSS09
SET SCREW 3/8-16 X 1/2
Price
N/A
105
ADJ HANDLE 1/2" - 12
Price
N/A
106
BRACKET SCREW GUIDE
Price
N/A
107
SCREW GUIDE ASSY
Price
N/A
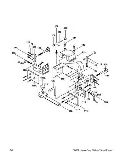
108
BALL KNOB 3/8-16 (PLASTIC)
Price
N/A
109
SHAFT GUIDE
Price
N/A
110
BAR
Price
N/A
111
KNOB 5/16-18 V1
Price
N/A
112
Now: PW07
FLAT WASHER 5/16
Price
N/A
113
CUTTER GUARD COVER V2.01.17
Price
N/A
114
Now: PSS11
SET SCREW 1/4-20 X 1/4
Price
N/A
115
BRACKET ASSY FENCE RH
Price
N/A
116
FENCE WOODEN ASSEMBLY 2PC
Price
N/A
117
Now: PFH23
FLAT HD SCR 5/16-18 X 1-1/2
Price
N/A
118
HOLD DOWN PLATE
Price
N/A
119
GUARD/DUST HOOD
Price
N/A
120
BAR
Price
N/A
121
RETAINER L 5/8"
Price
N/A
122A
KNOB BOLT 3/8-16 X 1 V2.10.02
Price
N/A
126
BRACKET ASSY FENCE LH
Price
N/A
127
Now: PB26
HEX BOLT 1/4-20 X 1-1/2
Price
N/A
128
E-STOP BUTTON 230V 6A V2.03.06
Price
N/A
129
RED AND GREEN 220V LIGHT BULB 2PC
Price
N/A
130
HANDLE WHEEL
$6.85
Enter quantity between 1 and 99
161
Now: PR43M
EXT RETAINING RING 50MM
Price
N/A
162
CAP SCREW M4-.7 X 10
Price
N/A
163
OUTER DUST COVER
Price
N/A
164
INNER DUST COVER
Price
N/A
165
WAVY WASHER
Price
N/A
166
WAVY WASHER
Price
N/A
168
KNOB BOLT 1/4-20 X 1/2
Price
N/A
169
FRONT GUARD EXTENSION PLATE
Price
N/A
170
FRONT SPINDLE ENCLOSURE GUARD
Price
N/A
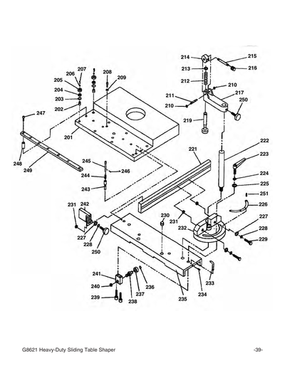
201
*DISCD*TABLE
Item is no longer available
Price
N/A
202
ECCENTRIC PULLEY SHAFT
$19.95
Enter quantity between 1 and 99
203
Now: PR12M
EXT RETAINING RING 35MM
Price
N/A
204
BALL BEARING 6202Z
Price
N/A
205
PULLEY
$43.80
Enter quantity between 1 and 99
206
Now: PLW01
LOCK WASHER 5/16
Price
N/A
207
CAP SCREW 5/16-18 X 1-1/2
Price
N/A
208
CAP SCREW 1/2-13 X 1-1/2
Price
N/A
209
Now: PN06
HEX NUT 1/2-12
Price
N/A
210
Now: PR39M
EXT RETAINING RING 8MM
Price
N/A
211
CAPTIVE PIN
$13.60
Enter quantity between 1 and 99
212
COMPRESSION SPRING 15 X 18
$5.80
Enter quantity between 1 and 99
213
Now: PR05M
EXT RETAINING RING 15MM
Price
N/A
214
CLAMP WHEEL
$23.20
Enter quantity between 1 and 99
215
CLAMP LEVER
$11.45
Enter quantity between 1 and 99
216
PLASTIC NUT 3/8-16
$5.95
Enter quantity between 1 and 99
217
CLAMP BASE
$235.50
Enter quantity between 1 and 99
218
*DISCD*LOCK HANDLE
Item is no longer available
Price
N/A
219
PRESS WOOD SPRING SHAFT
$55.05
Enter quantity between 1 and 99
221
*DISCD*MITER FENCE
Price
N/A
222
PUSH SHAFT
$79.05
Enter quantity between 1 and 99
223
ADJ HANDLE 1/2" - 12
Price
N/A
223V2
ADJ HANDLE 1/2" - 12
Price
N/A
224
Now: PLW07
LOCK WASHER 1/2
Price
N/A
225
Now: PW01
FLAT WASHER 1/2
Price
N/A
226
MITER GAUGE BODY
Price
N/A
227
Now: PW02
FLAT WASHER 3/8
Price
N/A
228
Now: PLW02
LOCK WASHER 1/4
Price
N/A
229
Now: PS10
PHLP HD SCR 10-24 X 1-1/2
Price
N/A
230
COVER
$4.40
Enter quantity between 1 and 99
231
Now: PN08
HEX NUT 3/8-16
Price
N/A
232
MITER GAUGE BODY
$173.05
Enter quantity between 1 and 99
233
POINTER
$7.05
Enter quantity between 1 and 99
234
Now: PS18
PHLP HD SCR 10-24 X 1/4
Price
N/A
235
GLIDE TABLE
$2,021.40
Enter quantity between 1 and 99
236
Now: PR01M
EXT RETAINING RING 10MM
Price
N/A
237
BALL BEARING 6900ZZ
Price
N/A
238
ECCENT PULLEY SHAFT
$6.80
Enter quantity between 1 and 99
239
CAP SCREW 1/4-20 X 1-1/4
Price
N/A
240
Now: PLN01
LOCK NUT 3/8-16
Price
N/A
241
BEARING BASE
$33.75
Enter quantity between 1 and 99
242
*DISCD*LOCK PLATE
Price
N/A
243
TABLE SHAFT W/SPRINGS
$65.25
Enter quantity between 1 and 99
245
TABLE SHAFT W/SPRINGS
Price
N/A
246
ROLL PIN 3 X 16
Price
N/A
247
CAP SCREW 1/4-20 X 1-1/2
Price
N/A
248
SPACER
$8.10
Enter quantity between 1 and 99
249
GUIDE ORBIT
$121.05
Enter quantity between 1 and 99
250
KNOB BOLT 3/8"
$3.75
Enter quantity between 1 and 99
251
PIVOT
$4.60
Enter quantity between 1 and 99
319
HOOD
Price
N/A
400
MACHINE ID LABEL
Price
N/A
401
*DISCD*GRIZZLY NAMEPLATE 8W X 3.5H
Price
N/A
402
*DISCD*PULLEY LABEL
Price
N/A
403
SPEED CHANGE LABEL
Price
N/A
MANUAL
MANUAL FOR G8621 10/02
$14.65
Enter quantity between 1 and 99