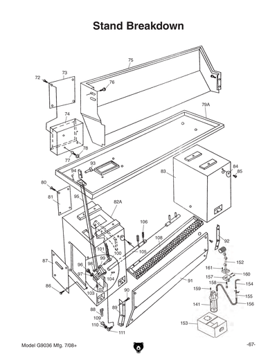
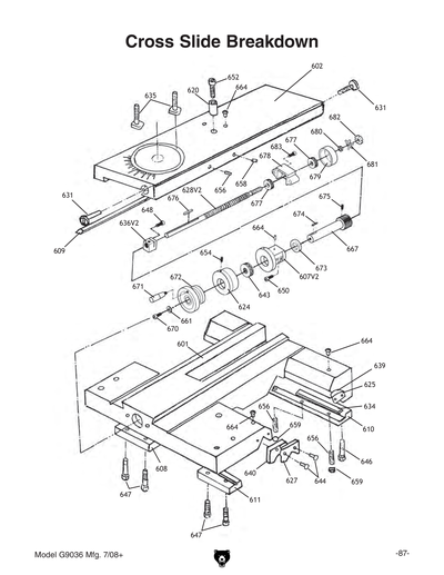
Parts for G9036 13" x 40" Gear-Head Floor Lathe

Parts Diagrams for G9036 - 13" x 40" Gear-Head Floor Lathe

IMPORTANT

Parts may have multiple versions that have changed over time. This will be indicated by V1, V2, V3, etc. in the parts description, followed by the version month and year that it was first used. Example: V2.01.17 indicates version 2 of a part went into use in January 2017. Please reference the manufacture date on the ID Label for your machine to ensure you are selecting the correct part when multiple versions are indicated.

If you cannot locate your part below, please contact our tech support department at techsupport@grizzly.com or 570-546-9663.

Please note: All parts ship out of our Springfield, Missouri facility.

Parts List for Parts for G9036 13" x 40" Gear-Head Floor Lathe

1
*DISCD*MOTOR BASE
Item is no longer available
Price
N/A
2
*DISCD*PULLEY
Item is no longer available
Price
N/A
3
*DISCD*BED
Item is no longer available
Price
N/A
4
*DISCD*GAP
Item is no longer available
Price
N/A
5
*DISCD*END COVER
$23.90
Enter quantity between 1 and 99
6
*DISCD*BRACKET
Item is no longer available
Price
N/A
7
*DISCD*BRACKET
$76.50
Enter quantity between 1 and 99
7A
*DISCD*HUB 8 PITCH V2.05.05
Price
N/A
9
*DISCD*COLLAR
Item is no longer available
Price
N/A
10
*DISCD*HANDLE BODY
Item is no longer available
Price
N/A
11
*DISCD*RACK
Price
N/A
13
*DISCD*RACK
Price
N/A
16
*DISCD*LEADSCREW
Item is no longer available
Price
N/A
19
*DISCD*FEED ROD
Item is no longer available
Price
N/A
22
*DISCD*SHAFT
$142.90
Enter quantity between 1 and 99
23
*DISCD*COLLAR
Price
N/A
24
*DISCD*SHAFT
Price
N/A
25
*DISCD*HANDLE
Price
N/A
26
*DISCD*BRAKE RING
Price
N/A
27
*DISCD*COLLAR
Item is no longer available
Price
N/A
28
Now: PK112
KEY 4 X 4 X 35
Price
N/A
29
*DISCD*OIL PAN
Item is no longer available
Price
N/A
32
*DISCD*BRASS GEAR SHAFT
Item is no longer available
Price
N/A
32A
*DISCD*BRASS GEAR KEY
Item is no longer available
Price
N/A
39
*DISCD*KNOB
$4.90
Enter quantity between 1 and 99
40
*DISCD*PLUG 22MM
$4.90
Enter quantity between 1 and 99
41
*DISCD*PLUG 20MM
$4.90
Enter quantity between 1 and 99
42
*DISCD*PLUG
Price
N/A
43
*DISCD*THREADED SHAFT
Price
N/A
44
*DISCD*COVER
$349.90
Enter quantity between 1 and 99
45
*DISCD*LOCK KNOB M8-1.25
Price
N/A
46
SET SCREW M5-.8 X 8
Price
N/A
47A
SET SCREW M6-1 X 16
Price
N/A
49
CAP SCREW M10-1.5 X 40
Price
N/A
51
CAP SCREW M6-1 X 20
Price
N/A
52
CAP SCREW M8-1.25 X 55
Price
N/A
53
Now: PN03M
HEX NUT M8-1.25
Price
N/A
54
SET SCREW M8-1.25 X 30
Price
N/A
54A
Now: PB38M
HEX BOLT M12-1.75 X 60
Price
N/A
58
ROLL PIN 3 X 25
Price
N/A
59
*DISCD*ROUND PIN 6 X 25
$1.75
Enter quantity between 1 and 99
61
ROLL PIN 6 X 28
Price
N/A
61A
ROLL PIN 6 X 55
Price
N/A
67
*DISCD*SPRING 1 X 7.5 X 25
Price
N/A
68
BALL OILER 8MM PRESS-IN
Price
N/A
69
*DISCD*STUD-SE M7.5-1.25 X 78 12
$6.90
Enter quantity between 1 and 99
70
Now: PB14M
HEX BOLT M10-1.5 X 35
Price
N/A
71
Now: PS03M
PHLP HD SCR M6-1 X 8
Price
N/A
72
Now: PS19M
PHLP HD SCR M5-.8 X 6
Price
N/A
73
*DISCD*MOTOR BOX W/COVER
Price
N/A
74
*DISCD*ELECTRICAL BOX
Item is no longer available
Price
N/A
75
*DISCD*SPLASH GUARD V1
$226.00
Enter quantity between 1 and 99
75V2
*DISCD*SPLASH GUARD BEIGE V2.10.08
$226.00
Enter quantity between 1 and 99
76
CAP SCREW M6-1 X 10
Price
N/A
77
CAP SCREW M6-1 X 20
Price
N/A
78
Now: PN01M
HEX NUT M6-1
Price
N/A
79
*DISCD*OIL PLATE
Item is no longer available
Price
N/A
79A
*DISCD*OIL PLATE
$214.50
Enter quantity between 1 and 99
80
Now: PS68M
PHLP HD SCR M6-1 X 10
Price
N/A
81
*DISCD*COVER
Item is no longer available
Price
N/A
82
*DISCD*BED STAND LEFT
Item is no longer available
Price
N/A
82A
*DISCD*BED STAND RIGHT
Item is no longer available
Price
N/A
83
*DISCD*BED STAND
Item is no longer available
Price
N/A
84
*DISCD*COVER
Item is no longer available
Price
N/A
85
Now: PS68M
PHLP HD SCR M6-1 X 10
Price
N/A
86
Now: PS68M
PHLP HD SCR M6-1 X 10
Price
N/A
87
*DISCD*COVER
Item is no longer available
Price
N/A
88
Now: PB33M
HEX BOLT M12-1.75 X 50
Price
N/A
89
*DISCD*BRACKET LEFT
Item is no longer available
Price
N/A
90
Now: PS68M
PHLP HD SCR M6-1 X 10
Price
N/A
91
*DISCD*PLATE
Item is no longer available
Price
N/A
92
*DISCD*BRACKET RIGHT
Item is no longer available
Price
N/A
93
*DISCD*BREAK SHAFT
Item is no longer available
Price
N/A
94
*DISCD*SPLIT PIN
Item is no longer available
Price
N/A
95
*DISCD*BRAKE PULL ROD
Item is no longer available
Price
N/A
96
*DISCD*CAP SHAPE SCREW
Item is no longer available
Price
N/A
97
Now: PN02M
HEX NUT M10-1.5
Price
N/A
98
ROLL PIN 2 X 12
Price
N/A
99
*DISCD*PEDAL ARM
Item is no longer available
Price
N/A
100
*DISCD*CONNECTING SHAFT
Item is no longer available
Price
N/A
1007
*DISCD*QUILL
Item is no longer available
Price
N/A
101
*DISCD*DRAW SPRING
Item is no longer available
Price
N/A
102
*DISCD*SWITCH BLOCK
Item is no longer available
Price
N/A
103
SET SCREW M8-1.25 X 8
Price
N/A
104
ROLL PIN 5 X 40
Price
N/A
105
*DISCD*DRIVE SHAFT LONGER
Item is no longer available
Price
N/A
106
ROLL PIN 5 X 30
Price
N/A
107
*DISCD*DRIVING SHAFT
Item is no longer available
Price
N/A
108
*DISCD*PEDAL
Item is no longer available
Price
N/A
109
*DISCD*PHLP HD SCR M10-1.5 X 60
Item is no longer available
Price
N/A
110
Now: PN02M
HEX NUT M10-1.5
Price
N/A
1101
*DISCD*COOLANT NOZZLE
Price
N/A
1102
*DISCD*COOLANT TO TANK HOSE
Price
N/A
1103
*DISCD*FLEXIBLE WORK LIGHT
Item is no longer available
Price
N/A
1104
*DISCD*WORK LIGHT MOUNT BRACKET
$47.75
Enter quantity between 1 and 99
1107
*DISCD*QUILL
Price
N/A
111
*DISCD*BUTT ROD SUPPORT
Item is no longer available
Price
N/A
112
*DISCD*SWITCH BOX
Item is no longer available
Price
N/A
112-1
*DISCD*SWITCH BOX LID
$5.20
Enter quantity between 1 and 99
113
*DISCD*BRAKE SWITCH
Price
N/A
114
*DISCD*MOTOR BOX W/COVER
Item is no longer available
Price
N/A
115
*DISCD*GROUND BLOCK
Price
N/A
116
*DISCD*CORD COVER SMALL
Price
N/A
117
*DISCD*E-STOP BUTTON 220V 4.5A
Price
N/A
118
*DISCD*COOLANT TANK
Price
N/A
119
*DISCD*COOLANT DRAIN CHUTE
Item is no longer available
Price
N/A
120
*DISCD*CONTACTOR TIAN GSC1-1201 110V
Price
N/A
120-2
*DISCD*MAGNETIC CONTACTOR
Item is no longer available
Price
N/A
1200
*DISCD*PUMP MOTOR
Price
N/A
1201
*DISCD*OL RELAY JUCHE JR29-16 0.35-0.52A
Price
N/A
1203
*DISCD*COOLANT PUMP SWITCH
Price
N/A
121
*DISCD*OL RELAY JUCHE JR29-16 9-13A
Price
N/A
122
*DISCD*MOTOR 2HP 220V 1-PH
Item is no longer available
Price
N/A
122-1
*DISCD*FAN COVER
$66.70
Enter quantity between 1 and 99
122-2
*DISCD*FAN
$47.75
Enter quantity between 1 and 99
122-3
S CAPACITOR 150M 250V 3-3/4 X 2-3/8
$47.75
Enter quantity between 1 and 99
122-4
Now: PC20B
R CAPACITOR 20M 450V 1-5/8 X 3-1/4
Price
N/A
122-5
*DISCD*JUNCTION BOX ASSY
Item is no longer available
Price
N/A
122-6
*DISCD*JUNCTION BOX LID
Item is no longer available
Price
N/A
122A
*DISCD*MOTOR 2HP 220V 3-PH
$460.00
Enter quantity between 1 and 99
122B
*DISCD*MOTOR FAN
Item is no longer available
Price
N/A
122C
*DISCD*FAN COVER
Item is no longer available
Price
N/A
123
*DISCD*JOG BUTTON
Item is no longer available
Price
N/A
124
*DISCD*E-STOP BUTTON 220V 4.5A
Item is no longer available
Price
N/A
125
*DISCD*PWR IND. LIGHT ONPOW XDY2 30MM GR
Item is no longer available
Price
N/A
126
*DISCD*COOLANT PUMP SWITCH
Item is no longer available
Price
N/A
127
*DISCD*CONTACTOR TIAN GSC1-1201 110V
Item is no longer available
Price
N/A
128
*DISCD*CONTACTOR TIAN JZC3-40D 110V
Item is no longer available
Price
N/A
129
*DISCD*RELAY
Item is no longer available
Price
N/A
130
*DISCD*FUSE 110V 2A
$3.45
Enter quantity between 1 and 99
131
*DISCD*FUSE 24V 5A
Item is no longer available
Price
N/A
132
*DISCD*OL RELAY JUCHE JR29-16 9-13A
Item is no longer available
Price
N/A
133
*DISCD*OL RELAY JUCHE JR29-16 0.35-0.52A
Item is no longer available
Price
N/A
134
*DISCD*GROUND BLOCK
$28.75
Enter quantity between 1 and 99
135
*DISCD*TERMINAL BLOCK 6C
Item is no longer available
Price
N/A
136
*DISCD*TERMINAL BLOCK 13C
Item is no longer available
Price
N/A
137
*DISCD*TRANSFORMER JBK5-100VA TH
Item is no longer available
Price
N/A
138
*DISCD*BRAKE SWITCH
$47.75
Enter quantity between 1 and 99
139
*DISCD*CORD COVER SMALL
$28.75
Enter quantity between 1 and 99
140
*DISCD*CORD COVER LARGE
Item is no longer available
Price
N/A
141
*DISCD*PUMP MOTOR
Item is no longer available
Price
N/A
142
*DISCD*STRAIN RELIEF M25 TYPE-6 ST
Item is no longer available
Price
N/A
143
*DISCD*STRAIN RELIEF M25 TYPE-6 ST
Item is no longer available
Price
N/A
144
*DISCD*MAIN MOTOR CORD
Item is no longer available
Price
N/A
145
*DISCD*PUMP MOTOR CORD
Item is no longer available
Price
N/A
146
*DISCD*SPINDLE SWITCH CORD
Item is no longer available
Price
N/A
147
*DISCD*LIGHT CORD
Item is no longer available
Price
N/A
148
*DISCD*BRAKE SWITCH CORD
Item is no longer available
Price
N/A
149
WORK LIGHT TERMINAL BLOCK W/CORD
Price
N/A
150
*DISCD*SPINDLE SWITCH
$47.75
Enter quantity between 1 and 99
151
*DISCD*SPINDLE SWITCH
$47.75
Enter quantity between 1 and 99
152
*DISCD*COMPLETE LIGHT ASSEMBLY
Item is no longer available
Price
N/A
152-1
*DISCD*LIGHT BODY
Item is no longer available
Price
N/A
152-2
*DISCD*LIGHT BULB
Item is no longer available
Price
N/A
152-3
*DISCD*BULB COVER
$8.05
Enter quantity between 1 and 99
152-4
*DISCD*BULB COVER RETAINER
Item is no longer available
Price
N/A
152-5
Now: PS55M
PHLP HD SCR M3-.5 X 10
Price
N/A
152-6
*DISCD*LIGHT BODY CORD
Item is no longer available
Price
N/A
153
*DISCD*COOLANT TANK
$142.90
Enter quantity between 1 and 99
154
*DISCD*COOLANT NOZZLE
Item is no longer available
Price
N/A
155
*DISCD*COOLANT ON/OFF VALVE
Item is no longer available
Price
N/A
156
*DISCD*COOLANT TO TANK HOSE
Item is no longer available
Price
N/A
157
*DISCD*LIGHT MOUNTING BRACKET
$28.75
Enter quantity between 1 and 99
158
*DISCD*CONNECTION TUBE
Item is no longer available
Price
N/A
159
CAP SCREW M8-1.25 X 25
Price
N/A
160
CAP SCREW M6-1 X 20
Price
N/A
161
Now: PS15M
PHLP HD SCR M6-1 X 14
Price
N/A
164
*DISCD*HANDLE
$19.00
Enter quantity between 1 and 99
2000
*DISCD*REVERSIBLE TOP JAW - SET OF 3
Price
N/A
201
*DISCD*COLLAR ASSEMBLY
Price
N/A
202
*DISCD*COLLAR
Price
N/A
203
*DISCD*REAR COVER
Price
N/A
204
*DISCD*REAR COVER
Price
N/A
205
*DISCD*PULLEY
$86.25
Enter quantity between 1 and 99
206
*DISCD*PLUG
Price
N/A
207
*DISCD*MAIN CASTING
Price
N/A
208
*DISCD*FRONT COVER
Price
N/A
209
*DISCD*SHIFT LEVER
Price
N/A
210
*DISCD*SHAFT HOUSING
Price
N/A
211
*DISCD*COVER
$171.65
Enter quantity between 1 and 99
212
*DISCD*HANDLE BODY
Price
N/A
213
*DISCD*SHAFT COLLAR
Price
N/A
214
*DISCD*HANDLE BODY
Price
N/A
215
*DISCD*HANDLE BLOCK
Price
N/A
216
*DISCD*HUB
Price
N/A
217
*DISCD*GEAR 37T
Price
N/A
218
*DISCD*SPACER
Price
N/A
219
*DISCD*WASHER 21.7 X 30 X 3.6
Price
N/A
220
*DISCD*WASHER 19.5 X 28 X 2
Price
N/A
221
*DISCD*GEAR 40T
Price
N/A
222
Now: PW06M
FLAT WASHER 12MM
Price
N/A
223
*DISCD*GEAR 37T
Price
N/A
224
*DISCD*SPANNER NUT
Price
N/A
225
*DISCD*GEAR 43T
Price
N/A
226
*DISCD*GEAR 51T
Price
N/A
227
*DISCD*WASHER 20 X 32 X 10
Price
N/A
228
*DISCD*GEAR SHAFT 16T
Price
N/A
229
*DISCD*COVER
Item is no longer available
Price
N/A
230
*DISCD*SPACER
Item is no longer available
Price
N/A
231
*DISCD*SHAFT
Price
N/A
232
*DISCD*WASHER 17 X 32 X 5
Price
N/A
233
*DISCD*COLLAR W/GEAR 21T
Price
N/A
234
*DISCD*GEAR 29T
Price
N/A
235
*DISCD*GEAR 46T
Price
N/A
236
*DISCD*GEAR 38T
Price
N/A
237
*DISCD*COLLAR
Price
N/A
238
*DISCD*GEAR 26T
Price
N/A
239
*DISCD*GEAR 34T
Price
N/A
240
*DISCD*GEAR 53T
Price
N/A
241
*DISCD*PLUG
Price
N/A
242
*DISCD*GEAR 74T
Price
N/A
243
*DISCD*GEAR SHAFT 37T
Price
N/A
244
*DISCD*SPINDLE
Price
N/A
245
*DISCD*SPRING .6 X 4 X 16
Price
N/A
246
*DISCD*PIN 6MM
Price
N/A
247
*DISCD*CAMLOCK
Price
N/A
248
*DISCD*SHAFT
Price
N/A
250
*DISCD*GEAR 51T
Price
N/A
251
*DISCD*COLLAR
Price
N/A
252
*DISCD*SHAFT
Item is no longer available
Price
N/A
253
*DISCD*GEAR 30T
Price
N/A
254
*DISCD*SHAFT
Price
N/A
255
*DISCD*SHAFT
Price
N/A
256
Now: PW23M
FLAT WASHER 30MM
Price
N/A
257
*DISCD*GEAR SHAFT 17T
Price
N/A
259
CAP SCREW M8-1.25 X 18
Price
N/A
264
*DISCD*HANDLE 93MM LONG
Price
N/A
265
*DISCD*HANDLE 52MM LONG
Price
N/A
266
*DISCD*HANDLE
Item is no longer available
Price
N/A
267
*DISCD*COLLAR
Item is no longer available
Price
N/A
268
*DISCD*SHIFT FORK
Price
N/A
269
*DISCD*SHIFT FORK
Price
N/A
273
*DISCD*GASKET
Item is no longer available
Price
N/A
274
*DISCD*GASKET
Price
N/A
275
*DISCD*GASKET
Price
N/A
276
*DISCD*GASKET
Price
N/A
277
*DISCD*GASKET
Price
N/A
278
*DISCD*GASKET
Price
N/A
279
*DISCD*OIL SEAL 25 X 40 X 10
$4.90
Enter quantity between 1 and 99
280
*DISCD*OIL SEAL 20 X 40 X 8
Price
N/A
281
*DISCD*OIL SIGHT GLASS
Price
N/A
284
CAP SCREW M4-.7 X 12
Price
N/A
285
CAP SCREW M5-.8 X 16
Price
N/A
286
CAP SCREW M6-1 X 16
Price
N/A
287
CAP SCREW M8-1.25 X 20
Price
N/A
288
CAP SCREW M6-1 X 20
Price
N/A
289
CAP SCREW M6-1 X 25
Price
N/A
293
SET SCREW M6-1 X 12
Price
N/A
295
SET SCREW M8-1.25 X 8
Price
N/A
296
SET SCREW M8-1.25 X 10
Price
N/A
297
SET SCREW M8-1.25 X 12
Price
N/A
298
SET SCREW M8-1.25 X 16
Price
N/A
299
Now: PB15M
HEX BOLT M8-1.25 X 40
Price
N/A
300
Now: PS07M
PHLP HD SCR M4-.7 X 8
Price
N/A
301
Now: PS07M
PHLP HD SCR M4-.7 X 8
Price
N/A
302
Now: PN09M
HEX NUT M12-1.75
Price
N/A
303
Now: PK20M
KEY 5 X 5 X 15
Price
N/A
304
Now: PK14M
KEY 5 X 5 X 18
Price
N/A
305
Now: PK36M
KEY 5 X 5 X 50
Price
N/A
306
Now: PK11M
KEY 6 X 6 X 40
Price
N/A
307
Now: PK49M
KEY 6 X 6 X 55
Price
N/A
308
Now: PK50M
KEY 6 X 6 X 120
Price
N/A
309
Now: PK81M
KEY 6 X 6 X 12
Price
N/A
310
Now: PK51M
KEY 8 X 8 X 18
Price
N/A
311
Now: PK34M
KEY 5 X 5 X 20
Price
N/A
313
ROLL PIN 3 X 10
Price
N/A
314
ROLL PIN 4 X 18
Price
N/A
316
ROLL PIN 5 X 32
Price
N/A
317
Now: PR09M
EXT RETAINING RING 20MM
Price
N/A
319
Now: PR09M
EXT RETAINING RING 20MM
Price
N/A
320
Now: PR43M
EXT RETAINING RING 50MM
Price
N/A
321
Now: PR44M
EXT RETAINING RING 72MM
Price
N/A
322
Now: PR62M
EXT RETAINING RING 42MM
Price
N/A
323
BALL BEARING 6004ZZ
Price
N/A
324
BALL BEARING 6204-OPEN
Price
N/A
325
BALL BEARING 6203-OPEN
Price
N/A
326
BALL BEARING 6204-OPEN
Price
N/A
327
TAPERED ROLLER BEARING 30210
Price
N/A
328
TAPERED ROLLER BEARING 30212
Price
N/A
329
STEEL BALL 6MM
Price
N/A
330
STEEL BALL 5MM
Price
N/A
332
*DISCD*O-RING
Item is no longer available
Price
N/A
333
O-RING 13.8 X 2.4 P14
Price
N/A
334
O-RING 9.8 X 1.9 P10
Price
N/A
335
O-RING 23.5 X 2.0 S24
Price
N/A
336
O-RING 30 X 3.1
Price
N/A
337
O-RING 39.4 X 3.1 G40 
Price
N/A
338
O-RING 44.4 X 3.1 G45 
Price
N/A
339
*DISCD*SPRING 1 X 6 X 7
Price
N/A
340
*DISCD*COMPRESSION SPRING
Item is no longer available
Price
N/A
341
*DISCD*SPRING 0.9 X 4.4 X 19
Price
N/A
342
*DISCD*SHIFT HUB
Price
N/A
347
*DISCD*LEVER SLEEVE
Price
N/A
348
*DISCD*FRAME
Item is no longer available
Price
N/A
349
ROLL PIN 6 X 60
Price
N/A
350
Now: PB39M
HEX BOLT M6-1 X 50
Price
N/A
351
CAP SCREW M10-1.5 X 35
Price
N/A
352
*DISCD*CONNECTING BOARD
Item is no longer available
Price
N/A
353
ROLL PIN 5 X 25
Price
N/A
354
*DISCD*SHAFT
$27.60
Enter quantity between 1 and 99
355
*DISCD*BRAKE SHAFT
$19.00
Enter quantity between 1 and 99
356
Now: PR03M
EXT RETAINING RING 12MM
Price
N/A
357
*DISCD*BRAKE SHOES
Item is no longer available
Price
N/A
358
*DISCD*POSITIONING AXLE
$8.05
Enter quantity between 1 and 99
359
Now: PR39M
EXT RETAINING RING 8MM
Price
N/A
401
*DISCD*CASTING
Item is no longer available
Price
N/A
402
*DISCD*COVER RIGHT
Item is no longer available
Price
N/A
403
*DISCD*COVER LEFT
Item is no longer available
Price
N/A
404
*DISCD*SLIPPER
Item is no longer available
Price
N/A
405
*DISCD*LEVER
$57.50
Enter quantity between 1 and 99
406
*DISCD*LEVER
$57.50
Enter quantity between 1 and 99
407
*DISCD*SLIPPER
Item is no longer available
Price
N/A
408
*DISCD*SHAFT
Item is no longer available
Price
N/A
409
*DISCD*HANDLE BASE INNER
$57.50
Enter quantity between 1 and 99
410
*DISCD*LEVER
Item is no longer available
Price
N/A
411
*DISCD*HANDLE BASE
$28.75
Enter quantity between 1 and 99
413
*DISCD*COVER
$200.10
Enter quantity between 1 and 99
414
*DISCD*GASKET
Item is no longer available
Price
N/A
415
*DISCD*SLIPPER
Item is no longer available
Price
N/A
417
*DISCD*HANDLE
Item is no longer available
Price
N/A
418
*DISCD*PLATE
Item is no longer available
Price
N/A
419
*DISCD*HANDLE
Item is no longer available
Price
N/A
421
*DISCD*COVER
Item is no longer available
Price
N/A
422
*DISCD*GASKET
$8.05
Enter quantity between 1 and 99
423
*DISCD*SHAFT
Item is no longer available
Price
N/A
424
*DISCD*GEAR 20T/30T 2.5MM
$85.70
Enter quantity between 1 and 99
425
*DISCD*SPACER
Item is no longer available
Price
N/A
427
*DISCD*GEAR 24T X 2.25/3.25/2.5
$128.80
Enter quantity between 1 and 99
428
*DISCD*SHAFT NUT M24-1.5
Item is no longer available
Price
N/A
429
*DISCD*GASKET
$9.80
Enter quantity between 1 and 99
430
*DISCD*BUSHING W/HOUSING
Item is no longer available
Price
N/A
431
*DISCD*SPACER
Item is no longer available
Price
N/A
432
*DISCD*SHAFT
Item is no longer available
Price
N/A
433
*DISCD*END COVER
Item is no longer available
Price
N/A
434
*DISCD*GASKET
Item is no longer available
Price
N/A
435
*DISCD*SHAFT
Item is no longer available
Price
N/A
436
*DISCD*GEAR 30T X 2.5
$85.70
Enter quantity between 1 and 99
437
*DISCD*GEAR 20T X 2.5
$66.70
Enter quantity between 1 and 99
438
*DISCD*GEAR 40T X 2.5
$71.60
Enter quantity between 1 and 99
439
*DISCD*SPACER
Item is no longer available
Price
N/A
440
*DISCD*SPACER
Item is no longer available
Price
N/A
441
*DISCD*SPACER
Item is no longer available
Price
N/A
442
*DISCD*GEAR 40T X 2.25
$71.60
Enter quantity between 1 and 99
443
*DISCD*GEAR 24T X 3.25
$76.50
Enter quantity between 1 and 99
444
*DISCD*GEAR 22T X 3.25
$85.70
Enter quantity between 1 and 99
445
*DISCD*GEAR 21T X 3.25
$85.70
Enter quantity between 1 and 99
446
*DISCD*GEAR 36T X 2.5
$85.70
Enter quantity between 1 and 99
447
*DISCD*GASKET
Item is no longer available
Price
N/A
448
*DISCD*FLANGE
Item is no longer available
Price
N/A
449
*DISCD*SHAFT
$71.60
Enter quantity between 1 and 99
450
*DISCD*END COVER
Item is no longer available
Price
N/A
452
*DISCD*GEAR 15T/30T X 2.5
$100.05
Enter quantity between 1 and 99
453
*DISCD*GEAR 18T X 2.25/3.25/2.5
$150.10
Enter quantity between 1 and 99
454
*DISCD*KEY SHAFT
Item is no longer available
Price
N/A
455
*DISCD*GASKET
Item is no longer available
Price
N/A
456
*DISCD*COVER
Item is no longer available
Price
N/A
457
*DISCD*COPPER SLEEVE
Item is no longer available
Price
N/A
458
*DISCD*GEAR 100T X 1.25
Item is no longer available
Price
N/A
459
*DISCD*COLLAR
Item is no longer available
Price
N/A
460
*DISCD*BRACKET SCREW M10 X 12
Price
N/A
461
FENDER WASHER 10MM
Price
N/A
462
FENDER WASHER 6MM
Price
N/A
463
*DISCD*GEAR 32T
Item is no longer available
Price
N/A
464
*DISCD*BRACKET
Price
N/A
465
*DISCD*STUD M10-1.5 X 60
Price
N/A
466
*DISCD*COVER
Item is no longer available
Price
N/A
467
Now: PS07M
PHLP HD SCR M4-.7 X 8
Price
N/A
468
*DISCD*OIL SIGHT GLASS
Item is no longer available
Price
N/A
469
CAP SCREW M8-1.25 X 65
Price
N/A
470
CAP SCREW M6-1 X 20
Price
N/A
471
CAP SCREW M6-1 X 14
Price
N/A
472
ROLL PIN 5 X 20
Price
N/A
473
ROLL PIN 5 X 40
Price
N/A
474
ROLL PIN 5 X 50
Price
N/A
475
*DISCD*HANDLE KNOB 10MM
Item is no longer available
Price
N/A
476
*DISCD*COMPRESSION SPRING
Item is no longer available
Price
N/A
477
*DISCD*COMPRESSION SPRING
$4.35
Enter quantity between 1 and 99
478
SET SCREW M8-1.25 X 6
Price
N/A
479
*DISCD*STEEL BALL 5.94MM
Item is no longer available
Price
N/A
480
Now: PR68M
EXT RETAINING RING 40MM
Price
N/A
481
Now: PR09M
EXT RETAINING RING 20MM
Price
N/A
482
Now: PR10M
EXT RETAINING RING 22MM
Price
N/A
483
O-RING 44.4 X 3.1 G45 
Price
N/A
484
O-RING 3.1 X 29.4 G30
Price
N/A
485
Now: PS79M
PHLP HD SCR M3-.5 X 8
Price
N/A
486
Now: PK94M
KEY 5 X 5 X 8
Price
N/A
487
Now: PK19M
KEY 5 X 5 X 14
Price
N/A
488
Now: PK36M
KEY 5 X 5 X 50
Price
N/A
489
Now: PK17M
KEY 5 X 5 X 80
Price
N/A
490
BALL BEARING 6202ZZ
Price
N/A
491
Now: G3850
Bearing - 35mm x 17mm
Price
N/A
492
BALL BEARING 6004ZZ
Price
N/A
493
BALL BEARING 6302-OPEN
Price
N/A
494
Now: P8105
THRUST BEARING 8105
Price
N/A
495
Now: PR23M
INT RETAINING RING 40MM
Price
N/A
496
Now: PN02M
HEX NUT M10-1.5
Price
N/A
497
Now: PN02M
HEX NUT M10-1.5
Price
N/A
498
CAP SCREW M4-.7 X 8
Price
N/A
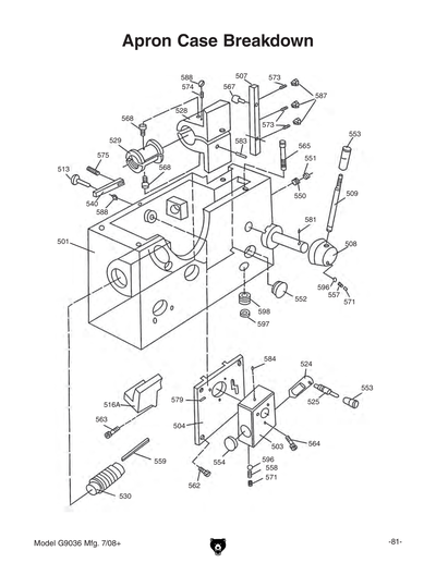
501
*DISCD*APRON CASTING
Price
N/A
502
*DISCD*HANDWHEEL
Price
N/A
503
*DISCD*CARTON FOR G4016
Price
N/A
504
*DISCD*COVER
Price
N/A
505
*DISCD*THREADING DIAL BODY
Price
N/A
505A
*DISCD*HUB
Item is no longer available
Price
N/A
506
*DISCD*WASHER 9.5 X 20 X 10
Price
N/A
507
*DISCD*GIB
Price
N/A
508
*DISCD*HANDLE BODY
Price
N/A
509
*DISCD*HANDLE
Item is no longer available
Price
N/A
510
*DISCD*INDEX RING
$71.60
Enter quantity between 1 and 99
511
*DISCD*COVER
Price
N/A
512
*DISCD*SHAFT
Price
N/A
513
*DISCD*GEAR PIN 60T
Price
N/A
514
*DISCD*GEAR SHAFT 13T
Price
N/A
515
*DISCD*GEAR 60T
Price
N/A
516
*DISCD*SHAFT
Price
N/A
516A
*DISCD*BRACKET
Item is no longer available
Price
N/A
517
*DISCD*COVER
Price
N/A
518
*DISCD*GEAR 30T
Price
N/A
519
*DISCD*GEAR 46T
Price
N/A
522
*DISCD*GEAR 63T
Price
N/A
523
*DISCD*SHIFT FORK
Price
N/A
524
*DISCD*SHIFT LEVER
Price
N/A
525
*DISCD*SHIFT HANDLE
Price
N/A
526
*DISCD*GEAR 40T
Price
N/A
528
*DISCD*BRACKET
Price
N/A
529
*DISCD*HALF NUT 22 X 41 X 3.175 2PC SET
Price
N/A
530
*DISCD*WORM
Price
N/A
531
*DISCD*GEAR 22T
Price
N/A
532
*DISCD*SHAFT
Item is no longer available
Price
N/A
532A
Now: PK10M
KEY 5 X 5 X 12
Price
N/A
533
*DISCD*GEAR 18T
Price
N/A
534
*DISCD*SHAFT
Price
N/A
535
*DISCD*THREADING DIAL SHAFT
Price
N/A
538
*DISCD*GEAR 32T
Price
N/A
539
*DISCD*SPACER 9.5 X 20 X 10
Price
N/A
540
*DISCD*BAR
Price
N/A
541
*DISCD*HANDWHEEL BOLT M8-1.25 X 13
Price
N/A
542
*DISCD*18T GEAR WASHER 6MM
Price
N/A
543
FENDER WASHER 6MM
Price
N/A
544
Now: PW03M
FLAT WASHER 6MM
Price
N/A
550
*DISCD*OIL SIGHT COLLAR
Price
N/A
551
*DISCD*OIL SIGHT COLLAR
Price
N/A
552
*DISCD*OIL SIGHT GLASS
Price
N/A
553
*DISCD*KNOB
$4.90
Enter quantity between 1 and 99
554
*DISCD*PLUG A
Price
N/A
555
*DISCD*PLUG B
Price
N/A
556
*DISCD*HANDLE
Price
N/A
557
*DISCD*COMPRESSION SPRING 0.9 X 5 X 9
Price
N/A
558
*DISCD*COMPRESSION SPRING 0.9 X 5 X 9
Price
N/A
559
Now: PK02M
KEY 5 X 5 X 40
Price
N/A
560
CAP SCREW M5-.8 X 12
Price
N/A
562
CAP SCREW M6-1 X 12
Price
N/A
563
CAP SCREW M6-1 X 16
Price
N/A
564
CAP SCREW M6-1 X 25
Price
N/A
565
CAP SCREW M8-1.25 X 30
Price
N/A
566
CAP SCREW M8-1.25 X 50
Price
N/A
567
CAP SCREW M5-.8 X 16
Price
N/A
568
CAP SCREW M6-1 X 12
Price
N/A
569
CAP SCREW M6-1 X 10
Price
N/A
570
SET SCREW M5-.8 X 6
Price
N/A
571
SET SCREW M6-1 X 6
Price
N/A
572
SET SCREW M6-1 X 10
Price
N/A
573
SET SCREW M5-.8 X 16
Price
N/A
574
SET SCREW M6-1 X 35
Price
N/A
575
SET SCREW M6-1 X 10
Price
N/A
577
CAP SCREW M6-1 X 12
Price
N/A
578
ROLL PIN 3 X 25
Price
N/A
579
ROLL PIN 5 X 20
Price
N/A
580
ROLL PIN 5 X 30
Price
N/A
581
ROLL PIN 5 X 32
Price
N/A
582
ROLL PIN 5 X 25
Price
N/A
583
ROLL PIN 6 X 12
Price
N/A
584
BALL OILER 8MM PRESS-IN
Price
N/A
585
FENDER WASHER 8MM
Price
N/A
586
LOCK WASHER 8MM
Price
N/A
587
Now: PN06M
HEX NUT M5-.8
Price
N/A
588
Now: PN01M
HEX NUT M6-1
Price
N/A
589
Now: PN03M
HEX NUT M8-1.25
Price
N/A
591
*DISCD*RIVET 3 X 8MM NAMEPLATE, ALUMINUM
Price
N/A
592
O-RING 14.8 X 2.4 P15 
Price
N/A
595
Now: PK14M
KEY 5 X 5 X 18
Price
N/A
596
STEEL BALL 5MM
Price
N/A
597
Now: PW04M
FLAT WASHER 10MM
Price
N/A
598
*DISCD*PLUG M10-1.5 X 1
Price
N/A
601
*DISCD*SADDLE
Price
N/A
602
*DISCD*CROSS SLIDE
Price
N/A
603
*DISCD*SWIVEL SLIDE
Price
N/A
604
*DISCD*TOP SLIDE
Price
N/A
605
*DISCD*COLLAR
Price
N/A
606
*DISCD*COMPOUND SLIDE GIB
Item is no longer available
Price
N/A
607
*DISCD*HUB V1.06.00
$54.65
Enter quantity between 1 and 99
607A
*DISCD*HUB 8 PITCH V2.05.05
Price
N/A
607V2
*DISCD*HUB 8 PITCH V2.05.05
Item is no longer available
Price
N/A
608
*DISCD*STRIP
Price
N/A
609
*DISCD*GIB
Price
N/A
610
*DISCD*STRIP
Price
N/A
611
*DISCD*FRONT STRIP
Price
N/A
612
*DISCD*HANDLE T-BOLT M1.25 X 8
Price
N/A
613
*DISCD*HANDLE BASE
Price
N/A
614
*DISCD*HANDLE SHAFT
Price
N/A
615
*DISCD*STOP
Price
N/A
616
*DISCD*LEADSCREW
Price
N/A
617
*DISCD*INDEX RING
Price
N/A
618
*DISCD*HAND CRANK
Price
N/A
619
*DISCD*HANDLE
Price
N/A
620
*DISCD*COLLAR
Price
N/A
622
*DISCD*WASHER
Item is no longer available
Price
N/A
623
*DISCD*COLLAR NUT M12-1.0
Price
N/A
624
*DISCD*INDEX RING
$123.95
Enter quantity between 1 and 99
625
*DISCD*PLATE
Price
N/A
626
*DISCD*RUBBER WASHER
$6.90
Enter quantity between 1 and 99
627
*DISCD*PLATE
Price
N/A
628
*DISCD*LEADSCREW V1.06.00
$223.40
Enter quantity between 1 and 99
628A
*DISCD*LEADSCREW 10 PITCH V2.03.01
Price
N/A
628V2
*DISCD*LEADSCREW 10 PITCH V2.03.01
Price
N/A
629
*DISCD*BEVELED COLLAR
Price
N/A
630
*DISCD*POST BASE
Price
N/A
631
*DISCD*GIB ADJ SCR M16-1.0X20HD DIA 16MM
Price
N/A
632
*DISCD*GIB ADJ SCR M5-.8X20 HD DIA 12MM
Price
N/A
633
*DISCD*LEVER
Price
N/A
634
*DISCD*GIB STRIP
Price
N/A
635
*DISCD*T-BOLT M8-1 X 42
Price
N/A
636
*DISCD*BLOCK 2.5 TPI V1.06.00
Item is no longer available
Price
N/A
636A
*DISCD*BLOCK 10 PITCH V2.07.06
Price
N/A
636V2
*DISCD*BLOCK 10 PITCH V2.07.06
Price
N/A
637
*DISCD*LEADSCREW NUT 7/8 - 8
$52.65
Enter quantity between 1 and 99
638
*DISCD*HANDLE
Price
N/A
639
*DISCD*FLAT RUBBER WIPER
Item is no longer available
Price
N/A
640
*DISCD*V-WIPER
Item is no longer available
Price
N/A
642
Now: P8101
THRUST BEARING 8101
Price
N/A
643
THRUST BEARING 51102
Price
N/A
644
Now: PS02M
PHLP HD SCR M4-.7 X 12
Price
N/A
645
Now: PS76M
PHLP HD SCR M8-1.25 X 12
Price
N/A
646
Now: PB09M
HEX BOLT M8-1.25 X 20
Price
N/A
647
Now: PB09M
HEX BOLT M8-1.25 X 20
Price
N/A
648
CAP SCREW M6-1 X 16
Price
N/A
649
CAP SCREW M6-1 X 20
Price
N/A
650
CAP SCREW M6-1 X 25
Price
N/A
652
CAP SCREW M8-1.25 X 16
Price
N/A
653
SET SCREW M6-1 X 6
Price
N/A
654
SET SCREW M6-1 X 8
Price
N/A
655
SET SCREW M6-1 X 10
Price
N/A
656
SET SCREW M6-1 X 16
Price
N/A
657
SET SCREW M8-1.25 X 8
Price
N/A
658
SET SCREW M8-1.25 X 10
Price
N/A
659
Now: PN01M
HEX NUT M6-1
Price
N/A
660
Now: PN03M
HEX NUT M8-1.25
Price
N/A
661
Now: PW01M
FLAT WASHER 8MM
Price
N/A
662
*DISCD*TOOL LOCK SCREW M10-1.5 X 40
Price
N/A
663
*DISCD*SPRING .6 X 4 X 18
Price
N/A
664
BALL OILER 8MM PRESS-IN
Price
N/A
666
ROLL PIN 3 X 16
Price
N/A
667
*DISCD*GEAR
Price
N/A
669
Now: P8101
THRUST BEARING 8101
Price
N/A
670
CAP SCREW M8-1.25 X 16
Price
N/A
671
*DISCD*HANDLE
Price
N/A
672
*DISCD*COMPOUND HANDWHEEL
Price
N/A
673
*DISCD*SPACER
Price
N/A
674
Now: PK48M
KEY 4 X 4 X 20
Price
N/A
675
SET SCREW M3-.5 X 6
Price
N/A
676
Now: PK12M
KEY 5 X 5 X 30
Price
N/A
677
THRUST BEARING 51101
Price
N/A
678
*DISCD*BEARING HOUSING
Price
N/A
679
*DISCD*BEARING DUST COVER
Price
N/A
680
*DISCD*SPACER
Price
N/A
681
*DISCD*TAB WASHER
Price
N/A
682
*DISCD*LOCK NUT 12 X 1.25
Price
N/A
683
CAP SCREW M8-1.25 X 25
Price
N/A
701
*DISCD*SADDLE
Price
N/A
702
*DISCD*CROSS SLIDE
Price
N/A
707
*DISCD*HUB 2-15/16" TALL V1.05.00
Item is no longer available
Price
N/A
707A
*DISCD*HUB 2-3/8" TALL V2.12.06
$66.70
Enter quantity between 1 and 99
709
*DISCD*GIB
Price
N/A
711
*DISCD*FRONT STRIP
Price
N/A
720
*DISCD*COLLAR
Price
N/A
724
*DISCD*INDEX RING V1.07.02
$71.60
Enter quantity between 1 and 99
724A
*DISCD*INDEX RING V2.11.02
$90.60
Enter quantity between 1 and 99
728
*DISCD*SCREW
$214.50
Enter quantity between 1 and 99
731
*DISCD*GIB ADJ SCR M16-1.0X20HD DIA 16MM
Price
N/A
735
*DISCD*T-BOLT M8-1 X 42
Price
N/A
736
*DISCD*BLOCK
$76.50
Enter quantity between 1 and 99
743
THRUST BEARING 51102
Price
N/A
764
BALL OILER 8MM PRESS-IN
Price
N/A
767
*DISCD*GEAR SHAFT
$73.35
Enter quantity between 1 and 99
767-1
*DISCD*GEAR 19T
$71.60
Enter quantity between 1 and 99
770
*DISCD*CAP SCREW
$1.75
Enter quantity between 1 and 99
771
*DISCD*LEVER
$15.25
Enter quantity between 1 and 99
772
*DISCD*COMPOUND HANDLE
$59.25
Enter quantity between 1 and 99
773
*DISCD*SPACER
$6.05
Enter quantity between 1 and 99
775
SET SCREW M3-.5 X 6
Price
N/A
776
Now: PK15M
KEY 5 X 5 X 35
Price
N/A
778
*DISCD*BEARING HOUSING
$47.75
Enter quantity between 1 and 99
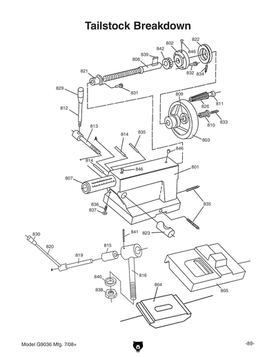
800
*DISCD*COMPLETE TAILSTOCK ASSY
Item is no longer available
Price
N/A
801
*DISCD*CASTING
Price
N/A
802
*DISCD*FLANGE COVER
Price
N/A
803
*DISCD*HANDWHEEL
Price
N/A
804
*DISCD*CLAMP PLATE
Price
N/A
805
*DISCD*BASE
Price
N/A
807
*DISCD*QUILL
Price
N/A
808
*DISCD*LEADSCREW
Item is no longer available
Price
N/A
809
*DISCD*WASHER 35 X 13 X 3MM
Price
N/A
81
*DISCD*CHUCK 3-JAW 8"
Item is no longer available
Price
N/A
810
*DISCD*BUTTON HD CAP SCR M8-1.25 X 28
Price
N/A
811
*DISCD*HANDWHEEL BOLT M8-1.25 X 13
Price
N/A
812
*DISCD*QUILL LOCK LEVER
Item is no longer available
Price
N/A
813
*DISCD*LOCK SHAFT
Price
N/A
814
*DISCD*THREADED STOP PIN M8-1.25
Price
N/A
815
*DISCD*LOCK HANDLE COLLAR
$25.05
Enter quantity between 1 and 99
816
*DISCD*CAMSHAFT
Price
N/A
819
*DISCD*SHAFT
Price
N/A
820
*DISCD*LEVER
Price
N/A
821
*DISCD*LEADSCREW NUT
Item is no longer available
Price
N/A
822
*DISCD*INDEX RING
Item is no longer available
Price
N/A
823
*DISCD*QUILL LOCK COLLAR
$53.50
Enter quantity between 1 and 99
826
*DISCD*HANDLE
Price
N/A
829
*DISCD*KNOB
Item is no longer available
Price
N/A
830
*DISCD*LEVER HANDLE
Item is no longer available
Price
N/A
831
CAP SCREW M4-.7 X 10
Price
N/A
832
SET SCREW M6-1 X 16 DOG-PT
Price
N/A
833
SET SCREW M5-.8 X 25
Price
N/A
834
SET SCREW M6-1 X 10
Price
N/A
835
SET SCREW M10-1.5 X 45
Price
N/A
836
*DISCD*DOG PT SET SCR M8-1.25 X 40
Price
N/A
837
Now: PN03M
HEX NUT M8-1.25
Price
N/A
838
Now: PN09M
HEX NUT M12-1.75
Price
N/A
839
Now: PK47M
KEY 4 X 4 X 15
Price
N/A
840
*DISCD*LEVER SPACER
$1.75
Enter quantity between 1 and 99
841
ROLL PIN 5 X 24
Price
N/A
842
THRUST BEARING 51102
Price
N/A
846
BALL OILER 8MM PRESS-IN
Price
N/A
901
*DISCD*KNOB PINNED
Price
N/A
902
ROLL PIN 3 X 18
Price
N/A
903
*DISCD*BUSHING
Price
N/A
904
*DISCD*SCREW M10 X 38
Price
N/A
905
*DISCD*SLEEVE
Price
N/A
906
*DISCD*FINGER BRASS
Price
N/A
907
SET SCREW M6-1 X 6
Price
N/A
908
Now: PN01M
HEX NUT M6-1
Price
N/A
909
SET SCREW M6-1 X 20
Price
N/A
910
SET SCREW M6-1 X 6
Price
N/A
911
CAP SCREW M8-1.25 X 45
Price
N/A
912
*DISCD*COMPLETE FOLLOW REST
Price
N/A
920
*DISCD*COMPLETE STEADY REST
Price
N/A
921
*DISCD*STEADY REST TOP CASTING
Price
N/A
927
SET SCREW M6-1 X 6
Price
N/A
928
Now: PN01M
HEX NUT M6-1
Price
N/A
929
SET SCREW M6-1 X 20
Price
N/A
930
Now: PN01M
HEX NUT M6-1
Price
N/A
931
CAP SCREW M6-1 X 30
Price
N/A
932
*DISCD*PIVOT BOLT M10 X 23
Price
N/A
933
*DISCD*STEADY REST BASE CASTING
Price
N/A
934
Now: PN09M
HEX NUT M12-1.75
Price
N/A
935
Now: PW06M
FLAT WASHER 12MM
Price
N/A
936
SET SCREW M6-1 X 6
Price
N/A
937
*DISCD*CLAMP PAD
Price
N/A
938
*DISCD*CLAMP SCREW M8 X 15
Price
N/A
939
*DISCD*SET OF CHANGE GEARS
Item is no longer available
Price
N/A
939A
*DISCD*CHANGE GEAR 46T
Price
N/A
939B
*DISCD*CHANGE GEAR 52T
Price
N/A
940
THREAD PITCH LABEL
$16.40
Enter quantity between 1 and 99
941
*DISCD*CHUCK 3-JAW 6"
$644.00
Enter quantity between 1 and 99
941-1
*DISCD*STD JAWS FOR 3-JAW CHUCK
Price
N/A
942
*DISCD*SPINDLE SWITCH
Price
N/A
943
*DISCD*CONTACTOR KM1 LC1D1801 24V TAIAN
$65.55
Enter quantity between 1 and 99
945
*DISCD*GEAR SHAFT 13T
$47.75
Enter quantity between 1 and 99
946
*DISCD*TRANSFORMER
$200.10
Enter quantity between 1 and 99
947
*DISCD*CHANGE GEAR 48T
Price
N/A
950
*DISCD*CHANGE GEAR 120/127T
Item is no longer available
Price
N/A
951
*DISCD*CHANGE GEAR 55T
Item is no longer available
Price
N/A
952
*DISCD*CHANGE GEAR 52T
$82.25
Enter quantity between 1 and 99
953
*DISCD*CHANGE GEAR 48T
Item is no longer available
Price
N/A
954
*DISCD*CHANGE GEAR 46T
$71.60
Enter quantity between 1 and 99
955
*DISCD*CHANGE GEAR 44T
Item is no longer available
Price
N/A
956
*DISCD*CHANGE GEAR 42T
Item is no longer available
Price
N/A
957
*DISCD*CHANGE GEAR 35T
Item is no longer available
Price
N/A
959
*DISCD*LATHE CHUCK KEY 9.6MM STD
Price
N/A
960
*DISCD*LARGE CHUCK KEY W/HANDLE
Price
N/A
961
*DISCD*WRENCH FOR TOOL POST WITH HANDLE
Price
N/A
962
*DISCD*OILER CAN
Price
N/A
963
*DISCD*SPINDLE SLEEVE ADAPTER
Price
N/A
964
*DISCD*LIVE CENTER MT#3
Price
N/A
965
*DISCD*DEAD CENTER MT#3 W/CARBIDE TIP
Price
N/A
966
*DISCD*MORSE TAPER DEAD CENTER #3
Price
N/A
967
*DISCD*PHLP HD SCREWDRIVER
Price
N/A
968
*DISCD*FLAT HD SCREWDRIVER
Price
N/A
969
*DISCD*FACEPLATE 12"
Price
N/A
970
*DISCD*TOOLBOX
Item is no longer available
Price
N/A
971
HEX WRENCH 2.5MM
Price
N/A
972
HEX WRENCH 3MM
Price
N/A
973
HEX WRENCH 4MM
Price
N/A
974
HEX WRENCH 5MM
Price
N/A
975
HEX WRENCH 6MM
Price
N/A
976
HEX WRENCH 8MM
Price
N/A
977
WRENCH 10 X 12MM OPEN-ENDS
Price
N/A
978
WRENCH 9 X 11MM OPEN-ENDS
Price
N/A
979
WRENCH 12 X 14MM OPEN-ENDS
Price
N/A
980
WRENCH 17 X 19MM OPEN-ENDS
Price
N/A
981
*DISCD*CHUCK 3-JAW W/JAWS
Item is no longer available
Price
N/A
981-1
*DISCD*REVERSIBLE TOP JAW - SET OF 3
$285.80
Enter quantity between 1 and 99
981-2
*DISCD*STD JAWS FOR 3-JAW CHUCK
Item is no longer available
Price
N/A
982
*DISCD*UNIVERSAL CHUCK 4-JAW W/KEY 8"
Price
N/A
982-1
*DISCD*CHUCK 4-JAW W/JAWS
Item is no longer available
Price
N/A
982-2
*DISCD*CHUCK 4-JAW KEY
Item is no longer available
Price
N/A
982-3
*DISCD*CAMLOCK STUD (3-PC)
Item is no longer available
Price
N/A
982-4
*DISCD*CAMLOCK SCREW
$8.05
Enter quantity between 1 and 99
983
OUTBOARD ENTANGLE LABEL
$4.25
Enter quantity between 1 and 99
984
DISCONNECT 220V LABEL
$4.25
Enter quantity between 1 and 99
985
READ MANUAL LABEL
$4.25
Enter quantity between 1 and 99
986
GEAR PINCH LABEL
$4.25
Enter quantity between 1 and 99
987
ELECTRICITY 1.4W X 1.2H
Price
N/A
988
ENTANGLEMENT LABEL
$4.25
Enter quantity between 1 and 99
989
MACHINE ID LABEL
Item is no longer available
Price
N/A
990
GLASSES/FACE SHEILD LABEL
$4.25
Enter quantity between 1 and 99
991
Now: G8588
Nameplate - Small
Price
N/A
992
MODEL NUMBER LABEL
Item is no longer available
Price
N/A
993
GREY PUTTY REF G0504
Price
N/A
994
N/S GRIZZLY GREEN G1023S
Price
N/A
995
HEADSTOCK FACE PLATE
Item is no longer available
Price
N/A
996
*DISCD*GEARBOX FACE PLATE
Item is no longer available
Price
N/A
997
*DISCD*CONTROL PANEL FACE PLATE
Item is no longer available
Price
N/A
998
*DISCD*THREAD DIAL SCALE
Item is no longer available
Price
N/A
999
HALF NUT ENGAGE LABEL
Item is no longer available
Price
N/A
MANUAL
MANUAL FOR G9036 6/09
$19.25
Enter quantity between 1 and 99
TAILSTOCK
COMPLETE TAILSTOCK ASSY
Item is no longer available
Price
N/A