Parts for G9961 24" 10 HP 3-Phase Industrial Planer w/ Spiral Cutterhead

Parts Diagrams for G9961 - 24" 10 HP 3-Phase Industrial Planer w/ Spiral Cutterhead

IMPORTANT

Parts may have multiple versions that have changed over time. This will be indicated by V1, V2, V3, etc. in the parts description, followed by the version month and year that it was first used. Example: V2.01.17 indicates version 2 of a part went into use in January 2017. Please reference the manufacture date on the ID Label for your machine to ensure you are selecting the correct part when multiple versions are indicated.

If you cannot locate your part below, please contact our tech support department at techsupport@grizzly.com or 570-546-9663.

Please note: All parts ship out of our Springfield, Missouri facility.

Parts List for Parts for G9961 24" 10 HP 3-Phase Industrial Planer w/ Spiral Cutterhead

5
*DISCD*SPIRAL FLAT CUTTER ASSEMBLY
Item is no longer available
Price
N/A
11
***USE P97411101V2***
$630.75
Enter quantity between 1 and 99
99
*DISCD*TENSIONER REPAIR KIT
Item is no longer available
Price
N/A
101
***USE P97410101***
$1,022.00
Enter quantity between 1 and 99
102
SPEED CHANGE NUT 1 3/8"-16
Price
N/A
103
***USE P97400103***
$32.75
Enter quantity between 1 and 99
104
SLIP BOLT M20 - 2.5 X 20
Price
N/A
105
***USE PW06***
$1.25
Enter quantity between 1 and 99
106
***USE PCAP62***
$1.00
Enter quantity between 1 and 99
107
LOCK WASHER 8MM
Price
N/A
108
***USE PB07M***
$1.00
Enter quantity between 1 and 99
109
***USE P97410109***
$23.00
Enter quantity between 1 and 99
110
Now: PB01M
HEX BOLT M10-1.5 X 30
Price
N/A
111
***USE PB25M***
$1.00
Enter quantity between 1 and 99
112
Now: PB24M
HEX BOLT M12-1.75 X 45
Price
N/A
113
Now: PN02M
HEX NUT M10-1.5
Price
N/A
114
***USE P97400114***
$44.75
Enter quantity between 1 and 99
114V2
CABINET DOOR V2.10.24
$253.60
Enter quantity between 1 and 99
115
Now: PS26M
PHLP HD SCR M6-1 X 20
Price
N/A
116
***USE PW02***
$1.00
Enter quantity between 1 and 99
117
***USE PB60***
$1.00
Enter quantity between 1 and 99
118
SPEED CHANGE LEVER
Price
N/A
119
RIVET 3 X 40
Price
N/A
120
***USE P97400120***
$139.50
Enter quantity between 1 and 99
120-1
*DISCD*CONTACTOR TECO CN-11 V1
Price
N/A
120-10
***USE P97400120-10***
$8.75
Enter quantity between 1 and 99
120-11
***USE P97400120-11A***
$112.00
Enter quantity between 1 and 99
120-11A
CONVERSION KIT 440V RHN-10 V2.07.07
Price
N/A
120-11V2
440V Conversion Kit for G9741
Price
N/A
120-12
*DISCD*CONTACTOR TECO CN-11 V1
Price
N/A
120-12V2
CONTACTOR TECO CU-11 3A1A V2.05.08
Price
N/A
120-14
STAR-DELTA TIMER TRD-N
Price
N/A
120-1V2
CONTACTOR TECO CU-11 3A1B V2.05.08
Price
N/A
120-2
*DISCD*CONTACTOR CN-25 5/10HP V1.01.15
Price
N/A
120-2V2
CONTACTOR CU-27 5/10HP V2.05.08
Price
N/A
120-2V3
CONTACTOR TECO CU-18 V3.07.12
Price
N/A
120-3
***USE P97400120-3***
$17.00
Enter quantity between 1 and 99
120-4
***USE P97400120-4V2***
$34.50
Enter quantity between 1 and 99
120-4A
*DISCD*OL RELAY TECO RHN-10 1.8-2.7A V2.
Price
N/A
120-4V3
OL RELAY RHU-10 1.8-2.5A V3.01.11
Price
N/A
120-5
OL RELAY TECO RHN-10 2.4-4A V2.06.07
Price
N/A
120-5A
***USE P97400120-5V2***
$32.00
Enter quantity between 1 and 99
120-5V3
OL RELAY TECO RHU-10 2.9-4.0A V3.01.11
Price
N/A
120-6
*DISCD*RELAY EOCRSS 5/10HP 220V TAIAN V1
Price
N/A
120-6V3
*DISCD*OLRLAY TECORHU-10 15-20A V3.07.12
Price
N/A
120-7
TRANSFORMER 110VA 220V-110V
Price
N/A
120-8
***USE P97400120-8***
$36.50
Enter quantity between 1 and 99
120-8V2
TERMINAL BAR 29-POST V2.07.12
Price
N/A
120-9
***USE P97400120-9***
$31.00
Enter quantity between 1 and 99
120-9V2
WIRING DUCT W/COVER V2.07.12
Price
N/A
121
Now: PB49M
HEX BOLT M12-1.75 X 20
Price
N/A
201
WALL LEFT
Price
N/A
202
Now: PB76M
HEX BOLT M12-1.75 X 110
Price
N/A
203
***USE PN09M***
$1.00
Enter quantity between 1 and 99
204
***USE P97400321***
$3.50
Enter quantity between 1 and 99
205
Now: PN02M
HEX NUT M10-1.5
Price
N/A
206
Now: PB31M
HEX BOLT M10-1.5 X 40
Price
N/A
207
LOCK WASHER 12MM
Price
N/A
208
***USE PB33M***
$1.00
Enter quantity between 1 and 99
209
COVER SUPPORT 7/2 X 52
Price
N/A
210
CAP SCREW M8-1.25 X 25
Price
N/A
211
***USE P97400211***
$3.00
Enter quantity between 1 and 99
212
***USE PS68M***
$1.75
Enter quantity between 1 and 99
213
***USE P97400213***
$1.00
Enter quantity between 1 and 99
214
Now: PN03M
HEX NUT M8-1.25
Price
N/A
215
***USE PW06M***
$1.00
Enter quantity between 1 and 99
216
Now: PB27M
HEX BOLT M12-1.75 X 30
Price
N/A
217
***USE P97400217***
$74.00
Enter quantity between 1 and 99
217V2
LEFT WALL DOOR V2.10.24
$344.15
Enter quantity between 1 and 99
218
***USE PSS02M***
$1.00
Enter quantity between 1 and 99
219
***USE PRP64M***
$1.00
Enter quantity between 1 and 99
220
***USE P97400220***
$3.50
Enter quantity between 1 and 99
221
HELICAL PULLEY SPRING 11 X 46MM
Price
N/A
222
BRAKE ROD
Price
N/A
223
BRAKE CASING
Price
N/A
301
***USE P97400301***
$1,022.00
Enter quantity between 1 and 99
302
***USE PN09M***
$1.00
Enter quantity between 1 and 99
303
Now: PN04
HEX NUT 5/8-11
Price
N/A
304
***USE P97400304***
$8.75
Enter quantity between 1 and 99
305
***USE P97400305***
$17.00
Enter quantity between 1 and 99
306
***use P6201zz***
$6.00
Enter quantity between 1 and 99
307
***USE PR29M***
$1.00
Enter quantity between 1 and 99
308
Now: PW01M
FLAT WASHER 8MM
Price
N/A
309
CAP SCREW M8-1.25 X 10
Price
N/A
310
SPROCKET SHAFT
Price
N/A
311
SPROCKET
Price
N/A
312
***use P6203zz***
$2.25
Enter quantity between 1 and 99
313
Now: PR18M
EXT RETAINING RING 17MM
Price
N/A
314
Now: PR23M
INT RETAINING RING 40MM
Price
N/A
315
SPROCKET PLATE
Price
N/A
316
***USE PCAP73M***
$1.00
Enter quantity between 1 and 99
317
BEARING WASHER 12.7X23MM
Price
N/A
318
Now: PLW07
LOCK WASHER 1/2
Price
N/A
319
***USE PB33M***
$1.00
Enter quantity between 1 and 99
320
***USE PB76M***
$3.25
Enter quantity between 1 and 99
321
HELICAL ROLLER SPRING 19.5 X 109MM
Price
N/A
322
Now: PN02M
HEX NUT M10-1.5
Price
N/A
323
SET SCREW M10-1.5 X 23
Price
N/A
324
***USE PB31M***
$1.00
Enter quantity between 1 and 99
325
*DISCD*HANDWHEEL V1.09.03
Price
N/A
326
CATCH PLATE
Price
N/A
327
Now: PS68M
PHLP HD SCR M6-1 X 10
Price
N/A
328
KNOB BOLT M8-1.25 X 20
Price
N/A
329
Now: PN02M
HEX NUT M10-1.5
Price
N/A
330
***USE P97400330***
$4.50
Enter quantity between 1 and 99
331
CAP SCREW M8-1.25 X 25
Price
N/A
332
WALL DOOR RIGHT
Price
N/A
332V2
RIGHT WALL DOOR V2.10.24
$344.15
Enter quantity between 1 and 99
333
ROLLER CHAIN 5/8 X 3/8" X 106LINK
Price
N/A
334
***USE P97400334***
$1.75
Enter quantity between 1 and 99
335
***USE PS17M***
$1.00
Enter quantity between 1 and 99
336
***USE PW05M***
$1.00
Enter quantity between 1 and 99
337
LIMIT SWITCH
Price
N/A
338
UPPER LIMIT SWITCH PLATE
Price
N/A
339
Now: PB08M
HEX BOLT M6-1 X 20
Price
N/A
340
Now: PW06
FLAT WASHER 1/4
Price
N/A
341
LIMIT SWITCH PLATE LOWER
Price
N/A
342
***USE P97400342***
$25.25
Enter quantity between 1 and 99
343
***USE PB31M***
$1.00
Enter quantity between 1 and 99
344
***USE PN02M***
$1.00
Enter quantity between 1 and 99
345
***USE PW04M***
$1.00
Enter quantity between 1 and 99
346
***USE P97400346***
$3.00
Enter quantity between 1 and 99
347
***USE PCAP11M***
$1.00
Enter quantity between 1 and 99
348
***USE PLW04M***
$1.00
Enter quantity between 1 and 99
349
CAP SCREW M8-1.25 X 40
Price
N/A
401
***USE P97410401***
$878.25
Enter quantity between 1 and 99
401V2
TABLE 24" MODEL V2.10.24
$3,513.85
Enter quantity between 1 and 99
402
TABLE ROLLER
Price
N/A
403
***USE P97410403***
$32.00
Enter quantity between 1 and 99
404
BALL BEARING 6006ZZ
Price
N/A
405
ECCENTRIC PULL ROD
Price
N/A
406
SHORT ROLLER ADJ BAR 6X25X148MM
Price
N/A
407
ROLLER ADJ BAR LONG 6 X 25 X 400MM
Price
N/A
408
ROLLER BEARING HOUSING R
Price
N/A
409
***USE P97400409***
$25.25
Enter quantity between 1 and 99
410
HOUSING PIVOT BOLT M16-2 X 17MM
Price
N/A
411
ACCOLADE SEAT
Price
N/A
412
***USE P97400412***
$3.00
Enter quantity between 1 and 99
413
ADJUSTMENT SEAT
Price
N/A
414
CLOSED SPROCKET 1/2 X 14T
Price
N/A
415
***USE P97400415***
$5.00
Enter quantity between 1 and 99
416
ROLLER ECCENTRIC R
Price
N/A
417
GIB 12 X 32 X 185MM
Price
N/A
418
SPACER RING
Price
N/A
419
Now: PB32M
HEX BOLT M10-1.5 X 25
Price
N/A
420
Now: PN02M
HEX NUT M10-1.5
Price
N/A
421
***USE PN09M***
$1.00
Enter quantity between 1 and 99
422
***USE PR51M***
$1.00
Enter quantity between 1 and 99
423
***USE P97410423***
$90.00
Enter quantity between 1 and 99
424
Now: PR15M
EXT RETAINING RING 30MM
Price
N/A
425
CAP SCREW 5/16-18 X 1/4
Price
N/A
426
Now: PSS08
SET SCREW 5/16-18 X 1/2
Price
N/A
427
SET SCREW M8-1.25 X 6
Price
N/A
428
Now: PK27M
KEY 7 X 7 X 25
Price
N/A
429
***USE PB31M***
$1.00
Enter quantity between 1 and 99
430
CAP SCREW M8-1.25 X 10
Price
N/A
431
CAP SCREW M8-1.25 X 16
Price
N/A
432
Now: PW02
FLAT WASHER 3/8
Price
N/A
433
MOVABLE BOLT 3/8-16 X 40MM
Price
N/A
434
***USE P97400434***
$3.00
Enter quantity between 1 and 99
435
ROUND KNOB FEMALE 3/8 X 34
Price
N/A
436
***USE P97400436***
$12.25
Enter quantity between 1 and 99
437
CAP SCREW M6-1 X 12
Price
N/A
438
PROTECTION PLATE 1/2 X 1/2 X 375MM LEFT
Price
N/A
439
Now: PB02M
HEX BOLT M6-1 X 12
Price
N/A
440
***USE P97400440***
$12.25
Enter quantity between 1 and 99
441
***USE P97400441***
$23.50
Enter quantity between 1 and 99
442
***USE P97400442***
$1.00
Enter quantity between 1 and 99
443
***USE P97400443***
$1.00
Enter quantity between 1 and 99
444
***USE P97400444***
$1.00
Enter quantity between 1 and 99
445
CAP SCREW M10-1.5 X 20
Price
N/A
446
***USE P97400446***
$17.75
Enter quantity between 1 and 99
447
***USE P97400447***
$1.75
Enter quantity between 1 and 99
448
***USE P97400448***
$3.00
Enter quantity between 1 and 99
449
***USE PN03M***
$1.00
Enter quantity between 1 and 99
450
CAP SCREW M8-1.25 X 65
Price
N/A
451
Now: G3845
Bearing - 22mm x 8mm
Price
N/A
452
PULLEY W/HEX NUT M8 X 12
Price
N/A
501
***USE P97410501***
$170.00
Enter quantity between 1 and 99
502
BEARING BLOCK LEFT
Price
N/A
503
FIXED BEARING NUT M25-16
Price
N/A
504
***USE P97400504***
$9.50
Enter quantity between 1 and 99
505
BALL BEARING 6205ZZ
Price
N/A
506
BEARING BLOCK LT RIGHT
Price
N/A
507
CASE COVER RIGHT
Price
N/A
508
SPROCKET WASHER 25.5X11.5MM
Price
N/A
509
FEED ROLLER SPROCKET
Price
N/A
510
Now: PK27M
KEY 7 X 7 X 25
Price
N/A
511
***USE PSS15***
$1.00
Enter quantity between 1 and 99
512
***USE P97401612***
$23.50
Enter quantity between 1 and 99
513
BALL BEARING 6208ZZ
Price
N/A
514
GREASE FITTING 1/8-27
Price
N/A
515
***USE PSS18***
$1.00
Enter quantity between 1 and 99
516
*DISCD*CUTTER KNOB
Price
N/A
517
LOCK WASHER 12MM
Price
N/A
518
***USE PB75M***
$1.00
Enter quantity between 1 and 99
601
***USE P97410601***
$370.75
Enter quantity between 1 and 99
602
***USE P97400602***
$3.00
Enter quantity between 1 and 99
603
***USE P97400603***
$32.00
Enter quantity between 1 and 99
604
***use P6205zz***
$5.75
Enter quantity between 1 and 99
605
CASE COVER RIGHT
Price
N/A
606
***USE P97400508***
$3.00
Enter quantity between 1 and 99
607
***USE P97400607***
$23.50
Enter quantity between 1 and 99
608
BEARING FIXED NUT M25-16
Price
N/A
609
***USE P97400609***
$32.00
Enter quantity between 1 and 99
610
***USE P97400610***
$9.50
Enter quantity between 1 and 99
611
Now: PSS15
SET SCREW 3/8-16 X 3/8
Price
N/A
612
***USE PK27M***
$1.00
Enter quantity between 1 and 99
613
***USE P97400613***
$1.00
Enter quantity between 1 and 99
701
***USE P97400701***
$67.25
Enter quantity between 1 and 99
702
***USE P97400702***
$67.25
Enter quantity between 1 and 99
703
LIFTING GEAR ASSY LEFT
Price
N/A
704
LIFT SCREW LONG 1-1/4 - 4 X 400
Price
N/A
705
***USE P97410705***
$58.00
Enter quantity between 1 and 99
706
FIXED STOP COLLAR
Price
N/A
707
***USE P97400703A***
$61.75
Enter quantity between 1 and 99
708
RIGHT LIFT SCR 1-1/4-4 X 400 W/ GEAR
Price
N/A
709
***USE P2907***
$55.75
Enter quantity between 1 and 99
710
***USE PSS05***
$1.00
Enter quantity between 1 and 99
711
***USE PB07M***
$1.00
Enter quantity between 1 and 99
712
Now: PLW01
LOCK WASHER 5/16
Price
N/A
713
RUBBER SLEEVE
Price
N/A
714
FENDER WASHER 8MM
Price
N/A
715
LOCK WASHER 8MM
Price
N/A
716
Now: PB26M
HEX BOLT M8-1.25 X 30
Price
N/A
717
***USE PLW06M***
$1.00
Enter quantity between 1 and 99
718
***USE PB74M***
$1.00
Enter quantity between 1 and 99
719
PILLOW BLOCK BEARING FL205
$36.25
Enter quantity between 1 and 99
720
Now: PB01M
HEX BOLT M10-1.5 X 30
Price
N/A
721
***USE P97400721***
$113.00
Enter quantity between 1 and 99
722
***USE PK28M***
$3.00
Enter quantity between 1 and 99
723
***USE PSS06M***
$1.00
Enter quantity between 1 and 99
801
***USE P97400801***
$733.50
Enter quantity between 1 and 99
802
***USE P97400802***
$781.75
Enter quantity between 1 and 99
803
***USE P97400803***
$87.00
Enter quantity between 1 and 99
804
Now: PS68M
PHLP HD SCR M6-1 X 10
Price
N/A
805
PUSH BUTTON SWITCH T1 RED
Price
N/A
806
***USE P97400806***
$7.50
Enter quantity between 1 and 99
807
***USE P97400807***
$19.50
Enter quantity between 1 and 99
807-1
PUSH BUTTON SWITCH GREEN
$10.90
Enter quantity between 1 and 99
808
***USE P97400808***
$3.50
Enter quantity between 1 and 99
809
***USE P97400809***
$3.00
Enter quantity between 1 and 99
810
Now: PN03M
HEX NUT M8-1.25
Price
N/A
811
GRADUATION STRUT
Price
N/A
812
***USE P97400812***
$8.75
Enter quantity between 1 and 99
813
***USE PN01M***
$1.00
Enter quantity between 1 and 99
814
***USE P97400814***
$3.50
Enter quantity between 1 and 99
815
***use G3845***
$2.50
Enter quantity between 1 and 99
816
CAP SCREW M8-1.25 X 65
Price
N/A
817
***USE P97400817***
$3.75
Enter quantity between 1 and 99
818
***USE P97410818***
$8.75
Enter quantity between 1 and 99
819
***USE P97410819***
$3.00
Enter quantity between 1 and 99
820
***USE P97400820***
$2.25
Enter quantity between 1 and 99
821
PULLEY
Price
N/A
822
***USE P97410822***
$16.00
Enter quantity between 1 and 99
823
***USE PS30***
$1.00
Enter quantity between 1 and 99
824
***USE P97400824***
$1.00
Enter quantity between 1 and 99
825
***USE PW06***
$1.25
Enter quantity between 1 and 99
826
***USE P97400826***
$3.00
Enter quantity between 1 and 99
827
***USE P97400827***
$5.75
Enter quantity between 1 and 99
828
***USE PB20M***
$1.00
Enter quantity between 1 and 99
829
***USE P97410829***
$23.50
Enter quantity between 1 and 99
830
COMPRESS PAWL SPRING 2MM
Price
N/A
831
***USE PCAP60M***
$1.00
Enter quantity between 1 and 99
832
***USE P97410832***
$360.00
Enter quantity between 1 and 99
833
***USE P97400833***
$3.00
Enter quantity between 1 and 99
834
CAP SCREW M8-1.25 X 16
Price
N/A
835
***USE PN06M***
$1.00
Enter quantity between 1 and 99
836
SCALE SPRING HELICAL D6 X 385MM
Price
N/A
837
***USE PW01M***
$1.00
Enter quantity between 1 and 99
838
***USE P97410838***
$27.25
Enter quantity between 1 and 99
839
***USE P9860016***
$97.25
Enter quantity between 1 and 99
901
PAWL
Price
N/A
902
***USE P97410902***
$21.50
Enter quantity between 1 and 99
903
***USE P97400903***
$1.00
Enter quantity between 1 and 99
904
SET SCREW M8-1.25 X 6
Price
N/A
905
***USE P97400905***
$2.25
Enter quantity between 1 and 99
906
SHORT ROLLER ADJ BAR 6X25X148MM
Price
N/A
907
***USE P97400407***
$3.50
Enter quantity between 1 and 99
908
ROLLER BEARING HOUSING R
Price
N/A
909
***USE P97400409***
$25.25
Enter quantity between 1 and 99
910
HOUSING PIVOT BOLT M16-2 X 17MM
Price
N/A
911
***USE P97400411***
$3.50
Enter quantity between 1 and 99
912
ADAMANT SEAT
Price
N/A
913
***USE P97400413***
$18.75
Enter quantity between 1 and 99
914
CLOSED SPROCKET 1/2 X 14T
Price
N/A
915
***USE P97400415***
$5.00
Enter quantity between 1 and 99
916
***USE P97400416***
$5.50
Enter quantity between 1 and 99
917
***USE P97400417***
$11.25
Enter quantity between 1 and 99
918
***USE P97400418***
$1.00
Enter quantity between 1 and 99
919
***USE PB32M***
$1.00
Enter quantity between 1 and 99
920
Now: PN02M
HEX NUT M10-1.5
Price
N/A
921
***USE PN09M***
$1.00
Enter quantity between 1 and 99
922
***USE PR51M***
$1.00
Enter quantity between 1 and 99
923
***USE P97410423***
$90.00
Enter quantity between 1 and 99
924
Now: PR15M
EXT RETAINING RING 30MM
Price
N/A
925
***USE PCAP69***
$1.00
Enter quantity between 1 and 99
926
Now: PSS08
SET SCREW 5/16-18 X 1/2
Price
N/A
927
***USE PSS17M***
$0.75
Enter quantity between 1 and 99
928
***USE PK27M***
$1.00
Enter quantity between 1 and 99
929
***USE PB31M***
$1.00
Enter quantity between 1 and 99
930
***USE PCAP52M***
$1.00
Enter quantity between 1 and 99
931
CAP SCREW M8-1.25 X 16
Price
N/A
932
Now: PW02
FLAT WASHER 3/8
Price
N/A
933
***USE P97400433***
$2.25
Enter quantity between 1 and 99
934
***USE P97400434***
$3.00
Enter quantity between 1 and 99
935
ROUND KNOB FEMALE 3/8 X 34
Price
N/A
936
***USE P97400436***
$12.25
Enter quantity between 1 and 99
937
***USE PCAP26M***
$1.00
Enter quantity between 1 and 99
938
PROTECTION PLATE 1/2 X 1/2 X 375MM LEFT
Price
N/A
939
***USE PB02M***
$1.00
Enter quantity between 1 and 99
940
***USE P97400440***
$12.25
Enter quantity between 1 and 99
941
TABLE ROLLER SPROCKET 5/8-13 X 25 X 30
Price
N/A
942
HANDLE SCALE MARK
Price
N/A
943
***USE P97400443***
$1.00
Enter quantity between 1 and 99
944
GRADUATED SCALE
Price
N/A
945
***USE PCAP61M***
$1.00
Enter quantity between 1 and 99
946
***USE P97400446***
$17.75
Enter quantity between 1 and 99
947
***USE P97400447***
$1.75
Enter quantity between 1 and 99
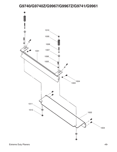
1001
PRESSURE BAR 26-13/16" V1
Price
N/A
1001A
***USE P97411001A***
$107.25
Enter quantity between 1 and 99
1002
***USE P97411002***
$54.25
Enter quantity between 1 and 99
1002A
***USE P97411002A***
$34.50
Enter quantity between 1 and 99
1003
***USE PLW01***
$1.00
Enter quantity between 1 and 99
1003A
***USE PW04M***
$1.00
Enter quantity between 1 and 99
1004
***USE PB03M***
$1.00
Enter quantity between 1 and 99
1004A
***USE PCAP72M***
$1.00
Enter quantity between 1 and 99
1005
***USE PN03M***
$1.00
Enter quantity between 1 and 99
1005A
***USE PN09M***
$1.00
Enter quantity between 1 and 99
1006
Now: PB20M
HEX BOLT M8-1.25 X 35
Price
N/A
1006A
CAP SCREW M8-1.25 X 12
Price
N/A
1007
***USE PW02***
$1.00
Enter quantity between 1 and 99
1007A
***USE P97411007A***
$1.75
Enter quantity between 1 and 99
1008
***USE P97401008***
$1.00
Enter quantity between 1 and 99
1008A
***USE PCAP62M***
$1.00
Enter quantity between 1 and 99
1009
***USE P97401009***
$1.25
Enter quantity between 1 and 99
1009A
***USE P97411009A***
$3.50
Enter quantity between 1 and 99
1010
Now: PN08
HEX NUT 3/8-16
Price
N/A
1010A
PRESSURE BAR BRACKET V2.06.07
Price
N/A
1011
Now: PW02
FLAT WASHER 3/8
Price
N/A
1011A
CAP SCREW M10-1.5 X 40
Price
N/A
1012
Now: PN08
HEX NUT 3/8-16
Price
N/A
1012A
***USE PSS68M***
$1.25
Enter quantity between 1 and 99
1013
CAP SCREW M10-1.5 X 25
Price
N/A
1014
***USE P97411014***
$45.50
Enter quantity between 1 and 99
1015
***USE P97411015***
$45.50
Enter quantity between 1 and 99
1016
AXLE BOLT
Price
N/A
1017
***USE PSS03M***
$1.00
Enter quantity between 1 and 99
1101
MOTOR 10HP 220V/440V 3-PH V2.06.15
Price
N/A
1101-1
***USE P97411101-1***
$8.75
Enter quantity between 1 and 99
1101-2
***USE P97411101-2***
$11.00
Enter quantity between 1 and 99
1101-3
***USE P97411101-3***
$39.50
Enter quantity between 1 and 99
1102
***USE PB14M***
$1.25
Enter quantity between 1 and 99
1103
***USE PLW06M***
$1.00
Enter quantity between 1 and 99
1104
Now: PN02M
HEX NUT M10-1.5
Price
N/A
1105
MOTOR PLATE
Price
N/A
1106
***USE PK78M***
$1.00
Enter quantity between 1 and 99
1107
***USE P97411107***
$32.25
Enter quantity between 1 and 99
1108
***USE PSS15***
$1.00
Enter quantity between 1 and 99
1109
***USE PB01M***
$1.00
Enter quantity between 1 and 99
1110
***USE PLW04***
$1.00
Enter quantity between 1 and 99
1111
***USE PB34M***
$1.25
Enter quantity between 1 and 99
1112
***USE PSS17M***
$0.75
Enter quantity between 1 and 99
1113
Now: PVB71
V-BELT B71
Price
N/A
1201
***USE P97401201***
$307.25
Enter quantity between 1 and 99
1201-1
***USE P97401201-1***
$21.50
Enter quantity between 1 and 99
1201-2
***USE P97401201-2***
$12.25
Enter quantity between 1 and 99
1201-3
***USE P97401201-3***
$30.25
Enter quantity between 1 and 99
1202
***USE P97401402***
$18.00
Enter quantity between 1 and 99
1203
***USE PB01M***
$1.00
Enter quantity between 1 and 99
1204
***USE PLW06M***
$1.00
Enter quantity between 1 and 99
1205
***USE PN02M***
$1.00
Enter quantity between 1 and 99
1206
SPEED CHANGE ROD
Price
N/A
1207
Now: PB18
HEX BOLT 3/8-16 X 1
Price
N/A
1208
Now: PK07M
KEY 6 X 6 X 20
Price
N/A
1209
***USE P97401209***
$36.75
Enter quantity between 1 and 99
1210
V-BELT 14 X 22 X 420MM
$199.25
Enter quantity between 1 and 99
1211
***USE PSS13M***
$1.00
Enter quantity between 1 and 99
1212
***USE PSS20M***
$1.00
Enter quantity between 1 and 99
1213
SET SCREW M10-1.5 X 12
Price
N/A
1214
Now: PB09M
HEX BOLT M8-1.25 X 20
Price
N/A
1215
ROLL PIN 4 X 15
Price
N/A
1216
***USE PRP56M***
$1.00
Enter quantity between 1 and 99
1217
ROLL PIN 4 X 20
Price
N/A
1301
TRANSMISSION BOX
Price
N/A
1302
***USE P97401302***
$74.00
Enter quantity between 1 and 99
1303
***USE P97401303***
$32.75
Enter quantity between 1 and 99
1304
***USE P97401304***
$14.00
Enter quantity between 1 and 99
1305
***USE P97401305***
$30.00
Enter quantity between 1 and 99
1306
***USE P97401306***
$3.00
Enter quantity between 1 and 99
1307
***use P6204zz***
$3.50
Enter quantity between 1 and 99
1308
TRANSMISSION SPROCKET 5/8X20X30MML 9T
Price
N/A
1309
***USE P97401309***
$54.25
Enter quantity between 1 and 99
1310
***USE PK34M***
$1.00
Enter quantity between 1 and 99
1311
Now: PW02
FLAT WASHER 3/8
Price
N/A
1312
***USE PB03M***
$1.00
Enter quantity between 1 and 99
1313
***USE PW07***
$1.25
Enter quantity between 1 and 99
1314
***USE PW01***
$1.00
Enter quantity between 1 and 99
1315
***USE PN09M***
$1.00
Enter quantity between 1 and 99
1316
***USE PR25M***
$2.25
Enter quantity between 1 and 99
1317
***USE PK06M***
$1.00
Enter quantity between 1 and 99
1318
***USE PB77M***
$1.00
Enter quantity between 1 and 99
1319
***USE PN04M***
$1.00
Enter quantity between 1 and 99
1320
***USE PZERK003***
$2.25
Enter quantity between 1 and 99
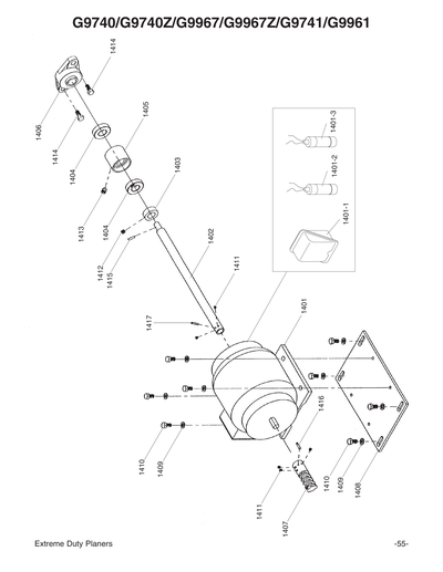
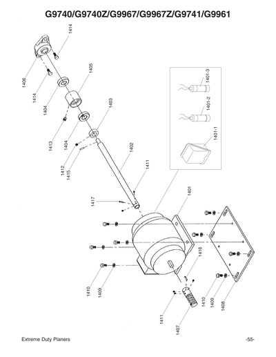
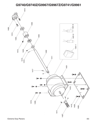
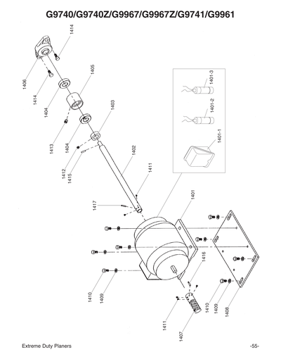
1401
ELEV MOTOR 1/2HP 220V 3-PH
Price
N/A
1401-1
***USE P97401401-1***
$30.25
Enter quantity between 1 and 99
1402
***USE P97401402***
$18.00
Enter quantity between 1 and 99
1403
ELEVATION COLLAR
Price
N/A
1404
BALL BEARING 6204ZZ
Price
N/A
1405
***USE P97401405***
$11.25
Enter quantity between 1 and 99
1406
***USE P97401406***
$20.25
Enter quantity between 1 and 99
1407
***USE P97401407***
$19.50
Enter quantity between 1 and 99
1408
LIFTING MOTOR PLATE
Price
N/A
1409
Now: PLW01
LOCK WASHER 5/16
Price
N/A
1410
***USE PB03M***
$1.00
Enter quantity between 1 and 99
1411
SET SCREW M10-1.5 X 12
Price
N/A
1412
***USE PSS20M***
$1.00
Enter quantity between 1 and 99
1413
SET SCREW M10-1.5 X 12
Price
N/A
1414
Now: PB09M
HEX BOLT M8-1.25 X 20
Price
N/A
1415
ROLL PIN 4 X 15
Price
N/A
1416
***USE PRP56M***
$1.00
Enter quantity between 1 and 99
1417
***USE PRP39M***
$1.25
Enter quantity between 1 and 99
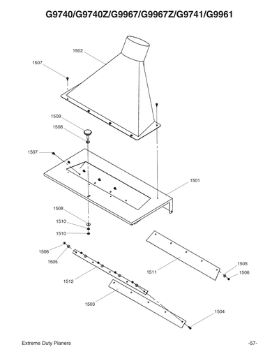
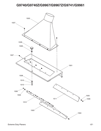
1501
***USE P97411501***
$139.50
Enter quantity between 1 and 99
1502
DUST PORT 24" MODEL
Price
N/A
1503
***USE P97411503***
$3.50
Enter quantity between 1 and 99
1504
Now: PS26M
PHLP HD SCR M6-1 X 20
Price
N/A
1505
***USE PW06***
$1.25
Enter quantity between 1 and 99
1506
Now: PN01M
HEX NUT M6-1
Price
N/A
1507
Now: PS68M
PHLP HD SCR M6-1 X 10
Price
N/A
1508
***USE PW07***
$1.25
Enter quantity between 1 and 99
1509
***USE P97401509***
$14.00
Enter quantity between 1 and 99
1510
***USE PN03M***
$1.00
Enter quantity between 1 and 99
1511
***USE P97411501***
$139.50
Enter quantity between 1 and 99
1512
***USE P97411501***
$139.50
Enter quantity between 1 and 99
1513
***use G3845***
$2.50
Enter quantity between 1 and 99
1514
CAP SCREW M8-1.25 X 65
Price
N/A
1515
***USE P97400811***
$3.00
Enter quantity between 1 and 99
1516
***USE P97400812***
$8.75
Enter quantity between 1 and 99
1517
Now: PN01M
HEX NUT M6-1
Price
N/A
1518
SCALE PLATE SUPPORT
Price
N/A
1519
***USE P97410818***
$8.75
Enter quantity between 1 and 99
1520
***USE P97410819***
$3.00
Enter quantity between 1 and 99
1521
***USE P97400820***
$2.25
Enter quantity between 1 and 99
1522
PULLEY
Price
N/A
1523
SCALE SUPPORT
Price
N/A
1524
Now: PS30
PHLP HD SCR 8-32 X 1
Price
N/A
1525
PULLEY FERRULE S
Price
N/A
1526
***USE PW06***
$1.25
Enter quantity between 1 and 99
1527
***USE P97400826***
$3.00
Enter quantity between 1 and 99
1528
UPPER LIMIT SWITCH PLATE
Price
N/A
1529
***USE P97400337***
$9.75
Enter quantity between 1 and 99
1530
Now: PW04M
FLAT WASHER 10MM
Price
N/A
1531
***USE PS30***
$1.00
Enter quantity between 1 and 99
1532
Now: PW04M
FLAT WASHER 10MM
Price
N/A
1533
***USE PN02M***
$1.00
Enter quantity between 1 and 99
1534
***USE PN02M***
$1.00
Enter quantity between 1 and 99
1535
***USE PB08M***
$1.00
Enter quantity between 1 and 99
1536
***USE P97400827***
$5.75
Enter quantity between 1 and 99
1537
***USE PB20M***
$1.00
Enter quantity between 1 and 99
1538
***USE P97410829***
$23.50
Enter quantity between 1 and 99
1539
***USE P97400830***
$2.25
Enter quantity between 1 and 99
1540
CAP SCREW M8-1.25 X 55
Price
N/A
1541
***USE P97410832***
$360.00
Enter quantity between 1 and 99
1542
***USE P97400833***
$3.00
Enter quantity between 1 and 99
1543
***USE PCAP11M***
$1.00
Enter quantity between 1 and 99
1544
***USE PN06M***
$1.00
Enter quantity between 1 and 99
1545
*DISCD*CONVERSION KIT RHN-18A V1.09.03
Price
N/A
1601
***USE P97401601***
$655.50
Enter quantity between 1 and 99
1602
***USE P97401602***
$14.00
Enter quantity between 1 and 99
1603
***USE P97401603***
$24.50
Enter quantity between 1 and 99
1604
***USE P97401604***
$40.25
Enter quantity between 1 and 99
1605
NUT M35-1.5
Price
N/A
1606
SMALL CUTTERHEAD CASE W/COVER
Price
N/A
1607
***USE P9953109***
$3.75
Enter quantity between 1 and 99
1608
LARGE CUTTERHEAD CASE W/ COVER
Price
N/A
1609
CUTTERHEAD PULLEY V1
Price
N/A
1610
***USE P97401610***
$10.25
Enter quantity between 1 and 99
1611
***use P6207zz***
$7.25
Enter quantity between 1 and 99
1612
CUTTERHEAD STOP PLATE
Price
N/A
1613
***use P6208zz***
$9.50
Enter quantity between 1 and 99
1614
***USE PZERK003***
$2.25
Enter quantity between 1 and 99
1615
Now: PSS18
SET SCREW 5/16-18 X 3/4
Price
N/A
1616
COMPRESSION SPRING 0.6X6.1X23MM V1.09.03
Price
N/A
1617
***USE PLW05M***
$1.00
Enter quantity between 1 and 99
1618
GIB
Price
N/A
1619
***USE P97401619***
$1.00
Enter quantity between 1 and 99
1620
***USE PLW05M***
$1.00
Enter quantity between 1 and 99
1621
***USE PB75M***
$1.00
Enter quantity between 1 and 99
1622
CAP SCREW M10-1.5 X 30
Price
N/A
1623
LOCK WASHER 10MM
Price
N/A
1624
FENDER WASHER 10MM
Price
N/A
1625
GREASE FITTING 1/8" PT 45-DEG
Price
N/A
1626
KEY 10 X 8 X 45
Price
N/A
1701
*DISCD*CUTTERHEAD 24" SPIRAL V1
Item is no longer available
Price
N/A
1701V2
CUTTERHEAD 24" SPIRAL V2.10.13
$2,295.00
Enter quantity between 1 and 99
1702
PISTON RING
Price
N/A
1703
SMALL CUTTERHEAD CASE W/COVER
Price
N/A
1703-1
***USE PSS76M***
$1.00
Enter quantity between 1 and 99
1704
***USE P97401604***
$40.25
Enter quantity between 1 and 99
1705
***USE P97401605***
$3.75
Enter quantity between 1 and 99
1706
SMALL CUTTERHEAD CASE W/COVER
Price
N/A
1707
***USE P9953109***
$3.75
Enter quantity between 1 and 99
1708
***USE P97401604***
$13.25
Enter quantity between 1 and 99
1709
***USE P97401609***
$38.50
Enter quantity between 1 and 99
1709V2
CUTTERHEAD PULLEY V2.10.13
Price
N/A
1710
***USE P97401610***
$10.25
Enter quantity between 1 and 99
1711
***use P6207zz***
$7.25
Enter quantity between 1 and 99
1712
CUTTERHEAD STOP PLATE
Price
N/A
1713
***use P6208zz***
$9.50
Enter quantity between 1 and 99
1714
***USE PZERK003***
$2.25
Enter quantity between 1 and 99
1715
***USE PSS18***
$1.00
Enter quantity between 1 and 99
1716
*DISCD*CUTTER KNOB
Price
N/A
1717
***USE PLW05***
$1.00
Enter quantity between 1 and 99
1718
Now: PB75M
HEX BOLT M12-1.75 X 35
Price
N/A
1719
Now: H7319
Indexable Carbide Inserts - 14 x 14 x 2mm, 10-Pk.
Price
N/A
1720
FLAT HD TORX T20 M6-1 X 15
Price
N/A
1721
CHEATER BAR FOR T-20 BIT
Price
N/A
1722
T-20 TORX BIT
Price
N/A
1723
T-20 TORX DRIVER
Price
N/A
1724
AIR SCREWDRIVER KIT
Price
N/A
1725
AIR SCREWDRIVER KIT
Price
N/A
1726
AIR SCREWDRIVER KIT
Price
N/A
1727
***USE P9740Z1727***
$86.25
Enter quantity between 1 and 99
1801
DO NOT REMOVE COVER LABEL
$2.25
Enter quantity between 1 and 99
1801V2
DO NOT OPEN DOOR LABEL V2.09.24
$2.25
Enter quantity between 1 and 99
1802
DISCONNECT HARDWIRED POWER 1.5W X 2.5H
Price
N/A
1803
READ MANUAL 1.5W X 2.5H
Price
N/A
1804
MACHINE ID LABEL
$16.40
Enter quantity between 1 and 99
1804V2
MACHINE ID LABEL V2.09.24
$16.40
Enter quantity between 1 and 99
1805
SAFETY GLASSES 1.5W X 2.5H
Price
N/A
1805V2
EYE/EAR/LUNG 1.5W X 2.5H
Price
N/A
1806
3-PHASE CONNECTION NOTICE LABEL
$2.25
Enter quantity between 1 and 99
1807
ELECTRICITY LABEL
$1.60
Enter quantity between 1 and 99
1807V2
ELECTRICITY 1.4W X 1.2H
Price
N/A
1808
220V 3-PHASE ELECTRICITY 2.8W X 1.5H
Price
N/A
1809
BEIGE REF G0555
Price
N/A
1809V2
GLOSSY BLACK
Price
N/A
1810
PREWIRED 220V 3W X 2H
Price
N/A
1811
MACHINE NUMBER LABEL
$16.40
Enter quantity between 1 and 99
1811V2
MACHINE NUMBER LABEL V2.09.24
$16.40
Enter quantity between 1 and 99
1812
N/S GRIZZLY GREEN G1023S
Price
N/A
1813
Now: G8589
Nameplate - Large
Price
N/A
1814
Now: H7942
Extreme Series Nameplate
Price
N/A
2001
***USE P97400201***
$545.75
Enter quantity between 1 and 99
2002
***USE PB76M***
$3.25
Enter quantity between 1 and 99
2003
***USE PN09M***
$1.00
Enter quantity between 1 and 99
2004
***USE P97400321***
$3.50
Enter quantity between 1 and 99
2005
***USE PN02M***
$1.00
Enter quantity between 1 and 99
2006
***USE PB31M***
$1.00
Enter quantity between 1 and 99
2007
***USE PLW05M***
$1.00
Enter quantity between 1 and 99
2008
Now: PB33M
HEX BOLT M12-1.75 X 50
Price
N/A
2009
***USE P97400209***
$4.50
Enter quantity between 1 and 99
2010
***USE PCAP31M***
$1.00
Enter quantity between 1 and 99
2011
***USE P97400211***
$3.00
Enter quantity between 1 and 99
2012
***USE PS68M***
$1.75
Enter quantity between 1 and 99
2013
***USE P97400213***
$1.00
Enter quantity between 1 and 99
2014
***USE PN03M***
$1.00
Enter quantity between 1 and 99
2015
***USE PW06M***
$1.00
Enter quantity between 1 and 99
2016
***USE PB27M***
$1.00
Enter quantity between 1 and 99
2017
***USE P97400217***
$74.00
Enter quantity between 1 and 99
2018
***USE PSS02M***
$1.00
Enter quantity between 1 and 99
2019
ROLL PIN 3 X 18
Price
N/A
2020
***USE P97400220***
$3.50
Enter quantity between 1 and 99
2021
HELICAL PULLEY SPRING 11 X 46MM
Price
N/A
2022
BRAKE ROD
Price
N/A
2023
***USE P97400223***
$18.75
Enter quantity between 1 and 99
3001
***USE P97400301***
$1,022.00
Enter quantity between 1 and 99
3002
HELICAL SPRING 19 X 110MM
Price
N/A
3003
***USE PN04M***
$1.00
Enter quantity between 1 and 99
3004
***USE PN09M***
$1.00
Enter quantity between 1 and 99
3005
***USE PN09M***
$1.00
Enter quantity between 1 and 99
3006
***USE PN04M***
$1.00
Enter quantity between 1 and 99
3007
***USE P97400304***
$8.75
Enter quantity between 1 and 99
3008
***USE P97400305***
$17.00
Enter quantity between 1 and 99
3009
***use P6201zz***
$6.00
Enter quantity between 1 and 99
3010
***USE PR29M***
$1.00
Enter quantity between 1 and 99
3011
Now: PW01M
FLAT WASHER 8MM
Price
N/A
3012
CAP SCREW M8-1.25 X 10
Price
N/A
3013
***USE P97400310***
$13.25
Enter quantity between 1 and 99
3014
SPROCKET
Price
N/A
3015
***use P6203zz***
$2.25
Enter quantity between 1 and 99
3016
***USE PR18M***
$1.00
Enter quantity between 1 and 99
3017
***USE PR23M***
$1.00
Enter quantity between 1 and 99
3018
SPROCKET PLATE
Price
N/A
3019
***USE PCAP73M***
$1.00
Enter quantity between 1 and 99
3020
***USE P97400317***
$3.25
Enter quantity between 1 and 99
3021
***USE PLW07***
$1.00
Enter quantity between 1 and 99
3022
***USE P97400317***
$3.25
Enter quantity between 1 and 99
3023
***USE PLW07***
$1.00
Enter quantity between 1 and 99
3024
***USE PB33M***
$1.00
Enter quantity between 1 and 99
3025
Now: PB76M
HEX BOLT M12-1.75 X 110
Price
N/A
3026
***USE P97400321***
$4.50
Enter quantity between 1 and 99
3027
***USE PN02M***
$1.00
Enter quantity between 1 and 99
3028
***USE PSS73M***
$1.00
Enter quantity between 1 and 99
3029
*DISCD*HANDWHEEL V1.09.03
Price
N/A
3030
CATCH PLATE
Price
N/A
3031
***USE PS68M***
$1.75
Enter quantity between 1 and 99
3032
***USE P97400328***
$1.00
Enter quantity between 1 and 99
3033
Now: PN02M
HEX NUT M10-1.5
Price
N/A
3034
***USE P97400330***
$4.50
Enter quantity between 1 and 99
3035
CAP SCREW M8-1.25 X 25
Price
N/A
3036
***USE P97400332***
$78.50
Enter quantity between 1 and 99
3037
***USE P97400333***
$29.00
Enter quantity between 1 and 99
3038
***USE P97400334***
$1.75
Enter quantity between 1 and 99
4001
***USE P97410501***
$170.00
Enter quantity between 1 and 99
4002
***USE P97400502***
$37.50
Enter quantity between 1 and 99
4003
FIXED BEARING NUT M25-16
Price
N/A
4004
CASE COVER LEFT
Price
N/A
4005
***use P6205zz***
$5.75
Enter quantity between 1 and 99
4006
BEARING BLOCK LT RIGHT
Price
N/A
4007
***USE P97400507***
$8.75
Enter quantity between 1 and 99
4008
***USE P97400508***
$3.00
Enter quantity between 1 and 99
4009
FEED ROLLER SPROCKET
Price
N/A
401
***USE P99611701***
$1,759.50
Enter quantity between 1 and 99
4010
***USE PK27M***
$1.00
Enter quantity between 1 and 99
4011
***USE PSS15***
$1.00
Enter quantity between 1 and 99
500
*DISCD*CONVERSION KIT RHN-18A V1.09.03
Price
N/A
5001
*DISCD*CUTTERHEAD 24" SPIRAL V1
Price
N/A
5002
***USE P97401602***
$14.00
Enter quantity between 1 and 99
5003
***USE P97401603***
$24.50
Enter quantity between 1 and 99
5004
LARGE CUTTERHEAD CASE W/ COVER
Price
N/A
5005
NUT M35-1.5
Price
N/A
5006
SMALL CUTTERHEAD CASE W/COVER
Price
N/A
5007
SPANNER NUT M40-1.5P
Price
N/A
5008
LARGE CUTTERHEAD CASE W/ COVER
Price
N/A
5009
CUTTERHEAD PULLEY V1
Price
N/A
5010
***USE P97401610***
$10.25
Enter quantity between 1 and 99
5011
***use P6207-open***
$7.25
Enter quantity between 1 and 99
5012
***USE P97401612***
$23.50
Enter quantity between 1 and 99
5013
***use P6208zz***
$9.50
Enter quantity between 1 and 99
5014
***USE PZERK003***
$2.25
Enter quantity between 1 and 99
5015
Now: PSS18
SET SCREW 5/16-18 X 3/4
Price
N/A
5016
*DISCD*CUTTER KNOB
Price
N/A
5017
LOCK WASHER 12MM
Price
N/A
5018
Now: PB75M
HEX BOLT M12-1.75 X 35
Price
N/A
6001
INFEED ROLLER 42 X 833MM
Price
N/A
6002
***USE P97400602***
$3.00
Enter quantity between 1 and 99
6003
FOLLER CASE LT RIGHT
Price
N/A
6004
BALL BEARING 6205ZZ
Price
N/A
6005
CASE COVER RIGHT
Price
N/A
6006
SPROCKET WASHER 25.5X11.5MM
Price
N/A
6007
***USE P97400607***
$23.50
Enter quantity between 1 and 99
6008
***USE P97400608***
$8.75
Enter quantity between 1 and 99
6009
ROLLER CASE LEFT
Price
N/A
6010
CASE COVER LEFT
Price
N/A
6011
Now: PSS15
SET SCREW 3/8-16 X 3/8
Price
N/A
6012
***USE PK27M***
$1.00
Enter quantity between 1 and 99
6013
***USE P97400613***
$1.00
Enter quantity between 1 and 99
7001
PAWL
Price
N/A
7002
***USE P97400902***
$18.75
Enter quantity between 1 and 99
7003
STOP PAWL FIXED RING M8X6MM
Price
N/A
7004
SET SCREW M8-1.25 X 6
Price
N/A
7005
STOP PAWL
Price
N/A
8001
***USE P97400701***
$67.25
Enter quantity between 1 and 99
8002
***USE P97400702***
$67.25
Enter quantity between 1 and 99
8003
***USE P97400703A***
$87.00
Enter quantity between 1 and 99
8004
LIFT SCREW LONG 1-1/4 - 4 X 400
Price
N/A
8005
WORM GEAR
Price
N/A
8006
FIXED STOP COLLAR
Price
N/A
8007
LIFTING GEAR ASSY LEFT
Price
N/A
8008
***USE P97400704-1***
$61.75
Enter quantity between 1 and 99
8009
***USE P2907***
$55.75
Enter quantity between 1 and 99
8010
***USE PSS05***
$1.00
Enter quantity between 1 and 99
8011
***USE PB07M***
$1.00
Enter quantity between 1 and 99
8012
Now: PLW01
LOCK WASHER 5/16
Price
N/A
8013
***USE P97400713***
$14.00
Enter quantity between 1 and 99
8014
FENDER WASHER 8MM
Price
N/A
8015
***USE PLW04M***
$1.00
Enter quantity between 1 and 99
8016
***USE PB26M***
$1.00
Enter quantity between 1 and 99
8017
***USE PLW06M***
$1.00
Enter quantity between 1 and 99
8018
Now: PB74M
HEX BOLT M10-1.5 X 20
Price
N/A
8019
BALL BEARING 6205ZZ
Price
N/A
8020
Now: PB01M
HEX BOLT M10-1.5 X 30
Price
N/A
8021
***USE PB01M***
$1.00
Enter quantity between 1 and 99
8022
***USE PK28M***
$3.00
Enter quantity between 1 and 99
8023
WORM WHEEL
Price
N/A
8024
***USE PSS06M***
$1.00
Enter quantity between 1 and 99
8025
***USE PCAP66M***
$1.00
Enter quantity between 1 and 99
9001
TABLE 24" MODEL
Price
N/A
9002
***USE P97410402***
$151.00
Enter quantity between 1 and 99
9003
ECCENTRIC SHAFT 24" MODEL
Price
N/A
9004
BALL BEARING 6006ZZ
Price
N/A
9005
ECCENTRIC PULL ROD
Price
N/A
9006
***USE P97400406***
$3.50
Enter quantity between 1 and 99
9007
***USE P97400407***
$3.50
Enter quantity between 1 and 99
9008
***USE P97400408***
$25.25
Enter quantity between 1 and 99
9009
***USE P97400409***
$25.25
Enter quantity between 1 and 99
9010
***USE P97400410***
$3.50
Enter quantity between 1 and 99
9011
ACCOLADE SEAT
Price
N/A
9012
ADAMANT SEAT
Price
N/A
9013
***USE P97400413***
$18.75
Enter quantity between 1 and 99
9014
***USE P97400414***
$19.75
Enter quantity between 1 and 99
9015
ROLLER ECCENTRIC L
Price
N/A
9016
***USE P97400416***
$5.50
Enter quantity between 1 and 99
9017
GIB 12 X 32 X 185MM
Price
N/A
9018
***USE P97400418***
$1.00
Enter quantity between 1 and 99
9019
***USE PB32M***
$1.00
Enter quantity between 1 and 99
9020
***USE PN02M***
$1.00
Enter quantity between 1 and 99
9021
***USE PN09M***
$1.00
Enter quantity between 1 and 99
9022
***USE PR51M***
$1.00
Enter quantity between 1 and 99
9023
***USE P97410423***
$90.00
Enter quantity between 1 and 99
9024
Now: PR15M
EXT RETAINING RING 30MM
Price
N/A
9025
CAP SCREW 5/16-18 X 1/4
Price
N/A
9026
Now: PSS08
SET SCREW 5/16-18 X 1/2
Price
N/A
9027
***USE PSS17M***
$0.75
Enter quantity between 1 and 99
9028
Now: PK27M
KEY 7 X 7 X 25
Price
N/A
9029
***USE PB31M***
$1.00
Enter quantity between 1 and 99
9030
***USE PCAP52M***
$1.00
Enter quantity between 1 and 99
9031
***USE PCAP11M***
$1.00
Enter quantity between 1 and 99
9032
***USE PW02***
$1.00
Enter quantity between 1 and 99
9033
***USE P97400433***
$2.25
Enter quantity between 1 and 99
9034
ADJUSTMENT HANDLE STUD
Price
N/A
9035
ROUND KNOB FEMALE 3/8 X 34
Price
N/A
9036
***USE P97400436***
$12.25
Enter quantity between 1 and 99
9037
CAP SCREW M6-1 X 12
Price
N/A
9038
PROTECTION PLATE 1/2 X 1/2 X 375MM LEFT
Price
N/A
9039
***USE PB02M***
$1.00
Enter quantity between 1 and 99
9040
***USE P97400440***
$12.25
Enter quantity between 1 and 99
9041
***USE P97400441***
$23.50
Enter quantity between 1 and 99
9042
***USE P97400442***
$1.00
Enter quantity between 1 and 99
9043
***USE P97400443***
$1.00
Enter quantity between 1 and 99
9044
GRADUATED SCALE
Price
N/A
9045
***USE PCAP61M***
$1.00
Enter quantity between 1 and 99
9046
CHAIN 1/2 X 425 X 120MM
Price
N/A
9047
CHAIN 1/2 MASTER LINK
Price
N/A
MANUAL
MANUAL FOR G9740/Z/G9741/G9961/G9967/Z 1
Price
N/A