Parts for G9968 7-1/2 HP Shaper

Parts Diagrams for G9968 - 7-1/2 HP Shaper

IMPORTANT

Parts may have multiple versions that have changed over time. This will be indicated by V1, V2, V3, etc. in the parts description, followed by the version month and year that it was first used. Example: V2.01.17 indicates version 2 of a part went into use in January 2017. Please reference the manufacture date on the ID Label for your machine to ensure you are selecting the correct part when multiple versions are indicated.

If you cannot locate your part below, please contact our tech support department at techsupport@grizzly.com or 570-546-9663.

Please note: All parts ship out of our Springfield, Missouri facility.

Parts List for Parts for G9968 7-1/2 HP Shaper

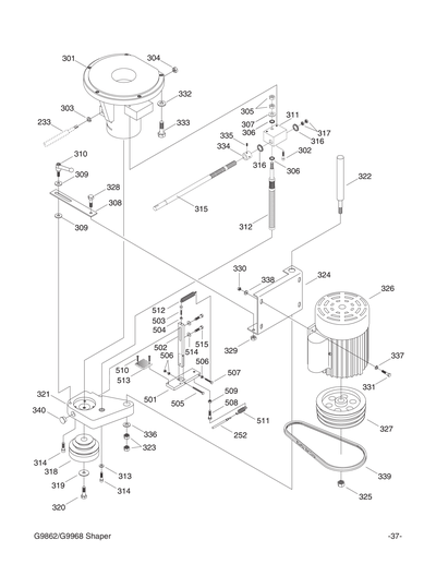
101
TABLE
Item is no longer available
Price
N/A
102
*DISCD*TABLE INSERT LARGE
Item is no longer available
Price
N/A
103
*DISCD*TABLE INSERT SMALL
Item is no longer available
Price
N/A
104
SPRING PLATE
$18.15
Enter quantity between 1 and 99
105
BRACKET SUPPORT
$14.50
Enter quantity between 1 and 99
106
Now: PB38M
HEX BOLT M12-1.75 X 60
Price
N/A
107
Now: PW06M
FLAT WASHER 12MM
Price
N/A
108
EXTENSION TABLE
$453.70
Enter quantity between 1 and 99
109
IRON FRAME
$241.50
Enter quantity between 1 and 99
110
TABLE MOTION BAR
$105.55
Enter quantity between 1 and 99
111
FLAT WASHER D13
$2.60
Enter quantity between 1 and 99
112
Now: PB33M
HEX BOLT M12-1.75 X 50
Price
N/A
113
Now: PW01
FLAT WASHER 1/2
Price
N/A
114
LOCK WASHER 12MM
Price
N/A
115
Now: PW06M
FLAT WASHER 12MM
Price
N/A
116
CAP SCREW M12-1.75 X 25
Price
N/A
117
TABLE EXTENSION LOCK KNOB
$3.45
Enter quantity between 1 and 99
118
MITER BAR
Price
N/A
119
Now: PW07
FLAT WASHER 5/16
Price
N/A
120
MITER BODY
Price
N/A
121
LOCK KNOB 5/16-18 X 7/8
Price
N/A
201
BASE
Item is no longer available
Price
N/A
201-2
S CAPACITOR 800M 250V 2 X 4
Price
N/A
202
SWITCH PLATE
Item is no longer available
Price
N/A
203
SWITCH PLATE
Item is no longer available
Price
N/A
204
FLANGE
$10.10
Enter quantity between 1 and 99
205
COVER
Item is no longer available
Price
N/A
206
COVER
Item is no longer available
Price
N/A
207
Now: PW01
FLAT WASHER 1/2
Price
N/A
208
Now: PB47M
HEX BOLT M6-1 X 40
Price
N/A
209
FOOT PEDAL
Item is no longer available
Price
N/A
210
HANDWHEEL
$63.15
Enter quantity between 1 and 99
211
FWD/REV SWITCH
$57.70
Enter quantity between 1 and 99
212
POWER INDICATOR LIGHT 22MM RED
Price
N/A
212V2
SWITCH BULB FOR 220V
$4.05
Enter quantity between 1 and 99
213
BUTTON SWITCH GREEN V1.03.05
$16.65
Enter quantity between 1 and 99
213V2
SWITCH BULB FOR 440V
Item is no longer available
Price
N/A
214
E-STOP BUTTON AUSPICIOUS ES16G
$19.95
Enter quantity between 1 and 99
215
LOCK KNOB 1/2"
Item is no longer available
Price
N/A
216
LOCK
$13.80
Enter quantity between 1 and 99
217
Now: PN09M
HEX NUT M12-1.75
Price
N/A
218
ROD 1/2-12 X 108.5
Item is no longer available
Price
N/A
219
Now: PLW07
LOCK WASHER 1/2
Price
N/A
220
Now: PN06
HEX NUT 1/2-12
Price
N/A
221
FLAT IRON PLATE
Item is no longer available
Price
N/A
222
Now: PB21
HEX BOLT 3/8-16 X 3/4
Price
N/A
223
Now: PN08
HEX NUT 3/8-16
Price
N/A
224
*DISCD*SPECIAL HEX BOLT M6-1 X 10
Item is no longer available
Price
N/A
225
MICRO SWITCH PLATE
$3.65
Enter quantity between 1 and 99
226
MICRO SWITCH W/COVER
$16.95
Enter quantity between 1 and 99
227
Now: PN01M
HEX NUT M6-1
Price
N/A
228
Now: PLW02
LOCK WASHER 1/4
Price
N/A
229
CAP SCREW M6-1 X 20
Price
N/A
230
CAP SCREW M8-1.25 X 10
Price
N/A
231
Now: PB07M
HEX BOLT M8-1.25 X 25
Price
N/A
232
Now: PN03M
HEX NUT M8-1.25
Price
N/A
233
LOCK KNOB
$38.85
Enter quantity between 1 and 99
234
Now: PS68M
PHLP HD SCR M6-1 X 10
Price
N/A
235
WARNING ID LABEL
Item is no longer available
Price
N/A
236
UNPLUG LABEL
Item is no longer available
Price
N/A
237
SAFETY GLASSES LABEL
Item is no longer available
Price
N/A
238
READ MANUAL LABEL
Item is no longer available
Price
N/A
239
Now: PB09M
HEX BOLT M8-1.25 X 20
Price
N/A
240
BALL TYPE KNOB 50 X 3/8"
Item is no longer available
Price
N/A
241
Now: PN08
HEX NUT 3/8-16
Price
N/A
242
MAG SWITCH TECO 220V V2.03.10
Price
N/A
242-1
*DISCD*OL RELAY TECO RHN-18 16/23A V1
Item is no longer available
Price
N/A
242-2
*DISCD*CONTACTOR TAIAN CN-18 440V V1
Item is no longer available
Price
N/A
242A
MAG SWITCH TECO CU-18 440V
Item is no longer available
Price
N/A
242A-1
OL RELAY TECO RHN-10 8.5-12.5
Item is no longer available
Price
N/A
242A-2
CONTACTOR TECO CU-18 440V
Item is no longer available
Price
N/A
242V2
MAG SWITCH TECO 220V V2.03.10
$83.35
Enter quantity between 1 and 99
242V2-1
CONTACTOR TECO CU-18 220V V2.03.10
Item is no longer available
Price
N/A
242V2-2
OL RELAY TECO RHU-10A1 21-25A V2.03.10
Item is no longer available
Price
N/A
243
MOTOR SWITCH CORD
Item is no longer available
Price
N/A
244
SWITCH/POWER CORD
Item is no longer available
Price
N/A
245
FRONT COVER
Item is no longer available
Price
N/A
246
HINGE SHAFT
Item is no longer available
Price
N/A
247
GRIZZLY LOGO PLATE
Item is no longer available
Price
N/A
248
INDUST SHAPER LABEL
Item is no longer available
Price
N/A
249
DON'T OPEN LABEL
Item is no longer available
Price
N/A
250
ELECTRIC BOX BASE
Item is no longer available
Price
N/A
251
STRAIN RELIEF
Item is no longer available
Price
N/A
252
BRAKE WIRE
$37.00
Enter quantity between 1 and 99
253
*DISCD*SPECIAL HEX BOLT M6-1 X 10
$4.05
Enter quantity between 1 and 99
254
Now: PN08
HEX NUT 3/8-16
Price
N/A
255
*DISCD*HEX BOLT
Item is no longer available
Price
N/A
256
*DISCD*ROUND HD SCREW
Item is no longer available
Price
N/A
257
MAG SWITCH SCREW
Item is no longer available
Price
N/A
258
*DISCD*CONVERSION KIT 440V
Price
N/A
259
OFF BUTTON
$11.85
Enter quantity between 1 and 99
301
HOUSING
Item is no longer available
Price
N/A
302
CAP SCREW M8-1.25 X 50
Price
N/A
303
Now: PLW07
LOCK WASHER 1/2
Price
N/A
304
Now: PN09M
HEX NUT M12-1.75
Price
N/A
305
Now: PN06
HEX NUT 1/2-12
Price
N/A
306
Now: P2902
THRUST BEARING 2902
Price
N/A
307
Now: PW14
FLAT WASHER 5/8
Price
N/A
308
MOTOR FASTENER
$10.95
Enter quantity between 1 and 99
309
Now: PW06M
FLAT WASHER 12MM
Price
N/A
310
KNOB 1/2" X 75MM
Item is no longer available
Price
N/A
311
ELEVATION WORM BOX
Item is no longer available
Price
N/A
312
ELEVATION LEADSCREW M24-4 X 300
Item is no longer available
Price
N/A
313
Now: PW02
FLAT WASHER 3/8
Price
N/A
314
CAP SCREW M10-1.5 X 40
Price
N/A
315
BAR
Item is no longer available
Price
N/A
316
THRUST BEARING 51104
Price
N/A
317
ELEVATION WORM BOX HEX NUT M20-1.5
Item is no longer available
Price
N/A
318
SPINDLE PULLEY
$163.05
Enter quantity between 1 and 99
319
FENDER WASHER 12MM
$1.49
Enter quantity between 1 and 99
320
Now: PB27M
HEX BOLT M12-1.75 X 30
Price
N/A
321
MOTOR MOUNT
$74.50
Enter quantity between 1 and 99
322
MOTOR FRAME SHAFT
$17.55
Enter quantity between 1 and 99
323
Now: PN04
HEX NUT 5/8-11
Price
N/A
324
*DISCD*MOTOR MOUNT
$74.50
Enter quantity between 1 and 99
325
Now: PN17
HEX NUT 3/4-10
Price
N/A
326
MOTOR 7-1/2HP 220V/440V 3-PH
$546.75
Enter quantity between 1 and 99
326-1
*DISCD*CAPACITOR 800MFD 250VAC
Item is no longer available
Price
N/A
327
MOTOR PULLEY
$100.05
Enter quantity between 1 and 99
328
Now: PB47M
HEX BOLT M6-1 X 40
Price
N/A
329
Now: PN09M
HEX NUT M12-1.75
Price
N/A
330
Now: PN02M
HEX NUT M10-1.5
Price
N/A
331
Now: PB32M
HEX BOLT M10-1.5 X 25
Price
N/A
332
Now: PW08M
FLAT WASHER 16MM
Price
N/A
333
Now: PB48M
HEX BOLT M10-1.25 X 20
Price
N/A
334
SLEEVE
Item is no longer available
Price
N/A
335
Now: PS36
PHLP HD SCR 10-24 X 2-1/2
Price
N/A
336
Now: PLW02
LOCK WASHER 1/4
Price
N/A
337
Now: PLW04
LOCK WASHER 3/8
Price
N/A
338
Now: PW02
FLAT WASHER 3/8
Price
N/A
339
V-BELT 20 X 10 X 1085MM
$79.70
Enter quantity between 1 and 99
401
*DISCD*MAIN SPINDLE D50 X 693
Item is no longer available
Price
N/A
402
ANGULAR CONTACT BEARING 7008C
Price
N/A
403
SHAFT HOUSING
$518.05
Enter quantity between 1 and 99
404
LEFT SPINDLE COVER
$15.70
Enter quantity between 1 and 99
405
SPINDLE UP COVER
$23.90
Enter quantity between 1 and 99
406
SPINDLE DOWN COVER
$13.60
Enter quantity between 1 and 99
407
SPINDLE NUT
$27.20
Enter quantity between 1 and 99
408
CAP SCREW M14-2 X 50
Price
N/A
409
RUB COLLAR 1-1/4 X 1-1/4
$11.50
Enter quantity between 1 and 99
410
RUB COLLAR 1-1/4 X 20MM
$8.50
Enter quantity between 1 and 99
411
RUB COLLAR 1-1/4 X 15MM
$6.40
Enter quantity between 1 and 99
412
RUB COLLAR 1-1/4 X 10MM
$7.90
Enter quantity between 1 and 99
413
RUB COLLAR 1-1/4 X 5MM
$4.30
Enter quantity between 1 and 99
414
BALL BEARING 6008-OPEN
Price
N/A
501
BRAKE PLATE
Item is no longer available
Price
N/A
502
BRAKE PLATE SHAFT
$24.75
Enter quantity between 1 and 99
503
Now: PB10M
HEX BOLT M6-1 X 25
Price
N/A
504
Now: PN01M
HEX NUT M6-1
Price
N/A
505
Now: PB68
HEX BOLT 1/4-20 X 2-1/4
Price
N/A
506
Now: PN05
HEX NUT 1/4-20
Price
N/A
507
Now: PB26
HEX BOLT 1/4-20 X 1-1/2
Price
N/A
508
Now: PB16
HEX BOLT 3/8-16 X 1-1/2
Price
N/A
509
Now: PN08
HEX NUT 3/8-16
Price
N/A
510
Now: PS22
PHLP HD SCR 10-24 X 5/8
Price
N/A
511
SPRING D22 X D92 X L17MM
$10.90
Enter quantity between 1 and 99
512
*DISCD*SPRING D2 X D16 X L11MM
Item is no longer available
Price
N/A
513
BRAKE PAD
$10.90
Enter quantity between 1 and 99
514
Now: PW02
FLAT WASHER 3/8
Price
N/A
515
Now: PB01M
HEX BOLT M10-1.5 X 30
Price
N/A
601
FENCE HOUSING
Item is no longer available
Price
N/A
602
FENCE MOUNT SCREW M12-1.75 X 76
Item is no longer available
Price
N/A
603
FENCE MOUNT
$196.40
Enter quantity between 1 and 99
604
ADJUSTMENT KNOB W/O THREADS
$12.95
Enter quantity between 1 and 99
605
PLATE 25 X 25 X 60
$11.50
Enter quantity between 1 and 99
606
FENCE PLATE
$289.80
Enter quantity between 1 and 99
607
FENCE FRAME GUARD
$107.80
Enter quantity between 1 and 99
608
SAFETY COVER
$72.45
Enter quantity between 1 and 99
609
RETAINER
$10.90
Enter quantity between 1 and 99
610
HOLD DOWN 1.5 X 35 X 260
$16.35
Enter quantity between 1 and 99
611
HOLD DOWN BAR D5/8 X 300
$18.15
Enter quantity between 1 and 99
612
CAP SCREW 3/8-16 X 3/4
Price
N/A
613
Now: PW02
FLAT WASHER 3/8
Price
N/A
614
Now: PN02
HEX NUT 5/16-18
Price
N/A
615
LEADSCREW M10-1.5 X 80
Item is no longer available
Price
N/A
616
KNOB M10 X 80
$54.35
Enter quantity between 1 and 99
617
LOCK KNOB M10-1.5 X 25
$7.25
Enter quantity between 1 and 99
618
Now: PB32M
HEX BOLT M10-1.5 X 25
Price
N/A
619
Now: PW01
FLAT WASHER 1/2
Price
N/A
620
KNOB 1/2-12
$43.50
Enter quantity between 1 and 99
621
LOCK HANDLE 3/8-16 X 40
$18.15
Enter quantity between 1 and 99
622
CAP SCREW M8-1.25 X 10
Price
N/A
623
LOCK HANDLE M16-2 X 30
$72.45
Enter quantity between 1 and 99
624
Now: PW14
FLAT WASHER 5/8
Price
N/A
625
Now: PW01
FLAT WASHER 1/2
Price
N/A
626
*DISCD*KNOB M10-1.5 X 17 V1.02.02
Item is no longer available
Price
N/A
626V2
Now: PB70M
HEX BOLT M10-1.5 X 16
Price
N/A
627
GUARD LABEL
$2.00
Enter quantity between 1 and 99
628
LOCK KNOB M10-1.5 X 30
Item is no longer available
Price
N/A
700
*DISCD*CONVERSION KIT TAIAN 440V V1
Item is no longer available
Price
N/A
700V2
CONVERSION KIT TECO 440V V2.04.07
$141.30
Enter quantity between 1 and 99
MANUAL
MANUAL FOR G9968 03/02
$14.65
Enter quantity between 1 and 99