Parts for T10813 - Heavy Duty 1" Drive Air Impact Wrench

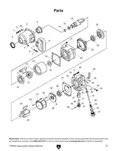
Part Diagram for T10813
Part Diagram for T10813
Part Diagram for T10813
Part Diagram for T10813

IMPORTANT: Parts may have multiple versions that have changed over time. This will be indicated by V1, V2, V3, etc. in the parts description, followed by the version month and year that it was first used. Example: V2.01.17 indicates version 2 of a part went into use in January 2017. Please reference the manufacture date on the ID Label for your machine to ensure you are selecting the correct part when multiple versions are indicated.

If you cannot locate your part below, please contact our tech support department at techsupport@grizzly.com or 570-546-9663.

Please note: All parts ship out of our Springfield, Missouri facility.

Ref #
Part #
Description
1
CAP SCREW M8-1.25 X 40
Price
N/A
2
LOCK WASHER 8MM
Price
N/A
3
Price
$1.90
4
SET SCREW M8-1.25 X 6
Price
N/A
5
Price
$38.50
6
LOCK WASHER 6MM
Price
N/A
7
CAP SCREW M6-1 X 25
Price
N/A
8
Price
$19.85
9
Price
$12.25
10
Price
$10.85
11
Price
$1.90
12
INT RETAINING RING 22MM
Price
N/A
13
ANVIL ASSEMBLY 1" DRIVE
Price
$94.20
14
Price
$1.90
15
Price
$17.25
16
Price
$59.70
17
Price
$20.90
18
Price
$1.90
19
CYLINDER GASKET (FRONT)
Price
$1.90
20
Price
$52.15
21
LOCK NUT M8-1.25
Price
N/A
22
BALL BEARING 6205ZZ
Price
N/A
23
Price
$28.45
24
Price
$51.75
25
Price
$1.90
26
ROLL PIN 5 X 14
Price
N/A
27
Price
$46.75
28
ROLL PIN 4 X 8
Price
N/A
29
Price
$28.45
30
BALL BEARING 205-OPEN
Price
N/A
31
Price
$2.20
32
Price
$51.10
33
CAP SCREW M8-1.25 X 35
Price
N/A
34
ROLL PIN 4 X 24
Price
N/A
35
ROLL PIN 4 X 22
Price
N/A
36
Price
$2.60
37
Price
$9.40
38
Price
$5.45
39
STEEL BALL 4MM
Price
N/A
40
COMPRESSION SPRING 3.8 X 9.5MM
Price
$1.90
41
ROLL PIN 3 X 8
Price
N/A
42
ROLL PIN 4 X 28
Price
N/A
43
Price
$1.90
44
Price
$1.90
45
Price
$1.90
46
Price
$1.90
47
Price
$1.90
48
*DISCD* STEEL BALL 13MM
Price
N/A
49
COMPRESSION SPRING 19.7 X 11.7 X 30MM
Price
$1.90
50
Price
$1.90
51
AIR INLET CONNECTOR 14NPT
Price
$5.75
52
HOUSING CUSHION (RUBBER)
Price
$3.25
53
FLAT WASHER 8MM
Price
N/A
MAN
MANUAL T10813 MFD-12/13+ V1.12.13
Price
$14.65
P
Price
$3.45
PSTB016M
*DISCD* STEEL BALL 13MM
Item is no longer available
Price
N/A