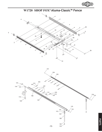
Parts for W1720 Aluma-Classic Fence w/ Long Rails

Parts Diagrams for W1720 - Aluma-Classic Fence w/ Long Rails

IMPORTANT

Parts may have multiple versions that have changed over time. This will be indicated by V1, V2, V3, etc. in the parts description, followed by the version month and year that it was first used. Example: V2.01.17 indicates version 2 of a part went into use in January 2017. Please reference the manufacture date on the ID Label for your machine to ensure you are selecting the correct part when multiple versions are indicated.

If you cannot locate your part below, please contact our tech support department at techsupport@grizzly.com or 570-546-9663.

Please note: All parts ship out of our Springfield, Missouri facility.

Parts List for Parts for W1720 Aluma-Classic Fence w/ Long Rails

1
FENCE TUBE
Price
N/A
3
FENCE SIDEBOARD
Price
N/A
4
FENCE PLUG
Price
N/A
5
FENCE SIDEBOARD CAP
Price
N/A
6
ADJUSTMENT BOLT 5/16-18
Price
N/A
7
CLAMP
Price
N/A
8
HANDLE
Price
N/A
9
*** USE P0651326***
Price
N/A
12
CLEAR INDICATOR
Price
N/A
14
SLIDER 19 X 50 X 2T
Price
N/A
15
Now: PSS05
SET SCREW 5/16-18 X 1/4
Price
N/A
16
Now: PW03
FLAT WASHER #10
Price
N/A
17
Now: PS22
PHLP HD SCR 10-24 X 5/8
Price
N/A
18
Now: PB25
HEX BOLT 3/8-16 X 1-3/4
Price
N/A
19
Now: PB10
HEX BOLT 1/4-20 X 2
Price
N/A
20
Now: PLN02
LOCK NUT 1/4-20
Price
N/A
21
Now: PLN01
LOCK NUT 3/8-16
Price
N/A
22
Now: PS24
PHLP HD SCR 8-32 X 3/8
Price
N/A
24
ALUMA CLASSIC TM LABEL
Price
N/A
25
WARNING LABEL SHORT
Price
N/A
26
SLIDER 19 X 50 X 1.2T
Price
N/A
37
Now: PSS05
SET SCREW 5/16-18 X 1/4
Price
N/A
39
CLAMP PLUG
Price
N/A
102
ALUMINUM FRONT RAIL
Price
N/A
103
ALUMINUM REAR RAIL
Price
N/A
104
*DISCD*BRACE
Price
N/A
111
Now: PW06
FLAT WASHER 1/4
Price
N/A
113
Now: PW07
FLAT WASHER 5/16
Price
N/A
114
LEFT FRONT RAIL CAP
Price
N/A
115
RIGHT FRONT RAIL CAP
Price
N/A
118
RUBBER FOOT BOLT 3/8-16
Price
N/A
120
Now: PB11
HEX BOLT 5/16-18 X 1-1/2
Price
N/A
121
Now: PN05
HEX NUT 1/4-20
Price
N/A
122
Now: PN08
HEX NUT 3/8-16
Price
N/A
123
Now: PN02
HEX NUT 5/16-18
Price
N/A
124
Now: PN02
HEX NUT 5/16-18
Price
N/A
126
LONG LEG
Price
N/A
127
LENGTH SCALE 50"
Price
N/A
128
Now: PLN02
LOCK NUT 1/4-20
Price
N/A
129
Now: PLN01
LOCK NUT 3/8-16
Price
N/A
131
Now: PS24
PHLP HD SCR 8-32 X 3/8
Price
N/A
134
REAR RAIL CAP
Price
N/A
140
SQUARE BOLT M6-1 X 32 V2.02.17
Price
N/A
141
SQUARE BOLT 5/16-18 X 1"
Price
N/A
201
METAL WING
Price
N/A
202
Now: PN02
HEX NUT 5/16-18
Price
N/A
203
Now: PW07
FLAT WASHER 5/16
Price
N/A
204
SQUARE BOLT 5/16-18 X 1"
Price
N/A
BOX2
Now: W1721
7' Rails & Legs Only
Price
N/A