Parts for G0548ZP 2 HP Canister Dust Collector w/Aluminum Impeller

Parts Diagrams for G0548ZP - 2 HP Canister Dust Collector w/Aluminum Impeller

IMPORTANT

Parts may have multiple versions that have changed over time. This will be indicated by V1, V2, V3, etc. in the parts description, followed by the version month and year that it was first used. Example: V2.01.17 indicates version 2 of a part went into use in January 2017. Please reference the manufacture date on the ID Label for your machine to ensure you are selecting the correct part when multiple versions are indicated.

If you cannot locate your part below, please contact our tech support department at techsupport@grizzly.com or 570-546-9663.

Please note: All parts ship out of our Springfield, Missouri facility.

Parts List for Parts for G0548ZP 2 HP Canister Dust Collector w/Aluminum Impeller

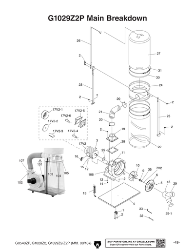
1
CASTER
Price
N/A
2
Now: PFB01
FLANGE BOLT 5/16-18 X 1/2
Price
N/A
4
BASE PLATE
Price
N/A
5
Now: PS06
PHLP HD SCR 10-24 X 3/8
Price
N/A
6
6" INLET COVER
$31.75
Enter quantity between 1 and 99
7
CAP SCREW M6-1 X 20 LH
Price
N/A
7V2
CAP SCREW M6-1 X 30LH PRE-COATED
Price
N/A
8
Now: PSS15
SET SCREW 3/8-16 X 3/8
Price
N/A
9
IMPELLER WASHER 1-1/2" W/ 1/4" HOLE
Price
N/A
10
IMPELLER 12-3/4"X95MM X7/8 ALUM V2.09.11
Price
N/A
11
COLLECTOR BODY
$217.05
Enter quantity between 1 and 99
12
Now: PW07
FLAT WASHER 5/16
Price
N/A
13
Now: PS06
PHLP HD SCR 10-24 X 3/8
Price
N/A
14
Now: PFB01
FLANGE BOLT 5/16-18 X 1/2
Price
N/A
15
Now: PB03
HEX BOLT 5/16-18 X 1
Price
N/A
17
MOTOR 2HP 240V 1-PH
$377.40
Enter quantity between 1 and 99
17-1
MOTOR FAN COVER
$23.95
Enter quantity between 1 and 99
17-2
MOTOR FAN
Price
N/A
17-3
CAPACITOR COVER
$13.30
Enter quantity between 1 and 99
17-4
S CAPACITOR 300M 125V 1-5/16 X 2-3/8
Price
N/A
17-5
MOTOR WIRING JUNCTION BOX
$10.60
Enter quantity between 1 and 99
17-6
R CAPACITOR 30M 250V V1
$29.00
Enter quantity between 1 and 99
17V2-6
R CAPACITOR 30M 250V 1-3/8 X 2-3/8
Price
N/A
18
Now: PN02
HEX NUT 5/16-18
Price
N/A
19
OUTLET CONNECTOR
$64.00
Enter quantity between 1 and 99
21
PADDLE SWITCH V2.09.11
Price
N/A
22
19-3/4 D x 41" L Plastic Bottom Bag
Price
N/A
23
COLLECTOR SUPPORT
Price
N/A
24
RIGHT COLLECTOR
Price
N/A
25
SPACER
Price
N/A
26
HEX WRENCH 5MM
Price
N/A
27A
Now: H5783
Extra Canister For G0548/Z & G0562/Z
Price
N/A
28
GASKET
Price
N/A
29
INLET 6 X 4 X 4 X 4" (WHITE)
$85.70
Enter quantity between 1 and 99
29-1
INLET CAP
Price
N/A
29V2
INLET ADAPTER 6" X 4" X 3 (PC) V2.01.22
$93.30
Enter quantity between 1 and 99
30
Now: PK28M
KEY 7 X 7 X 29
Price
N/A
31
POWER CORD 14G 3C 6' 6-15 V2.09.11
Price
N/A
32
WRENCH 10 X 12MM OPEN-ENDS
Price
N/A
34
62" Bag Clamp
Price
N/A
35
MACHINE ID LABEL
$16.40
Enter quantity between 1 and 99
36
READ MANUAL 2W X 3.3H V2.07.05
Price
N/A
37
GLASSES/RESPIRATOR 2W X 3.3H
Price
N/A
39
HANDS/DUST COLLECTOR OUTLET 2W X 3.3H
Price
N/A
40
ELECTRICITY 1.4W X 1.2H
Price
N/A
41
FOAM STRIP 5 X 42MM
Price
N/A
42
FOAM STRIP 4 X 20MM
Price
N/A
43
POLAR BEAR WHITE TOUCH-UP PAINT
Price
N/A
44
POLAR BEAR LOGO-SMALL 3.75W X 1H
Price
N/A
45
LOCK WASHER 6MM
Price
N/A
MAN
MANUAL G0548Z-ZP MFD-09.11 V4.02.12
Price
N/A