Parts for G0554Z 14" x 40" Gear-Head Floor Lathe

Parts Diagrams for G0554Z - 14" x 40" Gear-Head Floor Lathe

IMPORTANT

Parts may have multiple versions that have changed over time. This will be indicated by V1, V2, V3, etc. in the parts description, followed by the version month and year that it was first used. Example: V2.01.17 indicates version 2 of a part went into use in January 2017. Please reference the manufacture date on the ID Label for your machine to ensure you are selecting the correct part when multiple versions are indicated.

If you cannot locate your part below, please contact our tech support department at techsupport@grizzly.com or 570-546-9663.

Please note: All parts ship out of our Springfield, Missouri facility.

Parts List for Parts for G0554Z 14" x 40" Gear-Head Floor Lathe

1
*DISCD*OIL FILL PLUG
$1.75
Enter quantity between 1 and 99
2
*DISCD*HEADSTOCK COVER
Item is no longer available
Price
N/A
3
CAP SCREW M6-1 X 25
Price
N/A
4
*DISCD*GASKET
$4.90
Enter quantity between 1 and 99
5
O-RING 14 X 2.65
Price
N/A
6
*DISCD*GEAR 38T
Item is no longer available
Price
N/A
7
*DISCD*SHAFT
Item is no longer available
Price
N/A
8
SET SCREW M6-1 X 10
Price
N/A
9
Now: PN01M
HEX NUT M6-1
Price
N/A
10
*DISCD*GEAR 48T
Item is no longer available
Price
N/A
11
*DISCD*GEAR 43T
Item is no longer available
Price
N/A
12
*DISCD*SHIFT CRANK SET SCREW
Item is no longer available
Price
N/A
13
*DISCD*SHIFT ARM
Item is no longer available
Price
N/A
14
ROLL PIN 5 X 30
Price
N/A
15
Now: PR03M
EXT RETAINING RING 12MM
Price
N/A
16
*DISCD*SHIFT FORK
Item is no longer available
Price
N/A
17
*DISCD*SHIFT ARM
Item is no longer available
Price
N/A
18
*DISCD*GEAR SHIFTER
Item is no longer available
Price
N/A
19
*DISCD*CASTING PLUG
Item is no longer available
Price
N/A
20
Now: PK08M
KEY 5 X 5 X 16
Price
N/A
21
STEEL BALL 8MM
Price
N/A
22
*DISCD*COMPRESSION SPRING
Item is no longer available
Price
N/A
23
*DISCD*HANDLE HUB
Item is no longer available
Price
N/A
24
*DISCD*HANDLE KNOB
$4.90
Enter quantity between 1 and 99
25
*DISCD*HANDLE LEVER
Item is no longer available
Price
N/A
26
*DISCD*LEVER NAME PLATE
Item is no longer available
Price
N/A
27
Now: PS12M
PHLP HD SCR M3-.5 X 6
Price
N/A
28
*DISCD*HUB SCREW
Item is no longer available
Price
N/A
29
FLAT HD SCR M6-1 X 12
Price
N/A
30
*DISCD*END CAP
Item is no longer available
Price
N/A
31
*DISCD*O-RING 19 X 2.65
Price
N/A
32
*DISCD*GEAR SHAFT 22T
Item is no longer available
Price
N/A
33
*DISCD*GEAR SHAFT 17T
Item is no longer available
Price
N/A
34
*DISCD*END CAP
Item is no longer available
Price
N/A
35
*DISCD*HANDLE HUB
Item is no longer available
Price
N/A
36
CAP SCREW M12-1.75 X 40
Price
N/A
37
*DISCD*ALIGNMENT BOLT M10-1.5 X 40
Item is no longer available
Price
N/A
38
*DISCD*ALIGNMENT BLOCK BOLT
Item is no longer available
Price
N/A
39
*DISCD*ALIGNMENT BLOCK
Item is no longer available
Price
N/A
40
*DISCD*OIL SIGHT GLASS
$15.55
Enter quantity between 1 and 99
41
*DISCD*HEADSTOCK CASTING
Item is no longer available
Price
N/A
42
*DISCD*OIL DRAIN PLUG
Item is no longer available
Price
N/A
43
*DISCD*GEAR SHAFT 27T
Item is no longer available
Price
N/A
44
*DISCD*SHIFT FORK
Item is no longer available
Price
N/A
45
*DISCD*SHIFT CRANK
Item is no longer available
Price
N/A
46
*DISCD*SHIFT FORK
Item is no longer available
Price
N/A
47
*DISCD*SHIFT CRANK
$61.25
Enter quantity between 1 and 99
48
STEEL BALL 10MM
Price
N/A
49
*DISCD*COMPRESSION SPRING
Item is no longer available
Price
N/A
50
*DISCD*SHAFT
Item is no longer available
Price
N/A
51
*DISCD*SHAFT
Item is no longer available
Price
N/A
52
*DISCD*SHAFT
Item is no longer available
Price
N/A
53
Now: PK05M
KEY 4 X 4 X 10
Price
N/A
54
*DISCD*O-RING 10.6 X 2.65
Item is no longer available
Price
N/A
55
*DISCD*END CAP
Item is no longer available
Price
N/A
56
CAP SCREW M6-1 X 12
Price
N/A
57
*DISCD*HANDLE HUB
Item is no longer available
Price
N/A
58
*DISCD*HANDLE HUB
Item is no longer available
Price
N/A
59
*DISCD*HANDLE HUB FLAT WASHER
Item is no longer available
Price
N/A
60
*DISCD*SHAFT SET SCREW
Item is no longer available
Price
N/A
61
CAP SCREW M8-1.25 X 16
Price
N/A
62
*DISCD*PULLEY FLAT WASHER
Item is no longer available
Price
N/A
63
*DISCD*PULLEY
Item is no longer available
Price
N/A
64
*DISCD*BRAKE BLOCK
Item is no longer available
Price
N/A
65
*DISCD*PIN 5 X 16
Item is no longer available
Price
N/A
66
*DISCD*SHAFT
Item is no longer available
Price
N/A
67
Now: PR03M
EXT RETAINING RING 12MM
Price
N/A
68
*DISCD*SPACER SD25 X 45 X 7
Item is no longer available
Price
N/A
69
*DISCD*PIN 6 X 26
Item is no longer available
Price
N/A
70
Now: PR39M
EXT RETAINING RING 8MM
Price
N/A
71
*DISCD*SHAFT
Item is no longer available
Price
N/A
72
*DISCD*END CAP
Item is no longer available
Price
N/A
73
*DISCD*GASKET
$3.20
Enter quantity between 1 and 99
74
Now: PR11M
EXT RETAINING RING 25MM
Price
N/A
75
BALL BEARING 6205ZZ
Price
N/A
76
KEY 8 X 8 X 20
Price
N/A
77
*DISCD*SHAFT
Item is no longer available
Price
N/A
78
*DISCD*KEY 8 X 8 X 72
Item is no longer available
Price
N/A
79
*DISCD*GEAR 50T
$78.50
Enter quantity between 1 and 99
80
*DISCD*GEAR 37T
$61.25
Enter quantity between 1 and 99
81
*DISCD*GEAR 43T
$68.15
Enter quantity between 1 and 99
82
BALL BEARING 6204ZZ
Price
N/A
83
*DISCD*SPACER
Item is no longer available
Price
N/A
84
*DISCD*GEAR 57T
$87.15
Enter quantity between 1 and 99
85
*DISCD*GEAR SHAFT 20T
$68.75
Enter quantity between 1 and 99
86
Now: PR25M
INT RETAINING RING 47MM
Price
N/A
87
*DISCD*O-RING 40 X 2.65
$1.75
Enter quantity between 1 and 99
88
*DISCD*CASTING PLUG
Item is no longer available
Price
N/A
89
*DISCD*END CAP
Item is no longer available
Price
N/A
90
*DISCD*GASKET
$1.75
Enter quantity between 1 and 99
91
*DISCD*GEAR SHAFT 28T
$51.75
Enter quantity between 1 and 99
92
KEY 8 X 8 X 38
Price
N/A
93
*DISCD*GEAR 41T
$58.40
Enter quantity between 1 and 99
94
*DISCD*GEAR 34T
$55.80
Enter quantity between 1 and 99
95
Now: PR68M
EXT RETAINING RING 40MM
Price
N/A
96
BALL BEARING 6005-OPEN
Price
N/A
97
*DISCD*GEAR SHAFT 21T
$71.60
Enter quantity between 1 and 99
98
Now: PR18M
EXT RETAINING RING 17MM
Price
N/A
99
*DISCD*BALL BEARING 61803/P5
$20.70
Enter quantity between 1 and 99
100
*DISCD*GEAR 21T
$68.75
Enter quantity between 1 and 99
101
*DISCD*GEAR 58T
$120.20
Enter quantity between 1 and 99
102
*DISCD*SPACER
Item is no longer available
Price
N/A
103
Now: PR78M
EXT RETAINING RING 55MM
Price
N/A
104
*DISCD*GEAR 59T
Item is no longer available
Price
N/A
105
*DISCD*GEAR 31T
$59.25
Enter quantity between 1 and 99
106
KEY 10 X 10 X 18
Price
N/A
107
*DISCD*SPLINE SHAFT
$80.25
Enter quantity between 1 and 99
108
*DISCD*END CAP
Item is no longer available
Price
N/A
109
CAP SCREW M6-1 X 35
Price
N/A
110
CAP SCREW M6-1 X 16
Price
N/A
111
*DISCD*END CAP
Item is no longer available
Price
N/A
112
*DISCD*GASKET
$3.20
Enter quantity between 1 and 99
113
CAP SCREW M5-.8 X 12
Price
N/A
114
*DISCD*LOCK COLLAR
Item is no longer available
Price
N/A
115
*DISCD*TAP ROLLER BEARING 32011/P5
Item is no longer available
Price
N/A
116
*DISCD*GEAR 38T
Item is no longer available
Price
N/A
117
*DISCD*LOCK COLLAR
Item is no longer available
Price
N/A
118
*DISCD*GEAR 59T
$87.40
Enter quantity between 1 and 99
119
CAP SCREW M5-.8 X 20
Price
N/A
120
*DISCD*GEAR 87T
Item is no longer available
Price
N/A
121
*DISCD*BUSHING
Item is no longer available
Price
N/A
122
*DISCD*TAP ROLLER BEARING 30212/P5
Item is no longer available
Price
N/A
123
*DISCD*GASKET
$6.05
Enter quantity between 1 and 99
124
*DISCD*END CAP
Item is no longer available
Price
N/A
125
CAP SCREW M6-1 X 25
Price
N/A
126
Now: PK42M
KEY 6 X 6 X 30
Price
N/A
127
KEY 10 X 10 X 55
Price
N/A
128
CAP SCREW M6-1 X 14
Price
N/A
129
*DISCD*COMPRESSION SPRING
Item is no longer available
Price
N/A
130
*DISCD*BEVEL PIN
Item is no longer available
Price
N/A
131
*DISCD*CAM LOCK
Item is no longer available
Price
N/A
132
*DISCD*SPINDLE
Item is no longer available
Price
N/A
133
Now: PR09M
EXT RETAINING RING 20MM
Price
N/A
134
*DISCD*SPACER
Item is no longer available
Price
N/A
135
*DISCD*GEAR 32T
Item is no longer available
Price
N/A
136
Now: PR77M
EXT RETAINING RING 37MM
Price
N/A
137
*DISCD*GEAR 32T
Item is no longer available
Price
N/A
138
Now: PK08M
KEY 5 X 5 X 16
Price
N/A
139
*DISCD*GEAR SHAFT 32T
Item is no longer available
Price
N/A
140
SET SCREW M6-1 X 12
Price
N/A
141
*DISCD*SHAFT
Item is no longer available
Price
N/A
142
*DISCD*O-RING 25 X 2.65
$1.75
Enter quantity between 1 and 99
143
Now: PK42M
KEY 6 X 6 X 30
Price
N/A
144
*DISCD*GEAR 42T
Item is no longer available
Price
N/A
145
*DISCD*SPACER
Item is no longer available
Price
N/A
146
*DISCD*GEAR 32T
Item is no longer available
Price
N/A
147
Now: PK49M
KEY 6 X 6 X 55
Price
N/A
148
*DISCD*GEAR 32T
Item is no longer available
Price
N/A
149
BALL BEARING 6004-OPEN
Price
N/A
150
*DISCD*CASTING PLUG
Item is no longer available
Price
N/A
151
*DISCD*SHAFT
Item is no longer available
Price
N/A
152
*DISCD*GEAR 38T
Item is no longer available
Price
N/A
153
*DISCD*SPLINE SHAFT
Item is no longer available
Price
N/A
154
*DISCD*GASKET
Item is no longer available
Price
N/A
155
*DISCD*END CAP
Item is no longer available
Price
N/A
156
*DISCD*SPACER
Item is no longer available
Price
N/A
157
*DISCD*BRAKE SHOE ASSY
Item is no longer available
Price
N/A
158
*DISCD*COLLAR
Item is no longer available
Price
N/A
159
CAP SCREW M12-1.75 X 35
Price
N/A
201
*DISCD*CASTING PLUG
Item is no longer available
Price
N/A
202
*DISCD*GEARBOX CASTING
Item is no longer available
Price
N/A
202A
*DISCD*GEARBOX ASSEMBLY
Item is no longer available
Price
N/A
203
*DISCD*GEARBOX COVER TOP LEFT
Item is no longer available
Price
N/A
204
FLAT HD SCR M4-.7 X 10
Price
N/A
205
*DISCD*GEARBOX COVER TOP RIGHT
Item is no longer available
Price
N/A
206
*DISCD*GEARBOX COVER TOP FRONT
Item is no longer available
Price
N/A
207
CAP SCREW M8-1.25 X 35
Price
N/A
208
*DISCD*CONTROL PANEL HOUSING
Item is no longer available
Price
N/A
209
Now: PS12M
PHLP HD SCR M3-.5 X 6
Price
N/A
210
*DISCD*CONTROL PANEL FRONT COVER
Item is no longer available
Price
N/A
211
*DISCD*GASKET
Item is no longer available
Price
N/A
212
CAP SCREW M8-1.25 X 40
Price
N/A
213
CAP SCREW M8-1.25 X 25
Price
N/A
215
*DISCD*PIN 5 X 28
Item is no longer available
Price
N/A
216
*DISCD*GEAR 16T
Item is no longer available
Price
N/A
217
Now: PR79M
INT RETAINING RING 19MM
Price
N/A
218
BALL BEARING 698ZZ
Price
N/A
219
*DISCD*SHAFT
Item is no longer available
Price
N/A
220
*DISCD*OIL DRAIN PLUG
Item is no longer available
Price
N/A
221
*DISCD*SHIFTER
Item is no longer available
Price
N/A
222
*DISCD*SHAFT
Item is no longer available
Price
N/A
223
SET SCREW M6-1 X 8
Price
N/A
224
CAP SCREW M6-1 X 20
Price
N/A
225
*DISCD*RACK
Item is no longer available
Price
N/A
226
*DISCD*SHIFT KEY
Item is no longer available
Price
N/A
227
*DISCD*SHIFT FORK
Item is no longer available
Price
N/A
228
SET SCREW M6-1 X 8
Price
N/A
229
*DISCD*SHAFT
Item is no longer available
Price
N/A
230
*DISCD*LOCATING PLATE
Item is no longer available
Price
N/A
231
*DISCD*CONTROL PLATE
Item is no longer available
Price
N/A
232
CAP SCREW M6-1 X 12
Price
N/A
233
*DISCD*OIL FILL PLUG
Item is no longer available
Price
N/A
234
*DISCD*SHIFT HUB
Item is no longer available
Price
N/A
235
Now: PK05M
KEY 4 X 4 X 10
Price
N/A
236
*DISCD*SHAFT
Item is no longer available
Price
N/A
238
*DISCD*GEAR SHAFT 26T
Item is no longer available
Price
N/A
239
*DISCD*SHIFT FORK
Item is no longer available
Price
N/A
240
*DISCD*SHIFT ARM
Item is no longer available
Price
N/A
241
*DISCD*PIN 5 X 20
Item is no longer available
Price
N/A
242
*DISCD*SHAFT
Item is no longer available
Price
N/A
243
*DISCD*GEARBOX FRONT COVER
Item is no longer available
Price
N/A
244
*DISCD*LOCATING DISK
Item is no longer available
Price
N/A
245
FLAT HD SCR M5-.8 X 10
Price
N/A
247
*DISCD*SHIFT HUB
Item is no longer available
Price
N/A
249
*DISCD*SHIFT HUB WASHER
Item is no longer available
Price
N/A
250
CAP SCREW M6-1 X 16
Price
N/A
251
*DISCD*INDICATOR DISK
Item is no longer available
Price
N/A
252
Now: PS12M
PHLP HD SCR M3-.5 X 6
Price
N/A
253
*DISCD*INDICATOR DISK
Item is no longer available
Price
N/A
254
SET SCREW M8-1.25 X 8
Price
N/A
255
*DISCD*COMPRESSION SPRING
Item is no longer available
Price
N/A
256
STEEL BALL 6.5MM
Price
N/A
257
*DISCD*LOCATING DISK
Item is no longer available
Price
N/A
258
*DISCD*OIL SIGHT GLASS
$4.90
Enter quantity between 1 and 99
259
*DISCD*LOCATING DISK
Item is no longer available
Price
N/A
260
*DISCD*SHIFT HUB
Item is no longer available
Price
N/A
261
CAP SCREW M6-1 X 35
Price
N/A
262
*DISCD*GEAR FLAT WASHER
Item is no longer available
Price
N/A
263
*DISCD*GEAR 52T
Item is no longer available
Price
N/A
264
CAP SCREW M6-1 X 20
Price
N/A
265
*DISCD*END CAP
$27.05
Enter quantity between 1 and 99
266
*DISCD*GASKET
Item is no longer available
Price
N/A
267
BALL BEARING 6004-OPEN
Price
N/A
268
Now: PK19M
KEY 5 X 5 X 14
Price
N/A
269
*DISCD*GEAR SHAFT
Item is no longer available
Price
N/A
270
*DISCD*BALL BEARING 16002/P5
$21.30
Enter quantity between 1 and 99
271
*DISCD*SHAFT COLLAR
Item is no longer available
Price
N/A
272
KEY 5 X 5 X 75
Price
N/A
273
*DISCD*SHAFT
Item is no longer available
Price
N/A
274
*DISCD*SHAFT COLLAR
Item is no longer available
Price
N/A
275
BALL BEARING 6003-OPEN
Price
N/A
276
Now: PR09M
EXT RETAINING RING 20MM
Price
N/A
277
*DISCD*GEAR 16T/32T
Item is no longer available
Price
N/A
278
BALL BEARING 6202ZZ
Price
N/A
279
*DISCD*GASKET
Item is no longer available
Price
N/A
280
*DISCD*END CAP
Item is no longer available
Price
N/A
281
*DISCD*GEAR 28T
Item is no longer available
Price
N/A
282
*DISCD*GEAR WASHER
Item is no longer available
Price
N/A
283
*DISCD*GEAR 26T
Item is no longer available
Price
N/A
284
*DISCD*GEAR WASHER
Item is no longer available
Price
N/A
285
*DISCD*GEAR 24T
Item is no longer available
Price
N/A
286
*DISCD*GEAR WASHER
Item is no longer available
Price
N/A
287
*DISCD*GEAR 23T
Item is no longer available
Price
N/A
288
*DISCD*GEAR WASHER
Item is no longer available
Price
N/A
289
*DISCD*GEAR 22T
Item is no longer available
Price
N/A
290
*DISCD*GEAR WASHER
Item is no longer available
Price
N/A
291
*DISCD*GEAR 20T
Item is no longer available
Price
N/A
292
*DISCD*GEAR WASHER
Item is no longer available
Price
N/A
293
*DISCD*GEAR 18T
$37.95
Enter quantity between 1 and 99
294
*DISCD*GEAR WASHER
Item is no longer available
Price
N/A
295
*DISCD*GEAR 16T
$34.50
Enter quantity between 1 and 99
296
*DISCD*GEAR 26T
Item is no longer available
Price
N/A
297
*DISCD*SPLINE SHAFT
Item is no longer available
Price
N/A
298
Now: PK19M
KEY 5 X 5 X 14
Price
N/A
299
KEY 6 X 6 X 14
Price
N/A
300
Now: PR29M
INT RETAINING RING 32MM
Price
N/A
301
*DISCD*BALL BEARING 61804/P5
Item is no longer available
Price
N/A
302
*DISCD*GEAR 16T
$37.95
Enter quantity between 1 and 99
303
*DISCD*SPACER
Item is no longer available
Price
N/A
304
*DISCD*GEAR 21T
Item is no longer available
Price
N/A
305
Now: PR05M
EXT RETAINING RING 15MM
Price
N/A
306
*DISCD*GEAR 26T
Item is no longer available
Price
N/A
307
*DISCD*GASKET
$1.75
Enter quantity between 1 and 99
308
*DISCD*END CAP
Item is no longer available
Price
N/A
309
O-RING 15 X 2.65
Price
N/A
310
*DISCD*BALL BEARING 8104/P5
Item is no longer available
Price
N/A
311
*DISCD*COLLAR
Item is no longer available
Price
N/A
312
*DISCD*SHAFT
Item is no longer available
Price
N/A
313
*DISCD*SHAFT
Item is no longer available
Price
N/A
314
*DISCD*END CAP
Item is no longer available
Price
N/A
315
*DISCD*GASKET
$4.35
Enter quantity between 1 and 99
316
*DISCD*SHAFT SLEEVE HEX NUT
Item is no longer available
Price
N/A
317
*DISCD*GEAR 32T
Item is no longer available
Price
N/A
318
*DISCD*COLLAR
Item is no longer available
Price
N/A
319
*DISCD*GEAR 16T
Item is no longer available
Price
N/A
320
Now: PR07M
EXT RETAINING RING 18MM
Price
N/A
321
*DISCD*OIL DRAIN PIPE
Item is no longer available
Price
N/A
322
*DISCD*PIN 5 X 40
Item is no longer available
Price
N/A
323
*DISCD*SHAFT SLEEVE
Item is no longer available
Price
N/A
324
*DISCD*COLLAR
Item is no longer available
Price
N/A
325
*DISCD*PIN 4 X 30
$1.75
Enter quantity between 1 and 99
326
*DISCD*SHAFT SLEEVE
Item is no longer available
Price
N/A
327
*DISCD*GEAR BOX FRONT COVER O-RING
Item is no longer available
Price
N/A
328
*DISCD*STOP BUTTON ASSEMBLY
Item is no longer available
Price
N/A
329
*DISCD*JOG BUTTON
Price
N/A
330
*DISCD*POWER LAMP BULB 110V
Item is no longer available
Price
N/A
331
*DISCD*PWR IND. LIGHT ONPOW XDY2 30MM GR
Price
N/A
332
*DISCD*COOLANT SWITCH ASSY
Item is no longer available
Price
N/A
401
CAP SCREW M6-1 X 10
Price
N/A
402
*DISCD*HALF NUT ASSEMBLY
Item is no longer available
Price
N/A
403
*DISCD*HALF NUT BRACKET
Item is no longer available
Price
N/A
404
CAP SCREW M6-1 X 16
Price
N/A
405
*DISCD*HALF NUT GIB
Item is no longer available
Price
N/A
406
SET SCREW M6-1 X 10
Price
N/A
407
CAP SCREW M8-1.25 X 40
Price
N/A
408
SET SCREW M8-1.25 X 8
Price
N/A
409
*DISCD*COMPRESSION SPRING
Item is no longer available
Price
N/A
410
STEEL BALL 6MM
Price
N/A
411
*DISCD*APRON CASTING
Item is no longer available
Price
N/A
412
*DISCD*APRON CASTING PIN
Item is no longer available
Price
N/A
413
*DISCD*HALF NUT CAM
Item is no longer available
Price
N/A
414
*DISCD*PIN 5 X 35
Item is no longer available
Price
N/A
415
SET SCREW M6-1 X 6
Price
N/A
416
*DISCD*PIN 5 X 50
Item is no longer available
Price
N/A
417
*DISCD*HANDLE HUB
Item is no longer available
Price
N/A
418
*DISCD*HANDLE LEVER
Item is no longer available
Price
N/A
419
*DISCD*HANDLE KNOB
Item is no longer available
Price
N/A
420
*DISCD*SAFETY CATCH
Item is no longer available
Price
N/A
421
*DISCD*OIL SIGHT GLASS
Item is no longer available
Price
N/A
422
*DISCD*BRACKET
Item is no longer available
Price
N/A
423
*DISCD*BLOCK
Item is no longer available
Price
N/A
424
CAP SCREW M6-1 X 12
Price
N/A
425
*DISCD*SPLINE SHAFT
Item is no longer available
Price
N/A
426
*DISCD*HANDLE LEVER
Item is no longer available
Price
N/A
427
CAP SCREW M6-1 X 45
Price
N/A
428
*DISCD*PLUG
Item is no longer available
Price
N/A
429
CAP SCREW M6-1 X 16
Price
N/A
430
*DISCD*OIL DRAIN PLUG
Item is no longer available
Price
N/A
431
*DISCD*END CAP
Item is no longer available
Price
N/A
432
KEY 5 X 5 X 56
Price
N/A
433
*DISCD*PIN 3 X 5
Item is no longer available
Price
N/A
434
*DISCD*WORM
$71.60
Enter quantity between 1 and 99
435
*DISCD*LOCK COLLAR
Item is no longer available
Price
N/A
436
*DISCD*BUSHING
Item is no longer available
Price
N/A
437
*DISCD*SHAFT
Item is no longer available
Price
N/A
438
Now: PR06M
EXT RETAINING RING 16MM
Price
N/A
439
*DISCD*GEAR 22T
Item is no longer available
Price
N/A
440
*DISCD*COLLAR
Item is no longer available
Price
N/A
441
*DISCD*PIN 5 X 35
Item is no longer available
Price
N/A
442
*DISCD*GEAR 24T
Item is no longer available
Price
N/A
443
SET SCREW M6-1 X 6
Price
N/A
444
Now: PK20M
KEY 5 X 5 X 15
Price
N/A
445
*DISCD*SHAFT
Item is no longer available
Price
N/A
446
*DISCD*O-RING 17 X 1.8
Item is no longer available
Price
N/A
447
E-CLIP 12MM
Price
N/A
448
*DISCD*BUSHING
Item is no longer available
Price
N/A
449
*DISCD*SLEEVE
Item is no longer available
Price
N/A
450
*DISCD*CLUSTER GEAR 50T/20T
Item is no longer available
Price
N/A
451
SET SCREW M8-1.25 X 8
Price
N/A
452
*DISCD*COMPRESSION SPRING
Item is no longer available
Price
N/A
453
STEEL BALL 6MM
Price
N/A
454
*DISCD*SHAFT
Item is no longer available
Price
N/A
455
*DISCD*SHAFT
Item is no longer available
Price
N/A
456
*DISCD*PIN 5 X 30
Item is no longer available
Price
N/A
457
*DISCD*GEAR 50T
Item is no longer available
Price
N/A
458
*DISCD*SPACER
Item is no longer available
Price
N/A
459
Now: PR06M
EXT RETAINING RING 16MM
Price
N/A
460
*DISCD*PLUG
Item is no longer available
Price
N/A
461
*DISCD*GEAR SHAFT 18T
Item is no longer available
Price
N/A
462
Now: PK20M
KEY 5 X 5 X 15
Price
N/A
463
*DISCD*WHEEL FLANGE
Item is no longer available
Price
N/A
464
CAP SCREW M6-1 X 16
Price
N/A
465
*DISCD*GRADUATED DIAL
Item is no longer available
Price
N/A
466
STEEL BALL 6MM
Price
N/A
467
*DISCD*COMPRESSION SPRING
Item is no longer available
Price
N/A
468
*DISCD*HANDWHEEL
Item is no longer available
Price
N/A
469
SET SCREW M6-1 X 25
Price
N/A
470
*DISCD*HANDWHEEL SCREW
$8.65
Enter quantity between 1 and 99
471
*DISCD*HANDLE
$20.45
Enter quantity between 1 and 99
472
*DISCD*HANDLE SCREW
Item is no longer available
Price
N/A
473
SET SCREW M5-.8 X 10
Price
N/A
474
*DISCD*O-RING 25.8 X 3.55MM
Price
N/A
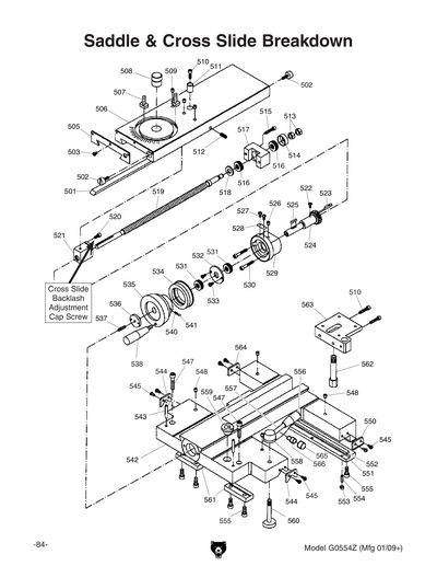
501
*DISCD*CROSS SLIDE GIB
Item is no longer available
Price
N/A
502
*DISCD*GIB ADJUSTING SCR
Item is no longer available
Price
N/A
503
Now: PS09M
PHLP HD SCR M5-.8 X 10
Price
N/A
505
*DISCD*WIPER PLATE
$1.75
Enter quantity between 1 and 99
506
*DISCD*CROSS SLIDE BODY
Item is no longer available
Price
N/A
507
*DISCD*T-BOLT
Item is no longer available
Price
N/A
508
*DISCD*HUB
$6.90
Enter quantity between 1 and 99
509
*DISCD*BALL OILER 8MM
$1.75
Enter quantity between 1 and 99
510
CAP SCREW M6-1 X 20
Price
N/A
511
*DISCD*SLEEVE
$6.05
Enter quantity between 1 and 99
512
SET SCREW M8-1.25 X 8
Price
N/A
513
Now: PN02M
HEX NUT M10-1.5
Price
N/A
514
*DISCD*BEARING CAP
Item is no longer available
Price
N/A
515
CAP SCREW M6-1 X 30
Price
N/A
516
Now: P8101
THRUST BEARING 8101
Price
N/A
517
*DISCD*BLOCK
Item is no longer available
Price
N/A
518
*DISCD*SPACER
Item is no longer available
Price
N/A
519
*DISCD*CROSS SLIDE LEADSCREW
$178.85
Enter quantity between 1 and 99
520
CAP SCREW M6-1 X 12
Price
N/A
521
*DISCD*LEADSCREW NUT
$71.60
Enter quantity between 1 and 99
522
Now: PS49M
PHLP HD SCR M3-.5 X 5
Price
N/A
523
Now: PK23M
KEY 5 X 5 X 25
Price
N/A
524
*DISCD*GEAR SHAFT 20T
Item is no longer available
Price
N/A
525
Now: PK48M
KEY 4 X 4 X 20
Price
N/A
526
*DISCD*BALL OILER 6MM
Item is no longer available
Price
N/A
527
Now: PS12M
PHLP HD SCR M3-.5 X 6
Price
N/A
528
*DISCD*INDEX PLATE
Item is no longer available
Price
N/A
529
*DISCD*BEARING HOUSING
Item is no longer available
Price
N/A
530
CAP SCREW M6-1 X 40
Price
N/A
531
Now: P8102
THRUST BEARING 8102
Price
N/A
532
*DISCD*END CAP
Item is no longer available
Price
N/A
533
Now: PS09M
PHLP HD SCR M5-.8 X 10
Price
N/A
534
*DISCD*GRADUATED DIAL
Item is no longer available
Price
N/A
535
*DISCD*HANDWHEEL
Item is no longer available
Price
N/A
536
*DISCD*HANDWHEEL SCREW
$9.80
Enter quantity between 1 and 99
537
SET SCREW M6-1 X 25
Price
N/A
538
*DISCD*HANDLE
$52.65
Enter quantity between 1 and 99
540
*DISCD*COMPRESSION SPRING
Item is no longer available
Price
N/A
541
STEEL BALL 6MM
Price
N/A
542
*DISCD*SADDLE
Item is no longer available
Price
N/A
543
*DISCD*PIN 6 X 40
Item is no longer available
Price
N/A
544
*DISCD*WIPER PLATE
$6.05
Enter quantity between 1 and 99
545
Now: PS09M
PHLP HD SCR M5-.8 X 10
Price
N/A
547
CAP SCREW M8-1.25 X 45
Price
N/A
548
*DISCD*BALL OILER 8MM
Price
N/A
550
*DISCD*WIPER PLATE
$6.05
Enter quantity between 1 and 99
551
*DISCD*PRESSURE PLATE REAR
Item is no longer available
Price
N/A
552
*DISCD*SADDLE GIB
Item is no longer available
Price
N/A
553
LOCK NUT M6-1
Price
N/A
554
SET SCREW M6-1 X 20
Price
N/A
555
CAP SCREW M8-1.25 X 20
Price
N/A
556
*DISCD*HANDLE KNOB M10-1.5
Item is no longer available
Price
N/A
557
*DISCD*HANDLE LEVER
Item is no longer available
Price
N/A
558
*DISCD*HANDLE HUB
Item is no longer available
Price
N/A
559
*DISCD*OIL FILL CAP
$4.35
Enter quantity between 1 and 99
560
*DISCD*LOCK STUD
Item is no longer available
Price
N/A
561
*DISCD*PRESSURE PLATE FRONT
Item is no longer available
Price
N/A
562
*DISCD*STRAIN RELIEF M16 TYPE-6 ST
$8.05
Enter quantity between 1 and 99
563
*DISCD*LAMP BRACKET
Item is no longer available
Price
N/A
564
*DISCD*WIPER PLATE
$8.05
Enter quantity between 1 and 99
565
*DISCD*HANDLE PIN
Item is no longer available
Price
N/A
566
*DISCD*SLEEVE
Item is no longer available
Price
N/A
601
*DISCD*TOOL POST BASE
Item is no longer available
Price
N/A
602
*DISCD*TOOL POST LOCK SCREW
Item is no longer available
Price
N/A
603
*DISCD*HANDLE HUB
Item is no longer available
Price
N/A
604
*DISCD*HANDLE LEVER
Item is no longer available
Price
N/A
605
*DISCD*HANDLE KNOB
Item is no longer available
Price
N/A
606
*DISCD*SPACER
Item is no longer available
Price
N/A
607
*DISCD*TOOL POST STUD
Item is no longer available
Price
N/A
608
*DISCD*TOOL POST POSITION PIN
Item is no longer available
Price
N/A
609
*DISCD*COMPRESSION SPRING
Item is no longer available
Price
N/A
610
*DISCD*CLAMP BAR
Item is no longer available
Price
N/A
611
*DISCD*BALL OILER 8MM
Price
N/A
612
*DISCD*COMPOUND SLIDE
Item is no longer available
Price
N/A
613
CAP SCREW M6-1 X 20
Price
N/A
614
*DISCD*POSITIONING PIN
Item is no longer available
Price
N/A
615
*DISCD*LEADSCREW NUT
Item is no longer available
Price
N/A
616
*DISCD*COMPOUND SLIDE LEADSCREW
Item is no longer available
Price
N/A
617
Now: PK97M
KEY 4 X 4 X 14
Price
N/A
618
Now: PS12M
PHLP HD SCR M3-.5 X 6
Price
N/A
619
*DISCD*INDEX PLATE
Item is no longer available
Price
N/A
620
*DISCD*BEARING HOUSING
Item is no longer available
Price
N/A
621
CAP SCREW M6-1 X 20
Price
N/A
622
Now: P8103
THRUST BEARING 8103
Price
N/A
623
*DISCD*GRADUATED DIAL
Item is no longer available
Price
N/A
624
*DISCD*HANDWHEEL
Item is no longer available
Price
N/A
625
*DISCD*HANDLE
Item is no longer available
Price
N/A
626
CAP SCREW M5-.8 X 25
Price
N/A
627
*DISCD*HANDWHEEL SCREW
Item is no longer available
Price
N/A
628
SET SCREW M6-1 X 25
Price
N/A
629
CAP SCREW M5-.8 X 40
Price
N/A
630
*DISCD*HANDLE
$4.90
Enter quantity between 1 and 99
631
STEEL BALL 6MM
Price
N/A
632
*DISCD*COMPRESSION SPRING
Item is no longer available
Price
N/A
633
SET SCREW M6-1 X 16
Price
N/A
634
*DISCD*GIB ADJUSTING SCR
Item is no longer available
Price
N/A
635
*DISCD*COMPOUND SLIDE GIB
Item is no longer available
Price
N/A
636
Now: PN03M
HEX NUT M8-1.25
Price
N/A
637
*DISCD*SWIVEL SLIDE
Item is no longer available
Price
N/A
638
Now: PW01M
FLAT WASHER 8MM
Price
N/A
650A
*DISCD*COMPLETE TAILSTOCK ASSY
Item is no longer available
Price
N/A
651
*DISCD*GRADUATED DIAL
Item is no longer available
Price
N/A
652
CAP SCREW M6-1 X 20
Price
N/A
653
*DISCD*BEARING HOUSING
Item is no longer available
Price
N/A
654
Now: P8103
THRUST BEARING 8103
Price
N/A
655
Now: PK48M
KEY 4 X 4 X 20
Price
N/A
656
*DISCD*TAILSTOCK LEADSCREW
Item is no longer available
Price
N/A
657
CAP SCREW M6-1 X 16
Price
N/A
658
*DISCD*LEADSCREW NUT
Item is no longer available
Price
N/A
659
*DISCD*HANDLE KNOB
Item is no longer available
Price
N/A
660
*DISCD*HANDLE LEVER
Item is no longer available
Price
N/A
661
*DISCD*HANDLE BOLT
Item is no longer available
Price
N/A
662
*DISCD*SPACER
Item is no longer available
Price
N/A
663
*DISCD*BALL OILER 10MM
$3.20
Enter quantity between 1 and 99
664
*DISCD*TAILSTOCK CASTING
Item is no longer available
Price
N/A
665
STEEL BALL 6MM
Price
N/A
666
*DISCD*COMPRESSION SPRING
Item is no longer available
Price
N/A
667
*DISCD*HANDWHEEL
Item is no longer available
Price
N/A
668
SET SCREW M6-1 X 30
Price
N/A
669
*DISCD*HANDWHEEL SCREW
Item is no longer available
Price
N/A
670
*DISCD*HANDLE SCREW
Item is no longer available
Price
N/A
671
*DISCD*HANDLE
Item is no longer available
Price
N/A
672
CAP SCREW M8-1.25 X 70
Price
N/A
673
*DISCD*TAILSTOCK GIB
Item is no longer available
Price
N/A
674
*DISCD*GIB ADJUSTING SCR
Item is no longer available
Price
N/A
675
HEX BOLT M12-1.75 X 70
Price
N/A
676
Now: PW06M
FLAT WASHER 12MM
Price
N/A
677
*DISCD*CLAMP PLATE
Item is no longer available
Price
N/A
678
*DISCD*BLOCK
Item is no longer available
Price
N/A
679
*DISCD*TAILSTOCK BASE
Item is no longer available
Price
N/A
680
Now: PN02M
HEX NUT M10-1.5
Price
N/A
681
Now: PN01M
HEX NUT M6-1
Price
N/A
682
SET SCREW M6-1 X 16
Price
N/A
683
*DISCD*PIN 5 X 10
Item is no longer available
Price
N/A
684
*DISCD*ECCENTRIC SHAFT
Item is no longer available
Price
N/A
685
*DISCD*LOCK LEVER
Item is no longer available
Price
N/A
686
*DISCD*TAILSTOCK QUILL
Item is no longer available
Price
N/A
687
*DISCD*CLAMPING SLEEVE UPPER
Item is no longer available
Price
N/A
688
*DISCD*CLAMPING SLEEVE LOWER
Item is no longer available
Price
N/A
689
SET SCREW M10-1.5 X 40
Price
N/A
701
*DISCD*ADJUSTMENT KNOB
Item is no longer available
Price
N/A
702
SET SCREW M6-1 X 6
Price
N/A
703
*DISCD*BUSHING
Item is no longer available
Price
N/A
704
*DISCD*FOLLOW REST CASTING SCREW
Item is no longer available
Price
N/A
705
*DISCD*SLEEVE
Item is no longer available
Price
N/A
706
*DISCD*FINGER BRASS
Item is no longer available
Price
N/A
707
Now: PN01M
HEX NUT M6-1
Price
N/A
708
SET SCREW M6-1 X 6
Price
N/A
709
*DISCD*FOLLOW REST CASTING
Item is no longer available
Price
N/A
710
CAP SCREW M6-1 X 45
Price
N/A
751
*DISCD*DIAL
Item is no longer available
Price
N/A
752
*DISCD*PIN 3 X 12
Item is no longer available
Price
N/A
753
*DISCD*SHAFT
Item is no longer available
Price
N/A
754
*DISCD*PIN 3 X 20
Item is no longer available
Price
N/A
755
*DISCD*GEAR 32T
Item is no longer available
Price
N/A
756
*DISCD*THREAD DIAL BODY
Item is no longer available
Price
N/A
757
CAP SCREW M6-1 X 45
Price
N/A
801
*DISCD*ADJUSTMENT KNOB
Price
N/A
802
SET SCREW M6-1 X 6
Price
N/A
803
*DISCD*BUSHING
Item is no longer available
Price
N/A
804
*DISCD*ADJUSTMENT SCREW
Item is no longer available
Price
N/A
805
*DISCD*SLEEVE
Item is no longer available
Price
N/A
806
*DISCD*FINGER BRASS
Price
N/A
807
*DISCD*STEADY REST CASTING UPPER
Item is no longer available
Price
N/A
808
*DISCD*PIN 8 X 40
Item is no longer available
Price
N/A
809
SET SCREW M6-1 X 20
Price
N/A
810
Now: PN01M
HEX NUT M6-1
Price
N/A
811
*DISCD*STEADY REST CASTING LOWER
Item is no longer available
Price
N/A
812
*DISCD*LOCK PIN
Item is no longer available
Price
N/A
813
Now: PN09M
HEX NUT M12-1.75
Price
N/A
814
Now: PW06M
FLAT WASHER 12MM
Price
N/A
815
*DISCD*CLAMP PLATE
Item is no longer available
Price
N/A
816
Now: PW06M
FLAT WASHER 12MM
Price
N/A
817
HEX BOLT M12-1.75 X 80
Price
N/A
818
*DISCD*KNURLED KNOB
Item is no longer available
Price
N/A
819
*DISCD*LOCK BOLT
Item is no longer available
Price
N/A
851
*DISCD*GEAR 30T
Item is no longer available
Price
N/A
852
*DISCD*GEAR 40T
$71.60
Enter quantity between 1 and 99
853
CAP SCREW M5-.8 X 16
Price
N/A
854
*DISCD*GEAR 25T WASHER
Item is no longer available
Price
N/A
855
*DISCD*GEAR 25T
Item is no longer available
Price
N/A
856
*DISCD*PIVOT ARM
Item is no longer available
Price
N/A
857
Now: PK19M
KEY 5 X 5 X 14
Price
N/A
858
*DISCD*THREADED SHAFT
Item is no longer available
Price
N/A
859
*DISCD*SLEEVE
Item is no longer available
Price
N/A
860
Now: G3850
Bearing - 35mm x 17mm
Price
N/A
861
Now: PR21M
INT RETAINING RING 35MM
Price
N/A
862
*DISCD*GEAR 120T/127T
$164.45
Enter quantity between 1 and 99
863
Now: PW04M
FLAT WASHER 10MM
Price
N/A
864
Now: PN02M
HEX NUT M10-1.5
Price
N/A
865
Now: PN09M
HEX NUT M12-1.75
Price
N/A
866
Now: PW06M
FLAT WASHER 12MM
Price
N/A
867
*DISCD*THREADED STUD
Item is no longer available
Price
N/A
868
Now: PK19M
KEY 5 X 5 X 14
Price
N/A
869
*DISCD*GEAR 50T
$76.50
Enter quantity between 1 and 99
870
*DISCD*GEAR 50T FLAT WASHER
Item is no longer available
Price
N/A
871
CAP SCREW M6-1 X 16
Price
N/A
872
*DISCD*GEAR 32T
Item is no longer available
Price
N/A
873
*DISCD*GEAR 40T
Item is no longer available
Price
N/A
874
*DISCD*COVER FRONT
Item is no longer available
Price
N/A
875
CAP SCREW M6-1 X 20
Price
N/A
877
*DISCD*DOOR BRACKET
Item is no longer available
Price
N/A
878
*DISCD*PIN 6 X 25
Item is no longer available
Price
N/A
879
*DISCD*HINGE UPPER
Item is no longer available
Price
N/A
880
*DISCD*HINGE PIN
Item is no longer available
Price
N/A
881
*DISCD*HINGE LOWER
Item is no longer available
Price
N/A
882
*DISCD*DOOR SIDE
Item is no longer available
Price
N/A
883
CAP SCREW M5-.8 X 10
Price
N/A
884
*DISCD*BRACKET
Item is no longer available
Price
N/A
885
Now: PS03M
PHLP HD SCR M6-1 X 8
Price
N/A
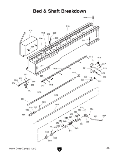
904
*DISCD*THREADED STUD
Item is no longer available
Price
N/A
905
*DISCD*ELECTRICAL BOX
Item is no longer available
Price
N/A
906
*DISCD*GAP
Item is no longer available
Price
N/A
907
CAP SCREW M10-1.5 X 40
Price
N/A
908
Now: PN03M
HEX NUT M8-1.25
Price
N/A
909
*DISCD*THREADED PIN M8-1.25
Item is no longer available
Price
N/A
910
*DISCD*BED
Item is no longer available
Price
N/A
911
Now: PB51M
HEX BOLT M16-2 X 50
Price
N/A
912
CAP SCREW M6-1 X 25
Price
N/A
913
*DISCD*PIN 6 X 35
Item is no longer available
Price
N/A
914
*DISCD*RACK LONG
Item is no longer available
Price
N/A
915
*DISCD*RACK SHORT
Item is no longer available
Price
N/A
916
*DISCD*BALL OILER 10MM
Price
N/A
917
*DISCD*PLUG
Item is no longer available
Price
N/A
918
*DISCD*PLUG
Item is no longer available
Price
N/A
919
CAP SCREW M8-1.25 X 55
Price
N/A
920
*DISCD*PIN 8 X 55
Item is no longer available
Price
N/A
921
*DISCD*END BRACKET
Item is no longer available
Price
N/A
922
Now: P8104
THRUST BEARING 8104
Price
N/A
923
SET SCREW M8-1.25 X 10
Price
N/A
924
*DISCD*LEADSCREW END BUSHING
Item is no longer available
Price
N/A
925
*DISCD*LONGITUDINAL LEADSCREW 7/8-8 X 52
$507.15
Enter quantity between 1 and 99
926
*DISCD*PIN 5 X 40
$1.75
Enter quantity between 1 and 99
927
*DISCD*LOCK COLLAR
Item is no longer available
Price
N/A
928
*DISCD*FEED ROD
Item is no longer available
Price
N/A
929
*DISCD*COMPRESSION SPRING
Item is no longer available
Price
N/A
930
STEEL BALL 6MM
Price
N/A
931
*DISCD*CLUTCH
Item is no longer available
Price
N/A
932
Now: PN01M
HEX NUT M6-1
Price
N/A
933
SET SCREW M6-1 X 20
Price
N/A
934
*DISCD*PIN 3 X 20
Item is no longer available
Price
N/A
935
*DISCD*CONTROL FORK
$28.75
Enter quantity between 1 and 99
936
*DISCD*CONTROL HANDLE
Item is no longer available
Price
N/A
937
*DISCD*HANDLE KNOB M10-1.5
Price
N/A
938
CAP SCREW M6-1 X 16
Price
N/A
939
*DISCD*CONTROL BRACKET
Item is no longer available
Price
N/A
940
STEEL BALL 6MM
Price
N/A
941
*DISCD*COMPRESSION SPRING
$1.75
Enter quantity between 1 and 99
942
SET SCREW M8-1.25 X 8
Price
N/A
943
*DISCD*COMPRESSION SPRING
$57.50
Enter quantity between 1 and 99
944
*DISCD*SLEEVE
$19.00
Enter quantity between 1 and 99
945
*DISCD*CONTROL ROD
Item is no longer available
Price
N/A
946
SET SCREW M3-.5 X 6
Price
N/A
947
Now: PK24M
KEY 5 X 5 X 37
Price
N/A
948
SET SCREW M8-1.25 X 16
Price
N/A
949
*DISCD*LOCK COLLAR
Item is no longer available
Price
N/A
950
*DISCD*SHIFT COLLAR
Item is no longer available
Price
N/A
951
SET SCREW M6-1 X 16
Price
N/A
952
*DISCD*PIN 16 X 40
Item is no longer available
Price
N/A
953
*DISCD*STOP STUD M12-1.75 X 40
Item is no longer available
Price
N/A
954
*DISCD*GRADUATED DIAL
Item is no longer available
Price
N/A
955
*DISCD*PIN 3 X 6
Item is no longer available
Price
N/A
956
*DISCD*SHAFT
Item is no longer available
Price
N/A
957
*DISCD*BRACKET
Item is no longer available
Price
N/A
958
SET SCREW M6-1 X 10
Price
N/A
959
*DISCD*CLAMP PLATE
Item is no longer available
Price
N/A
960
CAP SCREW M6-1 X 20
Price
N/A
961
*DISCD*SHEAR PIN 5 X 40
$1.75
Enter quantity between 1 and 99
1001
*DISCD*SPLASH GUARD
Item is no longer available
Price
N/A
1002
Now: PS68M
PHLP HD SCR M6-1 X 10
Price
N/A
1003
*DISCD*COVER RIGHT SIDE
Item is no longer available
Price
N/A
1004
*DISCD*COOLANT TANK
Item is no longer available
Price
N/A
1005
*DISCD*BED STAND
Item is no longer available
Price
N/A
1006
*DISCD*COOLANT SCREEN
Item is no longer available
Price
N/A
1007
*DISCD*WIRE CONDUIT
Item is no longer available
Price
N/A
1008
*DISCD*WIRE CONDUIT SUPPORT
Item is no longer available
Price
N/A
1009
*DISCD*PLHP HD SCR M5-.8 X 80
Item is no longer available
Price
N/A
1010
*DISCD*PLHP HD SCR M5-.8 X 80
Price
N/A
1011
*DISCD*LOCKING PLATE
Item is no longer available
Price
N/A
1012
*DISCD*EYE BOLT M8-1.25 x 30
Item is no longer available
Price
N/A
1013
*DISCD*TENSION SPRING
Item is no longer available
Price
N/A
1014
*DISCD*CONNECTING BAR
Item is no longer available
Price
N/A
1015
*DISCD*MOTOR COVER REAR
Item is no longer available
Price
N/A
1016
*DISCD*TERMINAL BOX
Item is no longer available
Price
N/A
1017
*DISCD*TERMINAL BOX COVER
Item is no longer available
Price
N/A
1018
Now: PN13M
HEX NUT M16-2
Price
N/A
1019
*DISCD*MOTOR MOUNT WASHER 16MM
Item is no longer available
Price
N/A
1020
*DISCD*MOTOR BOLT
Item is no longer available
Price
N/A
1021
*DISCD*MOTOR MOUNT
Item is no longer available
Price
N/A
1022
SET SCREW M8-1.25 X 12
Price
N/A
1023
*DISCD*MOTOR PULLEY
Item is no longer available
Price
N/A
1024
*DISCD*END ROD SUPPORT
Item is no longer available
Price
N/A
1025
*DISCD*MOUNTING PLATE
Item is no longer available
Price
N/A
1026
Now: PN13M
HEX NUT M16-2
Price
N/A
1027
SET SCREW M8-1.25 X 10
Price
N/A
1028
*DISCD*ROD SUPPORT
Item is no longer available
Price
N/A
1029
Now: PN01M
HEX NUT M6-1
Price
N/A
1030
*DISCD*END NAIL SUPPORT
Item is no longer available
Price
N/A
1031
*DISCD*PIN 5 X 20
Item is no longer available
Price
N/A
1032
Now: PS06M
PHLP HD SCR M5-.8 X 20
Price
N/A
1033
*DISCD*ADJUSTMENT BRACKET
Item is no longer available
Price
N/A
1034
Now: PS88M
PHLP HD SCR M8-1.25 X 50
Price
N/A
1035
Now: PN03M
HEX NUT M8-1.25
Price
N/A
1036
*DISCD*PIN 5 X 40
Item is no longer available
Price
N/A
1037
*DISCD*CONNECTING SHAFT
Item is no longer available
Price
N/A
1038
*DISCD*FORK
Item is no longer available
Price
N/A
1039
*DISCD*PIN 2 X 20
Item is no longer available
Price
N/A
1040
SET SCREW M8-1.25 X 30
Price
N/A
1041
*DISCD*COVER LEFT SIDE
Item is no longer available
Price
N/A
1042
*DISCD*BRAKE SHAFT SUPPORT
Item is no longer available
Price
N/A
1043
*DISCD*PIN 5 X 20
Item is no longer available
Price
N/A
1044
CAP SCREW M6-1 X 16
Price
N/A
1045
*DISCD*BRAKE SHAFT LONG
Item is no longer available
Price
N/A
1046
*DISCD*PIN 5 X 30
Item is no longer available
Price
N/A
1047
*DISCD*BRAKE SHAFT SHORT
Item is no longer available
Price
N/A
1048
*DISCD*LIFTING HOLE COVER
Item is no longer available
Price
N/A
1049
*DISCD*BRAKE PEDAL
Item is no longer available
Price
N/A
1050
*DISCD*COOLANT TRAY COVER
Item is no longer available
Price
N/A
1052
*DISCD*SIDE DOOR SWITCH
Item is no longer available
Price
N/A
1053
*DISCD*MOTOR 3HP 220V 1PH
Item is no longer available
Price
N/A
1053-1
*DISCD*MOTOR FAN COVER
Item is no longer available
Price
N/A
1053-2
*DISCD*MOTOR FAN
Item is no longer available
Price
N/A
1053-3
*DISCD*S CAPACITOR 150M 250V 3 X 2"
Item is no longer available
Price
N/A
1053-4
*DISCD*R CAPACITOR 30M 500V 3 X 2"
Item is no longer available
Price
N/A
1053-5
*DISCD*CAPACITOR COVER
Item is no longer available
Price
N/A
1053-6
*DISCD*MOTOR WIRING JUNCTION BOX
Item is no longer available
Price
N/A
1054
*DISCD*COOLANT PUMP 40W 220V 1PH
Item is no longer available
Price
N/A
1055
Now: PW03M
FLAT WASHER 6MM
Price
N/A
1056
*DISCD*KILL SWITCH
Item is no longer available
Price
N/A
1057
*DISCD*HALOGEN LAMP ASSY
$157.00
Enter quantity between 1 and 99
1057-1
*DISCD*LAMP BODY
Item is no longer available
Price
N/A
1057-2
HALOGEN BULB 50W 24V BI-PIN
Price
N/A
1057-3
*DISCD*BULB COVER
Item is no longer available
Price
N/A
1057-4
*DISCD*BULB COVER RETAINER
Item is no longer available
Price
N/A
1057-5
Now: PS55M
PHLP HD SCR M3-.5 X 10
Price
N/A
1057-6
*DISCD*LAMP BODY CORD
Item is no longer available
Price
N/A
1058
Now: PS15M
PHLP HD SCR M6-1 X 14
Price
N/A
1059
CAP SCREW M8-1.25 X 25
Price
N/A
1060
*DISCD*COOLANT NOZZLE
Item is no longer available
Price
N/A
1061
*DISCD*COOLANT ON/OFF VALVE
Item is no longer available
Price
N/A
1062
*DISCD*COOLANT TANK HOSE
$57.50
Enter quantity between 1 and 99
1101
*DISCD*CONTACTOR TIAN GSC1-1201 220V
$135.70
Enter quantity between 1 and 99
1102
*DISCD*CONTACTOR TIAN JZC3-40D 220V
Item is no longer available
Price
N/A
1103
*DISCD*FUSE HOLDER
Item is no longer available
Price
N/A
1104
*DISCD*TRANSFORMER JBK5-100VATH
Item is no longer available
Price
N/A
1105
*DISCD*TERMINAL BLOCK 22-P
Item is no longer available
Price
N/A
1106
*DISCD*GROUNDING BLOCK
Item is no longer available
Price
N/A
1107
*DISCD*CORD COVER SMALL
Item is no longer available
Price
N/A
1108
*DISCD*CORD COVER LARGE
Item is no longer available
Price
N/A
1109
*DISCD*STRAIN RELIEF LARGE
Item is no longer available
Price
N/A
1110
*DISCD*STRAIN RELIEF SMALL
Item is no longer available
Price
N/A
1111
*DISCD*MAIN MOTOR CORD
Item is no longer available
Price
N/A
1112
*DISCD*PUMP MOTOR CORD
Item is no longer available
Price
N/A
1113
*DISCD*SPINDLE SWITCH
Item is no longer available
Price
N/A
1114
*DISCD*SPINDLE SWITCH
Item is no longer available
Price
N/A
1115
*DISCD*SPINDLE SWITCH CORD
Item is no longer available
Price
N/A
1116
*DISCD*CONTROL PANEL CORD
Item is no longer available
Price
N/A
1117
*DISCD*CERAMIC TERMINAL BLOCK 2C
Item is no longer available
Price
N/A
1118
*DISCD*SIDE DOOR SWITCH CORD
Item is no longer available
Price
N/A
1119
*DISCD*BRAKE SWITCH CORD
Item is no longer available
Price
N/A
1120
*DISCD*FUSE 32A
Item is no longer available
Price
N/A
1121
*DISCD*OL RELAY JUCHE JR29-16 12-17.6A
$107.55
Enter quantity between 1 and 99
1122
*DISCD*OL RELAY JUCHE JR29-16 0.35-0.52A
Item is no longer available
Price
N/A
1123
*DISCD*MAIN POWER SWITCH
$76.50
Enter quantity between 1 and 99
1124
*DISCD*MAIN POWER SWITCH CORD
Item is no longer available
Price
N/A
1125
*DISCD*POWER TERMINAL BOX
Item is no longer available
Price
N/A
1126
*DISCD*POWER TERMINAL BOX COVER
Item is no longer available
Price
N/A
1127
*DISCD*TERMINAL BLOCK 8-P
Item is no longer available
Price
N/A
1128
Now: PS32M
PHLP HD SCR M8-1.25 X 25
Price
N/A
1129
*DISCD*POWER CORD
Item is no longer available
Price
N/A
1201
*DISCD*CHUCK 3-JAW 6" ASSY
$742.90
Enter quantity between 1 and 99
1201-1
*DISCD*CHUCK 3-JAW BOTTOM QTY 1
Item is no longer available
Price
N/A
1201-2
*DISCD*CHUCK 3-JAW TOP QTY 1
Item is no longer available
Price
N/A
1202
*DISCD*CHUCK 4-JAW 8" ASSY
$742.90
Enter quantity between 1 and 99
1203
*DISCD*FACEPLATE 12
$271.70
Enter quantity between 1 and 99
1204
*DISCD*FOOT PAD
$37.95
Enter quantity between 1 and 99
1205
*DISCD*LEVELING BOLT M12-1.75 X 50
$4.90
Enter quantity between 1 and 99
1206
*DISCD*HEX NUT M12-1.75 THIN
$1.75
Enter quantity between 1 and 99
1207
*DISCD*TOOLBOX
Item is no longer available
Price
N/A
1208
*DISCD*LATHE CHUCK KEY 9.6MM STD
Price
N/A
1209
*DISCD*OIL CAN
$19.00
Enter quantity between 1 and 99
1210
*DISCD*TAPERED SLEEVE MT#5-MT#3
$76.50
Enter quantity between 1 and 99
1211
WRENCH 9 X 11MM OPEN-ENDS
Price
N/A
1212
WRENCH 10 X 12MM OPEN-ENDS
Price
N/A
1213
WRENCH 12 X 14MM OPEN-ENDS
Price
N/A
1214
WRENCH 14 X 17MM OPEN-ENDS
Price
N/A
1215
*DISCD*SPINDLE LOCK KEY
$37.95
Enter quantity between 1 and 99
1217
*DISCD*DEAD CENTER MT#3 CARBIDE TIP
$128.80
Enter quantity between 1 and 99
1218
HEX WRENCH 2.5MM
Price
N/A
1219
HEX WRENCH 3MM
Price
N/A
1220
HEX WRENCH 4MM
Price
N/A
1221
HEX WRENCH 5MM
Price
N/A
1222
HEX WRENCH 6MM
Price
N/A
1223
HEX WRENCH 8MM
Price
N/A
1224
Now: PSDF2
SCREWDRIVER FLAT #2
Price
N/A
1225
Now: PSDP2
SCREWDRIVER PHILLIPS #2
Price
N/A
1226
*DISCD*CHANGE GEAR 30T
$44.30
Enter quantity between 1 and 99
1227
*DISCD*CHANGE GEAR 32T
$46.00
Enter quantity between 1 and 99
1228
*DISCD*CHANGE GEAR 35T
$48.90
Enter quantity between 1 and 99
1229
*DISCD*CHANGE GEAR 40T
$53.50
Enter quantity between 1 and 99
1230
*DISCD*CHANGE GEAR 48T
Item is no longer available
Price
N/A
1231
*DISCD*LATHE CHUCK KEY 9.6MM STD
Price
N/A
1232
*DISCD*TOOL POST 4-WAY WRENCH
$57.50
Enter quantity between 1 and 99
1233
*DISCD*DEAD CENTER MT#3 HSS
$76.50
Enter quantity between 1 and 99
1251
LATHE CONFIGURATION LABEL
Item is no longer available
Price
N/A
1252
MODEL NUMBER LABEL
Item is no longer available
Price
N/A
1253
Now: G8589
Nameplate - Large
Price
N/A
1254
ELECTRICITY 1.4W X 1.2H
Price
N/A
1255
MACHINE ID LABEL
Item is no longer available
Price
N/A
1256
ENTANGLEMENT HAZARD 2W X 3.3H
Price
N/A
1257
DISCONNECT HARDWIRED POWER 2W X 3.3H
Price
N/A
1258
N/S GRIZZLY GREEN G1023S
Price
N/A
1259
GREY PUTTY REF G0504
Price
N/A
MAN
MANUAL FOR G0554Z 05/09
Item is no longer available
Price
N/A