Parts for G0633 12" Jointer / Planer

Parts Diagrams for G0633 - 12" Jointer / Planer

IMPORTANT

Parts may have multiple versions that have changed over time. This will be indicated by V1, V2, V3, etc. in the parts description, followed by the version month and year that it was first used. Example: V2.01.17 indicates version 2 of a part went into use in January 2017. Please reference the manufacture date on the ID Label for your machine to ensure you are selecting the correct part when multiple versions are indicated.

If you cannot locate your part below, please contact our tech support department at techsupport@grizzly.com or 570-546-9663.

Please note: All parts ship out of our Springfield, Missouri facility.

Parts List for Parts for G0633 12" Jointer / Planer

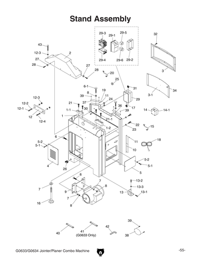
1
FRAME
$1,111.25
Enter quantity between 1 and 99
1-1
HINGE SHAFT BRACKET RIGHT
$67.65
Enter quantity between 1 and 99
1-2
HINGE SHAFT BRACKET LEFT
$64.95
Enter quantity between 1 and 99
2
DRIVE SHAFT COVER
$70.35
Enter quantity between 1 and 99
3
COVER FRAME
$99.35
Enter quantity between 1 and 99
3-1
COVER
$43.50
Enter quantity between 1 and 99
4
DOOR
$51.35
Enter quantity between 1 and 99
5
SIDE OPENING COVER
$16.95
Enter quantity between 1 and 99
5-1
Now: PB09
HEX BOLT 5/16-18 X 1/2
Price
N/A
5-2
Now: PW07
FLAT WASHER 5/16
Price
N/A
6
Now: PCB22
CARRIAGE BOLT 3/8-16 X 1
Price
N/A
6-1
PLATE SCREW 3/8-16 X 2
$4.60
Enter quantity between 1 and 99
7
Now: PW02
FLAT WASHER 3/8
Price
N/A
8
Now: PN08
HEX NUT 3/8-16
Price
N/A
9
MOTOR BRACKET
$45.35
Enter quantity between 1 and 99
10
PLANER SCALE
$5.50
Enter quantity between 1 and 99
11
RIVET 2 X 5MM NAMEPLATE, STEEL
Price
N/A
12
REINFORCEMENT PLATE
$4.60
Enter quantity between 1 and 99
12-1
Now: PB32
HEX BOLT 5/16-18 X 5/8
Price
N/A
12-2
Now: PW07
FLAT WASHER 5/16
Price
N/A
12-3
Now: PN02
HEX NUT 5/16-18
Price
N/A
12-4
Now: PB17
HEX BOLT 5/16-18 X 2-3/4
Price
N/A
13
SQUARE SUPPORT
$3.65
Enter quantity between 1 and 99
13-1
Now: PB09
HEX BOLT 5/16-18 X 1/2
Price
N/A
13-2
TAP SCREW 1/4 X 1
Price
N/A
13-3
Now: PW06
FLAT WASHER 1/4
Price
N/A
14
SWITCH BOX W/O SWITCH
$15.15
Enter quantity between 1 and 99
14-1
SWITCH KNOB
$26.10
Enter quantity between 1 and 99
15
EMERGENCY STOP SWITCH CORD
$6.40
Enter quantity between 1 and 99
16
KNOB BOLT 3/8-16
$4.70
Enter quantity between 1 and 99
17
STRAIN RELIEF 3/4"
$3.40
Enter quantity between 1 and 99
18
POWER CORD
$59.80
Enter quantity between 1 and 99
19
DEPTH SCALE
$1.60
Enter quantity between 1 and 99
20
LIMIT SWITCH CORD
$6.05
Enter quantity between 1 and 99
21
CAP SCREW 3/8-16 X 1
Price
N/A
21-1
CAP SCREW 3/8-16 X 1-1/2
Price
N/A
22
Now: PB02
HEX BOLT 1/4-20 X 5/8
Price
N/A
23
Now: PW06
FLAT WASHER 1/4
Price
N/A
24
GROMMET
$1.60
Enter quantity between 1 and 99
25
GROMMET
$1.60
Enter quantity between 1 and 99
26
STRAIN RELIEF 3/4"
Price
N/A
27
Now: PW06
FLAT WASHER 1/4
Price
N/A
28
Now: PB51
HEX BOLT 1/4-20 X 3/8
Price
N/A
29
MAGNETIC SWITCH ASSY SDE MP-18
$123.20
Enter quantity between 1 and 99
29-1
MAG SWITCH FRONT COVER
$28.10
Enter quantity between 1 and 99
29-2
MAG SWITCH BACK COVER
$34.45
Enter quantity between 1 and 99
29-3
CONTACTOR
$105.10
Enter quantity between 1 and 99
29-4
OL RELAY SDE RA-30 18-26A
$56.95
Enter quantity between 1 and 99
29-5
ON BUTTON
$2.45
Enter quantity between 1 and 99
29-6
OFF BUTTON
$8.20
Enter quantity between 1 and 99
30
Now: PS22
PHLP HD SCR 10-24 X 5/8
Price
N/A
31
STRAIN RELIEF M16 TYPE-6 ST
$1.60
Enter quantity between 1 and 99
32
Now: PS103
PHLP HD SCR 1/4-20 X 5/16
Price
N/A
34
Now: PN05
HEX NUT 1/4-20
Price
N/A
35
POINTER
$4.30
Enter quantity between 1 and 99
35-1
Now: PS18
PHLP HD SCR 10-24 X 1/4
Price
N/A
36
PROTECTION PLATE LEFT
$4.60
Enter quantity between 1 and 99
37
PROTECTION PLATE RIGHT
$4.60
Enter quantity between 1 and 99
38
Now: G8588
Nameplate - Small
Price
N/A
39
TAP SCREW #5 X 3/8
Price
N/A
40
WRENCH 12 X 14MM OPEN-ENDS
Price
N/A
41
WRENCH 8 X 10MM OPEN-ENDS
Price
N/A
42
HEX WRENCH 3MM
Price
N/A
43
COVER SCREW 5/16-18 X 1-1/2
$3.65
Enter quantity between 1 and 99
49
*DISCD*KNOB 1/4-20 X 1/2
Item is no longer available
Price
N/A
51
CABLE CLAMP
$1.60
Enter quantity between 1 and 99
52
Now: PN07
HEX NUT 10-24
Price
N/A
101
INFEED TABLE V1.05.07
$344.15
Enter quantity between 1 and 99
101V2
INFEED TABLE V2.03.08
$576.00
Enter quantity between 1 and 99
102
OUTFEED TABLE
$594.10
Enter quantity between 1 and 99
103
TABLE LIP
$19.60
Enter quantity between 1 and 99
104-1A
PLANER DUST PORT V2.09.07
$10.30
Enter quantity between 1 and 99
104-2
JOINTER DUST PORT/RECTANGLE HOLE
$12.10
Enter quantity between 1 and 99
105
HINGE SHAFT A
$46.20
Enter quantity between 1 and 99
106
HINGE SHAFT B
$49.85
Enter quantity between 1 and 99
107
OUTFEED TABLE ADJ KNOB
$10.00
Enter quantity between 1 and 99
108
GUIDE SCREW
$4.60
Enter quantity between 1 and 99
109
Now: PN01
HEX NUT 1/2-20
Price
N/A
110
INFEED HANDGRIP
$29.95
Enter quantity between 1 and 99
111
INFEED LOCK LEVER
$14.90
Enter quantity between 1 and 99
112
OUTFEED LOCK LEVER
$10.90
Enter quantity between 1 and 99
113
PLASTIC KNOB
$2.75
Enter quantity between 1 and 99
114
Now: PR03M
EXT RETAINING RING 12MM
Price
N/A
115
CUTTERHEAD GUARD BRACKET V1
$11.85
Enter quantity between 1 and 99
115V2
CUTTERHEAD GUARD BRACKET V2.04.16
$10.90
Enter quantity between 1 and 99
116
Now: PW06
FLAT WASHER 1/4
Price
N/A
117
Now: PB07
HEX BOLT 5/16-18 X 3/4
Price
N/A
118
KNOB SCREW 1/4-20 X 1/2
$3.35
Enter quantity between 1 and 99
119
Now: PS18
PHLP HD SCR 10-24 X 1/4
Price
N/A
120
Now: PW07
FLAT WASHER 5/16
Price
N/A
121
CAP SCREW 5/16-18 X 3/4
Price
N/A
122
Now: PB31
HEX BOLT 1/4-20 X 1
Price
N/A
122V2
Now: PB03
HEX BOLT 5/16-18 X 1
Price
N/A
124
CAP SCREW 3/8-16 X 1-1/4
Price
N/A
125
Now: PN02
HEX NUT 5/16-18
Price
N/A
126
CAP SCREW 1/4-20 X 1/2
Price
N/A
128
CAP SCREW 5/16-18 X 3/8
Price
N/A
129
HANDLE
$4.60
Enter quantity between 1 and 99
130
PLUNGER SCREW 1/2
$7.90
Enter quantity between 1 and 99
131
PLUNGER
$12.05
Enter quantity between 1 and 99
132
COMPRESSION SPRING
$2.45
Enter quantity between 1 and 99
133
KNOB
$2.50
Enter quantity between 1 and 99
134
Now: W1400
Safety Push Block - Small
Price
N/A
200
CUTTERHEAD BLOCK
$64.95
Enter quantity between 1 and 99
201
CUTTERHEAD
Item is no longer available
Price
N/A
202
*DISCD*KNIFE
Item is no longer available
Price
N/A
203
*DISCD*GIB
Item is no longer available
Price
N/A
204
GIB BOLT
$1.60
Enter quantity between 1 and 99
205
COMPRESSION SPRING
$1.60
Enter quantity between 1 and 99
206
OUTFEED ROLLER
$40.25
Enter quantity between 1 and 99
207
INFEED ROLLER
$68.85
Enter quantity between 1 and 99
208
COVER V1
$66.35
Enter quantity between 1 and 99
208V2
COVER V2.04.16
$65.25
Enter quantity between 1 and 99
209
ALIGNMENT PIN
$1.60
Enter quantity between 1 and 99
210
PIVOT PIN
$18.15
Enter quantity between 1 and 99
211
SQUARE SUPPORT
$6.40
Enter quantity between 1 and 99
212
DOWEL
$5.50
Enter quantity between 1 and 99
213
COMPRESSION SPRING
$2.60
Enter quantity between 1 and 99
214
KEY 5 X 5 X 30
$1.60
Enter quantity between 1 and 99
215
DUST CHUTE
$112.30
Enter quantity between 1 and 99
215-4
L BRACKET
$4.60
Enter quantity between 1 and 99
215-5
PLATE
$6.40
Enter quantity between 1 and 99
215-6
BRACKET
$4.60
Enter quantity between 1 and 99
215-7
PLATE
$6.40
Enter quantity between 1 and 99
215-8
JDP PLASTIC PLATE
$11.85
Enter quantity between 1 and 99
215-9
PDF PLASTIC PLATE
$11.85
Enter quantity between 1 and 99
216
MOTOR PULLEY
$27.20
Enter quantity between 1 and 99
217
PULLEY STANDARD V1.05.07
$10.00
Enter quantity between 1 and 99
217V2
PULLEY METRIC V2.01.08
$14.50
Enter quantity between 1 and 99
218
SUPPORT
$6.70
Enter quantity between 1 and 99
219
ANTI KICKBACK FINGER
$3.65
Enter quantity between 1 and 99
220
SPACER
$1.60
Enter quantity between 1 and 99
221
Now: PSS07
SET SCREW 1/4-20 X 1/2
Price
N/A
222
Now: PR26M
INT RETAINING RING 52MM
Price
N/A
223
FLAT HD CAP SCR M5-.8 X 12 C10.9
Price
N/A
224
BALL BEARING 6205-2RS
Price
N/A
225
GUARD
$44.10
Enter quantity between 1 and 99
226
Now: PW06
FLAT WASHER 1/4
Price
N/A
227
Now: PB51
HEX BOLT 1/4-20 X 3/8
Price
N/A
228
Now: PSS11
SET SCREW 1/4-20 X 1/4
Price
N/A
228V2
SET SCREW M5-.8 X 4 V2.01.08
$1.60
Enter quantity between 1 and 99
229
Now: PSS07
SET SCREW 1/4-20 X 1/2
Price
N/A
229V2
SET SCREW 1/4-20 X 3/4 CONE-PT
Price
N/A
230
MOTOR 5HP 220V 1-PH
$567.55
Enter quantity between 1 and 99
230-1
JUNCTION BOX
$9.10
Enter quantity between 1 and 99
230-2
FAN COVER
$14.50
Enter quantity between 1 and 99
230-3
MOTOR FAN
$5.50
Enter quantity between 1 and 99
230-4
CAPACITOR COVER
$11.85
Enter quantity between 1 and 99
230-5
S CAPACITOR 400M 125V 1-3/8 X 3-1/8
$20.85
Enter quantity between 1 and 99
230-6
R CAPACITOR 50M 350V 2 X 3-1/2
Price
N/A
230-7
CENTRIFUGAL SWITCH 3450
$5.50
Enter quantity between 1 and 99
230-8
CONTACT PLATE
$7.90
Enter quantity between 1 and 99
230-9
MOTOR BEARING
$23.60
Enter quantity between 1 and 99
231
MOTOR CORD
$11.20
Enter quantity between 1 and 99
232
PIVOT PIN
$16.35
Enter quantity between 1 and 99
233
Now: PVM52
V-BELT M52 3L520
Price
N/A
234
CAP SCREW 5/16-18 X 3-1/4
Price
N/A
235
Now: PSS03
SET SCREW 1/4-20 X 3/8
Price
N/A
236
Now: PS06
PHLP HD SCR 10-24 X 3/8
Price
N/A
237
Now: PW03
FLAT WASHER #10
Price
N/A
238
KNIFE SETTING GAUGE ASSY
Item is no longer available
Price
N/A
238-1
KNIFE SETTING GAUGE FEET
Item is no longer available
Price
N/A
238-2
KNIFE SETTING GAUGE ROD
Item is no longer available
Price
N/A
238-3
E-CLIP 9MM
Price
N/A
239
SET SCREW M5-.8 X 6
Price
N/A
241
CUTTERHEAD ROTATION LABEL
$23.10
Enter quantity between 1 and 99
242
Now: PS06
PHLP HD SCR 10-24 X 3/8
Price
N/A
243
Now: PFS17
FLANGE SCREW 10-24 X 1/2
Price
N/A
244
Now: PN07
HEX NUT 10-24
Price
N/A
301
SPROCKET 66T
$29.30
Enter quantity between 1 and 99
302
SPROCKET 34T
$11.65
Enter quantity between 1 and 99
303
BUSHING
$4.45
Enter quantity between 1 and 99
304
SPROCKET 18T
$27.25
Enter quantity between 1 and 99
305
SPACER
$3.55
Enter quantity between 1 and 99
306
$7.55
Enter quantity between 1 and 99
307
BALL BEARING 6204-2RS
Price
N/A
308
TENSION SPRING
$3.65
Enter quantity between 1 and 99
309
BALL BEARING 608-2RS
Price
N/A
310
ROLLER CHAIN
$32.65
Enter quantity between 1 and 99
311
ROLLER CHAIN
$28.45
Enter quantity between 1 and 99
312
CONTACT WHEEL
$126.80
Enter quantity between 1 and 99
313
LEVER
$26.90
Enter quantity between 1 and 99
314
TENSION SPRING
$3.65
Enter quantity between 1 and 99
315
$4.60
Enter quantity between 1 and 99
316
CAM SHAFT
$5.50
Enter quantity between 1 and 99
317
ROLL PIN
$1.60
Enter quantity between 1 and 99
318
*DISCD*SPACER
Item is no longer available
Price
N/A
319
SPROCKET 19T
$21.75
Enter quantity between 1 and 99
320
Now: PR57M
INT RETAINING RING 22MM
Price
N/A
321
SPRING STUD
$3.65
Enter quantity between 1 and 99
322
Now: PW02
FLAT WASHER 3/8
Price
N/A
323
CAP SCREW 3/8-16 X 1/2
Price
N/A
324
LEVER
$3.65
Enter quantity between 1 and 99
325
Now: PSS02
SET SCREW 5/16-18 X 3/8
Price
N/A
326
Now: PSS12
SET SCREW 1/4-20 X 1
Price
N/A
327
Now: PN05
HEX NUT 1/4-20
Price
N/A
328
CAP SCREW 5/16-18 X 2
Price
N/A
329
Now: PW07
FLAT WASHER 5/16
Price
N/A
330
Now: PN02
HEX NUT 5/16-18
Price
N/A
331
Now: PW01
FLAT WASHER 1/2
Price
N/A
332
Now: PN06
HEX NUT 1/2-12
Price
N/A
333
BUSHING
$4.60
Enter quantity between 1 and 99
334
CAP SCREW 1/4-20 X 3/4
Price
N/A
335
CAP SCREW 1/4-20 X 3/8
Price
N/A
336
CAP SCREW 5/16-18 X 3/4
Price
N/A
337
Now: PLN01
LOCK NUT 3/8-16
Price
N/A
338
CAP SCREW 5/16-18 X 2-1/2
Price
N/A
401
PLANER TABLE
$374.40
Enter quantity between 1 and 99
402
COLUMN
$236.00
Enter quantity between 1 and 99
403
CYLINDER LINER
$108.45
Enter quantity between 1 and 99
404
LOCK SCREW
$9.10
Enter quantity between 1 and 99
405
COLLAR
$4.60
Enter quantity between 1 and 99
406
THICKNESS POINTER
$4.60
Enter quantity between 1 and 99
407
GEAR BOX
$23.60
Enter quantity between 1 and 99
408
BUSHING
$1.60
Enter quantity between 1 and 99
408-1
SELF LUBRICATING SHLDR BUSHING
$1.60
Enter quantity between 1 and 99
408-2
SELF LUBRICATION BUSHING
$1.60
Enter quantity between 1 and 99
409
GEAR
$18.15
Enter quantity between 1 and 99
410
WORM SHAFT
$23.60
Enter quantity between 1 and 99
411
ELEVATION LEAD SCREW
$12.05
Enter quantity between 1 and 99
412
SHIELD PLATE
$1.60
Enter quantity between 1 and 99
413
HANDWHEEL
$35.35
Enter quantity between 1 and 99
414
Now: PN02
HEX NUT 5/16-18
Price
N/A
415
UNIVERSAL LOCK LEVER
$17.85
Enter quantity between 1 and 99
417
ROLL PIN
$6.40
Enter quantity between 1 and 99
418
THRUST BEARING NTB1528 +2AS
$24.35
Enter quantity between 1 and 99
419
Now: PR79M
INT RETAINING RING 19MM
Price
N/A
420
BUSHING
$7.25
Enter quantity between 1 and 99
421
Now: PW07
FLAT WASHER 5/16
Price
N/A
422
Now: PLN03
LOCK NUT 5/16-18
Price
N/A
423
Now: PLW02
LOCK WASHER 1/4
Price
N/A
424
CAP SCREW 1/4-20 X 2-1/4
Price
N/A
425
Now: PR88M
INT RETAINING RING 8MM
Price
N/A
426
ROLL PIN 5 X 30
Price
N/A
427
Now: PSS05
SET SCREW 5/16-18 X 1/4
Price
N/A
428
FLAT WASHER
$4.60
Enter quantity between 1 and 99
429
Now: PLW04
LOCK WASHER 3/8
Price
N/A
430
Now: PB16
HEX BOLT 3/8-16 X 1-1/2
Price
N/A
431
Now: PSS01
SET SCREW 5/16-18 X 1
Price
N/A
432
CAP SCREW 3/8-16 X 1-1/4
Price
N/A
433
Now: PB09
HEX BOLT 5/16-18 X 1/2
Price
N/A
434
Now: PN08
HEX NUT 3/8-16
Price
N/A
435
Now: PSS36
SET SCREW 3/8-16 X 2
Price
N/A
436
Now: PS35
PHLP HD SCR 5/16-18 X 3/4
Price
N/A
437
HANDLE
$32.65
Enter quantity between 1 and 99
438
HANDLE SCREW 3/8-16 X 3-3/8
$9.10
Enter quantity between 1 and 99
501-1
SWING LEVER F
$7.25
Enter quantity between 1 and 99
501-2
SWING LEVER M
$7.25
Enter quantity between 1 and 99
501-3
LIMIT SWITCH BRACKET
$7.25
Enter quantity between 1 and 99
502
COMPRESSION SPRING
$1.60
Enter quantity between 1 and 99
503
TENSION SPRING
$3.65
Enter quantity between 1 and 99
504
SWITCH ACTIVATION ROD #1
$3.65
Enter quantity between 1 and 99
505
SWITCH ACTIVATION ROD #2
$3.55
Enter quantity between 1 and 99
506
SWITCH ACTIVATION ROD #3
$1.60
Enter quantity between 1 and 99
507
Now: PLN03
LOCK NUT 5/16-18
Price
N/A
508
Now: PW07
FLAT WASHER 5/16
Price
N/A
509
Now: PB03
HEX BOLT 5/16-18 X 1
Price
N/A
510
Now: PB09
HEX BOLT 5/16-18 X 1/2
Price
N/A
511
Now: PN02
HEX NUT 5/16-18
Price
N/A
512
CAP SCREW 10-24 X 1-1/4
Price
N/A
513
CAP SCREW 1/4-20 X 1
Price
N/A
514
*DISCD*LIMIT SWITCH
Item is no longer available
Price
N/A
515
LIMIT SWITCH CONTROL CORD
$7.25
Enter quantity between 1 and 99
601
FENCE BASE
$81.55
Enter quantity between 1 and 99
602
ADJUSTMENT TUBE W/RACK
$125.05
Enter quantity between 1 and 99
603
TRUNNION BRACKET
$42.30
Enter quantity between 1 and 99
604
TRUNNION
$55.55
Enter quantity between 1 and 99
604-1
FENCE ANGLE SCALE
$1.60
Enter quantity between 1 and 99
605
PIVOT STUD
$3.65
Enter quantity between 1 and 99
606
SPACER
$3.65
Enter quantity between 1 and 99
607
ADJUSTMENT SCREW
$5.65
Enter quantity between 1 and 99
608
ADJUSTMENT ROD
$7.05
Enter quantity between 1 and 99
609
FENCE
$315.20
Enter quantity between 1 and 99
610
SLIDING BOLT
$10.00
Enter quantity between 1 and 99
611
ECCENTRIC SHAFT
$14.50
Enter quantity between 1 and 99
612
LOCK KNOB 3/8"-16
$14.50
Enter quantity between 1 and 99
613
PINION SHAFT
$16.35
Enter quantity between 1 and 99
614
FENCE SUPPORT
$113.85
Enter quantity between 1 and 99
615
PLASTIC PROTECTION SHOE
$1.60
Enter quantity between 1 and 99
616
BUSHING
$1.60
Enter quantity between 1 and 99
617
Now: PB03
HEX BOLT 5/16-18 X 1
Price
N/A
618
Now: PLW01
LOCK WASHER 5/16
Price
N/A
619
Now: PLN03
LOCK NUT 5/16-18
Price
N/A
620
Now: PW07
FLAT WASHER 5/16
Price
N/A
621
CUTTER KNIFE GUARD
$15.70
Enter quantity between 1 and 99
622
DOVETAIL BRACKET FOR QUICK RELEASE
$39.60
Enter quantity between 1 and 99
623
Now: PW06
FLAT WASHER 1/4
Price
N/A
624
Now: PFH19
FLAT HD SCR 1/4-20 X 3/8
Price
N/A
625
TUBE LOCKING SHOE
$39.60
Enter quantity between 1 and 99
626
UNIVERSAL LOCK LEVER
$6.40
Enter quantity between 1 and 99
627
UNIVERSAL LOCK LEVER
$7.90
Enter quantity between 1 and 99
628
POINTER
$1.60
Enter quantity between 1 and 99
629
Now: PW06
FLAT WASHER 1/4
Price
N/A
630
Now: PS07
PHLP HD SCR 1/4-20 X 3/8
Price
N/A
631
Now: PSS03
SET SCREW 1/4-20 X 3/8
Price
N/A
632
Now: PS22
PHLP HD SCR 10-24 X 5/8
Price
N/A
633
Now: PB12
HEX BOLT 5/16-18 X 1-1/4
Price
N/A
634
Now: PSS01
SET SCREW 5/16-18 X 1
Price
N/A
635
Now: PN02
HEX NUT 5/16-18
Price
N/A
636
CONTROL KNOB
$18.15
Enter quantity between 1 and 99
636-1
Now: PR01M
EXT RETAINING RING 10MM
Price
N/A
637
Now: PB05
HEX BOLT 1/4-20 X 3/4
Price
N/A
638
Now: PN05
HEX NUT 1/4-20
Price
N/A
639
Now: PB97
HEX BOLT 1/4-20 X 3-1/4
Price
N/A
640
Now: PSS11
SET SCREW 1/4-20 X 1/4
Price
N/A
641
KNOB SCREW 1/4
$3.40
Enter quantity between 1 and 99
642
Now: PB19
HEX BOLT 1/4-20 X 1/2
Price
N/A
643
CAP SCREW 1/4-20 X 1
Price
N/A
644
Now: PW06
FLAT WASHER 1/4
Price
N/A
645
Now: PW03M
FLAT WASHER 6MM
Price
N/A
646
Now: PSS29
SET SCREW 10-24 X 1/4
Price
N/A
647
FENCE BASE PLATE
$9.10
Enter quantity between 1 and 99
701
CUTTERHEAD GUARD
$130.15
Enter quantity between 1 and 99
702
ROLL PIN 6 X 36
Price
N/A
703
GUARD TORSION PIN
$7.25
Enter quantity between 1 and 99
704
ROLL PIN 5 X 35
Price
N/A
705
TORSION SPRING
$3.65
Enter quantity between 1 and 99
707
Now: PR48M
EXT RETAINING RING 11MM
Price
N/A
710
WAVY WASHER 12MM
$5.50
Enter quantity between 1 and 99
800
READ MANUAL 2W X 3.3H V2.07.05
Price
N/A
801
GLASSES/RESPIRATOR 2W X 3.3H
Price
N/A
802
MACHINE ID LABEL
$16.40
Enter quantity between 1 and 99
803
CUTTERHEAD GUARD WARNING LABEL
$23.10
Enter quantity between 1 and 99
804
EAR PROTECTION 2W X 3.3H V2.04.08
Price
N/A
805
DISCONNECT POWER LABEL
$1.05
Enter quantity between 1 and 99
806
CHANGING OPERATIONS WARNING LABEL
$1.05
Enter quantity between 1 and 99
807
N/S GRIZZLY GREEN G1023S
Price
N/A
808
GREY PUTTY REF G0504
Price
N/A
809
ELECTRICITY 1.4W X 1.2H
Price
N/A
810
MODEL NUMBER LABEL
Item is no longer available
Price
N/A
811
TABLE LOCK KNOB NOTICE
$1.60
Enter quantity between 1 and 99
812
CHANGE LEVER NOTICE LABEL
$18.15
Enter quantity between 1 and 99
813
Now: G8588
Nameplate - Small
Price
N/A
MANUAL
MANUAL FOR G0633 08/07
$14.65
Enter quantity between 1 and 99