Parts for G0634 - 12" Jointer / Planer w/ Spiral Cutterhead

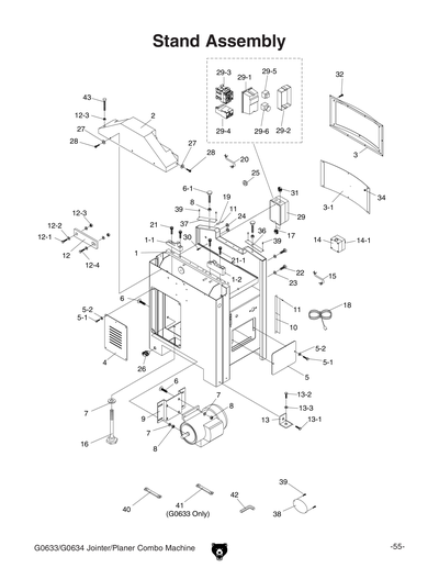
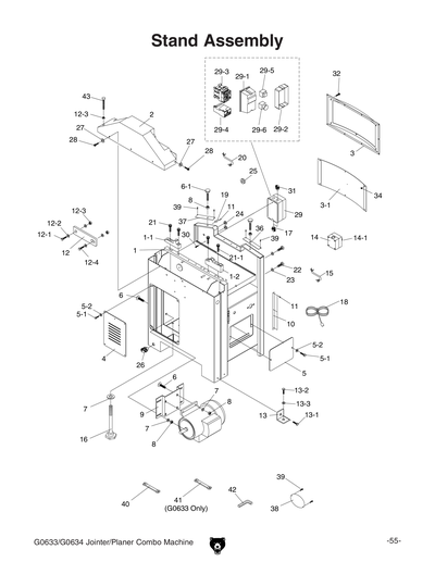
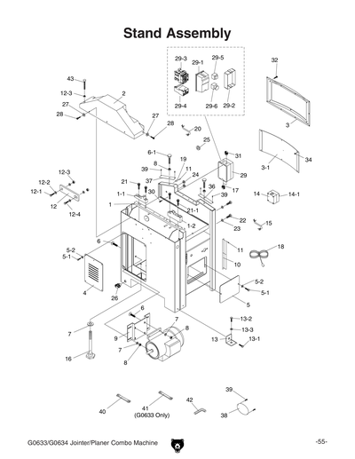
Part Diagram for G0634
Part Diagram for G0634
Part Diagram for G0634
Part Diagram for G0634
Part Diagram for G0634
Part Diagram for G0634
Part Diagram for G0634
Part Diagram for G0634
Part Diagram for G0634
Part Diagram for G0634
Part Diagram for G0634
Part Diagram for G0634
Part Diagram for G0634
Part Diagram for G0634
Part Diagram for G0634
Part Diagram for G0634
Part Diagram for G0634
Part Diagram for G0634
Part Diagram for G0634
Part Diagram for G0634
Part Diagram for G0634
Part Diagram for G0634

IMPORTANT: Parts may have multiple versions that have changed over time. This will be indicated by V1, V2, V3, etc. in the parts description, followed by the version month and year that it was first used. Example: V2.01.17 indicates version 2 of a part went into use in January 2017. Please reference the manufacture date on the ID Label for your machine to ensure you are selecting the correct part when multiple versions are indicated.

If you cannot locate your part below, please contact our tech support department at techsupport@grizzly.com or 570-546-9663.

Please note: All parts ship out of our Springfield, Missouri facility.

Ref #
Part #
Description
1
FRAME
Price
N/A
1-1
HINGE SHAFT BRACKET RIGHT
Price
N/A
1-2
HINGE SHAFT BRACKET LEFT
Price
N/A
2
DRIVE SHAFT COVER
Price
N/A
3
COVER FRAME
Price
N/A
3-1
COVER
Price
N/A
4
DOOR
Price
N/A
5
SIDE OPENING COVER
Price
N/A
5-1
HEX BOLT 5/16-18 X 1/2
Price
N/A
5-2
FLAT WASHER 5/16
Price
N/A
6
CARRIAGE BOLT 3/8-16 X 1
Price
N/A
6-1
PLATE SCREW 3/8-16 X 2
Price
N/A
7
P0634007
Now: PW02
FLAT WASHER 3/8
Price
N/A
8
P0634008
Now: PN08
HEX NUT 3/8-16
Price
N/A
9
MOTOR BRACKET
Price
N/A
10
PLANER SCALE
Price
N/A
11
RIVET 2 X 5MM NAMEPLATE, STEEL
Price
N/A
12
REINFORCEMENT PLATE
Price
N/A
12-1
HEX BOLT 5/16-18 X 5/8
Price
N/A
12-2
FLAT WASHER 5/16
Price
N/A
12-3
HEX NUT 5/16-18
Price
N/A
12-4
HEX BOLT 5/16-18 X 2-3/4
Price
N/A
13
SQUARE SUPPORT
Price
N/A
13-1
HEX BOLT 5/16-18 X 1/2
Price
N/A
13-2
TAP SCREW 1/4 X 1
Price
N/A
13-3
FLAT WASHER 1/4
Price
N/A
14
SWITCH BOX W/O SWITCH
Price
N/A
14-1
SWITCH KNOB
Price
N/A
15
EMERGENCY STOP SWITCH CORD
Price
N/A
16
KNOB BOLT 3/8-16
Price
N/A
17
STRAIN RELIEF 3/4"
Price
N/A
18
POWER CORD
Price
N/A
19
DEPTH SCALE
Price
N/A
20
LIMIT SWITCH CORD
Price
N/A
21
CAP SCREW 3/8-16 X 1
Price
N/A
21-1
CAP SCREW 3/8-16 X 1-1/2
Price
N/A
22
P0634022
Now: PB02
HEX BOLT 1/4-20 X 5/8
Price
N/A
23
P0634023
Now: PW06
FLAT WASHER 1/4
Price
N/A
24
GROMMET
Price
N/A
25
GROMMET
Price
N/A
26
STRAIN RELIEF 3/4"
Price
N/A
27
P0634027
Now: PW06
FLAT WASHER 1/4
Price
N/A
28
P0634028
Now: PB51
HEX BOLT 1/4-20 X 3/8
Price
N/A
29
MAGNETIC SWITCH ASSY SDE MP-18
Price
N/A
29-1
MAG SWITCH FRONT COVER
Price
N/A
29-2
MAG SWITCH BACK COVER
Price
N/A
29-3
CONTACTOR
Price
N/A
29-4
OL RELAY SDE RA-30 18-26A
Price
N/A
29-5
ON BUTTON
Price
N/A
29-6
OFF BUTTON
Price
N/A
30
P0634030
Now: PS22
PHLP HD SCR 10-24 X 5/8
Price
N/A
31
STRAIN RELIEF M16 TYPE-6 ST
Price
N/A
32
PHLP HD SCR 1/4-20 X 5/16
Price
N/A
34
P0634034
Now: PN05
HEX NUT 1/4-20
Price
N/A
36
PROTECTION PLATE LEFT
Price
N/A
37
PROTECTION PLATE RIGHT
Price
N/A
38
Nameplate - Small
Price
N/A
39
TAP SCREW #5 X 3/8
Price
N/A
40
WRENCH 12 X 14MM OPEN-ENDS
Price
N/A
41
WRENCH 12 X 14MM OPEN-ENDS
Price
N/A
42
HEX WRENCH 3MM
Price
N/A
43
COVER SCREW 5/16-18 X 1-1/2
Price
N/A
49
*DISCD*KNOB 1/4-20 X 1/2
Price
N/A
101
INFEED TABLE V1.05.07
Price
N/A
101V2
INFEED TABLE V2.03.08
Price
N/A
102
OUTFEED TABLE
Price
N/A
103
TABLE LIP
Price
N/A
104-1A
PLANER DUST PORT V2.09.07
Price
N/A
104-2
JOINTER DUST PORT/RECTANGLE HOLE
Price
N/A
105
HINGE SHAFT A
Price
N/A
106
HINGE SHAFT B
Price
N/A
107
OUTFEED TABLE ADJ KNOB
Price
N/A
108
GUIDE SCREW
Price
N/A
109
P0634109
Now: PN01
HEX NUT 1/2-20
Price
N/A
110
INFEED HANDGRIP
Price
N/A
111
INFEED LOCK LEVER
Price
N/A
112
OUTFEED LOCK LEVER
Price
N/A
113
PLASTIC KNOB
Price
N/A
114
EXT RETAINING RING 12MM
Price
N/A
115
CUTTERHEAD GUARD BRACKET V1
Price
N/A
116
P0634116
Now: PW06
FLAT WASHER 1/4
Price
N/A
117
P0634117
Now: PB07
HEX BOLT 5/16-18 X 3/4
Price
N/A
118
KNOB SCREW 1/4-20 X 1/2
Price
N/A
119
P0634119
Now: PS18
PHLP HD SCR 10-24 X 1/4
Price
N/A
120
P0634120
Now: PW07
FLAT WASHER 5/16
Price
N/A
121
CAP SCREW 5/16-18 X 3/4
Price
N/A
122
P0634122
Now: PB31
HEX BOLT 1/4-20 X 1
Price
N/A
122V2
HEX BOLT 5/16-18 X 1
Price
N/A
124
CAP SCREW 3/8-16 X 1-1/4
Price
N/A
125
P0634125
Now: PN02
HEX NUT 5/16-18
Price
N/A
126
CAP SCREW 1/4-20 X 1/2
Price
N/A
128
CAP SCREW 5/16-18 X 3/8
Price
N/A
129
HANDLE
Price
N/A
130
PLUNGER SCREW 1/2
Price
N/A
131
PLUNGER
Price
N/A
132
COMPRESSION SPRING
Price
N/A
133
KNOB
Price
N/A
134
Safety Push Block - Small
Price
N/A
200
CUTTERHEAD BLOCK
Price
N/A
201
Price
$899.95
201-1
Indexable Carbide Inserts - 14 x 14 x 2mm, 10-Pk.
Price
N/A
201-2
FLAT HD TORX T20 M6-1 X 15
Price
N/A
201-3
T-HANDLE 1/4" BIT DRIVER
Item is no longer available
Price
N/A
201-4
*DISCD*TORX BIT T-20
Item is no longer available
Price
N/A
202
*DISCD*KNIFE
Price
N/A
203
*DISCD*GIB
Price
N/A
204
GIB BOLT
Price
N/A
205
COMPRESSION SPRING
Price
N/A
206
OUTFEED ROLLER
Price
N/A
207
INFEED ROLLER
Price
N/A
208
COVER V1
Price
N/A
209
ALIGNMENT PIN
Price
N/A
210
PIVOT PIN
Price
N/A
211
SQUARE SUPPORT
Price
N/A
212
DOWEL
Price
N/A
213
COMPRESSION SPRING
Price
N/A
214
KEY 5 X 5 X 30
Price
N/A
215
DUST CHUTE
Price
N/A
215-4
L BRACKET
Price
N/A
215-5
PLATE
Price
N/A
215-6
BRACKET
Price
N/A
215-7
PLATE
Price
N/A
215-8
JDP PLASTIC PLATE
Price
N/A
215-9
PDF PLASTIC PLATE
Price
N/A
216
MOTOR PULLEY
Price
N/A
217
PULLEY STANDARD V1.05.07
Price
N/A
218
SUPPORT
Price
N/A
219
ANTI KICKBACK FINGER
Price
N/A
220
SPACER
Price
N/A
221
SET SCREW 1/4-20 X 1/2
Price
N/A
222
INT RETAINING RING 52MM
Price
N/A
224
BALL BEARING 6205-2RS
Price
N/A
225
GUARD
Price
N/A
226
P0634226
Now: PW06
FLAT WASHER 1/4
Price
N/A
227
P0634227
Now: PB51
HEX BOLT 1/4-20 X 3/8
Price
N/A
228
SET SCREW 1/4-20 X 1/4
Price
N/A
228V2
SET SCREW M5-.8 X 4 V2.01.08
Price
N/A
229
SET SCREW 1/4-20 X 1/2
Price
N/A
230
MOTOR 5HP 220V 1-PH
Price
N/A
230-1
JUNCTION BOX
Price
N/A
230-2
FAN COVER
Price
N/A
230-3
MOTOR FAN
Price
N/A
230-4
CAPACITOR COVER
Price
N/A
230-5
S CAPACITOR 400M 125V 1-3/8 X 3-1/8
Price
N/A
230-6
R CAPACITOR 50M 350V 2 X 3-1/2
Price
N/A
230-7
CENTRIFUGAL SWITCH 3450
Price
N/A
230-8
CONTACT PLATE
Price
N/A
230-9
MOTOR BEARING
Price
N/A
231
MOTOR CORD
Price
N/A
232
PIVOT PIN
Price
N/A
233
V-BELT M52 3L520
Price
N/A
234
CAP SCREW 5/16-18 X 3-1/4
Price
N/A
235
SET SCREW 1/4-20 X 3/8
Price
N/A
236
P0634236
Now: PS06
PHLP HD SCR 10-24 X 3/8
Price
N/A
237
P0634237
Now: PW03
FLAT WASHER #10
Price
N/A
241
CUTTERHEAD ROTATION LABEL
Price
N/A
242
P0634242
Now: PS06
PHLP HD SCR 10-24 X 3/8
Price
N/A
243
FLANGE SCREW 10-24 X 1/2
Price
N/A
244
P0634244
Now: PN07
HEX NUT 10-24
Price
N/A
301
SPROCKET 66T
Price
N/A
302
SPROCKET 34T
Price
N/A
303
BUSHING
Price
N/A
304
SPROCKET 18T
Price
N/A
305
SPACER
Price
N/A
306
ARM
Price
N/A
307
BALL BEARING 6204-2RS
Price
N/A
308
TENSION SPRING
Price
N/A
309
BALL BEARING 608-2RS
Price
N/A
310
ROLLER CHAIN
Price
N/A
311
ROLLER CHAIN
Price
N/A
312
CONTACT WHEEL
Price
N/A
313
LEVER
Price
N/A
314
TENSION SPRING
Price
N/A
315
CAM
Price
N/A
316
CAM SHAFT
Price
N/A
317
ROLL PIN
Price
N/A
318
*DISCD*SPACER
Price
N/A
319
SPROCKET 19T
Price
N/A
320
INT RETAINING RING 22MM
Price
N/A
321
SPRING STUD
Price
N/A
322
P0634322
Now: PW02
FLAT WASHER 3/8
Price
N/A
323
CAP SCREW 3/8-16 X 1/2
Price
N/A
324
LEVER
Price
N/A
325
SET SCREW 5/16-18 X 3/8
Price
N/A
326
SET SCREW 1/4-20 X 1
Price
N/A
327
P0634327
Now: PN05
HEX NUT 1/4-20
Price
N/A
328
CAP SCREW 5/16-18 X 2
Price
N/A
329
P0634329
Now: PW07
FLAT WASHER 5/16
Price
N/A
330
P0634330
Now: PN02
HEX NUT 5/16-18
Price
N/A
331
P0634331
Now: PW01
FLAT WASHER 1/2
Price
N/A
332
P0634332
Now: PN01
HEX NUT 1/2-20
Price
N/A
333
BUSHING
Price
N/A
334
CAP SCREW 1/4-20 X 3/4
Price
N/A
335
CAP SCREW 1/4-20 X 3/8
Price
N/A
336
CAP SCREW 5/16-18 X 3/4
Price
N/A
337
LOCK NUT 3/8-16
Price
N/A
338
CAP SCREW 5/16-18 X 2-1/2
Price
N/A
401
PLANER TABLE
Price
N/A
402
COLUMN
Price
N/A
403
CYLINDER LINER
Price
N/A
404
LOCK SCREW
Price
N/A
405
COLLAR
Price
N/A
406
THICKNESS POINTER
Price
N/A
407
GEAR BOX
Price
N/A
408
BUSHING
Price
N/A
408-1
SELF LUBRICATING SHLDR BUSHING
Price
N/A
408-2
SELF LUBRICATION BUSHING
Price
N/A
409
GEAR
Price
N/A
410
WORM SHAFT
Price
N/A
411
ELEVATION LEAD SCREW
Price
N/A
412
SHIELD PLATE
Price
N/A
413
HANDWHEEL
Price
N/A
414
P0634414
Now: PN02
HEX NUT 5/16-18
Price
N/A
415
UNIVERSAL LOCK LEVER
Price
N/A
417
ROLL PIN
Price
N/A
418
THRUST BEARING NTB1528 +2AS
Price
N/A
419
INT RETAINING RING 19MM
Price
N/A
420
BUSHING
Price
N/A
421
P0634421
Now: PW07
FLAT WASHER 5/16
Price
N/A
422
LOCK NUT 5/16-18
Price
N/A
423
LOCK WASHER 1/4
Price
N/A
424
CAP SCREW 1/4-20 X 2-1/4
Price
N/A
425
INT RETAINING RING 8MM
Price
N/A
426
ROLL PIN 5 X 30
Price
N/A
427
SET SCREW 5/16-18 X 1/4
Price
N/A
428
FLAT WASHER
Price
N/A
429
LOCK WASHER 3/8
Price
N/A
430
P0634430
Now: PB16
HEX BOLT 3/8-16 X 1-1/2
Price
N/A
431
SET SCREW 5/16-18 X 1
Price
N/A
432
CAP SCREW 3/8-16 X 1-1/4
Price
N/A
433
P0634433
Now: PB09
HEX BOLT 5/16-18 X 1/2
Price
N/A
434
P0634434
Now: PN08
HEX NUT 3/8-16
Price
N/A
435
SET SCREW 3/8-16 X 2
Price
N/A
436
P0634436
Now: PS35
PHLP HD SCR 5/16-18 X 3/4
Price
N/A
437
HANDLE
Price
N/A
438
HANDLE SCREW 3/8-16 X 3-3/8
Price
N/A
501-1
SWING LEVER F
Price
N/A
501-2
SWING LEVER M
Price
N/A
501-3
LIMIT SWITCH BRACKET
Price
N/A
502
COMPRESSION SPRING
Price
N/A
503
TENSION SPRING
Price
N/A
504
SWITCH ACTIVATION ROD #1
Price
N/A
505
SWITCH ACTIVATION ROD #2
Price
N/A
506
SWITCH ACTIVATION ROD #3
Price
N/A
507
LOCK NUT 5/16-18
Price
N/A
508
P0634508
Now: PW07
FLAT WASHER 5/16
Price
N/A
509
P0634509
Now: PB03
HEX BOLT 5/16-18 X 1
Price
N/A
510
P0634510
Now: PB09
HEX BOLT 5/16-18 X 1/2
Price
N/A
511
P0634511
Now: PN02
HEX NUT 5/16-18
Price
N/A
512
CAP SCREW 10-24 X 1-1/4
Price
N/A
513
CAP SCREW 1/4-20 X 1
Price
N/A
514
*DISCD*LIMIT SWITCH
Price
N/A
515
LIMIT SWITCH CONTROL CORD
Price
N/A
601
FENCE BASE
Price
N/A
602
ADJUSTMENT TUBE W/RACK
Price
N/A
603
TRUNNION BRACKET
Price
N/A
604
TRUNNION
Price
N/A
604-1
FENCE ANGLE SCALE
Price
N/A
605
PIVOT STUD
Price
N/A
606
SPACER
Price
N/A
607
ADJUSTMENT SCREW
Price
N/A
608
ADJUSTMENT ROD
Price
N/A
609
FENCE
Price
N/A
610
SLIDING BOLT
Price
N/A
611
ECCENTRIC SHAFT
Price
N/A
612
LOCK KNOB 3/8"-16
Price
N/A
613
PINION SHAFT
Price
N/A
614
FENCE SUPPORT
Price
N/A
615
PLASTIC PROTECTION SHOE
Price
N/A
616
BUSHING
Price
N/A
617
P0634617
Now: PB03
HEX BOLT 5/16-18 X 1
Price
N/A
618
LOCK WASHER 5/16
Price
N/A
619
LOCK NUT 5/16-18
Price
N/A
620
P0634620
Now: PW07
FLAT WASHER 5/16
Price
N/A
621
CUTTER KNIFE GUARD
Price
N/A
622
DOVETAIL BRACKET FOR QUICK RELEASE
Price
N/A
623
P0634623
Now: PW06
FLAT WASHER 1/4
Price
N/A
624
FLAT HD CAP SCR 1/4-20 X 1/4
Price
N/A
625
TUBE LOCKING SHOE
Price
N/A
626
UNIVERSAL LOCK LEVER
Price
N/A
627
UNIVERSAL LOCK LEVER
Price
N/A
628
POINTER
Price
N/A
629
P0634629
Now: PW06
FLAT WASHER 1/4
Price
N/A
630
P0634630
Now: PS07
PHLP HD SCR 1/4-20 X 3/8
Price
N/A
631
SET SCREW 1/4-20 X 3/8
Price
N/A
632
P0634632
Now: PS22
PHLP HD SCR 10-24 X 5/8
Price
N/A
633
P0634633
Now: PB12
HEX BOLT 5/16-18 X 1-1/4
Price
N/A
634
SET SCREW 5/16-18 X 1
Price
N/A
635
P0634635
Now: PN02
HEX NUT 5/16-18
Price
N/A
636
CONTROL KNOB
Price
N/A
636-1
EXT RETAINING RING 10MM
Price
N/A
637
P0634637
Now: PB05
HEX BOLT 1/4-20 X 3/4
Price
N/A
638
P0634638
Now: PN05
HEX NUT 1/4-20
Price
N/A
639
P0634639
Now: PB97
HEX BOLT 1/4-20 X 3-1/4
Price
N/A
640
SET SCREW 1/4-20 X 1/4
Price
N/A
641
KNOB SCREW 1/4
Price
N/A
642
P0634642
Now: PB19
HEX BOLT 1/4-20 X 1/2
Price
N/A
643
CAP SCREW 1/4-20 X 1
Price
N/A
644
P0634644
Now: PW06
FLAT WASHER 1/4
Price
N/A
645
FLAT WASHER 6MM
Price
N/A
646
SET SCREW 10-24 X 1/4
Price
N/A
647
FENCE BASE PLATE
Price
N/A
701
CUTTERHEAD GUARD
Price
N/A
702
ROLL PIN 6 X 36
Price
N/A
703
GUARD TORSION PIN
Price
N/A
704
ROLL PIN 5 X 35
Price
N/A
705
TORSION SPRING
Price
N/A
707
EXT RETAINING RING 11MM
Price
N/A
710
WAVY WASHER 12MM
Price
N/A
800
READ MANUAL 2W X 3.3H V2.07.05
Price
N/A
801
GLASSES/RESPIRATOR 2W X 3.3H
Price
N/A
802
MACHINE ID LABEL
Item is no longer available
Price
N/A
803
CUTTERHEAD GUARD WARNING LABEL
Price
N/A
804
EAR PROTECTION 2W X 3.3H V2.04.08
Price
N/A
805
DISCONNECT POWER LABEL
Price
N/A
806
CHANGING OPERATIONS WARNING LABEL
Price
N/A
807
N/S GRIZZLY GREEN G1023S
Price
N/A
808
GREY PUTTY REF G0504
Price
N/A
809
ELECTRICITY 1.4W X 1.2H
Price
N/A
810
Price
$16.40
812
CHANGE LEVER NOTICE
Item is no longer available
Price
N/A
MANUAL
MANUAL FOR G0634 08/07
Item is no longer available
Price
N/A