Parts for G0651 10" 3 HP 220V Heavy Duty Cabinet Table Saw

Parts Diagrams for G0651 - 10" 3 HP 220V Heavy Duty Cabinet Table Saw

IMPORTANT

Parts may have multiple versions that have changed over time. This will be indicated by V1, V2, V3, etc. in the parts description, followed by the version month and year that it was first used. Example: V2.01.17 indicates version 2 of a part went into use in January 2017. Please reference the manufacture date on the ID Label for your machine to ensure you are selecting the correct part when multiple versions are indicated.

If you cannot locate your part below, please contact our tech support department at techsupport@grizzly.com or 570-546-9663.

Please note: All parts ship out of our Springfield, Missouri facility.

Parts List for Parts for G0651 10" 3 HP 220V Heavy Duty Cabinet Table Saw

5
EXTENSION WING
$279.90
Enter quantity between 1 and 99
6
Now: PB07M
HEX BOLT M8-1.25 X 25
Price
N/A
7
LOCK WASHER 8MM
Price
N/A
8
FLAT HD SCR M5-.8 X 20
Price
N/A
9
*DISCD*TABLE INSERT V1.04.08
$47.15
Enter quantity between 1 and 99
9V2
TABLE INSERT ASSY V2.01.10
$54.10
Enter quantity between 1 and 99
9V2-1
PLATE V2.01.10
$50.75
Enter quantity between 1 and 99
9V2-2
LOCK KNOB M5-.8 V2.01.10
Price
N/A
9V2-3
LEFT PLATE W/ TAPE V2.01.10
Price
N/A
9V2-4
RIGHT PLATE V2.01.10
$1.85
Enter quantity between 1 and 99
9V2-5
LEFT TAPE 14MM V2.01.10
$1.85
Enter quantity between 1 and 99
9V2-6
RIGHT PLATE W/ TAPE 35MM V2.01.10
Price
N/A
9V2-7
SET SCREW M6-1 X 12
Price
N/A
10
*DISCD*TAPE L V1.04.08
Item is no longer available
Price
N/A
11
*DISCD*TAPE R V1.04.08
Item is no longer available
Price
N/A
12
*DISCD*PLATE L V1.04.08
$1.49
Enter quantity between 1 and 99
13
*DISCD*PLATE R V1.04.08
$1.49
Enter quantity between 1 and 99
14
SET SCREW M6-1 X 12
Price
N/A
15
CAP SCREW M8-1.25 X 35
Price
N/A
16
Now: PB06M
HEX BOLT M8-1.25 X 12
Price
N/A
16-1
Now: PW01M
FLAT WASHER 8MM
Price
N/A
17
*DISCD*SPLITTER V1.04.08
$8.35
Enter quantity between 1 and 99
17V2
RIVING KNIFE V2.01.10
Price
N/A
18
SET SCREW M6-1 X 10
Price
N/A
19
TABLE
$532.85
Enter quantity between 1 and 99
20
STRAIN RELIEF PG16 TYPE-6 ST
$5.80
Enter quantity between 1 and 99
21
MOTOR 3HP 220V 1-PH
$392.30
Enter quantity between 1 and 99
21-1
MOTOR FAN COVER
$11.50
Enter quantity between 1 and 99
21-2
MOTOR FAN
$13.95
Enter quantity between 1 and 99
21-3
JUNCTION BOX
$16.35
Enter quantity between 1 and 99
21-4
R CAPACITOR COVER
$13.95
Enter quantity between 1 and 99
21-5
R CAPACITOR 50M 250V 1-1/2 X 2-3/8
Price
N/A
21-6
S CAPACITOR COVER
$13.25
Enter quantity between 1 and 99
21-7
S CAPACITOR 300M 125V 1-5/16 X 2-3/8
Price
N/A
21-8
CENTRIFUGAL SWITCH
$19.10
Enter quantity between 1 and 99
22
Now: PN02M
HEX NUT M10-1.5
Price
N/A
23
LOCK WASHER 10MM
Price
N/A
24
Now: PW04M
FLAT WASHER 10MM
Price
N/A
25
MOTOR BOLT
$3.40
Enter quantity between 1 and 99
26
Now: PK12M
KEY 5 X 5 X 30
Price
N/A
27
FLAT BELT 180J-9
$30.55
Enter quantity between 1 and 99
28
SET SCREW M6-1 X 8
Price
N/A
29
PULLEY
$23.60
Enter quantity between 1 and 99
30
BALL BEARING 6004-2RS
Price
N/A
31
*DISCD*CLAMPING BRACKET V1.04.08
Item is no longer available
Price
N/A
31V2
BRACKET V2.01.10
Price
N/A
31V2-1
MOUNTING BASE V2.01.10
Price
N/A
31V2-10
BUTTON HD CAP SCR M5-.8 X 12
Price
N/A
31V2-2
CAP SCREW M8-1.25 X 20
Price
N/A
31V2-3
LOCKING BOLT V2.01.10
Price
N/A
31V2-4
COMPRESSION SPRING V2.01.10
Price
N/A
31V2-5
MOUNTING BRACKET PLATE V2.01.10
Price
N/A
31V2-6
SET SCREW M5-.8 X 8
Price
N/A
31V2-7
BUTTON HD CAP SCR M5-.8 X 16
Price
N/A
31V2-8
HANDLE V2.01.10
Price
N/A
31V2-9
LOCK WASHER 5MM
Price
N/A
32
*DISCD*ADJUSTING PLATE V1.04.08
Item is no longer available
Price
N/A
33
CAP SCREW M8-1.25 X 16
Price
N/A
34
*DISCD*SPECIAL BOLT V1.04.08
Item is no longer available
Price
N/A
35
GAS STRUT
Price
N/A
36
BUSHING
$1.85
Enter quantity between 1 and 99
37
Now: PK14M
KEY 5 X 5 X 18
Price
N/A
38
ARBOR SHAFT
$23.60
Enter quantity between 1 and 99
39
BLADE 10" X 40T
$36.00
Enter quantity between 1 and 99
40
ARBOR FLANGE
$2.75
Enter quantity between 1 and 99
41
ARBOR NUT 5/8"-12 RH
$10.00
Enter quantity between 1 and 99
42
CAP SCREW M10-1.5 X 30
Price
N/A
43
TRUNNION SLIDE
$44.10
Enter quantity between 1 and 99
44
TRUNNION
$199.90
Enter quantity between 1 and 99
45
BELT COVER PLATE V1.04.08
$5.15
Enter quantity between 1 and 99
46
DUST CHUTE
$8.60
Enter quantity between 1 and 99
47
Now: PS06M
PHLP HD SCR M5-.8 X 20
Price
N/A
48
MOTOR PULLEY
$25.15
Enter quantity between 1 and 99
49
BRACKET
$138.90
Enter quantity between 1 and 99
50
Now: PB03M
HEX BOLT M8-1.25 X 16
Price
N/A
51
Now: PW01M
FLAT WASHER 8MM
Price
N/A
52
LEADSCREW
$16.95
Enter quantity between 1 and 99
53
BUSHING
Price
N/A
54
GASKET
$2.75
Enter quantity between 1 and 99
55
THRUST BEARING 51102
Price
N/A
56
LEADSCREW BRACKET
$19.10
Enter quantity between 1 and 99
57
SET SCREW M5-.8 X 5
Price
N/A
58
LEFT BEVEL GEAR
Price
N/A
59
Now: PW04M
FLAT WASHER 10MM
Price
N/A
60
LOCK NUT M10-1.25
Price
N/A
61
SUPPORT L
$19.35
Enter quantity between 1 and 99
61-1
SUPPORT R
$19.35
Enter quantity between 1 and 99
62
Now: PN03M
HEX NUT M8-1.25
Price
N/A
63
Now: PS14M
PHLP HD SCR M6-1 X 12
Price
N/A
64
TILT ARROW POINTER
$1.85
Enter quantity between 1 and 99
65
EXT TOOTH WASHER 6MM
Price
N/A
66
WOODRUFF KEY 22 X 5
Price
N/A
67
CAP SCREW M8-1.25 X 25
Price
N/A
68
HEIGHT HANDWHEEL MOUNTING PLATE
$95.40
Enter quantity between 1 and 99
69
HANDWHEEL LOCK KNOB
Price
N/A
70
HANDWHEEL
$45.90
Enter quantity between 1 and 99
70V2
HANDWHEEL V2.09.24
$85.95
Enter quantity between 1 and 99
71
LOCK COLLAR
$3.40
Enter quantity between 1 and 99
72
PLASTIC BUSHING 19MM ID
Price
N/A
73
BLADE HEIGHT HANDWHEEL SHAFT
$15.70
Enter quantity between 1 and 99
74
ALIGNMENT PIN
Price
N/A
75
Now: PB20M
HEX BOLT M8-1.25 X 35
Price
N/A
76
RIGHT BEVEL GEAR
Price
N/A
77
CAP SCREW M6-1 X 25
Price
N/A
78
LOCK WASHER 6MM
Price
N/A
80
ON/OFF SWITCH ASSY
$29.95
Enter quantity between 1 and 99
80-1
ON/OFF BUTTON PADDLE SWITCH
$21.20
Enter quantity between 1 and 99
80-2
ON/OFF SWITCH BRACKET
$6.70
Enter quantity between 1 and 99
80-3
ON/OFF SWITCH BOX
Price
N/A
80-4
ON/OFF SWITCH CORD 16AWG X 4C
$12.65
Enter quantity between 1 and 99
80-5
SAFETY PIN
$1.85
Enter quantity between 1 and 99
80-6
SWITCH DISABLING LOCK
Price
N/A
81
Now: PS01
PHLP HD SCR 10-24 X 1/2
Price
N/A
83
DIGITAL SENSOR ASSY
$96.05
Enter quantity between 1 and 99
83-1
Now: PS05M
PHLP HD SCR M5-.8 X 8
Price
N/A
83-10
DIGITAL SENSOR COVER
$3.05
Enter quantity between 1 and 99
83-2
DIGITAL READOUT COVER
$26.00
Enter quantity between 1 and 99
83-3
Now: PS79M
PHLP HD SCR M3-.5 X 8
Price
N/A
83-4
Now: PW07M
FLAT WASHER 3MM
Price
N/A
83-5
CIRCUIT BOARD V1
$33.10
Enter quantity between 1 and 99
83-5V2
CIRCUIT BOARD CBEC V2.10.23
$74.30
Enter quantity between 1 and 99
83-6
SENSOR PLATE
$10.90
Enter quantity between 1 and 99
83-7
DATA CORD 24 AWG X 450
$15.55
Enter quantity between 1 and 99
83-7V2
DATA CORD 24G 4W 18" V2.10.23
$9.15
Enter quantity between 1 and 99
83-8
DIGITAL READOUT CORD 18 AWG X 2C
$21.75
Enter quantity between 1 and 99
83-9
Now: PS50M
PHLP HD SCR M3-.5 X 12
Price
N/A
87
COVER
$3.40
Enter quantity between 1 and 99
88
BUTTON HD CAP SCR M6-1 X 16
Price
N/A
88-1
Now: PW03M
FLAT WASHER 6MM
Price
N/A
89
CAP SCREW M6-1 X 12
Price
N/A
90
LOCK KNOB M6-1 X 20
$2.90
Enter quantity between 1 and 99
91
PAD
Price
N/A
92
ALIGNMENT PIN 8 X 54
$5.50
Enter quantity between 1 and 99
93
MOTOR ACCESS COVER
$120.20
Enter quantity between 1 and 99
94
Now: PW01M
FLAT WASHER 8MM
Price
N/A
95
STRAIN RELIEF M15 TYPE-6 ST
Price
N/A
96
Now: PS17M
PHLP HD SCR M4-.7 X 6
Price
N/A
97
FENCE MOUNTING BRACKET
$5.15
Enter quantity between 1 and 99
98
Now: PW05M
FLAT WASHER 4MM
Price
N/A
99
COVER FRONT
$65.85
Enter quantity between 1 and 99
99V2
FRONT COVER V2.09.24
$96.80
Enter quantity between 1 and 99
100
CABINET
$639.10
Enter quantity between 1 and 99
100V2
CABINET V2.09.24
$729.10
Enter quantity between 1 and 99
101
GROMMET 26 X 25MM
$1.85
Enter quantity between 1 and 99
102
CHAIN
$1.85
Enter quantity between 1 and 99
103
TAP SCREW M4 X 12
Price
N/A
104
RIGHT COVER
Price
N/A
104V2
RIGHT COVER V2.09.24
$72.70
Enter quantity between 1 and 99
105
FLAT HD SCR M6-1 X 20
Price
N/A
106
MITER GAUGE MOUNTING BRACKET
$2.75
Enter quantity between 1 and 99
107
WRENCH MOUNTING BRACKET
$2.75
Enter quantity between 1 and 99
108
ARBOR WRENCH
$30.25
Enter quantity between 1 and 99
110
Now: PW02M
FLAT WASHER 5MM
Price
N/A
111
Now: PB96M
HEX BOLT M5-.8 X 10
Price
N/A
112
L-PLATE
$1.85
Enter quantity between 1 and 99
113
BLADE TILT SHAFT BRACKET
$42.00
Enter quantity between 1 and 99
114
BLADE TILT SHAFT
$21.60
Enter quantity between 1 and 99
115
LOCK COLLAR
Price
N/A
116
HANDWHEEL HANDLE
$20.15
Enter quantity between 1 and 99
117
WRENCH 8 X 10MM OPEN-ENDS
Price
N/A
118
WRENCH 11 X 13MM OPEN-ENDS
Price
N/A
119
WRENCH 14 X 17MM OPEN-ENDS
Price
N/A
120
HEX WRENCH 3MM
Price
N/A
121
HEX WRENCH 4MM
Price
N/A
122
HEX WRENCH 5MM
Price
N/A
123
HEX WRENCH 6MM
Price
N/A
124
SCREWDRIVER PHLP/FLAT HEAD #1
$5.15
Enter quantity between 1 and 99
127
WORM GEAR
Price
N/A
128
Now: PN06M
HEX NUT M5-.8
Price
N/A
129
PLATE
$152.15
Enter quantity between 1 and 99
129V2
PLATE V2.09.24
$32.75
Enter quantity between 1 and 99
130
HOSE CLAMP 60-80MM
Price
N/A
131
DUST CHUTE HOSE 64 X 1000MM
$10.95
Enter quantity between 1 and 99
132
SET SCREW M8-1.25 X 50
Price
N/A
133
ALIGNMENT PIN 5 X 28
$1.85
Enter quantity between 1 and 99
134
SET SCREW M8-1.25 X 10
Price
N/A
147
STRUT SCREW
Price
N/A
148
WAVY WASHER 10MM
Price
N/A
149
Now: PW04M
FLAT WASHER 10MM
Price
N/A
150
MAGNETIC SWITCH 3HP 1PH 13A
$321.80
Enter quantity between 1 and 99
150-1
SWITCH COVER FRONT
Price
N/A
150-2
MAG SWITCH BACK COVER
$6.50
Enter quantity between 1 and 99
150-3
CONTACTOR SDE MA-18 220V
$117.80
Enter quantity between 1 and 99
150-4
OL RELAY SDE RA-20 12-18A
Price
N/A
151
MOTOR CORD 14AWG X 3C
$35.05
Enter quantity between 1 and 99
152
POWER CORD 14AWG X 3C 6-15 W/PLUG
$59.50
Enter quantity between 1 and 99
153
WIRE PROTECTOR 16 X 20 X 300MM
$19.10
Enter quantity between 1 and 99
155
JUNCTION BOX BASE
$12.75
Enter quantity between 1 and 99
155-1
GROUND LABEL
Price
N/A
156
Now: PS09M
PHLP HD SCR M5-.8 X 10
Price
N/A
157
JUNCTION BOX COVER
Price
N/A
158
Now: PS18
PHLP HD SCR 10-24 X 1/4
Price
N/A
159
EXT TOOTH WASHER 5MM
Price
N/A
160
GROUND WIRE 12AWG 1C 150MM
$3.05
Enter quantity between 1 and 99
161
WIRE NUT SW-P6H
$1.85
Enter quantity between 1 and 99
182
PUSH STICK
Price
N/A
200
*DISCD*BLADE GUARD ASSEMBLY V1.04.08
$203.00
Enter quantity between 1 and 99
200V2
BLADE GUARD ASSY V4.07.21
Price
N/A
200V2-1
LEFT PLATE V2.01.10
Price
N/A
200V2-10
RIGHT BRACKET V2.01.10
Price
N/A
200V2-11
BUTTON HD CAP SCR M4-.7 X 10
Price
N/A
200V2-12
MOUNTING PIN V2.01.10
Price
N/A
200V2-13
RIGHT COVER V2.01.10
Price
N/A
200V2-14
RIGHT PLATE V2.01.10
Price
N/A
200V2-15
PUSH NUT 4MM V2.01.10
Price
N/A
200V2-16
LEFT PAWL V2.01.10
Price
N/A
200V2-17
RIGHT TORSN SPRING V2.01.10
Price
N/A
200V2-18
PAWL MOUNTING BRKT V2.01.10
Price
N/A
200V2-19
MOUNTING BRKT PIN V2.01.10
Price
N/A
200V2-2
LOCK NUT M5-.8
Price
N/A
200V2-20
***USE P0869318***
Price
N/A
200V2-21
SHAFT SPRING V2.01.10
Price
N/A
200V2-22
E-CLIP 7MM
Price
N/A
200V2-23
LEFT TORSION SPRING V2.01.10
Price
N/A
200V2-24
RIGHT PAWL V2.01.10
Price
N/A
200V2-25
RIGHT PAWL SHAFT V2.01.10
Price
N/A
200V2-26
***USE PSB1110718***
Price
N/A
200V2-27
O-RING 2.8 X 1.9 P3
Price
N/A
200V2-28
AMPUTATION HAZ LABEL V2.01.10
Price
N/A
200V2-3
FLAT HD SCR M5-.8 X 15
Price
N/A
200V2-4
LEFT COVER V2.01.10
Price
N/A
200V2-5
ROD CENTER PIN V2.01.10
Price
N/A
200V2-6
Now: PS19M
PHLP HD SCR M5-.8 X 6
Price
N/A
200V2-7
KNOB BOLT V2.01.10
Price
N/A
200V2-8
BLADE GUARD BODY
Price
N/A
200V2-9
LEFT BRACKET V2.01.10
Price
N/A
200V3
***USE P0651200V4***
$84.85
Enter quantity between 1 and 99
200V3-1
FLAT HD SCR M4-.7 X 8
Price
N/A
200V3-10
ROLL PIN 5 X 32
Price
N/A
200V3-11
Now: PS38M
PHLP HD SCR M4-.7 X 10
Price
N/A
200V3-12
MOUNTING PIN V2.01.10
Price
N/A
200V3-13
Now: PS19M
PHLP HD SCR M5-.8 X 6
Price
N/A
200V3-14
KNOB BOLT V2.01.10
Price
N/A
200V3-15
***SEE EXT DESC***
Item is no longer available
Price
N/A
200V3-16
LEFT BRACKET V2.01.10
Price
N/A
200V3-17
MOUNTING BLOCK (RIGHT)
Price
N/A
200V3-18
SPREADER
$29.05
Enter quantity between 1 and 99
200V3-19
Now: PS60M
PHLP HD SCR M5-.8 X 30
Price
N/A
200V3-2
UPPER COVER
Price
N/A
200V3-20
ROLL PIN 5 X 40
Price
N/A
200V3-21
Now: PN06M
HEX NUT M5-.8
Price
N/A
200V3-22
Now: PW02M
FLAT WASHER 5MM
Price
N/A
200V3-23
LEFT PAWL V2.01.10
Price
N/A
200V3-24
RIGHT TORSN SPRING V2.01.10
Price
N/A
200V3-25
SHAFT SPRING V2.01.10
Price
N/A
200V3-26
E-CLIP 7MM
Price
N/A
200V3-27
LEFT TORSION SPRING V2.01.10
Price
N/A
200V3-28
RIGHT PAWL V2.01.10
Price
N/A
200V3-29
PAWL MOUNTING BRACKET
$11.20
Enter quantity between 1 and 99
200V3-3
Now: PN01M
HEX NUT M6-1
Price
N/A
200V3-30
LOCATING PIN 5.25 X 10, 5 X 16
Price
N/A
200V3-31
ANTI-KICKBACK PAWL RELEASE PIN
Price
N/A
200V3-32
BLADE GUARD WARNING LABEL
$1.35
Enter quantity between 1 and 99
200V3-4
BLADE GUARD COVER (LEFT)
$6.90
Enter quantity between 1 and 99
200V3-5
Now: PW03M
FLAT WASHER 6MM
Price
N/A
200V3-6
***SEE EXT DESC***
Item is no longer available
Price
N/A
200V3-7
Now: PW03M
FLAT WASHER 6MM
Price
N/A
200V3-8
FLAT HD SCR M6-1 X 16
Price
N/A
200V3-9
REAR COVER
$1.60
Enter quantity between 1 and 99
200V4
BLADE GUARD ASSY V4.07.21
$89.70
Enter quantity between 1 and 99
200V4-1
FLAT HD SCR M4-.7 X 8
Price
N/A
200V4-10
ROLL PIN 5 X 32
Price
N/A
200V4-11
Now: PS38M
PHLP HD SCR M4-.7 X 10
Price
N/A
200V4-12
MOUNTING PIN V2.01.10
Price
N/A
200V4-13
Now: PS19M
PHLP HD SCR M5-.8 X 6
Price
N/A
200V4-14
KNOB BOLT V2.01.10
Price
N/A
200V4-15
BLADE GUARD BODY V2.08.21
Price
N/A
200V4-16
LEFT BRACKET V2.01.10
Price
N/A
200V4-17
MOUNTING BLOCK (RIGHT)
Price
N/A
200V4-18
SPREADER
Price
N/A
200V4-19
Now: PS60M
PHLP HD SCR M5-.8 X 30
Price
N/A
200V4-2
UPPER COVER
Price
N/A
200V4-20
ROLL PIN 5 X 40
Price
N/A
200V4-21
Now: PN06M
HEX NUT M5-.8
Price
N/A
200V4-22
Now: PW02M
FLAT WASHER 5MM
Price
N/A
200V4-23
LEFT PAWL V2.01.10
Price
N/A
200V4-24
RIGHT TORSN SPRING V2.01.10
Price
N/A
200V4-25
SHAFT SPRING V2.01.10
Price
N/A
200V4-26
E-CLIP 7MM
Price
N/A
200V4-27
LEFT TORSION SPRING V2.01.10
Price
N/A
200V4-28
RIGHT PAWL V2.01.10
Price
N/A
200V4-29
PAWL MOUNTING BRACKET
Price
N/A
200V4-3
Now: PN01M
HEX NUT M6-1
Price
N/A
200V4-30
LOCATING PIN 5.25 X 10, 5 X 16
Price
N/A
200V4-31
ANTI-KICKBACK PAWL RELEASE PIN
Price
N/A
200V4-32
BLADE GUARD WARNING LABEL
Price
N/A
200V4-33
BLADE GUARD COVER (LEFT)
$9.10
Enter quantity between 1 and 99
200V4-34
CONNECTING PLATE (LEFT)
$3.65
Enter quantity between 1 and 99
200V4-4
BLADE GUARD COVER (RIGHT)
$9.10
Enter quantity between 1 and 99
200V4-5
Now: PW03M
FLAT WASHER 6MM
Price
N/A
200V4-6
CONNECTING PLATE (RIGHT)
$3.40
Enter quantity between 1 and 99
200V4-7
Now: PW03M
FLAT WASHER 6MM
Price
N/A
200V4-8
FLAT HD SCR M6-1 X 16
Price
N/A
200V4-9
REAR COVER
Price
N/A
201
*DISCD*BLADE GUARD V1.04.08
Item is no longer available
Price
N/A
202
Now: PB39M
HEX BOLT M6-1 X 50
Price
N/A
203
LOCK NUT M6-1
Price
N/A
204
Now: PS17M
PHLP HD SCR M4-.7 X 6
Price
N/A
205
*DISCD*SPINE V1.04.08
Item is no longer available
Price
N/A
206
*DISCD*BRACKET V1.04.08
Item is no longer available
Price
N/A
207
*DISCD*SHAFT V1.04.08
Item is no longer available
Price
N/A
208
*DISCD*TORSION SPRING V1.04.08
Item is no longer available
Price
N/A
209
E-CLIP 9MM
Price
N/A
211
E-CLIP 4MM
Price
N/A
212
*DISCD*PAWL L V1.04.08
Item is no longer available
Price
N/A
213
*DISCD*TORSION SPRING R V1.04.08
Item is no longer available
Price
N/A
214
*DISCD*SPLITTER BRACKET V1.04.08
$12.95
Enter quantity between 1 and 99
215
*DISCD*ALIGNMENT PIN V1.04.08
$1.49
Enter quantity between 1 and 99
216
*DISCD*SPLITTER V1.04.08
$63.55
Enter quantity between 1 and 99
217
*DISCD*TORSION SPRING L V1.04.08
$2.90
Enter quantity between 1 and 99
218
*DISCD*PAWL R V1.04.08
Item is no longer available
Price
N/A
219
*DISCD*HINGE PIN V1.04.08
Item is no longer available
Price
N/A
220
*DISCD*SPECIAL PIN 4 X 16 V1.04.08
Item is no longer available
Price
N/A
280
GUARD CONVERSION KIT G0651/G0652
$180.55
Enter quantity between 1 and 99
300
FENCE ASSY
$288.60
Enter quantity between 1 and 99
301
Now: PS14M
PHLP HD SCR M6-1 X 12
Price
N/A
302
Now: PW03M
FLAT WASHER 6MM
Price
N/A
303
POINTER
Price
N/A
304
SET SCREW M12-1.75 X 13 PLASTIC
$1.85
Enter quantity between 1 and 99
305
Now: PB73M
HEX BOLT M10-1.5 X 50
Price
N/A
306
Now: PN01M
HEX NUT M6-1
Price
N/A
307
RAIL FOOT REAR
$1.75
Enter quantity between 1 and 99
308
PLATE
Price
N/A
309
BRACKET FRONT
$1.85
Enter quantity between 1 and 99
310
Now: PN03M
HEX NUT M8-1.25
Price
N/A
311
FENCE HANDLE SHAFT
$5.15
Enter quantity between 1 and 99
312
$12.40
Enter quantity between 1 and 99
313
FLAT HD SCR M6-1 X 8
Price
N/A
314
LOCK NUT M10-1.5
Price
N/A
315
PLATE
Price
N/A
316
RAIL CLAMPING BRACKET
Price
N/A
317
SET SCREW M8-1.25 X 8
Price
N/A
318
PLATE CAP
$3.40
Enter quantity between 1 and 99
319
FENCE PLATE
Price
N/A
320
FENCE
Price
N/A
321
T-BOLT M8-1.25 X 20
Price
N/A
322
Now: PW01M
FLAT WASHER 8MM
Price
N/A
323
BUMPER PLASTIC
$1.85
Enter quantity between 1 and 99
324
Now: PB71M
HEX BOLT M6-1 X 45
Price
N/A
325
LOCK NUT M6-1
Price
N/A
326
OVAL TAPERED KNOB
$6.70
Enter quantity between 1 and 99
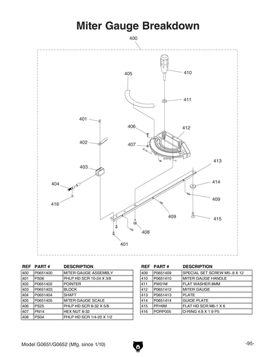
400
MITER GAUGE ASSY
$86.55
Enter quantity between 1 and 99
401
Now: PS06
PHLP HD SCR 10-24 X 3/8
Price
N/A
402
POINTER
Price
N/A
403
BLOCK
$10.90
Enter quantity between 1 and 99
404
SHAFT
Price
N/A
405
MITER GAUGE SCALE
$3.05
Enter quantity between 1 and 99
406
Now: PS25
PHLP HD SCR 8-32 X 5/8
Price
N/A
407
Now: PN14
HEX NUT 8-32
Price
N/A
408
Now: PS04
PHLP HD SCR 1/4-20 X 1/2
Price
N/A
409
MITER GAUGE SET SCREW M5-.8 X 12
$1.85
Enter quantity between 1 and 99
410
MITER GAUGE HANDLE
Price
N/A
411
Now: PW01M
FLAT WASHER 8MM
Price
N/A
412
MITER GAUGE
$40.20
Enter quantity between 1 and 99
413
PLATE
$13.95
Enter quantity between 1 and 99
414
GUIDE PLATE
$1.85
Enter quantity between 1 and 99
415
Now: PFH9M
FLAT HD SCR M6-1 X 6
Price
N/A
416
O-RING 4.8 X 1.9 P5
Price
N/A
500
EXTENSION TABLE ASSY
$1,331.30
Enter quantity between 1 and 99
500V2
EXTENSION TABLE ASSEMBLY V2.09.24
$1,123.95
Enter quantity between 1 and 99
501
LEFT SCALE 18"
Price
N/A
502
SCALE RIGHT 52"
$13.80
Enter quantity between 1 and 99
503
EXTENSION TABLE PLATE
$88.15
Enter quantity between 1 and 99
504
EXTENSION TABLE SUPPORT
$71.60
Enter quantity between 1 and 99
504V2
EXTENSION TABLE SUPPORT V2.09.24
$62.85
Enter quantity between 1 and 99
505
EXTENSION BRACKET FRONT
$21.75
Enter quantity between 1 and 99
505V2
FRONT EXTENSION BRACKET V2.09.24
$18.35
Enter quantity between 1 and 99
506
MOUNTING PLATE
$4.60
Enter quantity between 1 and 99
507
FLAT HD SCR M8-1.25 X 25
Price
N/A
508
Now: PN03M
HEX NUT M8-1.25
Price
N/A
509
CAP SCREW M8-1.25 X 25
Price
N/A
510
RAIL 79"L REAR
$95.40
Enter quantity between 1 and 99
511
LOCK WASHER 8MM
Price
N/A
512
Now: PS14M
PHLP HD SCR M6-1 X 12
Price
N/A
513
Now: PW03M
FLAT WASHER 6MM
Price
N/A
514
Now: PB06M
HEX BOLT M8-1.25 X 12
Price
N/A
514-1
Now: PW01M
FLAT WASHER 8MM
Price
N/A
515
TAP SCREW M4 X 20
Price
N/A
516
EXTENSION BRACKET RIGHT
$21.20
Enter quantity between 1 and 99
516V2
EXTENSION BRACKET, RIGHT V2.09.24
$30.70
Enter quantity between 1 and 99
517
FENCE TUBE 91-3/8" LONG
Price
N/A
518
FENCE RAIL 91-1/2" LONG
$213.50
Enter quantity between 1 and 99
519
END CAP
Price
N/A
520
Now: PN01M
HEX NUT M6-1
Price
N/A
521
SHELF END PLATE
$26.60
Enter quantity between 1 and 99
521V2
SHELF END PLATE V2.09.24
$31.85
Enter quantity between 1 and 99
522
SUPPORT LEG
Price
N/A
523
Now: PN08
HEX NUT 3/8-16
Price
N/A
524
FOOT
$1.75
Enter quantity between 1 and 99
525
Now: PB02M
HEX BOLT M6-1 X 12
Price
N/A
526
SHELF END PLATE
Price
N/A
526V2
LOWER SHELF BRACKET V2.09.24
$28.50
Enter quantity between 1 and 99
527
Now: PW01M
FLAT WASHER 8MM
Price
N/A
528
Now: PB06M
HEX BOLT M8-1.25 X 12
Price
N/A
529
Now: PW01M
FLAT WASHER 8MM
Price
N/A
530
SHELF LOWER
$69.80
Enter quantity between 1 and 99
600
OUTFEED TABLE ASSEMBLY
$453.15
Enter quantity between 1 and 99
600V2
OUTFEED TABLE ASSEMBLY V2.09.24
$453.55
Enter quantity between 1 and 99
601
OUTFEED TABLE
$96.00
Enter quantity between 1 and 99
602
Now: PS14M
PHLP HD SCR M6-1 X 12
Price
N/A
603
Now: PW03M
FLAT WASHER 6MM
Price
N/A
604
OUTFEED TABLE SUPPORT
$68.15
Enter quantity between 1 and 99
604V2
OUTFEED TABLE SUPPORT V2.09.24
$62.85
Enter quantity between 1 and 99
605
OUTFEED TABLE BRACKET
$29.00
Enter quantity between 1 and 99
605V2
OUTFEED TABLE BRACKET V2.09.24
$27.75
Enter quantity between 1 and 99
606
TAP SCREW M4 X 20
Price
N/A
607
SUPPORT LEG
$128.00
Enter quantity between 1 and 99
608
Now: PB03M
HEX BOLT M8-1.25 X 16
Price
N/A
609
Now: PN03M
HEX NUT M8-1.25
Price
N/A
610
OUTFEED TABLE BRACKET FRONT
$24.15
Enter quantity between 1 and 99
610V2
FRONT OUTFEED TABLE BRACKET V2.09.24
$34.30
Enter quantity between 1 and 99
611
SHELF END PLATE
$30.55
Enter quantity between 1 and 99
611V2
SHELF END PLATE V2.09.24
$46.05
Enter quantity between 1 and 99
612
SHELF LOWER BRACKET
$102.40
Enter quantity between 1 and 99
612V2
LOWER SHELF BRACKET V2.09.24
$28.50
Enter quantity between 1 and 99
613
Now: PB02M
HEX BOLT M6-1 X 12
Price
N/A
614
Now: PN08
HEX NUT 3/8-16
Price
N/A
615
FOOT
$1.75
Enter quantity between 1 and 99
616
Now: PN01M
HEX NUT M6-1
Price
N/A
618
SHELF LOWER
$61.10
Enter quantity between 1 and 99
700
*DISCD*GUARD & ANTI KICKBACK LABEL V1
Item is no longer available
Price
N/A
701
*DISCD*DISC POWER BLADE LABEL V1.04.08
Item is no longer available
Price
N/A
702
*DISCD*BLADE GUARD WARNING LABEL V1
Item is no longer available
Price
N/A
703
*DISCD*BLADE CONTACT WARNING LABEL V1
Item is no longer available
Price
N/A
704
Now: G8589
Nameplate - Large
Price
N/A
705
Now: H7942
Extreme Series Nameplate
Price
N/A
706
GREY PUTTY REF G0504
Price
N/A
707
SAFETY GLASSES/HEARING LABEL
$3.45
Enter quantity between 1 and 99
708
MODEL NUMBER LABEL
$16.40
Enter quantity between 1 and 99
708V2
MODEL NUMBER LABEL G0651 V2.09.24
$16.40
Enter quantity between 1 and 99
709
MACHINE ID LABEL
$16.40
Enter quantity between 1 and 99
710
READ MANUAL 2W X 3.3H V2.07.05
Price
N/A
711
N/S GRIZZLY GREEN G1023S
Price
N/A
712
BLADE TILT ANGLE LABEL
$1.35
Enter quantity between 1 and 99
713
ELECTRICITY 1.4W X 1.2H
Price
N/A
714
UL 987 WARNING LABEL
$4.25
Enter quantity between 1 and 99
800
G0651 BOX 3 OF 4 FENCE
$326.35
Enter quantity between 1 and 99
801
COMPLETE HARDWARE BAG
$17.55
Enter quantity between 1 and 99
BOX2
COMPLETE FRONT AND REAR RAILS BOX 2
$592.00
Enter quantity between 1 and 99
BOX3
***USE P0651300***
$311.95
Enter quantity between 1 and 99
BOX4
COMPLETE BOX 4 OF 4 FOR G0651
$845.60
Enter quantity between 1 and 99
MAN
MANUAL FOR G0651 06/10
$14.65
Enter quantity between 1 and 99