Parts for G0715P 10" Hybrid Table Saw with Riving Knife, Polar Bear Series

Parts Diagrams for G0715P - 10" Hybrid Table Saw with Riving Knife, Polar Bear Series

IMPORTANT

Parts may have multiple versions that have changed over time. This will be indicated by V1, V2, V3, etc. in the parts description, followed by the version month and year that it was first used. Example: V2.01.17 indicates version 2 of a part went into use in January 2017. Please reference the manufacture date on the ID Label for your machine to ensure you are selecting the correct part when multiple versions are indicated.

If you cannot locate your part below, please contact our tech support department at techsupport@grizzly.com or 570-546-9663.

Please note: All parts ship out of our Springfield, Missouri facility.

Parts List for Parts for G0715P 10" Hybrid Table Saw with Riving Knife, Polar Bear Series

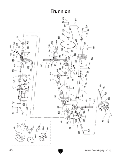
1
*DISCD*EXTENSION WING
$166.75
Enter quantity between 1 and 99
2
CAP SCREW M10-1.25 X 25
Price
N/A
3
LOCK WASHER 10MM
Price
N/A
4
Now: PW04M
FLAT WASHER 10MM
Price
N/A
5
*DISCD*TABLE
$349.05
Enter quantity between 1 and 99
7
FLAT HD SCR M5-.8 X 10
Price
N/A
8
*DISCD*MAGNET
Item is no longer available
Price
N/A
9
*DISCD*STANDARD TABLE INSERT
Item is no longer available
Price
N/A
10
*DISCD*DADO TABLE INSERT
Item is no longer available
Price
N/A
11
*DISCD*MOTOR COVER
$138.90
Enter quantity between 1 and 99
12
INT TOOTH WASHER 6MM
Price
N/A
13
*DISCD*KNOB BOLT M6-1
$3.45
Enter quantity between 1 and 99
14
*DISCD*TILT SCALE
Item is no longer available
Price
N/A
15
*DISCD*STRAIN RELIEF
Item is no longer available
Price
N/A
16
*DISCD*CABINET STAND
Item is no longer available
Price
N/A
17
Now: PS14M
PHLP HD SCR M6-1 X 12
Price
N/A
18
LOCK WASHER 6MM
Price
N/A
19
FENDER WASHER 6MM
Price
N/A
20
*DISCD*BASE PLATE
$79.35
Enter quantity between 1 and 99
21
Now: PW02M
FLAT WASHER 5MM
Price
N/A
22
LOCK WASHER 5MM
Price
N/A
23
CAP SCREW M5-.8 X 12
Price
N/A
24
*DISCD*DUST HOOD 4"
Item is no longer available
Price
N/A
25
*DISCD*LEADSCREW EXTERNAL BRACKET
$8.65
Enter quantity between 1 and 99
26
*DISCD*CABINET REAR ACCESS PANEL
$34.50
Enter quantity between 1 and 99
27
*DISCD*LEADSCREW INTERNAL BRACKET
Item is no longer available
Price
N/A
28
CAP SCREW M8-1.25 X 25
Price
N/A
29
LOCK WASHER 8MM
Price
N/A
30
Now: PW01M
FLAT WASHER 8MM
Price
N/A
31
CAP SCREW M5-.8 X 20
Price
N/A
101
CAP SCREW M8-1.25 X 16
Price
N/A
102
LOCK WASHER 8MM
Price
N/A
103
LOCK NUT M16-2
Price
N/A
104
FENDER WASHER 8MM
Price
N/A
105
Now: PW08M
FLAT WASHER 16MM
Price
N/A
106
MOTOR 2HP 110V/220V 1-PH
$319.10
Enter quantity between 1 and 99
106-1
*DISCD*MOTOR FAN COVER
$24.45
Enter quantity between 1 and 99
106-2
MOTOR FAN
$9.10
Enter quantity between 1 and 99
106-3
*DISCD*MOTOR JUNCTION BOX
$6.90
Enter quantity between 1 and 99
106-4
R CAPACITOR 60M 300V 1-3/4 X 4
$28.75
Enter quantity between 1 and 99
106-5
S CAPACITOR 200M 250V 1-3/4 X 2-1
$32.05
Enter quantity between 1 and 99
106-6
*DISCD*CAPACITOR COVER
Item is no longer available
Price
N/A
106-7
*DISCD*MOTOR END PLATE
$20.15
Enter quantity between 1 and 99
106-8
***USE P4002812-8***
$7.80
Enter quantity between 1 and 99
106-9
*DISCD*CENTRIFUGAL SWITCH
Item is no longer available
Price
N/A
107
LOCK NUT M12-1.75
Price
N/A
108
Now: PK07M
KEY 6 X 6 X 20
Price
N/A
109
ARBOR PULLEY
$14.75
Enter quantity between 1 and 99
110
*DISCD*MOTOR PULLEY
$11.80
Enter quantity between 1 and 99
111
SET SCREW M6-1 X 10
Price
N/A
112
*DISCD*RIBBED V-BELT 6PJ-365
Item is no longer available
Price
N/A
113
*DISCD*ARBOR BUSHING
Item is no longer available
Price
N/A
114
BALL BEARING 6202-2RS
Price
N/A
115
*DISCD*MOTOR MOUNT
Item is no longer available
Price
N/A
115-1
*DISCD*COMPLETE ARBOR BRACKET ASSY
Item is no longer available
Price
N/A
116
*DISCD*COMPRESSION SPRING
Item is no longer available
Price
N/A
117
*DISCD*ARBOR LOCK BUSHING
Item is no longer available
Price
N/A
118
*DISCD*ARBOR LOCK PIN
Item is no longer available
Price
N/A
119
*DISCD*BEVEL STOP SUPPORT
Item is no longer available
Price
N/A
120
Now: PW02M
FLAT WASHER 5MM
Price
N/A
121
LOCK WASHER 5MM
Price
N/A
122
*DISCD*ARBOR LOCK PIN KNOB
Item is no longer available
Price
N/A
123
Now: PS08M
PHLP HD SCR M5-.8 X 12
Price
N/A
124
ARBOR
$47.15
Enter quantity between 1 and 99
125
Now: PK20M
KEY 5 X 5 X 15
Price
N/A
126
BALL BEARING 6203-2RS
Price
N/A
127
Now: PN01M
HEX NUT M6-1
Price
N/A
128
CAP SCREW M6-1 X 40
Price
N/A
129
CAP SCREW M10-1.5 X 55
Price
N/A
130
Now: PN02M
HEX NUT M10-1.5
Price
N/A
131
*DISCD*MAIN TRUNNION
Item is no longer available
Price
N/A
132
*DISCD*MOTOR MOUNT PIVOT SHAFT
$8.05
Enter quantity between 1 and 99
133
HEX BOLT M10-1.25 X 30
Price
N/A
134
LOCK WASHER 10MM
Price
N/A
135
Now: PW04M
FLAT WASHER 10MM
Price
N/A
136
*DISCD*TABLE SHIM
$1.49
Enter quantity between 1 and 99
137
*DISCD*REAR TRUNNION
$11.80
Enter quantity between 1 and 99
138
*DISCD*SPACER
Item is no longer available
Price
N/A
139
*DISCD*SPRING BRACKET
$1.49
Enter quantity between 1 and 99
140
LOCK NUT M5-.8
Price
N/A
141
*DISCD*ARBOR SUPPORT
Item is no longer available
Price
N/A
142
*DISCD*RIVING KNIFE MOUNT
Item is no longer available
Price
N/A
143
*DISCD*LOCK PIN CAM
$4.35
Enter quantity between 1 and 99
144
Now: PW03M
FLAT WASHER 6MM
Price
N/A
145
LOCK WASHER 6MM
Price
N/A
146
CAP SCREW M6-1 X 20
Price
N/A
147
*DISCD*COMPRESSION SPRING
$1.49
Enter quantity between 1 and 99
148
*DISCD*SPACER
Item is no longer available
Price
N/A
149
*DISCD*LOCK PIN
$1.49
Enter quantity between 1 and 99
150
*DISCD*RIVING KNIFE CLAMP PLATE
Item is no longer available
Price
N/A
151
*DISCD*LOCK COLLAR
Item is no longer available
Price
N/A
152
SET SCREW M5-.8 X 6
Price
N/A
153
Now: PR32M
EXT RETAINING RING 48MM
Price
N/A
154
*DISCD*SAW BLADE 10" X 40T 5/8" ARBOR
$56.10
Enter quantity between 1 and 99
155
BLADE FLANGE
Price
N/A
156
ARBOR NUT
$6.15
Enter quantity between 1 and 99
157
CAP SCREW M6-1 X 10
Price
N/A
158
*DISCD*LOWER BLADE GUARD
$11.80
Enter quantity between 1 and 99
159
*DISCD*GROOVED CAPTIVE PIN
$1.49
Enter quantity between 1 and 99
160
*DISCD*SPRING RETAINING SCREW
Item is no longer available
Price
N/A
161
E-CLIP 4MM
Price
N/A
162
*DISCD*TENSION SPRING
Item is no longer available
Price
N/A
163
*DISCD*HANDWHEEL
$64.70
Enter quantity between 1 and 99
164
*DISCD*HANDWHEEL LOCK KNOB
$18.15
Enter quantity between 1 and 99
165
*DISCD*HANDWHEEL HANDLE
$18.15
Enter quantity between 1 and 99
166
*DISCD*BEVELED BUSHING
Item is no longer available
Price
N/A
167
E-CLIP 9MM
Price
N/A
168
*DISCD*SPACER
Item is no longer available
Price
N/A
169
*DISCD*TILT LEADSCREW BEARING
Item is no longer available
Price
N/A
170
ROLL PIN 3 X 20
Price
N/A
171
*DISCD*TILT LEADSCREW
$19.85
Enter quantity between 1 and 99
172
*DISCD*TILT LEADSCREW NUT
Item is no longer available
Price
N/A
173
Now: PS14M
PHLP HD SCR M6-1 X 12
Price
N/A
174
*DISCD*POINTER BRACKET
$1.49
Enter quantity between 1 and 99
175
E-CLIP 12MM
Price
N/A
176
*DISCD*POINTER
$4.35
Enter quantity between 1 and 99
177
Now: PW05M
FLAT WASHER 4MM
Price
N/A
178
Now: PS07M
PHLP HD SCR M4-.7 X 8
Price
N/A
179
*DISCD*ELEVATION SHAFT
$22.45
Enter quantity between 1 and 99
180
*DISCD*SPACER
Item is no longer available
Price
N/A
181
*DISCD*FRONT TRUNNION
$11.80
Enter quantity between 1 and 99
182
*DISCD*ELEVATION SHAFT BUSHING
Item is no longer available
Price
N/A
183
*DISCD*COMPRESSION SPRING
$1.49
Enter quantity between 1 and 99
184
*DISCD*WAVY WASHER 16MM
Item is no longer available
Price
N/A
185
*DISCD*LOCK COLLAR 90 DEG
Item is no longer available
Price
N/A
186
*DISCD*LOCK COLLAR 45 DEG
Item is no longer available
Price
N/A
187
CAP SCREW M5-.8 X 16
Price
N/A
188
*DISCD*TILT LEADSCREW SPACER
Item is no longer available
Price
N/A
189
*DISCD*ELEVATION SHAFT SPACER
Item is no longer available
Price
N/A
190
*DISCD*ARBOR WRENCH 24MM
Item is no longer available
Price
N/A
201
TAP SCREW M3.5 X 19
Price
N/A
202
Now: D4151
Paddle Switch 120/230V
Price
N/A
202-1
SWITCH DISABLING PIN 3/16 X 2-1/8"
Price
N/A
202-2
*DISCD*HOOK FOR DISABLING PIN CHAIN
$1.49
Enter quantity between 1 and 99
203
*DISCD*SWITCH BOX
Item is no longer available
Price
N/A
204
CIRCUIT BREAKER 10A
Price
N/A
204-1
CIRCUIT BREAKER 20A
Price
N/A
205
*DISCD*CIRCUIT BREAKER NUT
$1.49
Enter quantity between 1 and 99
206
Now: PS05M
PHLP HD SCR M5-.8 X 8
Price
N/A
207
LOCK WASHER 5MM
Price
N/A
208
Now: PW02M
FLAT WASHER 5MM
Price
N/A
209
*DISCD*CLAMP-ON TERMINAL RING
$1.49
Enter quantity between 1 and 99
210
EXT TOOTH WASHER 5MM
Price
N/A
211
*DISCD*SWITCH BRACKET
Item is no longer available
Price
N/A
212
TAP SCREW M3.5 X 10
Price
N/A
213
*DISCD*STRAIN RELIEF
$1.49
Enter quantity between 1 and 99
300
*DISCD*BLADE GUARD ASSEMBLY V1
$158.70
Enter quantity between 1 and 99
300V2
*DISCD*BLADE GUARD ASSEMBLY V2.11.10
$215.65
Enter quantity between 1 and 99
301
ROLL PIN 4 X 20
Price
N/A
302
*DISCD*TORSION SPRING
Price
N/A
303
LOCK NUT M6-1
Price
N/A
304
*DISCD*SUPPORTING ARM V2.10.10
Price
N/A
305
Now: PS47M
PHLP HD SCR M6-1 X 25
Price
N/A
306
Now: PW03M
FLAT WASHER 6MM
Price
N/A
307
*DISCD*TOP GUARD
Price
N/A
308
Now: PS17M
PHLP HD SCR M4-.7 X 6
Price
N/A
309
*DISCD*GUARD FRONT
Price
N/A
310
*DISCD*SIDE GUARD V2.10.10
Price
N/A
311
*DISCD*GUARD CLAMP
Price
N/A
312
LOCK NUT M5-.8
Price
N/A
313
Now: PS38M
PHLP HD SCR M4-.7 X 10
Price
N/A
314
ROLL PIN 6 X 32
Price
N/A
315
Now: PS68M
PHLP HD SCR M6-1 X 10
Price
N/A
315V2
*DISCD*RIVET 5 X 12MM BLIND, STEEL
Price
N/A
316
HEX BOLT M4-.7 X 8
Price
N/A
317
*DISCD*GUARD SUPPORT V2.10.10
Price
N/A
318
Now: PS62M
PHLP HD SCR M6-1 X 30
Price
N/A
319
*DISCD*SPACER V2.10.10
Price
N/A
320
*DISCD*SPACER
Price
N/A
321
Now: PS06M
PHLP HD SCR M5-.8 X 20
Price
N/A
321V2
Now: PB42M
HEX BOLT M5-.8 X 20
Price
N/A
322
Now: PW02M
FLAT WASHER 5MM
Price
N/A
323
*DISCD*PAWL
Price
N/A
324
*DISCD*BLADE GUARD ASSEMBLY V4.11.10
Price
N/A
325
*DISCD*RIVING KNIFE 0.100" THICK V2.04.1
Price
N/A
325V2
*DISCD*RIVING KNIFE 0.100" THICK V2.04.1
Item is no longer available
Price
N/A
326
Now: PS05M
PHLP HD SCR M5-.8 X 8
Price
N/A
326V2
*DISCD*RIVET 4 X 8MM BLIND, STEEL
Price
N/A
327
*DISCD*RIVING KNIFE HOOK PLATE
Price
N/A
328
CAP SCREW M5-.8 X 8
Price
N/A
328V2
Now: PB11M
HEX BOLT M5-.8 X 8
Price
N/A
329
CAP SCREW M6-1 X 35
Price
N/A
329V2
Now: PS31M
PHLP HD SCR M6-1 X 35
Price
N/A
400
*DISCD*MITER GAUGE ASSEMBLY
Item is no longer available
Price
N/A
401
*DISCD*HANDLE PLUG
$1.49
Enter quantity between 1 and 99
402
*DISCD*HANDLE
$10.10
Enter quantity between 1 and 99
403
*DISCD*SPACER
$1.49
Enter quantity between 1 and 99
404
*DISCD*MITER GAUGE BODY
$15.85
Enter quantity between 1 and 99
405
Now: PN06M
HEX NUT M5-.8
Price
N/A
406
Now: PS06M
PHLP HD SCR M5-.8 X 20
Price
N/A
407
Now: PS38M
PHLP HD SCR M4-.7 X 10
Price
N/A
408
*DISCD*PIVOT PIN
$1.49
Enter quantity between 1 and 99
409
Now: PW05M
FLAT WASHER 4MM
Price
N/A
410
*DISCD*POINTER
$1.49
Enter quantity between 1 and 99
411
*DISCD*STOP BLOCK
$1.49
Enter quantity between 1 and 99
412
*DISCD*STOP PIN
$1.49
Enter quantity between 1 and 99
413
*DISCD*MITER BAR
Item is no longer available
Price
N/A
414
FLAT HD SCR M4-.7 X 10
Price
N/A
415
*DISCD*T-SLOT WASHER
Item is no longer available
Price
N/A
416
FLAT HD SCR M6-1 X 8
Price
N/A
500
*DISCD*RIP FENCE ASSEMBLY
$297.60
Enter quantity between 1 and 99
501
*DISCD*GLIDE PAD
Item is no longer available
Price
N/A
502
*DISCD*ALUMINUM LOCK NUT M12-1.75
Price
N/A
503
*DISCD*BRASS GLIDE SCREW M12-1.75 X 16
Price
N/A
504
*DISCD*SET SCREW M12-1 X 10
Price
N/A
505
Now: PB47M
HEX BOLT M6-1 X 40
Price
N/A
506
*DISCD*LOCK FOOT
$2.60
Enter quantity between 1 and 99
507
LOCK NUT M6-1
Price
N/A
508
Now: PB22M
HEX BOLT M8-1.25 X 50
Price
N/A
509
*DISCD*FENCE LOCK LEVER
$11.80
Enter quantity between 1 and 99
510
*DISCD*MAGNET
Item is no longer available
Price
N/A
511
*DISCD*BALL KNOB
$5.75
Enter quantity between 1 and 99
512
LOCK NUT M10-1.25
Price
N/A
513
Now: PS22M
PHLP HD SCR M5-.8 X 25
Price
N/A
514
LOCK WASHER 5MM
Price
N/A
515
*DISCD*FENCE SCALE WINDOW
Item is no longer available
Price
N/A
516
*DISCD*FENCE FACE
Item is no longer available
Price
N/A
517
Now: PS11M
PHLP HD SCR M6-1 X 16
Price
N/A
518
*DISCD*FENCE BASE
$142.90
Enter quantity between 1 and 99
519
*DISCD*FENCE BASE END CAP 50 X 50MM
Item is no longer available
Price
N/A
520
*DISCD*GLIDE SCREW M12-1.75 X 30
Price
N/A
601
*DISCD*REAR RAIL
$77.35
Enter quantity between 1 and 99
602
Now: PW04M
FLAT WASHER 10MM
Price
N/A
603
LOCK WASHER 10MM
Price
N/A
604
CAP SCREW M10-1.5 X 25
Price
N/A
605
CAP SCREW M8-1.25 X 35
Price
N/A
606
Now: PW01M
FLAT WASHER 8MM
Price
N/A
607
LOCK WASHER 8MM
Price
N/A
608
Now: PN03M
HEX NUT M8-1.25
Price
N/A
609
*DISCD*FRONT RAIL
$75.35
Enter quantity between 1 and 99
610
Now: PW03M
FLAT WASHER 6MM
Price
N/A
611
LOCK WASHER 6MM
Price
N/A
612
CAP SCREW M6-1 X 16
Price
N/A
613
*DISCD*GUIDE TUBE END CAP 40 X 50MM
$1.49
Enter quantity between 1 and 99
614
*DISCD*FENCE SCALE
$6.05
Enter quantity between 1 and 99
615
*DISCD*FENCE GUIDE TUBE
$79.35
Enter quantity between 1 and 99
616
FLAT HD SCR M8-1.25 X 35
Price
N/A
617
CAP SCREW M5-.8 X 12
Price
N/A
618
Now: PW02M
FLAT WASHER 5MM
Price
N/A
619
LOCK WASHER 5MM
Price
N/A
701
ELECTRICITY 0.7W X 0.6H
Price
N/A
702
*DISCD*RIVING KNIFE PRECAUTIONS LABEL
$1.50
Enter quantity between 1 and 99
703
TABLE SAW BLADE GUARD 4.7W X 1.8H
Price
N/A
704
*DISCD*RIP FENCE LABEL
Item is no longer available
Price
N/A
705
GLASSES/RESPIRATOR 2W X 3.3H
Price
N/A
706
POLAR BEAR WHITE TOUCH-UP PAINT
Price
N/A
707
Now: G8588
Nameplate - Small
Price
N/A
708
*DISCD*GRIZZLY GREEN TAPE 3PC SET
Item is no longer available
Price
N/A
709
POLAR BEAR LOGO-LARGE 9.5W X 2.5H
Price
N/A
710
*DISCD*MODEL NUMBER LABEL
Item is no longer available
Price
N/A
711
POLAR BEAR GRIZZLY.COM 10.8W X 1.2H
Price
N/A
712
*DISCD*MACHINE ID LABEL
Item is no longer available
Price
N/A
713
READ MANUAL 2W X 3.3H V2.07.05
Price
N/A
714
TABLE SAW UL 987 2.5W X 2.1H
Price
N/A
715
DOOR CLOSED BLADE 2W X 3.3H
Price
N/A
716
DISCONNECT 220V 2W X 3.3H
Price
N/A
BOX3
*DISCD*COMPLETE FENCE RAILS ASSY BOX 3
$186.30
Enter quantity between 1 and 99
HDWBAG
*DISCD*HARDWARE BAG FOR G0715P
$40.25
Enter quantity between 1 and 99
MAN
MANUAL FOR G0715P 07/10
$17.25
Enter quantity between 1 and 99