Parts for G0747 Vertical Mill - 16 Speed

Parts Diagrams for G0747 - Vertical Mill - 16 Speed

IMPORTANT

Parts may have multiple versions that have changed over time. This will be indicated by V1, V2, V3, etc. in the parts description, followed by the version month and year that it was first used. Example: V2.01.17 indicates version 2 of a part went into use in January 2017. Please reference the manufacture date on the ID Label for your machine to ensure you are selecting the correct part when multiple versions are indicated.

If you cannot locate your part below, please contact our tech support department at techsupport@grizzly.com or 570-546-9663.

Please note: All parts ship out of our Springfield, Missouri facility.

Parts List for Parts for G0747 Vertical Mill - 16 Speed

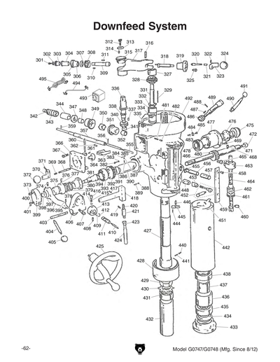
1
*DISCD*QUILL HOUSING ADJUSTMENT GEAR
Item is no longer available
Price
N/A
2
*DISCD*RAM ADAPTER
Item is no longer available
Price
N/A
4
*DISCD*LIFTING EYE BOLT 28MM DIA M10-1.5
Item is no longer available
Price
N/A
6
*DISCD*HEAD TILT ADJUSTING WORM
Item is no longer available
Price
N/A
7
*DISCD*THRUST WASHER 14MM
Item is no longer available
Price
N/A
8
*DISCD*HEAD TILT ADJUSTING WORM SHAFT
Item is no longer available
Price
N/A
9
Now: PK36M
KEY 5 X 5 X 50
Price
N/A
10
*DISCD*RAM CASTING
Item is no longer available
Price
N/A
13
CAP SCREW M8-1.25 X 30
Price
N/A
14
ROLL PIN 6 X 30
Price
N/A
15
*DISCD*HEAD TILT SCALE
Item is no longer available
Price
N/A
16
RIVET 2 X 5MM NAMEPLATE, STEEL
Price
N/A
17
*DISCD*RAM ADAPTER PIVOT BOLT M28.5 X 18
Item is no longer available
Price
N/A
18
Now: PW10M
FLAT WASHER 14MM
Price
N/A
19
HEX BOLT M14-2 X 190
Price
N/A
23
*DISCD*TABLE 10" X 50"
Item is no longer available
Price
N/A
31
*DISCD*LIMIT STOP ASSEMBLY
Price
N/A
32
*DISCD*LIMIT STOP ASSEMBLY
Price
N/A
32A
*DISCD*LIMIT STOP ASSEMBLY
Item is no longer available
Price
N/A
33
Now: PN09M
HEX NUT M12-1.75
Price
N/A
37
*DISCD*SADDLE LOCK BOLT HANDLE ASSEMBLY
Price
N/A
37A
*DISCD*SADDLE LOCK BOLT HANDLE ASSEMBLY
Item is no longer available
Price
N/A
38
*DISCD*SADDLE LOCK BOLT HANDLE ASSEMBLY
Price
N/A
39
*DISCD*SADDLE LOCK BOLT HANDLE ASSEMBLY
Price
N/A
40
CAP SCREW M10-1.5 X 15
Price
N/A
41
*DISCD*GIB ADJUSTING SCREW
Item is no longer available
Price
N/A
42
*DISCD*TABLE STOP BRACKET
Item is no longer available
Price
N/A
43
*DISCD*TABLE GIB
Item is no longer available
Price
N/A
44
*DISCD*SADDLE WAY WIPER
Item is no longer available
Price
N/A
46
*DISCD*TABLE LOCK BOLT HANDLE ASSEMBLY
Price
N/A
47
*DISCD*TABLE LOCK BOLT HANDLE ASSEMBLY
Price
N/A
48
*DISCD*TABLE LOCK BOLT HANDLE ASSEMBLY
Price
N/A
48A
*DISCD*TABLE LOCK BOLT HANDLE ASSEMBLY
$31.05
Enter quantity between 1 and 99
49
*DISCD*SADDLE GIB
Item is no longer available
Price
N/A
50
*DISCD*SADDLE WIPER HOLDER
Item is no longer available
Price
N/A
51
Now: PS14M
PHLP HD SCR M6-1 X 12
Price
N/A
52
*DISCD*SADDLE CASTING
Item is no longer available
Price
N/A
53
*DISCD*LEFT COLUMN WAY WIPER ASSEMBLY
Price
N/A
54
*DISCD*LEFT COLUMN WAY WIPER ASSEMBLY
Price
N/A
54A
*DISCD*LEFT COLUMN WAY WIPER ASSEMBLY
Item is no longer available
Price
N/A
55
*DISCD*KNEE GIB
Item is no longer available
Price
N/A
56
CAP SCREW M6-1 X 12
Price
N/A
57
*DISCD*RIGHT COLUMN WAY WIPER ASSEMBLY
Price
N/A
58
*DISCD*RIGHT COLUMN WAY WIPER ASSEMBLY
Price
N/A
58A
*DISCD*RIGHT COLUMN WAY WIPER ASSEMBLY
Item is no longer available
Price
N/A
60
*DISCD*UPPER SADDLE COVER
Item is no longer available
Price
N/A
61
*DISCD*LOWER SADDLE COVER
Item is no longer available
Price
N/A
62
*DISCD*KNEE CASTING
Item is no longer available
Price
N/A
64
*DISCD*KNEE LOCK BOLT ASSEMBLY
Price
N/A
65
*DISCD*KNEE LOCK BOLT ASSEMBLY
Item is no longer available
Price
N/A
69
*DISCD*KNEE LOCK BOLT ASSEMBLY
Price
N/A
71
*DISCD*KNEE PLUG
Item is no longer available
Price
N/A
74
Now: PN13
HEX NUT 1/2-13
Price
N/A
75
Now: PK34M
KEY 5 X 5 X 20
Price
N/A
76
Now: PW01
FLAT WASHER 1/2
Price
N/A
77
*DISCD*Z-AXIS BEVEL GEAR
Item is no longer available
Price
N/A
79
Now: P3305
ANGULAR CONTACT BEARING 3305
Price
N/A
80
*DISCD*BEARING RETAINER RING
Item is no longer available
Price
N/A
81
CAP SCREW M6-1 X 20
Price
N/A
82
*DISCD*Z-AXIS LEADSCREW
Item is no longer available
Price
N/A
83
*DISCD*CRANK HANDLE
Item is no longer available
Price
N/A
84
*DISCD*Z-AXIS CRANK ARM
Item is no longer available
Price
N/A
85
*DISCD*CLUTCH
Item is no longer available
Price
N/A
86
*DISCD*DIAL LOCK NUT
Item is no longer available
Price
N/A
87
*DISCD*GRADUATED DIAL
Item is no longer available
Price
N/A
88
*DISCD*DIAL HOLDER
Item is no longer available
Price
N/A
89
CAP SCREW M6-1 X 20
Price
N/A
90
*DISCD*BEARING RETAINER RING
Item is no longer available
Price
N/A
91
BALL BEARING 6204ZZ
Price
N/A
92
*DISCD*BEARING CAP
Item is no longer available
Price
N/A
93
KEY 4 X 4 X 18
Price
N/A
94
*DISCD*Z-AXIS SHAFT
Item is no longer available
Price
N/A
95
BALL BEARING 6204ZZ
Price
N/A
96
*DISCD*BEVELED PINION GEAR
Item is no longer available
Price
N/A
98
*DISCD*COLUMN CASTING
Item is no longer available
Price
N/A
102
CAP SCREW M10-1.5 X 40
Price
N/A
103
*DISCD*Z-AXIS PEDESTAL
Item is no longer available
Price
N/A
104
*DISCD*Z-AXIS LEADSCREW NUT
Item is no longer available
Price
N/A
105
CAP SCREW M6-1 X 20
Price
N/A
118
*DISCD*RAM SWIVEL
Item is no longer available
Price
N/A
119
*DISCD*RAM LOCK BOLT M16-2 X 35
Item is no longer available
Price
N/A
120
*DISCD*RAM PINION
Item is no longer available
Price
N/A
123
Now: PW06M
FLAT WASHER 12MM
Price
N/A
124
*DISCD*TURRET
Item is no longer available
Price
N/A
128
*DISCD*DOWEL PIN 13.5 X 26
Item is no longer available
Price
N/A
129
*DISCD*RAM LOCK BOLT M12-1.75 X 185
Item is no longer available
Price
N/A
131
*DISCD*RAM GIB
Item is no longer available
Price
N/A
132
*DISCD*RAM GIB ADJUSTMENT SET SCREW
Item is no longer available
Price
N/A
133
Now: PN02M
HEX NUT M10-1.5
Price
N/A
134
*DISCD*COLUMN WAY COVER
$55.20
Enter quantity between 1 and 99
135
BUTTON HD CAP SCR M5-.8 X 18
Price
N/A
136
Now: PN06M
HEX NUT M5-.8
Price
N/A
137
Now: PW02M
FLAT WASHER 5MM
Price
N/A
138
*DISCD*FRONT SADDLE WAY COVER
Item is no longer available
Price
N/A
201
Now: PN13
HEX NUT 1/2-13
Price
N/A
202
*DISCD*BALL CRANK HANDLE
Item is no longer available
Price
N/A
203
*DISCD*DIAL LOCK NUT
Item is no longer available
Price
N/A
204
*DISCD*GRADUATED DIAL
Item is no longer available
Price
N/A
205
*DISCD*DIAL HOLDER
Item is no longer available
Price
N/A
206
CAP SCREW M6-1 X 16
Price
N/A
207
*DISCD*BEARING RETAINER RING
Item is no longer available
Price
N/A
208
BALL BEARING 6204ZZ
Price
N/A
209
ROLL PIN 5 X 30
Price
N/A
210
CAP SCREW M10-1.5 X 25
Price
N/A
211
*DISCD*LEFT X-AXIS LEADSCREW BRACKET
Item is no longer available
Price
N/A
212
*DISCD*RIGHT X-AXIS LEADSCREW BRACKET
Item is no longer available
Price
N/A
214
Now: PK92M
KEY 3 X 3 X 25
Price
N/A
215
*DISCD*X-AXIS LEADSCREW
Item is no longer available
Price
N/A
216
FLAT HD CAP SCR M6-1 X 16
Price
N/A
217
CAP SCREW M6-1 X 25
Price
N/A
218
Now: PW03M
FLAT WASHER 6MM
Price
N/A
219
*DISCD*X-AXIS LEADSCREW NUT ASSEMBLY
Price
N/A
219A
*DISCD*X-AXIS LEADSCREW NUT ASSEMBLY
Item is no longer available
Price
N/A
220
*DISCD*X-AXIS LEADSCREW NUT ASSEMBLY
Price
N/A
221
CAP SCREW M10-1.5 X 25
Price
N/A
222
*DISCD*LEADSCREW NUT BRACKET
Item is no longer available
Price
N/A
223
*DISCD*Y-AXIS LEADSCREW NUT ASSEMBLY
Price
N/A
223A
*DISCD*Y-AXIS LEADSCREW NUT ASSEMBLY
Item is no longer available
Price
N/A
224
*DISCD*Y-AXIS LEADSCREW NUT ASSEMBLY
Price
N/A
226
*DISCD*BALL CRANK
Item is no longer available
Price
N/A
227
*DISCD*Y-AXIS LEADSCREW
Item is no longer available
Price
N/A
228
*DISCD*Y-AXIS LEADSCREW BRACKET
Item is no longer available
Price
N/A
229
Now: PLW07
LOCK WASHER 1/2
Price
N/A
301
Now: PS31
PHLP HD SCR 10-24 X 1-3/4
Price
N/A
302
*DISCD*WORM GEAR CRADLE ASSEMBLY
Price
N/A
303
*DISCD*WORM GEAR CRADLE ASSEMBLY
Price
N/A
304
*DISCD*WORM GEAR CRADLE ASSEMBLY
Price
N/A
305
*DISCD*WORM GEAR CRADLE ASSEMBLY
Price
N/A
306
Now: PSS07
SET SCREW 1/4-20 X 1/2
Price
N/A
307
*DISCD*WORM GEAR CRADLE ASSEMBLY
Price
N/A
308
*DISCD*WORM GEAR CRADLE ASSEMBLY
Price
N/A
309
*DISCD*WORM GEAR CRADLE ASSEMBLY
Price
N/A
310
Now: PK39M
KEY 3 X 3 X 10
Price
N/A
311
Now: PK98M
KEY 3 X 3 X 16
Price
N/A
312
*DISCD*WORM GEAR CRADLE ASSEMBLY
Price
N/A
313
Now: PW01M
FLAT WASHER 8MM
Price
N/A
314
Now: PK39M
KEY 3 X 3 X 10
Price
N/A
315
*DISCD*WORM GEAR CRADLE ASSEMBLY
Price
N/A
316
*DISCD*WORM GEAR CRADLE ASSEMBLY
Price
N/A
317
*DISCD*WORM GEAR CRADLE ASSEMBLY
Price
N/A
317A
*DISCD*WORM GEAR CRADLE ASSEMBLY
Item is no longer available
Price
N/A
318
*DISCD*WORM GEAR CRADLE THROW-OUT
$39.70
Enter quantity between 1 and 99
319
*DISCD*SHIFT SLEEVE
$34.50
Enter quantity between 1 and 99
320
*DISCD*GEAR SHIFT PLUNGER
Item is no longer available
Price
N/A
321
*DISCD*COMPRESSION SPRING
Item is no longer available
Price
N/A
322
ROLL PIN 3 X 20
Price
N/A
323
*DISCD*SHIFT CRANK
Item is no longer available
Price
N/A
324
*DISCD*ROUND PLASTIC KNOB 1/4-20 1" OD
Item is no longer available
Price
N/A
325
CAP SCREW M5-.8 X 12
Price
N/A
327
*DISCD*CLUSTER GEAR SHAFT BRASS SLEEVE
Item is no longer available
Price
N/A
328
*DISCD*CLUSTER COMBO GEAR
Item is no longer available
Price
N/A
329
Now: PK53M
KEY 3 X 3 X 45
Price
N/A
331
*DISCD*CLUSTER GEAR SHAFT
Item is no longer available
Price
N/A
332
Now: PR06M
EXT RETAINING RING 16MM
Price
N/A
333
*DISCD*BEVEL GEAR BRASS SLEEVE
Item is no longer available
Price
N/A
334
*DISCD*BEVEL GEAR THRUST WASHER
Item is no longer available
Price
N/A
335
*DISCD*WORM GEAR CRADLE ASSEMBLY
Price
N/A
336
*DISCD*WORM GEAR CRADLE ASSEMBLY
Price
N/A
337
Now: PK39M
KEY 3 X 3 X 10
Price
N/A
338
*DISCD*WORM GEAR CRADLE ASSEMBLY
Price
N/A
340
*DISCD*WORM GEAR CRADLE ASSEMBLY
Price
N/A
341
*DISCD*NEEDLE BEARING BA66
Item is no longer available
Price
N/A
342
*DISCD*BUSHING
Item is no longer available
Price
N/A
343
*DISCD*FEED WORM
Item is no longer available
Price
N/A
344
*DISCD*FEED WORM SHAFT BUSHING
Item is no longer available
Price
N/A
347
*DISCD*FEED WORM SHAFT THRUST WASHER
Item is no longer available
Price
N/A
348
*DISCD*FEED REVERSE ASSEMBLY
Price
N/A
349
*DISCD*FEED REVERSE ASSEMBLY
Price
N/A
349A
*DISCD*FEED REVERSE ASSEMBLY
Item is no longer available
Price
N/A
350
*DISCD*FEED REVERSE CLUTCH
Item is no longer available
Price
N/A
351
*DISCD*FEED REVERSE ASSEMBLY
Price
N/A
351A
*DISCD*FEED REVERSE ASSEMBLY
Price
N/A
352
*DISCD*FEED REVERSE ASSEMBLY
Price
N/A
355
*DISCD*REVERSE CLUTCH ROD
Item is no longer available
Price
N/A
356
ROLL PIN 3 X 20
Price
N/A
357
*DISCD*FEED WORM SHAFT
Item is no longer available
Price
N/A
359
ROLL PIN 3 X 12
Price
N/A
360
*DISCD*FEED SHAFT ROD
Item is no longer available
Price
N/A
361
SET SCREW M5-.8 X 6
Price
N/A
362
Now: PK52M
KEY 3 X 3 X 15
Price
N/A
363
*DISCD*FEED GEAR SHIFT CRANK
Item is no longer available
Price
N/A
364
*DISCD*CLUSTER GEAR SHIFT CRANK
Item is no longer available
Price
N/A
366
*DISCD*CLUSTER GEAR COVER
Item is no longer available
Price
N/A
367
CAP SCREW M5-.8 X 12
Price
N/A
368
*DISCD*GEAR SHIFT PLUNGER
Item is no longer available
Price
N/A
369
*DISCD*COMPRESSION SPRING
Item is no longer available
Price
N/A
370
*DISCD*SHIFT CRANK
Item is no longer available
Price
N/A
371
ROLL PIN 3 X 20
Price
N/A
372
*DISCD*ROUND PLASTIC KNOB 1/4-20 1" OD
Price
N/A
373
CAP SCREW M5-.8 X 35
Price
N/A
374
*DISCD*CLUTCH RING PIN
Item is no longer available
Price
N/A
375
*DISCD*CLUTCH RING
Item is no longer available
Price
N/A
376
SET SCREW M6-1 X 8
Price
N/A
378
*DISCD*OVERLOAD CLUTCH LOCKNUT
Item is no longer available
Price
N/A
379
*DISCD*SAFETY CLUTCH COMPRESSION SPRING
Item is no longer available
Price
N/A
380
*DISCD*OVERLOAD CLUTCH
Item is no longer available
Price
N/A
381
*DISCD*OVERLOAD CLUTCH SLEEVE
Item is no longer available
Price
N/A
382
LOCK WASHER 4MM
Price
N/A
383
Now: PS56M
PHLP HD SCR M4-.7 X 16
Price
N/A
384
SET SCREW M6-1 X 12
Price
N/A
385
SET SCREW M6-1 X 8
Price
N/A
386
SET SCREW M6-1 X 6
Price
N/A
387
SET SCREW M6-1 X 10
Price
N/A
388
*DISCD*COMPRESSION SPRING
Item is no longer available
Price
N/A
389
*DISCD*OVERLOAD CLUTCH LEVER SPRING PLUN
Item is no longer available
Price
N/A
390
*DISCD*PINION SHAFT ASSEMBLY
Price
N/A
390A
*DISCD*PINION SHAFT ASSEMBLY
Item is no longer available
Price
N/A
391
*DISCD*PINION SHAFT ASSEMBLY
Price
N/A
392
*DISCD*OVERLOAD CLUTCH ASSEMBLY
Price
N/A
392A
*DISCD*OVERLOAD CLUTCH ASSEMBLY
Item is no longer available
Price
N/A
393
*DISCD*OVERLOAD CLUTCH ASSEMBLY
Price
N/A
394
Now: PR02M
EXT RETAINING RING 14MM
Price
N/A
395
*DISCD*DOWEL PIN
Item is no longer available
Price
N/A
396
*DISCD*OVERLOAD CLUTCH TRIP LEVER
Item is no longer available
Price
N/A
397
Now: PW04M
FLAT WASHER 10MM
Price
N/A
398
Now: PR01M
EXT RETAINING RING 10MM
Price
N/A
399
*DISCD*CLUTCH ARM COVER
Item is no longer available
Price
N/A
400
SET SCREW M6-1 X 6
Price
N/A
401
Now: PN01M
HEX NUT M6-1
Price
N/A
403
*DISCD*CAM ROD
Item is no longer available
Price
N/A
404
*DISCD*SPRING STUD 1/4-20 X 3-1/4, 3/8
Item is no longer available
Price
N/A
405
*DISCD*ROUND PLASTIC KNOB 1/4-20 1" OD
Price
N/A
406
*DISCD*FEED TRIP BRACKET
Item is no longer available
Price
N/A
407
CAP SCREW M6-1 X 20
Price
N/A
408
SET SCREW M6-1 X 6
Price
N/A
409
KEY 3 X 3 X 12
Price
N/A
410
*DISCD*FEED REVERSE KNOB ASSEMBLY
Price
N/A
411
*DISCD*FEED REVERSE KNOB ASSEMBLY
Price
N/A
411A
*DISCD*FEED REVERSE KNOB ASSEMBLY
Item is no longer available
Price
N/A
412
Now: PR02M
EXT RETAINING RING 14MM
Price
N/A
413
*DISCD*HANDWHEEL CLUTCH
Item is no longer available
Price
N/A
414
STEEL BALL 3/16
Price
N/A
415
*DISCD*COMPRESSION SPRING
Item is no longer available
Price
N/A
416
SET SCREW M8-1.25 X 8
Price
N/A
417
ROLL PIN 3 X 20
Price
N/A
418
*DISCD*CAM ROD SLEEVE ASSEMBLY
Item is no longer available
Price
N/A
419
ROLL PIN 3 X 12
Price
N/A
420
*DISCD*COMPRESSION SPRING
Item is no longer available
Price
N/A
421
*DISCD*TRIP PLUNGER
Item is no longer available
Price
N/A
423
*DISCD*TRIP PLUNGER BUSHING
Item is no longer available
Price
N/A
424
*DISCD*FEED TRIP PLUNGER
Item is no longer available
Price
N/A
425
*DISCD*FINE DOWNFEED HANDWHEEL ASSY
Item is no longer available
Price
N/A
427
*DISCD*SPINDLE ASSEMBLY
Price
N/A
427A
*DISCD*SPINDLE ASSEMBLY
Item is no longer available
Price
N/A
428
*DISCD*QUILL SKIRT
Item is no longer available
Price
N/A
429
*DISCD*SPINDLE ASSEMBLY
Price
N/A
430
*DISCD*SPANNER NUT LOCK WASHER
Item is no longer available
Price
N/A
431
BALL BEARING 6206ZZ
Price
N/A
433
*DISCD*QUILL NOSE PIECE
Item is no longer available
Price
N/A
434
*DISCD*LOWER SPINDLE SEAL 64 X 35MM
Item is no longer available
Price
N/A
435
Now: P7207
ANGULAR CONTACT BEARING 7207
Price
N/A
436
*DISCD*BEARING SPACER ASSEMBLY
Price
N/A
436A
*DISCD*BEARING SPACER ASSEMBLY
Item is no longer available
Price
N/A
437
*DISCD*BEARING SPACER ASSEMBLY
Price
N/A
438
Now: P7207
ANGULAR CONTACT BEARING 7207
Price
N/A
440
SET SCREW M6-1 X 8
Price
N/A
441
SET SCREW M6-1 X 6
Price
N/A
442
*DISCD*QUILL
Item is no longer available
Price
N/A
444
SET SCREW M4-.7 X 16
Price
N/A
445
*DISCD*FEED TRIP LEVER
Item is no longer available
Price
N/A
446
*DISCD*TRIP LEVER PIN
Item is no longer available
Price
N/A
448
*DISCD*UNTAPPED QUILL LOCK PLUNGER
Item is no longer available
Price
N/A
452
*DISCD*QUILL LOCK HANDLE ASSEMBLY
Item is no longer available
Price
N/A
453
*DISCD*TAPPED QUILL LOCK PLUNGER
Item is no longer available
Price
N/A
455
*DISCD*HEAD ROTATION CLAMPING T-BOLT
Item is no longer available
Price
N/A
456
*DISCD*CLAMPING BOLT SPACER
Item is no longer available
Price
N/A
457
*DISCD*HEAD ROTATION CLAMPING BOLT
Item is no longer available
Price
N/A
458
Now: PS17M
PHLP HD SCR M4-.7 X 6
Price
N/A
459
*DISCD*QUILL TRAVEL SCALE
Item is no longer available
Price
N/A
460
Now: PR06M
EXT RETAINING RING 16MM
Price
N/A
461
*DISCD*QUILL TRAVEL ASSEMBLY
Price
N/A
462
*DISCD*QUILL TRAVEL ASSEMBLY
Price
N/A
463
*DISCD*QUILL TRAVEL DOG
Item is no longer available
Price
N/A
464
*DISCD*QUILL TRAVEL ASSEMBLY
Price
N/A
464A
*DISCD*QUILL TRAVEL ASSEMBLY
Item is no longer available
Price
N/A
465
*DISCD*QUILL TRAVEL DOG SCREW
Item is no longer available
Price
N/A
466
*DISCD*QUILL PINION ASSEMBLY
Price
N/A
468
ROLL PIN 5 X 10
Price
N/A
469
Now: PS40M
PHLP HD SCR M5-.8 X 16
Price
N/A
471
Now: PK96M
KEY 3 X 3 X 20
Price
N/A
472
*DISCD*PINION SHAFT HUB SCREW
Item is no longer available
Price
N/A
475
*DISCD*RACK FEED HANDLE HUB
$43.15
Enter quantity between 1 and 99
476
*DISCD*PINION SHAFT HUB SLEEVE
Item is no longer available
Price
N/A
477
*DISCD*QUILL RETURN SPRING ASSEMBLY
Price
N/A
477A
*DISCD*QUILL RETURN SPRING ASSEMBLY
Item is no longer available
Price
N/A
478
*DISCD*QUILL RETURN SPRING ASSEMBLY
Price
N/A
480
*DISCD*QUILL PINION ASSEMBLY
Price
N/A
480A
*DISCD*QUILL PINION ASSEMBLY
Item is no longer available
Price
N/A
481
SET SCREW M6-1 X 6
Price
N/A
482
SET SCREW M6-1 X 10
Price
N/A
483
*DISCD*REVERSE TRIP BALL LEVER
Item is no longer available
Price
N/A
484
*DISCD*FEED REVERSE TRIP PLUNGER
Item is no longer available
Price
N/A
485
*DISCD*REVERSE TRIP BALL LEVER SCREW
Item is no longer available
Price
N/A
486
*DISCD*WORM GEAR
Item is no longer available
Price
N/A
487
KEY 4 X 4 X 18
Price
N/A
488
SET SCREW M6-1 X 8
Price
N/A
489
*DISCD*WORM SHAFT
Item is no longer available
Price
N/A
490
*DISCD*SHOULDER STUD-DE 3/8-16 X 7-1/4,
$10.35
Enter quantity between 1 and 99
491
*DISCD*ROUND PLASTIC KNOB 3/8-16 1-1/4"
$8.65
Enter quantity between 1 and 99
492
*DISCD*QUILL HOUSING
Item is no longer available
Price
N/A
493
*DISCD*POWER SWITCH YK 220V 8-POS
Item is no longer available
Price
N/A
494
*DISCD*MOTOR CORD 14G 4W 36"
Item is no longer available
Price
N/A
495
*DISCD*POWER CORD 14G 4W 72"
Item is no longer available
Price
N/A
501
*DISCD*DRAWBAR 7/16-20 X 23-1/2
Item is no longer available
Price
N/A
503
*DISCD*UPPER BEARING LOCK NUT
Item is no longer available
Price
N/A
504
*DISCD*SPINDLE PULLEY BEARING SLEEVE ASS
Price
N/A
505
BALL BEARING 6207ZZ
Price
N/A
506
*DISCD*UPPER BEARING SPACER ASSEMBLY
Price
N/A
507
*DISCD*UPPER BEARING SPACER ASSEMBLY
Price
N/A
507A
*DISCD*UPPER BEARING SPACER ASSEMBLY
Item is no longer available
Price
N/A
508
BALL BEARING 6207ZZ
Price
N/A
509
*DISCD*COMPRESSION SPRING
Item is no longer available
Price
N/A
510
SET SCREW M6-1 X 12
Price
N/A
511
*DISCD*SPINDLE PULLEY BEARING SLEEVE ASS
Price
N/A
511A
*DISCD*SPINDLE PULLEY BEARING SLEEVE ASS
Item is no longer available
Price
N/A
512
Now: PN02
HEX NUT 5/16-18
Price
N/A
513
EXT TOOTH WASHER 5/16
Price
N/A
514
*DISCD*BRAKE RING STEP SCREW
Item is no longer available
Price
N/A
515
*DISCD*EXTENSION SPRING
Item is no longer available
Price
N/A
516
Now: PS12M
PHLP HD SCR M3-.5 X 6
Price
N/A
517
*DISCD*BRAKE LOCKING BOLT
Item is no longer available
Price
N/A
518
*DISCD*BRAKE SHOE ASSEMBLY
Item is no longer available
Price
N/A
519
*DISCD*SPINDLE PULLEY
Item is no longer available
Price
N/A
520
*DISCD*SPINDLE PULLEY HUB
Item is no longer available
Price
N/A
522
Now: PVA33
V-BELT A33
Price
N/A
523
*DISCD*TIMING BELT 225L 1"W 60T
Item is no longer available
Price
N/A
524
*DISCD*TIMING PULLEY ASSEMBLY
Price
N/A
525
*DISCD*TIMING PULLEY ASSEMBLY
Price
N/A
525A
*DISCD*TIMING PULLEY ASSEMBLY
Item is no longer available
Price
N/A
527
FLAT HD SCR M5-.8 X 8
Price
N/A
528
Now: PN09
HEX NUT 5/8-18
Price
N/A
529
*DISCD*ROUND PLASTIC KNOB 5/16-18 1-1/4"
Item is no longer available
Price
N/A
530
*DISCD*SHOULDER STUD 5/16-18 X 4, 1/2,3/
Item is no longer available
Price
N/A
531
*DISCD*CAM RING
Item is no longer available
Price
N/A
532
*DISCD*CAM RING PIN
Item is no longer available
Price
N/A
533
SET SCREW M5-.8 X 8
Price
N/A
534
*DISCD*BRAKE LEVER
Item is no longer available
Price
N/A
535
*DISCD*BRAKE LOCK PIN
Item is no longer available
Price
N/A
539
Now: PN02
HEX NUT 5/16-18
Price
N/A
541
*DISCD*SHOULDER STUD-DE 5/16-18 X 2-1/2,
Item is no longer available
Price
N/A
542
*DISCD*BELT AND GEAR HOUSING ASSEMBLY
Price
N/A
542A
*DISCD*BELT AND GEAR HOUSING ASSEMBLY
Item is no longer available
Price
N/A
543
*DISCD*MOTOR LOCK NUT
Item is no longer available
Price
N/A
545
*DISCD*SHOULDER STUD-DE 5/16-18 X 3, 5/8
Item is no longer available
Price
N/A
546
*DISCD*ROUND PLASTIC KNOB 5/16-18 1-1/4"
Price
N/A
549
*DISCD*MOTOR PULLEY
Item is no longer available
Price
N/A
550
*DISCD*GEAR HOUSING COVER
Item is no longer available
Price
N/A
551
Now: PS08M
PHLP HD SCR M5-.8 X 12
Price
N/A
555
*DISCD*OIL CUP 1/8" NPT X 8MM X 23MM
Item is no longer available
Price
N/A
556
Now: PK40M
KEY 8 X 8 X 16
Price
N/A
557
*DISCD*SPLINED GEAR HUB
Item is no longer available
Price
N/A
558
*DISCD*SPLINED BULL GEAR 81T
Item is no longer available
Price
N/A
559
BALL BEARING 6203ZZ
Price
N/A
560
*DISCD*BACK GEAR SHAFT
Item is no longer available
Price
N/A
561
Now: PK08M
KEY 5 X 5 X 16
Price
N/A
562
*DISCD*BACK GEAR 26T
Item is no longer available
Price
N/A
563
BALL BEARING 6203ZZ
Price
N/A
564
*DISCD*DOWEL PIN 8.8 X 58
Item is no longer available
Price
N/A
565
*DISCD*BACK GEAR SHIFTER FORK
Item is no longer available
Price
N/A
566
*DISCD*BELT AND GEAR HOUSING ASSEMBLY
Price
N/A
569
CAP SCREW M6-1 X 25
Price
N/A
571
BALL BEARING 6208ZZ
Price
N/A
572
Now: PR50M
INT RETAINING RING 80MM
Price
N/A
573
*DISCD*SPANNER NUT LOCK WASHER
Item is no longer available
Price
N/A
574
*DISCD*SPANNER NUT
Item is no longer available
Price
N/A
575
Now: PN19
HEX NUT 7/16-14
Price
N/A
576
*DISCD*T-BOLT
Item is no longer available
Price
N/A
577
*DISCD*T-BOLT FLAT WASHER 7/16"
Item is no longer available
Price
N/A
578
*DISCD*HIGH-LOW SHIFT LEVER
Item is no longer available
Price
N/A
579
ROLL PIN 3 X 20
Price
N/A
580
*DISCD*HIGH-LOW SHIFT BUSHING
Item is no longer available
Price
N/A
581
*DISCD*HIGH-LOW SHIFT CRANK
Item is no longer available
Price
N/A
582
*DISCD*ROUND PLASTIC KNOB 1/4-20 1" OD
Price
N/A
583
*DISCD*DETENT LOCK PIN
Item is no longer available
Price
N/A
584
*DISCD*COMPRESSION SPRING
Item is no longer available
Price
N/A
585
*DISCD*BELT SAFETY GUARD
Item is no longer available
Price
N/A
586
*DISCD*MOTOR 3HP 220V 3-PH AEVF 112-4/2
Item is no longer available
Price
N/A
586-1
*DISCD*MOTOR FAN COVER
Item is no longer available
Price
N/A
586-2
*DISCD*MOTOR FAN
Item is no longer available
Price
N/A
586-3
*DISCD*MOTOR JUNCTION BOX
Item is no longer available
Price
N/A
586-4
BALL BEARING 6205ZZ
Price
N/A
586-5
BALL BEARING 6205ZZ
Price
N/A
701
*DISCD*OILER PUMP AND RESERVOIR
Item is no longer available
Price
N/A
702
*DISCD*ALUMINUM PIPE 4MM
Item is no longer available
Price
N/A
703
*DISCD*ELBOW OIL DISTRIBUTOR CPS4
Item is no longer available
Price
N/A
704
CAP SCREW M6-1 X 20
Price
N/A
705
*DISCD*A-TYPE OIL DISTRIBUTOR A4
Item is no longer available
Price
N/A
706
*DISCD*ELBOW OIL DISTRIBUTOR CPS3
Item is no longer available
Price
N/A
707
*DISCD*FLEXIBLE STEEL TUBE
Item is no longer available
Price
N/A
708
*DISCD*A-TYPE OIL DISTRIBUTOR A8
Item is no longer available
Price
N/A
709
*DISCD*ELBOW OIL DISTRIBUTOR CPS5
Item is no longer available
Price
N/A
801
*DISCD*BOTTLE FOR OIL
Item is no longer available
Price
N/A
802
WRENCH 17 X 19MM CLOSED ENDS
Price
N/A
803
Now: PSDF2
SCREWDRIVER FLAT #2
Price
N/A
804
Now: PSDP2
SCREWDRIVER PHILLIPS #2
Price
N/A
805
*DISCD*TOOLBOX
Item is no longer available
Price
N/A
901
*DISCD*MODEL NUMBER LABEL
Item is no longer available
Price
N/A
902
*DISCD*220V 3-PHASE ELECTRICITY LABEL
Item is no longer available
Price
N/A
903
Now: G8588
Nameplate - Small
Price
N/A
904
ELECTRICITY 0.7W X 0.6H
Price
N/A
905
MACHINE ID LABEL
Item is no longer available
Price
N/A
906
N/S GRIZZLY GREEN G1023S
Price
N/A
907
*DISCD*GOGGLES/FACE SHIELD LABEL
Item is no longer available
Price
N/A
908
DISCONNECT POWER/INSERTS 2.8W X 1.5H
Price
N/A
909
ENTANGLEMENT HAZARD 2.8W X 1.5H
Price
N/A
910
READ MANUAL 2.8W X 1.5H
Price
N/A
911
*DISCD*QUILL FEED LABEL
Item is no longer available
Price
N/A
912
*DISCD*SPEED RANGE LABEL
Item is no longer available
Price
N/A
913
*DISCD*SPINDLE SPEED LABEL
Item is no longer available
Price
N/A
MAN
MANUAL G0747-48 MFG 08/12 V1.2.13
$30.00
Enter quantity between 1 and 99
P
MACHINE ID LABEL V4.01.21
$18.45
Enter quantity between 1 and 99