Parts for G0749 16" x 40" Heavy Duty Lathe

Parts Diagrams for G0749 - 16" x 40" Heavy Duty Lathe

IMPORTANT

Parts may have multiple versions that have changed over time. This will be indicated by V1, V2, V3, etc. in the parts description, followed by the version month and year that it was first used. Example: V2.01.17 indicates version 2 of a part went into use in January 2017. Please reference the manufacture date on the ID Label for your machine to ensure you are selecting the correct part when multiple versions are indicated.

If you cannot locate your part below, please contact our tech support department at techsupport@grizzly.com or 570-546-9663.

Please note: All parts ship out of our Springfield, Missouri facility.

Parts List for Parts for G0749 16" x 40" Heavy Duty Lathe

1
*DISCD*CAPTIVE PIVOT PIN
Price
N/A
2
Now: PN09M
HEX NUT M12-1.75
Price
N/A
3
*DISCD*BRAKE BELT PIVOT SLEEVE
Price
N/A
4
*DISCD*SHAFT
Price
N/A
5
CAP SCREW M10-1.5 X 25
Price
N/A
6
*DISCD*RIVET 6 X 25MM DOME HEAD
Price
N/A
7
*DISCD*ASBESTOS AND STEEL BRAKE BELT
Price
N/A
8
*DISCD*ASBESTOS AND STEEL BRAKE BELT
Price
N/A
9
CAP SCREW M12-1.75 X 30
Price
N/A
10
*DISCD*BRAKE DRUM FLAT WASHER 12MM
Price
N/A
11
*DISCD*BRAKE DRUM-MOTOR PULLEY
Price
N/A
12
*DISCD*BRAKE BELT SUPPORT RING
Price
N/A
13
Now: PB15M
HEX BOLT M8-1.25 X 40
Price
N/A
14
LOCK WASHER 12MM
Price
N/A
15
*DISCD*RIVET 12 X 20MM DOME HEAD
Price
N/A
16
*DISCD*RIVET FLAT WASHER 12MM
Price
N/A
17
*DISCD*BRAKE BELT END BLOCK
Price
N/A
18
*DISCD*STUD-UDE M12-1.75 X 130 30,70
Price
N/A
19
Now: PR15M
EXT RETAINING RING 30MM
Price
N/A
20
*DISCD*BRAKE BELT BRACKET
Price
N/A
21
CAP SCREW M5-.8 X 12
Price
N/A
22
SET SCREW M12-1.75 X 12 CONE-PT
Price
N/A
23
*DISCD*STOP BLOCK
Price
N/A
24
CAP SCREW M10-1.5 X 25
Price
N/A
25
SET SCREW M8-1.25 X 12 CONE-PT
Price
N/A
26
*DISCD*BRAKE PEDAL PIVOT SHAFT
$293.25
Enter quantity between 1 and 99
27
CAP SCREW M12-1.75 X 40
Price
N/A
28
*DISCD*PIVOT SHAFT BRACKET
Price
N/A
29
*DISCD*FIXED SPRING SHAFT
Price
N/A
30
*DISCD*EXTENSION SPRING
Price
N/A
31
*DISCD*MOVABLE SPRING SHAFT
Price
N/A
32
*DISCD*RIGHT BRAKE PEDAL LEVER
Price
N/A
33
*DISCD*BRAKE PEDAL
Item is no longer available
Price
N/A
34
*DISCD*DOWEL PIN 12 X 25
Price
N/A
35
Now: PB06M
HEX BOLT M8-1.25 X 12
Price
N/A
36
*DISCD*LEFT BRAKE PEDAL LEVER
Price
N/A
37
*DISCD*SHOULDER BOLT M8-1.25 X 119
Price
N/A
38
*DISCD*SPINDLE SWITCH HOUSING
Price
N/A
39
CAP SCREW M6-1 X 50
Price
N/A
40
*DISCD*INT THREADED TAPERED PIN 8 X 50
Price
N/A
41
Now: PN01M
HEX NUT M6-1
Price
N/A
42
Now: PB29M
HEX BOLT M6-1 X 30
Price
N/A
43
Now: PS14M
PHLP HD SCR M6-1 X 12
Price
N/A
44
*DISCD*STOP PLATE
Price
N/A
45
*DISCD*SPINDLE SWITCH ACCESS PANEL
Price
N/A
46
Now: PS78M
PHLP HD SCR M4-.7 X 45
Price
N/A
47
SET SCREW M6-1 X 12 LONG DOG-PT
Price
N/A
48
*DISCD*SPINDLE LEVER HUB
Price
N/A
49
*DISCD*PAN HEAD SCREW W/DOG-PT M8-1.25 X
Price
N/A
50
STEEL BALL 8MM
Price
N/A
51
*DISCD*COMPRESSION SPRING 1 X 6 X 8
Price
N/A
52
*DISCD*DOWEL PIN 8 X 38
Price
N/A
53
ROLL PIN 5 X 35
Price
N/A
54
*DISCD*SPINDLE LEVER
Price
N/A
55
*DISCD*TAPERED KNOB M12-1.75 X 40
Price
N/A
56
*DISCD*CONTROL ROD
Item is no longer available
Price
N/A
57
*DISCD*SPINDLE LEVER PIVOT BLOCK
Price
N/A
58
SET SCREW M10-1.5 X 10
Price
N/A
59
*DISCD*TAPERED PIN 6 X 30
Price
N/A
60
CAP SCREW M6-1 X 30
Price
N/A
61
*DISCD*SPINDLE LEVER BRACKET
Price
N/A
62
Now: PR12M
EXT RETAINING RING 35MM
Price
N/A
63
ROLL PIN 5 X 30
Price
N/A
64
*DISCD*CONTROL ROD CAM
Price
N/A
65
CAP SCREW M6-1 X 16
Price
N/A
66
*DISCD*LIMIT SWITCH SUNWORLD JLXK1-411
Price
N/A
101
Now: PB07M
HEX BOLT M8-1.25 X 25
Price
N/A
102
Now: PN02M
HEX NUT M10-1.5
Price
N/A
103
LOCK NUT M8-1.25
Price
N/A
104
CAP SCREW M6-1 X 25
Price
N/A
105
*DISCD*HINGE BRACKET
Price
N/A
106
*DISCD*COMPRESSION SPRING
Price
N/A
107
CAP SCREW M8-1.25 X 35
Price
N/A
108
*DISCD*DOOR LATCH
Price
N/A
109
CAP SCREW M6-1 X 35
Price
N/A
110
*DISCD*END GEAR DOOR
$724.50
Enter quantity between 1 and 99
111
*DISCD*LUBRICATION INFORMATION PLATE
Price
N/A
112
RIVET 2 X 6MM NAMEPLATE, STEEL
Price
N/A
113
*DISCD*MOTOR MOUNT
Price
N/A
114
Now: PB14M
HEX BOLT M10-1.5 X 35
Price
N/A
115
LOCK WASHER 10MM
Price
N/A
116
SET SCREW M8-1.25 X 12
Price
N/A
117
Now: PW04M
FLAT WASHER 10MM
Price
N/A
118
*DISCD*MOTOR MOUNT THREADED PIVOT ROD
Price
N/A
119
HEX BOLT M16-2 X 60
Price
N/A
120
Now: PN13M
HEX NUT M16-2
Price
N/A
121
Now: PW08M
FLAT WASHER 16MM
Price
N/A
122
CAP SCREW M16-2 X 35
Price
N/A
123
*DISCD*MOTOR MOUNT BRACKET
Price
N/A
124
*DISCD*MOTOR MOUNT AXLE
Price
N/A
125
*DISCD*LOCK COLLAR
Price
N/A
126
*DISCD*BUSHING
Price
N/A
127
CAP SCREW M8-1.25 X 30
Price
N/A
128
CAP SCREW M16-2 X 65
Price
N/A
129
CAP SCREW M16-2 X 40
Price
N/A
130
LOCK WASHER 16MM
Price
N/A
131
CAP SCREW M12-1.75 X 60
Price
N/A
132
*DISCD*MOTOR ACCESS PANEL
Price
N/A
133
*DISCD*ELECTRICAL CABINET BOX W/DOOR
Price
N/A
134
*DISCD*CASTING PLUG
Price
N/A
135
*DISCD*INT THREADED GAP TAPERED PIN
Price
N/A
136
SET SCREW M8-1.25 X 10
Price
N/A
137
CAP SCREW M12-1.75 X 45
Price
N/A
138
*DISCD*GAP CASTING
Item is no longer available
Price
N/A
139
Now: PB09M
HEX BOLT M8-1.25 X 20
Price
N/A
140
*DISCD*COOLANT TANK REAR ACCESS PANEL
Price
N/A
141
*DISCD*BED
Item is no longer available
Price
N/A
142
*DISCD*BED END STOP PLATE
Price
N/A
143
FLAT HD SCR M6-1 X 10
Price
N/A
144
SET SCREW M6-1 X 12
Price
N/A
145
*DISCD*RACK
Item is no longer available
Price
N/A
146
ROLL PIN 8 X 30
Price
N/A
147
CAP SCREW M8-1.25 X 20
Price
N/A
148
*DISCD*STUD-FT M16-2 X 90
Price
N/A
149
Now: PW08M
FLAT WASHER 16MM
Price
N/A
150
*DISCD*PIVOT ROD
Price
N/A
152
*DISCD*LEFT STAND CASTING
Price
N/A
153
*DISCD*RIGHT STAND CASTING
Price
N/A
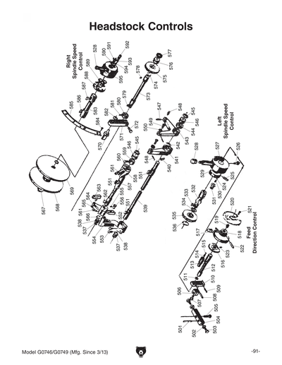
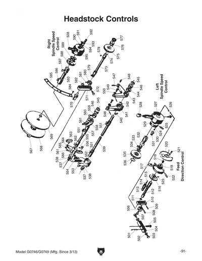
154
*DISCD*DRAIN SCREEN MOUNTING RING
Price
N/A
155
*DISCD*DRAIN SCREEN
Price
N/A
156
*DISCD*CHIP TRAY
Item is no longer available
Price
N/A
157
*DISCD*SPLASH PAN
Item is no longer available
Price
N/A
158
*DISCD*COOLANT TANK SIDE ACCESS PANEL
Price
N/A
159
Now: PS14M
PHLP HD SCR M6-1 X 12
Price
N/A
160
Now: PN48M
HEX NUT M16-2 THIN
Price
N/A
161
*DISCD*LEVELING BOLT
Price
N/A
162
ROLL PIN 4 X 36
Price
N/A
163
*DISCD*FEED ROD
Item is no longer available
Price
N/A
164
*DISCD*SPACER
Price
N/A
165
BALL BEARING 6005ZZ
Price
N/A
166
Now: PR11M
EXT RETAINING RING 25MM
Price
N/A
167
*DISCD*SHAFT END BRACKET
Price
N/A
168
*DISCD*INT THREADED TAPERED PIN 8 X 40
Price
N/A
169
*DISCD*LOCK RING W/SIDE HOLE
Price
N/A
170
*DISCD*SPANNER NUT M16-1.5
Price
N/A
171
ROLL PIN 3 X 12
Price
N/A
172
*DISCD*FEED ROD END PLUG
Price
N/A
173
CAP SCREW M10-1.5 X 80
Price
N/A
174
*DISCD*SPACER
Price
N/A
175
*DISCD*BUSHING
Price
N/A
176
*DISCD*SPACER
Price
N/A
177
*DISCD*NEEDLE ROLLER BEARING NAF 20 X 35
Price
N/A
178
*DISCD*SPACER
Price
N/A
179
KEY 8 X 8 X 25
Price
N/A
180
ROLL PIN 3 X 6
Price
N/A
181
*DISCD*LONGITUDINAL LEADSCREW
Item is no longer available
Price
N/A
182
ROLL PIN 8 X 30
Price
N/A
183
*DISCD*HOSE CLAMP 32MM
Price
N/A
184
*DISCD*COOLANT TANK TOP COVER
Price
N/A
185
CAP SCREW M6-1 X 16
Price
N/A
186
Now: PN01M
HEX NUT M6-1
Price
N/A
188
*DISCD*COOLANT TANK
Price
N/A
189
*DISCD*COOLANT PUMP 1/8HP 220V 3-PH
Price
N/A
190
*DISCD*TUBE SUPPORT M22-1.5, STEEL MESH
Price
N/A
191
*DISCD*COOLANT TUBE CLAMP DIN 72571 1 X
Price
N/A
192
CAP SCREW M6-1 X 10
Price
N/A
193
*DISCD*COOLANT TUBE COUPLER
Price
N/A
194
*DISCD*COOLANT TUBE
Price
N/A
195
*DISCD*COOLANT TUBE CLAMP, U-SHAPED
Price
N/A
196
*DISCD*COOLANT VALVE 3/8" NPT
Price
N/A
198
*DISCD*COOLANT NOZZLE 3/8" NPT
Price
N/A
199
*DISCD*PLASTIC TUBE 25 X 3 X 1000MM
Price
N/A
200
CAP SCREW M12-1.75 X 40
Price
N/A
201
LOCK WASHER 12MM
Price
N/A
202
*DISCD*MOTOR PULLEY FLAT WASHER 12MM
Price
N/A
203
*DISCD*MOTOR 10HP 220V 3-PH
Price
N/A
203-1
*DISCD*MOTOR FAN COVER
Price
N/A
203-2
*DISCD*MOTOR FAN
Price
N/A
203-3
*DISCD*MOTOR JUNCTION BOX
Price
N/A
203-4
BALL BEARING 6308ZZ
Price
N/A
203-5
BALL BEARING 6308ZZ
Price
N/A
204
*DISCD*HALOGEN WORK LIGHT ASSEMBLY
Price
N/A
204-1
*DISCD*HALOGEN BULB 24W BI-PIN
Price
N/A
205
*DISCD*LIMIT SWITCH SUNWORLD JLXK1-411
Price
N/A
206
*DISCD*SPINDLE SWITCH JUCHE LXW5-11G2
Price
N/A
301
Now: PVA85
V-BELT A85
Price
N/A
302
*DISCD*SPINDLE PULLEY
Price
N/A
303
*DISCD*SPANNER NUT M30-1.5
Price
N/A
304
*DISCD*TABBED LOCK WASHER 30MM
Price
N/A
305
CAP SCREW M8-1.25 X 14
Price
N/A
306
KEY 10 X 10 X 36
Price
N/A
307
BALL BEARING 6021-OPEN
Price
N/A
308
*DISCD*OIL SEAL A40 X 55 X 7MM
Price
N/A
309
*DISCD*THRUST WASHER
Price
N/A
310
*DISCD*END FLANGE
Price
N/A
311
*DISCD*GEAR 42T
Price
N/A
312
*DISCD*SPLINE SHAFT
Price
N/A
313
*DISCD*GEAR 29T
Price
N/A
314
*DISCD*GEAR 35T
Price
N/A
315
BALL BEARING 6206-OPEN
Price
N/A
316
BALL BEARING 6305-OPEN
Price
N/A
317
Now: PR11M
EXT RETAINING RING 25MM
Price
N/A
318
BALL BEARING 6305-OPEN
Price
N/A
319
Now: PR13M
EXT RETAINING RING 65MM
Price
N/A
320
Now: PR11M
EXT RETAINING RING 25MM
Price
N/A
321
*DISCD*END CAP
Price
N/A
322
CAP SCREW M6-1 X 14
Price
N/A
323
*DISCD*SPANNER NUT 95MM
Price
N/A
324
CAP SCREW M6-1 X 14
Price
N/A
325
*DISCD*BEARING RETAINING RING
Price
N/A
326
*DISCD*TAPERED ROLLER BEARING 95 X 145 X
Price
N/A
327
*DISCD*HEADSTOCK OIL DRAIN PLUG M30-1.5
Price
N/A
328
*DISCD*O-RING 30 X 1.5
Price
N/A
329
BALL BEARING 6305-OPEN
Price
N/A
330
*DISCD*SPACER
Price
N/A
331
BALL BEARING 6206-OPEN
Price
N/A
332
*DISCD*SPACER
Price
N/A
333
*DISCD*BEARING FLANGE
Price
N/A
334
CAP SCREW M6-1 X 14
Price
N/A
335
*DISCD*KEY 8 X 8 X 63 W/2 HOLES
Price
N/A
336
CAP SCREW M3-.5 X 8
Price
N/A
337
Now: PR15M
EXT RETAINING RING 30MM
Price
N/A
338
*DISCD*OUTPUT SHAFT
Price
N/A
339
*DISCD*OIL SEAL A40 X 55 X 7MM
Price
N/A
340
*DISCD*BUSHING
Price
N/A
341
Now: PR38M
INT RETAINING RING 62MM
Price
N/A
342
Now: PR15M
EXT RETAINING RING 30MM
Price
N/A
343
*DISCD*GEAR 59T
Price
N/A
344
Now: PR11M
EXT RETAINING RING 25MM
Price
N/A
345
Now: PR25M
INT RETAINING RING 47MM
Price
N/A
346
BALL BEARING 6005-OPEN
Price
N/A
347
Now: PR11M
EXT RETAINING RING 25MM
Price
N/A
348
*DISCD*SPACER
Price
N/A
349
*DISCD*GEAR 35T
Price
N/A
350
O-RING 3.1 X 29.4 G30
Price
N/A
351
SET SCREW M8-1.25 X 16 CONE-PT
Price
N/A
352
*DISCD*SHAFT
Price
N/A
353
Now: PS07M
PHLP HD SCR M4-.7 X 8
Price
N/A
354
*DISCD*HEADSTOCK FRONT COVER
$69.00
Enter quantity between 1 and 99
355
*DISCD*HEADSTOCK TOP COVER RUBBER PAD
Price
N/A
356
*DISCD*HEADSTOCK TOP COVER GASKET
Price
N/A
357
CAP SCREW M6-1 X 14
Price
N/A
358
*DISCD*HEADSTOCK OIL FILL PLUG 3/4" NPT
Price
N/A
359
*DISCD*HEADSTOCK TOP COVER
Price
N/A
360
*DISCD*CHECK RING 8 X 62MM
Price
N/A
361
*DISCD*COMBO GEAR W/PIN 61T/46T 10 X 32M
Price
N/A
362
BALL BEARING 6305-OPEN
Price
N/A
363
Now: PR12M
EXT RETAINING RING 35MM
Price
N/A
364
*DISCD*GEAR 25T
Price
N/A
365
*DISCD*BUSHING
Price
N/A
366
*DISCD*SPLINE SHAFT
Price
N/A
367
BALL BEARING 6306-OPEN
Price
N/A
368
Now: PR15M
EXT RETAINING RING 30MM
Price
N/A
369
*DISCD*BUSHING
Price
N/A
370
CAP SCREW M8-1.25 X 14
Price
N/A
371
*DISCD*BEARING FLANGE
Price
N/A
372
BALL BEARING 6306-OPEN
Price
N/A
373
Now: PR15M
EXT RETAINING RING 30MM
Price
N/A
374
Now: PR62M
EXT RETAINING RING 42MM
Price
N/A
375
*DISCD*KEY 8 X 5 X 28
Price
N/A
376
*DISCD*COMBO GEAR 57T/36T W/SHAFT ASSEMB
Price
N/A
377
*DISCD*BUSHING
Price
N/A
378
*DISCD*GEAR 36T
Price
N/A
379
*DISCD*GEAR 21T
Price
N/A
380
BALL BEARING 6206-OPEN
Price
N/A
381
*DISCD*THRUST WASHER 30MM
Price
N/A
382
*DISCD*HEADLESS RIVET 10 X 45
Price
N/A
383
Now: PR15M
EXT RETAINING RING 30MM
Price
N/A
384
*DISCD*COMBO GEAR 46T/40T/52T
Price
N/A
385
*DISCD*SPLINE SHAFT
Price
N/A
386
*DISCD*BUSHING
Price
N/A
387
*DISCD*END FLANGE
Price
N/A
388
CAP SCREW M6-1 X 14
Price
N/A
389
*DISCD*GEAR 65T
Price
N/A
390
*DISCD*GEAR 39T
Price
N/A
391
*DISCD*SPANNER NUT
Price
N/A
392
CAP SCREW M6-1 X 20
Price
N/A
393
SET SCREW M6-1 X 8 CONE-PT
Price
N/A
394
*DISCD*GEAR 59T
Price
N/A
395
*DISCD*OIL SIGHT GLASS M20-2.5
Price
N/A
396
*DISCD*HEADSTOCK HOUSING
Item is no longer available
Price
N/A
397
*DISCD*SPACER
Price
N/A
398
*DISCD*2-ROW ANGCONT THRUST BEARING 2344
Price
N/A
399
*DISCD*SPACER
Price
N/A
400
BALL BEARING 6022 OPEN
Price
N/A
401
*DISCD*OIL RING
Price
N/A
402
SET SCREW M8-1.25 X 10
Price
N/A
403
*DISCD*PLUNGER
Price
N/A
404
*DISCD*FLANGE RING
Price
N/A
405
CAP SCREW M8-1.25 X 30
Price
N/A
406
*DISCD*KEY 16 X 7 X 50
Price
N/A
407
*DISCD*KEY 16 X 7 X 50
Price
N/A
408
*DISCD*KEY 16 X 7 X 63
Price
N/A
409
*DISCD*SPINDLE D1-8 CAMLOCK
Price
N/A
410
*DISCD*COMPRESSION SPRING 1.4 X 10.4 X 2
Price
N/A
411
*DISCD*CAMLOCK
Price
N/A
412
*DISCD*FLANGED OIL SEAL
Price
N/A
413
*DISCD*CONTROL PANEL PLATE
Price
N/A
414
*DISCD*COOLANT SWITCH SANLICO LA68C-AK10
Price
N/A
415
*DISCD*E-STOP BUTTON SANLICO LA68C-BK01
Price
N/A
416
*DISCD*POWER LAMP SANLICO AD58B-22D
Price
N/A
417
*DISCD*JOG BUTTON SANLICO LA68C-AK10
Price
N/A
501
*DISCD*DOWEL PIN 6 X 40
Price
N/A
502
Now: PN03M
HEX NUT M8-1.25
Price
N/A
503
Now: PB09M
HEX BOLT M8-1.25 X 20
Price
N/A
504
*DISCD*ADJUSTMENT BLOCK W/2 HOLES
Price
N/A
505
Now: PB20M
HEX BOLT M8-1.25 X 35
Price
N/A
506
*DISCD*PIVOT SHAFT
Price
N/A
507
*DISCD*SHIFT FORK
Price
N/A
508
ROLL PIN 3 X 20
Price
N/A
509
ROLL PIN 6 X 30
Price
N/A
510
*DISCD*FORK PIVOT BLOCK
Price
N/A
511
*DISCD*O-RING 12.42 X 1.78
Price
N/A
512
*DISCD*SHAFT
Price
N/A
513
*DISCD*LOCATOR PIN
Price
N/A
514
*DISCD*COMPRESSION SPRING 1 X 5 X 20
Price
N/A
515
STEEL BALL 6MM
Price
N/A
516
*DISCD*LOCATOR FLANGE
Price
N/A
517
*DISCD*TAPERED KNOB M8-1.25 X 25
Price
N/A
518
*DISCD*FEED DIRECTION HUB/HANDLE
Price
N/A
519
SET SCREW M12-1.75 X 12
Price
N/A
520
*DISCD*FEED DIRECTION LABEL PLATE
Price
N/A
521
RIVET 2 X 6MM NAMEPLATE, STEEL
Price
N/A
522
ROLL PIN 6 X 50
Price
N/A
523
SET SCREW M8-1.25 X 20
Price
N/A
524
STEEL BALL 10MM
Price
N/A
525
SET SCREW M8-1.25 X 20
Price
N/A
526
CAP SCREW M8-1.25 X 25
Price
N/A
527
*DISCD*LEFT SPINDLE SPEED HUB/LEVER
Price
N/A
528
*DISCD*TAPERED KNOB M10-1.5 X 25
Price
N/A
529
*DISCD*LOCATOR FLANGE
Price
N/A
530
*DISCD*COMPRESSION SPRING
Price
N/A
531
*DISCD*LOCATOR PIN
Price
N/A
532
*DISCD*SHAFT
Price
N/A
533
KEY 6 X 6 X 18
Price
N/A
534
*DISCD*O-RING 26.17 X 1.78
Price
N/A
535
*DISCD*GEAR 42T
Price
N/A
536
Now: PR11M
EXT RETAINING RING 25MM
Price
N/A
537
O-RING 17.8 X 2.4 P18
Price
N/A
538
*DISCD*PLUG
Price
N/A
539
*DISCD*SHAFT
Price
N/A
540
CAP SCREW M8-1.25 X 30
Price
N/A
541
*DISCD*MIDDLE PIVOT ARM
Price
N/A
542
Now: PR09M
EXT RETAINING RING 20MM
Price
N/A
543
*DISCD*OUTER PIVOT ARM
Price
N/A
544
*DISCD*SPACER
Price
N/A
545
O-RING 3.1 X 29.4 G30
Price
N/A
546
*DISCD*PLUG
Price
N/A
547
*DISCD*DOWEL PIN 10 X 28
Price
N/A
548
ROLL PIN 3 X 20
Price
N/A
549
*DISCD*HEADED PIVOT PIN
Price
N/A
550
*DISCD*SLEEVE
Price
N/A
551
Now: PK42M
KEY 6 X 6 X 30
Price
N/A
552
*DISCD*FORK PIVOT BLOCK
Price
N/A
553
CAP SCREW M8-1.25 X 20
Price
N/A
554
*DISCD*INNER FORK PIVOT ARM
Price
N/A
555
ROLL PIN 3 X 20
Price
N/A
556
*DISCD*FORK SHAFT
Price
N/A
557
*DISCD*SHAFT
Price
N/A
558
*DISCD*OUTER FORK PIVOT ARM
Price
N/A
559
*DISCD*LOCK COLLAR
Price
N/A
560
CAP SCREW M6-1 X 20
Price
N/A
561
CAP SCREW M8-1.25 X 25
Price
N/A
562
Now: PK32M
KEY 6 X 6 X 28
Price
N/A
563
*DISCD*FORK PIVOT BLOCK
Price
N/A
564
*DISCD*INNER FORK PIVOT ARM
Price
N/A
565
Now: PR01M
EXT RETAINING RING 10MM
Price
N/A
566
*DISCD*SPACER
Price
N/A
567
Now: PR09M
EXT RETAINING RING 20MM
Price
N/A
568
*DISCD*INNER CAM
Price
N/A
569
*DISCD*OUTER CAM
Price
N/A
570
*DISCD*SHIFT FORK
Price
N/A
571
*DISCD*FORK PIVOT BLOCK
Price
N/A
572
CAP SCREW M8-1.25 X 20
Price
N/A
573
*DISCD*SHAFT
Price
N/A
574
Now: PR09M
EXT RETAINING RING 20MM
Price
N/A
575
*DISCD*GEAR 42T
Price
N/A
576
*DISCD*PLUG
Price
N/A
577
O-RING 3.1 X 29.4 G30
Price
N/A
578
KEY 6 X 6 X 18
Price
N/A
579
KEY 6 X 6 X 18
Price
N/A
580
*DISCD*BUSHING
Price
N/A
581
SET SCREW M6-1 X 8 CONE-PT
Price
N/A
582
Now: PR03M
EXT RETAINING RING 12MM
Price
N/A
583
*DISCD*SHAFT
Price
N/A
584
RIVET 2 X 6MM NAMEPLATE, STEEL
Price
N/A
585
*DISCD*RIGHT SHIFT LEVER INDICATOR PLATE
Price
N/A
586
Now: PK44M
KEY 6 X 6 X 50
Price
N/A
587
Now: PK07M
KEY 6 X 6 X 20
Price
N/A
588
*DISCD*LOCATOR FLANGE
Price
N/A
589
CAP SCREW M6-1 X 14
Price
N/A
590
*DISCD*HUB/LEVER FLAT WASHER 12MM
Price
N/A
591
*DISCD*WIDE HEAD SCREW M8-1.25 X 12
Price
N/A
592
SET SCREW M12-1.75 X 12
Price
N/A
593
*DISCD*COMPRESSION SPRING
Price
N/A
594
STEEL BALL 10MM
Price
N/A
595
*DISCD*RIGHT SPINDLE SPEED HUB/LEVER
Price
N/A
601
CAP SCREW M6-1 X 16
Price
N/A
602
*DISCD*BEARING FLANGE
Price
N/A
603
*DISCD*BUSHING SEAL
Price
N/A
604
*DISCD*KEY 8 X 5 X 25
Price
N/A
605
*DISCD*DRIVE SHAFT
Price
N/A
606
*DISCD*KEY 8 X 8 X 63 W/HOLES
Price
N/A
607
*DISCD*NEEDLE ROLLER BEARING NAF 30 X 45
Price
N/A
608
*DISCD*THRUST WASHER
Price
N/A
609
*DISCD*SPACER
Price
N/A
610
BALL BEARING 6006-OPEN
Price
N/A
611
Now: PR51M
INT RETAINING RING 55MM
Price
N/A
612
*DISCD*SPACER
Price
N/A
613
*DISCD*GEAR 36T
Price
N/A
614
Now: PR11M
EXT RETAINING RING 25MM
Price
N/A
615
CAP SCREW M6-1 X 16
Price
N/A
616
*DISCD*BEARING FLANGE
Price
N/A
617
*DISCD*OIL SIGHT GLASS M27-1.5
Price
N/A
618
*DISCD*GEARBOX OIL FILL PLUG 3/4" NPT
Price
N/A
619
*DISCD*FILL PLUG FLAT WASHER 27MM
Price
N/A
620
CAP SCREW M6-1 X 12
Price
N/A
621
*DISCD*BEARING COVER
Price
N/A
622
*DISCD*GASKET
Price
N/A
623
CAP SCREW M8-1.25 X 110
Price
N/A
624
*DISCD*INT THREADED TAPERED PIN 10 X 50
Price
N/A
625
*DISCD*DOWEL PIN 6 X 18
Price
N/A
626
*DISCD*FORK PIVOT ROLLER
Price
N/A
627
*DISCD*FORK PIVOT BRACKET
Price
N/A
628
*DISCD*O-RING 20MM
Price
N/A
629
Now: PR03M
EXT RETAINING RING 12MM
Price
N/A
630
CAP SCREW M10-1.5 X 180
Price
N/A
631
*DISCD*HEADED PIN 10 X 37
Price
N/A
632
*DISCD*OIL DRAIN PLUG 1/4" NPT
Price
N/A
633
*DISCD*DRAIN PLUG FLAT WASHER 14MM
Price
N/A
634
*DISCD*L-BRACKET
Price
N/A
635
*DISCD*COMPRESSION SPRING
Price
N/A
636
SET SCREW M10-1.5 X 12
Price
N/A
637
STEEL BALL 8MM
Price
N/A
638
*DISCD*RIVET 5 X 18MM DOME HEAD
Price
N/A
639
*DISCD*TAPERED KNOB M10-1.5 X 32
Price
N/A
640
*DISCD*GEARBOX LEFT HUB/LEVER
Price
N/A
641
SET SCREW M8-1.25 X 10
Price
N/A
642
CAP SCREW M8-1.25 X 16
Price
N/A
643
CAP SCREW M8-1.25 X 12
Price
N/A
644
SET SCREW M8-1.25 X 10
Price
N/A
645
STEEL BALL 8MM
Price
N/A
646
*DISCD*COMPRESSION SPRING
Price
N/A
647
SET SCREW M10-1.5 X 12
Price
N/A
648
*DISCD*TAPERED KNOB M10-1.5 X 32
Price
N/A
649
*DISCD*GEARBOX RIGHT HUB/LEVER
Price
N/A
650
*DISCD*O-RING 20MM
Price
N/A
651
*DISCD*FORK PIVOT BRACKET
Price
N/A
652
Now: PR03M
EXT RETAINING RING 12MM
Price
N/A
653
*DISCD*SHIFT FORK
Price
N/A
654
*DISCD*TAPERED KNOB M10-1.5 X 32
Price
N/A
655
*DISCD*GEARBOX LOWER HUB/LEVER
Price
N/A
656
SET SCREW M8-1.25 X 10
Price
N/A
657
CAP SCREW M8-1.25 X 16
Price
N/A
658
*DISCD*HUB/LEVER INDICATOR RING
Price
N/A
659
RIVET 2 X 6MM NAMEPLATE, STEEL
Price
N/A
660
*DISCD*SLEEVE
Price
N/A
661
*DISCD*BUSHING SEAL
Price
N/A
662
*DISCD*SHAFT
Price
N/A
663
*DISCD*GEAR 21T
Price
N/A
664
ROLL PIN 5 X 25
Price
N/A
665
*DISCD*GEARBOX FRONT COVER
Price
N/A
666
RIVET 2 X 6MM NAMEPLATE, STEEL
Price
N/A
667
*DISCD*GEARBOX HOUSING 2-PC
Price
N/A
668
*DISCD*SLIDE KEY SHAFT
Price
N/A
669
*DISCD*COMPRESSION SPRING
Price
N/A
670
*DISCD*SPRING SUPPORT PIN
Price
N/A
671
*DISCD*SLIDE KEY
Price
N/A
672
*DISCD*KEY 8 X 5 X 30
Price
N/A
673
ROLL PIN 6 X 22
Price
N/A
674
*DISCD*KEY 8 X 5 X 25
Price
N/A
675
*DISCD*GEAR 49T
Price
N/A
676
*DISCD*SPACER
Price
N/A
677
Now: PR68M
EXT RETAINING RING 40MM
Price
N/A
678
*DISCD*SHAFT SUPPORT
Price
N/A
679
*DISCD*HEADED CONNECTOR SHAFT
Price
N/A
680
BALL BEARING 609-OPEN
Price
N/A
681
Now: PR93M
INT RETAINING RING 24MM
Price
N/A
682
ROLL PIN 3 X 18
Price
N/A
683
*DISCD*RACK SHAFT
Price
N/A
684
*DISCD*GASKET
Price
N/A
685
SET SCREW M8-1.25 X 25
Price
N/A
686
Now: PN03M
HEX NUT M8-1.25
Price
N/A
687
*DISCD*BEARING FLANGE
Price
N/A
688
*DISCD*ROLL PIN 6 X 18
Price
N/A
689
BALL BEARING 6009-OPEN
Price
N/A
690
*DISCD*FLANGED SLEEVE
Price
N/A
691
*DISCD*GEAR 56T
Price
N/A
692
*DISCD*GEAR 48T
Price
N/A
693
*DISCD*GEAR 32T
Price
N/A
694
*DISCD*SPACER
Price
N/A
695
*DISCD*GEAR 28T
Price
N/A
696
*DISCD*GEAR 32T
Price
N/A
697
*DISCD*GEAR 32T
Price
N/A
698
*DISCD*GEAR 32T
Price
N/A
699
*DISCD*GEAR 40T
Price
N/A
700
*DISCD*GEAR 40T
Price
N/A
701
*DISCD*GEAR 32T
Price
N/A
702
*DISCD*GEAR 40T
Price
N/A
703
*DISCD*FLANGED SLEEVE
Price
N/A
704
*DISCD*GEAR 34T
Price
N/A
705
Now: PR38M
INT RETAINING RING 62MM
Price
N/A
706
BALL BEARING 6007-OPEN
Price
N/A
707
Now: PR12M
EXT RETAINING RING 35MM
Price
N/A
708
Now: PR11M
EXT RETAINING RING 25MM
Price
N/A
709
BALL BEARING 6005-OPEN
Price
N/A
710
Now: PR25M
INT RETAINING RING 47MM
Price
N/A
711
*DISCD*GEAR 27T
Price
N/A
712
Now: PR84M
EXT RETAINING RING 34MM
Price
N/A
713
*DISCD*CLUTCH GEAR 32T
Price
N/A
714
*DISCD*DOWEL PIN 6 X 20
Price
N/A
715
*DISCD*SLEEVE
Price
N/A
716
Now: PR37M
EXT RETAINING RING 32MM
Price
N/A
717
*DISCD*GEAR 35T
Price
N/A
718
*DISCD*GEAR 27T
Price
N/A
719
*DISCD*GEAR 30T
Price
N/A
720
*DISCD*GEAR 30T
Price
N/A
721
*DISCD*GEAR 23T
Price
N/A
722
*DISCD*GEAR 22T
Price
N/A
723
*DISCD*GEAR 21T
Price
N/A
724
*DISCD*GEAR 30T
Price
N/A
725
*DISCD*GEAR 19T
Price
N/A
726
*DISCD*GEAR 27T
Price
N/A
727
*DISCD*GEAR 29T
Price
N/A
728
BALL BEARING 6009-OPEN
Price
N/A
729
KEY 10 X 10 X 65
Price
N/A
730
*DISCD*SHAFT
Price
N/A
731
*DISCD*NEEDLE ROLLER BEARING NAF 17 X 25
Price
N/A
732
*DISCD*SLIDE GEAR 35T
Price
N/A
733
*DISCD*SPLINE SHAFT
Price
N/A
734
Now: PR19M
EXT RETAINING RING 28MM
Price
N/A
735
*DISCD*COMBO SLIDE GEAR 30T/45T
Price
N/A
736
BALL BEARING 6004-OPEN
Price
N/A
737
*DISCD*GEAR SHAFT 60T
Price
N/A
738
Now: PR38M
INT RETAINING RING 62MM
Price
N/A
739
BALL BEARING 6007-OPEN
Price
N/A
740
*DISCD*SPACER
Price
N/A
741
*DISCD*SPACER
Price
N/A
742
*DISCD*OIL SEAL
Price
N/A
743
Now: PR21M
INT RETAINING RING 35MM
Price
N/A
744
*DISCD*BEARING HOUSING
Price
N/A
745
*DISCD*TAPERED KNOB M10-1.5 X 32
Price
N/A
746
*DISCD*CLUTCH HUB/LEVER
Price
N/A
747
STEEL BALL 8MM
Price
N/A
748
*DISCD*COMPRESSION SPRING
Price
N/A
749
*DISCD*LOCATOR PIN
Price
N/A
750
*DISCD*HEADED PIN 10 X 31
Price
N/A
751
SET SCREW M6-1 X 8
Price
N/A
752
*DISCD*CLUTCH SHAFT
Price
N/A
753
*DISCD*SLIDE BLOCK
Price
N/A
754
*DISCD*CLUTCH
Price
N/A
755
ROLL PIN 6 X 45
Price
N/A
756
CAP SCREW M6-1 X 16
Price
N/A
757
*DISCD*BEARING HOUSING
Price
N/A
758
BALL BEARING 6005-2RS
Price
N/A
759
Now: PR25M
INT RETAINING RING 47MM
Price
N/A
760
KEY 8 X 8 X 25
Price
N/A
761
KEY 8 X 8 X 80
Price
N/A
762
*DISCD*LEADSCREW INPUT SHAFT
Price
N/A
763
*DISCD*PAD
Price
N/A
764
*DISCD*PAD RETAINER
Price
N/A
765
*DISCD*SPACER
Price
N/A
766
*DISCD*GEAR 30T
Price
N/A
767
*DISCD*SPACER
Price
N/A
768
*DISCD*GEAR 40T
Price
N/A
769
*DISCD*SPACER
Price
N/A
770
*DISCD*GEAR 60T
Price
N/A
771
BALL BEARING 6007-OPEN
Price
N/A
772
*DISCD*SLEEVE
Price
N/A
773
Now: PR19M
EXT RETAINING RING 28MM
Price
N/A
801
CAP SCREW M5-.8 X 25
Price
N/A
802
*DISCD*DOWEL PIN 6 X 25
Price
N/A
803
*DISCD*GEAR END CAP
Price
N/A
804
*DISCD*GEAR 38T
Price
N/A
805
Now: PR11M
EXT RETAINING RING 25MM
Price
N/A
806
*DISCD*SPACER
Price
N/A
807
BALL BEARING 6005ZZ
Price
N/A
808
*DISCD*BEARING HOUSING
Price
N/A
809
*DISCD*GEAR 76T
Price
N/A
810
CAP SCREW M5-.8 X 16
Price
N/A
811
*DISCD*SHAFT
Price
N/A
812
*DISCD*COMBO GEAR W/KEY 66T/42T 12 X 22
Price
N/A
813
*DISCD*COMBO GEAR W/KEY 56T/44T 12 X 22
Price
N/A
814
Now: PN51M
HEX NUT M20-2.5 THIN
Price
N/A
815
Now: PW13M
FLAT WASHER 20MM
Price
N/A
816
Now: PW08M
FLAT WASHER 16MM
Price
N/A
817
Now: PN13M
HEX NUT M16-2
Price
N/A
818
*DISCD*CLAMP BOLT M20-2.5 X 40
Price
N/A
819
*DISCD*PIVOT BRACKET
Price
N/A
820
SET SCREW M10-1.5 X 10
Price
N/A
821
*DISCD*COMPRESSION SPRING 1 X 6 X 12
Price
N/A
822
STEEL BALL 8MM
Price
N/A
823
Now: PR15M
EXT RETAINING RING 30MM
Price
N/A
901
CAP SCREW M8-1.25 X 55
Price
N/A
902
*DISCD*DOWEL PIN 6 X 30
Price
N/A
903
*DISCD*CROSS LEADSCREW
Price
N/A
904
*DISCD*CROSS LEADSCREW REAR BRACKET
Price
N/A
905
*DISCD*SPANNER NUT M14-1.5
Price
N/A
906
*DISCD*TABBED LOCK WASHER 14MM
Price
N/A
907
BALL BEARING 6202ZZ
Price
N/A
908
*DISCD*SPACER
Price
N/A
909
*DISCD*SPACER
Price
N/A
910
BALL BEARING 6202ZZ
Price
N/A
911
*DISCD*SPANNER NUT M14-1.5
Price
N/A
912
*DISCD*FLANGED BUSHING
Price
N/A
913
*DISCD*STOP PIN
Price
N/A
914
*DISCD*STRAIGHT WAY WIPER
Price
N/A
915
Now: PS09M
PHLP HD SCR M5-.8 X 10
Price
N/A
916
*DISCD*STRAIGHT WAY WIPER PLATE
Price
N/A
917
*DISCD*REAR BED CLAMP
Price
N/A
918
CAP SCREW M10-1.5 X 20
Price
N/A
919
*DISCD*V-WAY WIPER
Price
N/A
920
*DISCD*V-WAY WIPER PLATE
Price
N/A
921
*DISCD*PLUG
Price
N/A
922
*DISCD*PAD
Price
N/A
923
Now: PN03M
HEX NUT M8-1.25
Price
N/A
924
SET SCREW M8-1.25 X 16
Price
N/A
925
*DISCD*LEFT FRONT BED CLAMP
Price
N/A
926
*DISCD*ONE-SHOT OIL PUMP ASSEMBLY
Price
N/A
927
*DISCD*OIL TUBE MALE COUPLING
Price
N/A
928
*DISCD*OIL TUBE
Price
N/A
929
*DISCD*OIL TUBE MALE COUPLING
Price
N/A
930
*DISCD*OIL TUBE MALE COUPLING
Price
N/A
931
*DISCD*OIL DISTRIBUTION UNIT
Price
N/A
932
*DISCD*OIL TUBE
Price
N/A
933
*DISCD*OIL TUBE
Price
N/A
934
*DISCD*OIL TUBE
Price
N/A
935
*DISCD*OIL SEAL
Price
N/A
936
*DISCD*OIL TUBE MALE COUPLING
Price
N/A
937
*DISCD*OIL TUBE
Price
N/A
938
*DISCD*OIL TUBE ELBOW COUPLING
Price
N/A
939
*DISCD*OIL PLUG W/SEAL
Price
N/A
940
Now: PB29M
HEX BOLT M6-1 X 30
Price
N/A
941
*DISCD*CROSS GRADUATED DIAL
Price
N/A
942
*DISCD*KNURLED THUMB SCREW M8-1.25 X 18
Price
N/A
943
*DISCD*DIAL BASE
Price
N/A
944
*DISCD*DIAL LOCKING PIN
Price
N/A
945
*DISCD*LOCK COLLAR
Price
N/A
946
SET SCREW M5-.8 X 8
Price
N/A
947
*DISCD*PLUNGER
Price
N/A
948
*DISCD*TAPERED PIN 4 X 25
Price
N/A
949
*DISCD*CROSS BALL HANDLE
Price
N/A
950
CAP SCREW M10-1.5 X 20
Price
N/A
951
*DISCD*FLANGE
Price
N/A
952
*DISCD*SLEEVE
Price
N/A
953
*DISCD*COMPRESSION SPRING
Price
N/A
954
CAP SCREW M8-1.25 X 10
Price
N/A
955
*DISCD*INDICATOR PLATE
Price
N/A
956
Now: PS17M
PHLP HD SCR M4-.7 X 6
Price
N/A
957
RIVET 2 X 6MM NAMEPLATE, STEEL
Price
N/A
958
*DISCD*GRADUATED DIAL INFO PLATE
Price
N/A
959
*DISCD*SHAFT
Price
N/A
960
*DISCD*KEY 8 X 5 X 45
Price
N/A
961
*DISCD*GEAR 17T
Price
N/A
962
SET SCREW M6-1 X 8 CONE-PT
Price
N/A
963
*DISCD*SHAFT
Price
N/A
964
*DISCD*BUSHING
Price
N/A
965
*DISCD*OIL SEAL 22 X 32 X 7
Price
N/A
966
*DISCD*BUSHING
Price
N/A
967
*DISCD*SADDLE TOP COVER
Price
N/A
968
Now: PS05M
PHLP HD SCR M5-.8 X 8
Price
N/A
969
CAP SCREW M10-1.5 X 35
Price
N/A
970
*DISCD*RIGHT FRONT BED CLAMP
Price
N/A
971
*DISCD*OIL FILL PLUG 1/4" NPT
Price
N/A
972
*DISCD*SADDLE
Price
N/A
973
CAP SCREW M12-1.75 X 40
Price
N/A
974
*DISCD*SQUARE WAY WIPER
Price
N/A
975
*DISCD*SQUARE WAY WIPER PLATE
Price
N/A
978
*DISCD*SQUARE HEAD BOLT M12-1.75 X 50
Price
N/A
979
*DISCD*STOP PIN
Price
N/A
980
BALL OILER 8MM PRESS-IN
Price
N/A
981
*DISCD*OIL TUBE
Price
N/A
1001
*DISCD*TOOL POST BOLT M16-2 X 50
Price
N/A
1002
*DISCD*GIB ADJUSTMENT SCREW
Price
N/A
1003
*DISCD*SET SCREW M5-.8 X 10 DOG-PT
Price
N/A
1004
*DISCD*LOCKING SCREW M8-1.25 X 20
Price
N/A
1005
ROLL PIN 6 X 16
Price
N/A
1006
*DISCD*BUSHING
Price
N/A
1007
*DISCD*TOOL POST BASE BOLT M24-3 X 170
Price
N/A
1008
*DISCD*COMPOUND REST GIB
Price
N/A
1009
*DISCD*COMPOUND REST ANGLE SCALE
Price
N/A
1010
*DISCD*INT ROUND-WIRE SNAP RING 30MM
Price
N/A
1011
*DISCD*PIVOT SHAFT
Price
N/A
1012
*DISCD*CROSS SLIDE
Price
N/A
1013
*DISCD*CROSS SLIDE GIB
Price
N/A
1014
*DISCD*WAY WIPER
Price
N/A
1015
Now: PS68M
PHLP HD SCR M6-1 X 10
Price
N/A
1016
*DISCD*T-NUT M12-1.75
Price
N/A
1017
*DISCD*CROSS LEADSCREW NUT
Price
N/A
1018
CAP SCREW M10-1.5 X 30
Price
N/A
1019
CAP SCREW M8-1.25 X 60
Price
N/A
1020
*DISCD*INT THREADED TAPERED PIN 8 X 50
Price
N/A
1021
SET SCREW M5-.8 X 8
Price
N/A
1022
CAP SCREW M8-1.25 X 25
Price
N/A
1023
*DISCD*COMPOUND GRADUATED DIAL
Price
N/A
1024
*DISCD*DIAL BASE
Price
N/A
1025
*DISCD*LOCK COLLAR
Price
N/A
1026
*DISCD*COMPOUND REST BALL HANDLE
Price
N/A
1027
*DISCD*TAPERED PIN 3 X 20
Price
N/A
1028
SET SCREW M5-.8 X 6
Price
N/A
1029
*DISCD*KNURLED THUMB SCREW M8-1.25 X 18
Price
N/A
1030
*DISCD*DIAL LOCKING PIN
Price
N/A
1031
*DISCD*GASKET
Price
N/A
1032
ROLL PIN 4 X 30
Price
N/A
1033
*DISCD*COMPOUND LEADSCREW BRACKET
Price
N/A
1034
*DISCD*DIAL INDICATOR PLATE
Price
N/A
1035
RIVET 2 X 6MM NAMEPLATE, STEEL
Price
N/A
1036
*DISCD*INDICATOR PLATE
Price
N/A
1037
Now: PS17M
PHLP HD SCR M4-.7 X 6
Price
N/A
1038
THRUST BEARING 51102
Price
N/A
1039
Now: PK23M
KEY 5 X 5 X 25
Price
N/A
1040
*DISCD*COMPOUND REST LEADSCREW
Price
N/A
1041
Now: PS09M
PHLP HD SCR M5-.8 X 10
Price
N/A
1042
*DISCD*CROSS SLIDE REAR COVER
Price
N/A
1043
ROLL PIN 5 X 40
Price
N/A
1044
CAP SCREW M8-1.25 X 35
Price
N/A
1045
*DISCD*COMPOUND LEADSCREW NUT
Price
N/A
1046
*DISCD*COMPOUND REST BASE
Price
N/A
1047
Now: PB25M
HEX BOLT M12-1.75 X 25
Price
N/A
1048
BALL OILER 8MM PRESS-IN
Price
N/A
1049
*DISCD*COMPOUND REST
Price
N/A
1050
*DISCD*COMPRESSION SPRING
Price
N/A
1051
*DISCD*TOOL POST INDEXING PLUNGER
Price
N/A
1052
*DISCD*PLUNGER SLEEVE
Price
N/A
1053
*DISCD*TOOL POST BODY
Price
N/A
1054
*DISCD*TOOL POST FLAT WASHER 24MM
Price
N/A
1055
*DISCD*TOOL POST HUB/HANDLE
Price
N/A
1056
*DISCD*TAPERED KNOB M12-1.75 X 40
Price
N/A
1101
SET SCREW M6-1 X 10 CONE-PT
Price
N/A
1102
ROLL PIN 5 X 45
Price
N/A
1103
SET SCREW M10-1.5 X 12
Price
N/A
1104
*DISCD*COMPRESSION SPRING
Price
N/A
1105
*DISCD*PLUNGER
Price
N/A
1106
*DISCD*TAPERED KNOB M10-1.5 X 18
Price
N/A
1107
*DISCD*FEED SELECTOR HUB/LEVER
Price
N/A
1108
CAP SCREW M6-1 X 12
Price
N/A
1109
*DISCD*FLANGE
Price
N/A
1110
*DISCD*LOCK COLLAR
Price
N/A
1111
*DISCD*SHAFT
Price
N/A
1112
Now: PR06M
EXT RETAINING RING 16MM
Price
N/A
1113
*DISCD*PIVOT ARM
Price
N/A
1114
*DISCD*SHIFT FORK
Price
N/A
1115
*DISCD*HEADED DOWEL PIN
Price
N/A
1116
*DISCD*GEAR HOUSING
Price
N/A
1117
*DISCD*FLANGED SLEEVE
Price
N/A
1118
*DISCD*COMPRESSION SPRING
Price
N/A
1119
*DISCD*GEAR 27T
Price
N/A
1120
*DISCD*SPACER
Price
N/A
1121
*DISCD*BELLEVILLE SPRING
Price
N/A
1122
*DISCD*INSERT RING
Price
N/A
1123
BALL BEARING 16002-OPEN
Price
N/A
1124
THRUST BEARING 51102
Price
N/A
1125
*DISCD*HUB BASE
Price
N/A
1126
ROLL PIN 5 X 12
Price
N/A
1127
CAP SCREW M8-1.25 X 30
Price
N/A
1128
*DISCD*FEED ROD CLUTCH HUB/LEVER
Price
N/A
1129
ROLL PIN 5 X 12
Price
N/A
1130
*DISCD*HUB SHAFT
Price
N/A
1131
CAP SCREW M6-1 X 20
Price
N/A
1132
*DISCD*GEAR 18T
Price
N/A
1133
*DISCD*SHAFT
Price
N/A
1134
SET SCREW M6-1 X 12
Price
N/A
1135
*DISCD*COMBO GEAR 18T/60T
Price
N/A
1136
ROLL PIN 2 X 10
Price
N/A
1137
*DISCD*HALF NUT HUB/LEVER
Price
N/A
1138
*DISCD*DOWEL PIN 4 X 32
Price
N/A
1139
*DISCD*O-RING 2.62 X 75.87
Price
N/A
1140
*DISCD*SLEEVE
Price
N/A
1141
*DISCD*OIL SIGHT GLASS M27-1.5
Price
N/A
1142
*DISCD*BUSHING
Price
N/A
1143
SET SCREW M6-1 X 8 CONE-PT
Price
N/A
1144
*DISCD*DIAL INFO PLATE
Price
N/A
1145
*DISCD*INDICATOR PLATE
Price
N/A
1146
RIVET 2 X 6MM NAMEPLATE, STEEL
Price
N/A
1147
CAP SCREW M6-1 X 14
Price
N/A
1148
*DISCD*LOCKING PIN
Price
N/A
1149
*DISCD*KNURLED THUMB SCREW M8-1.25 X 18
Price
N/A
1150
SET SCREW M6-1 X 12 CONE-PT
Price
N/A
1151
*DISCD*HANDWHEEL RETAINER
Price
N/A
1152
FLAT HD SCR M8-1.25 X 20
Price
N/A
1153
*DISCD*HANDWHEEL HANDLE M10-1.5 X 20
Price
N/A
1154
*DISCD*CARRIAGE HANDWHEEL
Price
N/A
1155
*DISCD*DIAL HUB
Price
N/A
1156
SET SCREW M5-.8 X 8 CONE-PT
Price
N/A
1157
*DISCD*CARRIAGE GRADUATED DIAL
Price
N/A
1158
*DISCD*DIAL BASE
Price
N/A
1159
*DISCD*BUSHING
Price
N/A
1160
*DISCD*O-RING 3 X 13
Price
N/A
1161
*DISCD*KEY 8 X 5 X 25
Price
N/A
1162
*DISCD*SHAFT
Price
N/A
1163
*DISCD*KEY 8 X 5 X 25
Price
N/A
1164
*DISCD*GEAR 13T
Price
N/A
1165
*DISCD*BUSHING
Price
N/A
1166
RIVET 2 X 6MM NAMEPLATE, STEEL
Price
N/A
1167
*DISCD*APRON FRONT COVER
Price
N/A
1168
*DISCD*OIL DRAIN PLUG 1/4" NPT
Price
N/A
1169
*DISCD*OIL SEAL
Price
N/A
1170
SET SCREW M6-1 X 12 DOG-PT
Price
N/A
1171
*DISCD*APRON HOUSING
Price
N/A
1172
SET SCREW M6-1 X 8 CONE-PT
Price
N/A
1173
*DISCD*GEAR 59T
Price
N/A
1174
*DISCD*BUSHING
Price
N/A
1175
*DISCD*SPACER
Price
N/A
1176
*DISCD*GEAR SHAFT 13T
Price
N/A
1177
*DISCD*KEY 8 X 5 X 25
Price
N/A
1178
ROLL PIN 4 X 12
Price
N/A
1179
SET SCREW M10-1.5 X 25 DOG-PT
Price
N/A
1180
Now: PN03M
HEX NUT M8-1.25
Price
N/A
1181
*DISCD*DOWEL PIN 6 X 70
Price
N/A
1182
*DISCD*PLUNGER
Price
N/A
1183
*DISCD*DOWEL PIN 6 X 25
Price
N/A
1184
*DISCD*DOWEL PIN
Price
N/A
1185
*DISCD*HALF NUT LEFT GIB
Price
N/A
1186
*DISCD*HALF NUT 2-PC
Price
N/A
1187
CAP SCREW M8-1.25 X 16
Price
N/A
1188
Now: PW02M
FLAT WASHER 5MM
Price
N/A
1189
Now: PS05M
PHLP HD SCR M5-.8 X 8
Price
N/A
1190
*DISCD*HALF NUT SHIELD
Price
N/A
1191
INT TOOTH WASHER 8MM
Price
N/A
1192
*DISCD*DOWEL PIN 6 X 12
Price
N/A
1193
*DISCD*HALF NUT RIGHT GIB
Price
N/A
1194
*DISCD*HALF NUT COVER BACKING BOARD
Price
N/A
1195
Now: PR09M
EXT RETAINING RING 20MM
Price
N/A
1196
*DISCD*WORM GEAR
Price
N/A
1197
KEY 8 X 8 X 25
Price
N/A
1198
*DISCD*OIL SEAL 34 X 46 X 8
Price
N/A
1199
SET SCREW M10-1.5 X 16 DOG-PT
Price
N/A
1200
*DISCD*ROLL PIN 3 X 5
Price
N/A
1201
*DISCD*WORM SHAFT RACE
Price
N/A
1202
ROLL PIN 3 X 10
Price
N/A
1203
*DISCD*SLIDING KEY
Price
N/A
1204
*DISCD*LOCK COLLAR
Price
N/A
1205
*DISCD*WORM SHAFT
Price
N/A
1206
KEY 8 X 8 X 55
Price
N/A
1207
*DISCD*SHAFT
Price
N/A
1208
CAP SCREW M6-1 X 12
Price
N/A
1209
*DISCD*BEARING FLANGE
Price
N/A
1210
THRUST BEARING 51104
Price
N/A
1211
*DISCD*WORM SHAFT SUPPORT
Price
N/A
1212
CAP SCREW M6-1 X 16
Price
N/A
1213
CAP SCREW M8-1.25 X 95
Price
N/A
1214
*DISCD*STUD-DE M8-1.25 X 150, 20
Price
N/A
1215
*DISCD*BUSHING
Price
N/A
1216
*DISCD*THREAD DIAL BODY
Price
N/A
1217
*DISCD*THREAD DIAL SHAFT
Price
N/A
1218
*DISCD*THREAD DIAL GEAR 16T
Price
N/A
1219
ROLL PIN 4 X 30
Price
N/A
1220
Now: PN03M
HEX NUT M8-1.25
Price
N/A
1300
*DISCD*STEADY REST ASSEMBLY
Price
N/A
1301
*DISCD*BEDWAY CLAMP
Price
N/A
1302
*DISCD*LOWER STEADY REST CASTING
Price
N/A
1303
*DISCD*DOWEL PIN 6 X 55
Price
N/A
1304
FLAT WASHER 24MM
Price
N/A
1305
Now: PN44M
HEX NUT M24-3
Price
N/A
1306
*DISCD*UPPER STEADY REST CASTING
Price
N/A
1307
*DISCD*EYE BOLT M16-2 X 75
Price
N/A
1308
Now: PW08M
FLAT WASHER 16MM
Price
N/A
1309
Now: PN13M
HEX NUT M16-2
Price
N/A
1310
*DISCD*BRASS FINGER
Price
N/A
1311
*DISCD*THUMB SCREW M8-1.25 X 25
Price
N/A
1312
*DISCD*THREADED SLEEVE
Price
N/A
1313
*DISCD*SHOULDER STUD M12-1.75 X 90 125L
Price
N/A
1314
*DISCD*SHOULDER STUD RETAINER CAP
Price
N/A
1315
*DISCD*THUMB KNOB
Price
N/A
1316
ROLL PIN 4 X 25
Price
N/A
1317
CAP SCREW M6-1 X 12
Price
N/A
1400
*DISCD*FOLLOW REST ASSEMBLY
Price
N/A
1401
*DISCD*FOLLOW REST CASTING
Price
N/A
1402
*DISCD*BRASS FINGER
Price
N/A
1403
*DISCD*THUMB SCREW M8-1.25 X 25
Price
N/A
1404
*DISCD*THREADED SLEEVE
Price
N/A
1405
*DISCD*SHOULDER STUD M12-1.75 X 90 125L
Price
N/A
1406
ROLL PIN 5 X 32
Price
N/A
1407
*DISCD*SHOULDER STUD RETAINER CAP
Price
N/A
1408
CAP SCREW M4-.7 X 12
Price
N/A
1409
*DISCD*THUMB KNOB
Price
N/A
1410
HEX BOLT M16-2 X 60
Price
N/A
1411
Now: PW08M
FLAT WASHER 16MM
Price
N/A
1501
*DISCD*KEY 8 X 5 X 25
Price
N/A
1502
*DISCD*TAILSTOCK LEADSCREW
Price
N/A
1503
Now: PR21M
INT RETAINING RING 35MM
Price
N/A
1504
*DISCD*TAILSTOCK LEADSCREW NUT
Price
N/A
1505
*DISCD*QUILL
Price
N/A
1506
*DISCD*TAILSTOCK BODY
Price
N/A
1507
BALL OILER 8MM PRESS-IN
Price
N/A
1508
FLAT WASHER 24MM
Price
N/A
1509
*DISCD*TAILSTOCK LOCK SHAFT
Price
N/A
1510
*DISCD*TAPERED KNOB M12-1.75 X 18
Price
N/A
1511
*DISCD*TAILSTOCK LOCK HUB/LEVER
Price
N/A
1512
O-RING 3.1 X 29.4 G30
Price
N/A
1513
*DISCD*TAPERED KNOB M10-1.5 X 18
Price
N/A
1514
*DISCD*QUILL LOCK HUB/LEVER
Price
N/A
1515
Now: PW06M
FLAT WASHER 12MM
Price
N/A
1516
*DISCD*UPPER QUILL CLAMP SLEEVE
Price
N/A
1517
*DISCD*LOWER QUILL CLAMP SLEEVE
Price
N/A
1518
*DISCD*QUILL WIPER
Price
N/A
1519
Now: PS09M
PHLP HD SCR M5-.8 X 10
Price
N/A
1520
*DISCD*THREADED KEY M8-1.25
Price
N/A
1521
SET SCREW M8-1.25 X 20
Price
N/A
1522
Now: PN03M
HEX NUT M8-1.25
Price
N/A
1523
*DISCD*STRAIGHT WAY WIPER
Price
N/A
1524
Now: PW04M
FLAT WASHER 10MM
Price
N/A
1525
Now: PB01M
HEX BOLT M10-1.5 X 30
Price
N/A
1526
*DISCD*CLAMP PLATE
Price
N/A
1527
*DISCD*SLOTTED LOCK NUT M24-3
Price
N/A
1528
ROLL PIN 5 X 20
Price
N/A
1529
SET SCREW M12-1.75 X 35 CONE-PT
Price
N/A
1530
*DISCD*TAILSTOCK BASE
Price
N/A
1531
*DISCD*V-WAY WIPER
Price
N/A
1532
RIVET 2 X 6MM NAMEPLATE, STEEL
Price
N/A
1533
*DISCD*OFFSET SCALE 2-PC
Item is no longer available
Price
N/A
1534
*DISCD*DOWEL PIN
Price
N/A
1535
ROLL PIN 6 X 12
Price
N/A
1536
*DISCD*THRUST BEARING 51024
Price
N/A
1537
*DISCD*BEARING FLANGE
Price
N/A
1538
CAP SCREW M8-1.25 X 10
Price
N/A
1539
Now: PR15M
EXT RETAINING RING 30MM
Price
N/A
1540
*DISCD*BELLEVILLE LOCK WASHER 46.5 X 30.
Price
N/A
1541
*DISCD*TAILSTOCK GRADUATED RING
Price
N/A
1542
SET SCREW M6-1 X 8
Price
N/A
1543
*DISCD*LOCK COLLAR
Price
N/A
1544
*DISCD*PLUNGER
Price
N/A
1545
SET SCREW M8-1.25 X 10
Price
N/A
1546
*DISCD*QUILL HANDWHEEL W/HANDLE
Price
N/A
1601
*DISCD*TRANSFORMER JBK5 160VA 220-24V
Price
N/A
1602
MASTER PWR SWITCH CHANGJIANG HZ12
Price
N/A
1603
*DISCD*CIRCUIT BREAKER 22-32A
Price
N/A
1604
*DISCD*CONTACTOR SIEMENS 3TB4017-0A 24V
Price
N/A
1605
*DISCD*CIRCUIT BREAKER 0.63A DELIX DZ108
Price
N/A
1606
*DISCD*CIRCUIT BREAKER 3A DELIX DZ47-63
Price
N/A
1607
*DISCD*CIRCUIT BREAKER 3A DELIX DZ47-63
Price
N/A
1608
*DISCD*CONTACTOR SIEMENS 3TB4417-0A 24V
Price
N/A
1609
*DISCD*TERMINAL BLOCK 1P YEL/GRN
Price
N/A
1610
*DISCD*TERMINAL BLOCK 1P GRAY
Price
N/A
1611
*DISCD*COMPONENT MOUNTING PLATE
Price
N/A
1701
*DISCD*FACEPLATE 17"
Price
N/A
1702
*DISCD*4-JAW CHUCK 12"
Price
N/A
1703
*DISCD*3-JAW CHUCK 10" W/INSIDE JAW SET
Price
N/A
1704
*DISCD*DRIVE PLATE 9-3/8"
Price
N/A
1705
*DISCD*4-JAW CHUCK WRENCH
Price
N/A
1706
*DISCD*CAMLOCK STUD
Price
N/A
1707
CAP SCREW M6-1 X 14
Price
N/A
1708
*DISCD*SPANNER WRENCH 135-165MM
Price
N/A
1709
*DISCD*SPANNER WRENCH 110-130MM
Price
N/A
1710
*DISCD*TAPERED SPINDLE SLEEVE MT#7-MT#5
Price
N/A
1711
*DISCD*DEAD CENTER MT#5
Price
N/A
1712
*DISCD*TOOLBOX
Price
N/A
1713
*DISCD*SPINDLE WRENCH
Price
N/A
1714
*DISCD*3-JAW CHUCK WRENCH
Price
N/A
1715
*DISCD*TOOL POST T-WRENCH
Price
N/A
1716
*DISCD*CHANGE GEAR 72T
Price
N/A
1717
*DISCD*CHANGE GEAR 36T
Price
N/A
1718
Now: PWR16
WRENCH 16MM OPEN-END
Price
N/A
1719
WRENCH 19 X 24MM OPEN-ENDS
Price
N/A
1720
WRENCH 17 X 19MM OPEN-ENDS
Price
N/A
1721
WRENCH 10 X 13MM OPEN-ENDS
Price
N/A
1722
*DISCD*LEVELING PADS
Price
N/A
1723
HEX WRENCH 10MM
Price
N/A
1724
HEX WRENCH 8MM
Price
N/A
1725
HEX WRENCH 6MM
Price
N/A
1726
HEX WRENCH 5MM
Price
N/A
1727
*DISCD*OIL GUN
Price
N/A
1728
*DISCD*BRAKE BELT ASSEMBLY
Price
N/A
1729
*DISCD*CROSS SLIDE BALL HANDLE
Price
N/A
1730
*DISCD*CARRIAGE HANDWHEEL HANDLE
Price
N/A
1731
*DISCD*LEVELING BOLTS M16-2 X 45
Price
N/A
1732
Now: PN13M
HEX NUT M16-2
Price
N/A
1733
*DISCD*3-JAW CHUCK OUTSIDE JAW SET
Price
N/A
1801
READ MANUAL 2W X 3.3H V2.07.05
Price
N/A
1802
IMPACT INJURY 3.8W X 2H
Price
N/A
1803
MACHINE ID LABEL
Item is no longer available
Price
N/A
1804
ENTANGLEMENT HAZARD 2W X 3.3H
Price
N/A
1805
IMPACT INJURY 2W X 3.3H
Price
N/A
1806
SPINDLE SPEED HAZARD 2W X 3.3H
Price
N/A
1807
GREY PUTTY REF G0504
Price
N/A
1808
N/S GRIZZLY GREEN G1023S
Price
N/A
1809
*DISCD*MODEL NUMBER LABEL
Item is no longer available
Price
N/A
1810
STOP OIL FILL TAG 4W X 4H
Price
N/A
1811
Now: G8589
Nameplate - Large
Price
N/A
1812
TRAINED PERSONNEL NOTICE 3W X 2H
Price
N/A
1813
*DISCD*GENERAL WARNINGS LABEL
Price
N/A
1814
DISCONNECT 220V 2W X 3.3H
Price
N/A
1815
*DISCD*PINCH/ENTANGLEMENT WARNING LABEL
Price
N/A
1816
*DISCD*FLUID CAPACITIES LABEL
Price
N/A
1817
220V 3-PHASE ELECTRICITY 2.8W X 1.5H
Price
N/A
1818
BIOLOGICAL/POISON HAZARD 2W X 3.3H
Price
N/A
1819
*DISCD*THREAD DIAL CHART LABEL
Price
N/A
MAN
MANUAL G0746-49 MFG 3/13 V1.05.13
Price
N/A