Parts for G0824 14" x 40" 2-1/2 HP Gunsmithing Metal Lathe w/ DRO

Parts Diagrams for G0824 - 14" x 40" 2-1/2 HP Gunsmithing Metal Lathe w/ DRO

IMPORTANT

Parts may have multiple versions that have changed over time. This will be indicated by V1, V2, V3, etc. in the parts description, followed by the version month and year that it was first used. Example: V2.01.17 indicates version 2 of a part went into use in January 2017. Please reference the manufacture date on the ID Label for your machine to ensure you are selecting the correct part when multiple versions are indicated.

If you cannot locate your part below, please contact our tech support department at techsupport@grizzly.com or 570-546-9663.

Please note: All parts ship out of our Springfield, Missouri facility.

Parts List for Parts for G0824 14" x 40" 2-1/2 HP Gunsmithing Metal Lathe w/ DRO

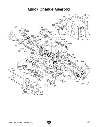
1
CAP SCREW M6-1 X 20
Price
N/A
2
HEADSTOCK COVER
$179.70
Enter quantity between 1 and 99
3
HEADSTOCK COVER GASKET
$31.25
Enter quantity between 1 and 99
4
ROLL PIN 6 X 30
Price
N/A
5
O-RING 14 X 2.4
$1.90
Enter quantity between 1 and 99
6
SET SCREW M6-1 X 8
Price
N/A
7
SHIFT SHAFT
$48.15
Enter quantity between 1 and 99
8
SHIFT LEVER
$46.35
Enter quantity between 1 and 99
9
SHIFT LEVER BLOCK
$20.50
Enter quantity between 1 and 99
10
HEADSTOCK CASTING
$985.10
Enter quantity between 1 and 99
11
OIL PLUG ZG 3/8" NPT
$6.50
Enter quantity between 1 and 99
12
LOCK WASHER 10MM
Price
N/A
13
HEX BOLT M10-1.5 X 18, 36L, EXT HEAD
$1.80
Enter quantity between 1 and 99
14
CAP SCREW M10-1.5 X 30
Price
N/A
15
FEED DIRECTION SHAFT BRACKET
$31.35
Enter quantity between 1 and 99
16
CAP SCREW M6-1 X 25
Price
N/A
17
SHIFT LEVER
$22.35
Enter quantity between 1 and 99
18
SHIFT BLOCK
$47.15
Enter quantity between 1 and 99
19
O-RING 25 X 2.4
$2.60
Enter quantity between 1 and 99
20
ROLL PIN 4 X 20
Price
N/A
21
FEED DIRECTION SHAFT
$40.65
Enter quantity between 1 and 99
22
FEED DIRECTION DIAL COLLAR
$23.40
Enter quantity between 1 and 99
23
FLAT HD SCR M4-.7 X 10
Price
N/A
24
KEY 4 X 6 X 14
$2.25
Enter quantity between 1 and 99
25
SET SCREW M8-1.25 X 8
Price
N/A
26
COMPRESSION SPRING 18 X 6 X 1.2
$1.90
Enter quantity between 1 and 99
27
STEEL BALL 6MM
Price
N/A
28
FEED DIRECTION DIAL 50MM D
$40.65
Enter quantity between 1 and 99
29
Now: PS12M
PHLP HD SCR M3-.5 X 6
Price
N/A
30
HEADSTOCK CONTROL PANEL PLATE
$49.25
Enter quantity between 1 and 99
32
ROLL PIN 8 X 35
Price
N/A
33
HEADSTOCK CONTROL PANEL FRAME
$267.40
Enter quantity between 1 and 99
34
GEAR 57T
$58.85
Enter quantity between 1 and 99
35
LOCK COLLAR
$16.40
Enter quantity between 1 and 99
36
SET SCREW M6-1 X 8 CONE-PT
Price
N/A
37
SET SCREW M6-1 X 6
Price
N/A
38
SPEED CONTROL LEVER
$49.25
Enter quantity between 1 and 99
39
FLAT HD SCR M6-1 X 16
Price
N/A
42
SPEED CONTROL LEVER SLEEVE
$38.15
Enter quantity between 1 and 99
43
COLLAR
$31.25
Enter quantity between 1 and 99
45
SPEED RANGE SHAFT
$71.60
Enter quantity between 1 and 99
46
SPINDLE SPEED SHAFT
$71.60
Enter quantity between 1 and 99
47
KEY 4 X 4 X 145
Price
N/A
48
SHIFT COLLAR
$42.80
Enter quantity between 1 and 99
49
SET SCREW M6-1 X 10 CUP - PT
Price
N/A
50
SHIFT FORK
$16.40
Enter quantity between 1 and 99
51
GEAR SHAFT 19T
$31.35
Enter quantity between 1 and 99
52
SPINDLE PULLEY
$78.75
Enter quantity between 1 and 99
53
ROCKER
$9.00
Enter quantity between 1 and 99
54
ROLL PIN 5 X 25
Price
N/A
55
ANCHOR PIN
$6.15
Enter quantity between 1 and 99
56
ROCKER SHAFT
$9.00
Enter quantity between 1 and 99
57
Now: PR39M
EXT RETAINING RING 8MM
Price
N/A
58
CAP SCREW M8-1.25 X 15
Price
N/A
59
FENDER WASHER 8MM
Price
N/A
60
CAP SCREW M6-1 X 16
Price
N/A
61
Now: PR39M
EXT RETAINING RING 8MM
Price
N/A
62
SHAFT
$6.15
Enter quantity between 1 and 99
63
GEAR SHAFT END COVER
$44.25
Enter quantity between 1 and 99
64
BEARING COVER GASKET
$4.70
Enter quantity between 1 and 99
65
OIL SEAL SD25 X 40 X 10
$5.35
Enter quantity between 1 and 99
66
BALL BEARING 6005ZZ
Price
N/A
67
KEY 5 X 5 X 30 RE
Price
N/A
68
GEAR SHAFT C
$60.65
Enter quantity between 1 and 99
69
Now: PK50M
KEY 6 X 6 X 120
Price
N/A
70
Now: PK36M
KEY 5 X 5 X 50
Price
N/A
71
TOOTHED COLLAR GEAR
$52.50
Enter quantity between 1 and 99
72
GEAR 29T
$52.50
Enter quantity between 1 and 99
73
GEAR 46T
$73.00
Enter quantity between 1 and 99
74
GEAR 38T
$52.50
Enter quantity between 1 and 99
75
Now: PR12M
EXT RETAINING RING 35MM
Price
N/A
76
BALL BEARING 6203ZZ
Price
N/A
77
FRONT END COVER C
$24.85
Enter quantity between 1 and 99
78
SET SCREW M8-1.25 X 16 DOG-PT
Price
N/A
79
O-RING 40 X 3.1
$1.80
Enter quantity between 1 and 99
80
CAP SCREW M4-.7 X 12
Price
N/A
81
BEARING COVER
$40.65
Enter quantity between 1 and 99
82
BEARING COVER GASKET
$4.70
Enter quantity between 1 and 99
83
BALL BEARING 6204ZZ
Price
N/A
84
SPACER 20 X 32 X 8
$6.15
Enter quantity between 1 and 99
85
KEY 8 X 8 X 55 RE
$2.25
Enter quantity between 1 and 99
86
GEAR SHAFT B
$75.50
Enter quantity between 1 and 99
87
GEAR 51T
$73.00
Enter quantity between 1 and 99
88
GEAR 43T
$52.50
Enter quantity between 1 and 99
89
SPACER
$11.90
Enter quantity between 1 and 99
90
GEAR 26T
$40.65
Enter quantity between 1 and 99
91
GEAR 34T
$46.40
Enter quantity between 1 and 99
92
GEAR 53T
$75.50
Enter quantity between 1 and 99
93
O-RING 47 X 3.1
$1.90
Enter quantity between 1 and 99
94
FRONT END COVER B
$15.85
Enter quantity between 1 and 99
95
SPANNER NUT M65-2
$22.35
Enter quantity between 1 and 99
96
COLLAR
$15.85
Enter quantity between 1 and 99
97
CAP SCREW M6-1 X 25
Price
N/A
98
OUTBOARD SPINDLE COVER
$38.15
Enter quantity between 1 and 99
99
OUTBOARD SPINDLE GASKET
$9.00
Enter quantity between 1 and 99
100
TAPER ROLLER BEARING 32013 P5
Price
N/A
101
Now: PR13M
EXT RETAINING RING 65MM
Price
N/A
102
GEAR 37T/37T
$75.50
Enter quantity between 1 and 99
103
GEAR 37T
$87.00
Enter quantity between 1 and 99
104
Now: PK51M
KEY 8 X 8 X 18
Price
N/A
105
GEAR 74T
$104.65
Enter quantity between 1 and 99
106
*DISCD*EXT RETAINING RING 82MM
Price
N/A
107
TAPER ROLLER BEARING 32015 P5
Price
N/A
108
GASKET
$9.00
Enter quantity between 1 and 99
109
FRONT SPINDLE COVER
$52.50
Enter quantity between 1 and 99
110
SPINDLE
$1,024.95
Enter quantity between 1 and 99
111
KEY 6 X 6 X 40 RE
$2.25
Enter quantity between 1 and 99
112
KEY 8 X 8 X 84
Price
N/A
113
O-RING 25 X 2.4
Price
N/A
114
SHAFT D
$46.40
Enter quantity between 1 and 99
115
Now: PR24M
INT RETAINING RING 42MM
Price
N/A
116
BALL BEARING 16004ZZ
Price
N/A
117
GEAR 30T
$52.50
Enter quantity between 1 and 99
118
Now: PR09M
EXT RETAINING RING 20MM
Price
N/A
119
Now: PN09M
HEX NUT M12-1.75
Price
N/A
120
SHOULDER WASHER 12 X 25 X 4
$4.70
Enter quantity between 1 and 99
121
GEAR 40T
$52.50
Enter quantity between 1 and 99
122
OIL SEAL
$4.70
Enter quantity between 1 and 99
123
GEAR SHAFT E
$69.75
Enter quantity between 1 and 99
124
Now: PK14M
KEY 5 X 5 X 18
Price
N/A
125
ROLL PIN 3 X 10
Price
N/A
126
KEY 6 X 6 X 50 RE
$2.25
Enter quantity between 1 and 99
127
SPACER
$6.10
Enter quantity between 1 and 99
128
FLANGE HUB
$35.65
Enter quantity between 1 and 99
129
SPACER
$6.15
Enter quantity between 1 and 99
130
CAP SCREW M5-.8 X 16
Price
N/A
131
GASKET
$4.70
Enter quantity between 1 and 99
132
SPACER
$6.15
Enter quantity between 1 and 99
133
GEAR 37T W/PULLEY
$66.90
Enter quantity between 1 and 99
134
Now: PR09M
EXT RETAINING RING 20MM
Price
N/A
135
SPIDER SCREW M10-1.5 X 35 W/BRASS TIP
Price
N/A
136
Now: PN02M
HEX NUT M10-1.5
Price
N/A
137
BRAKE SHOE ASSEMBLY
$53.50
Enter quantity between 1 and 99
201
Now: PN02M
HEX NUT M10-1.5
Price
N/A
202
FENDER WASHER 10MM
Price
N/A
203
BALL BEARING 6203ZZ
Price
N/A
204
Now: PR23M
INT RETAINING RING 40MM
Price
N/A
205
Now: PR78M
EXT RETAINING RING 55MM
Price
N/A
206
GEAR 120T
Price
N/A
207
GEAR 127T
Price
N/A
208
GEAR 60T
Price
N/A
209
KEY 4 X 4 X 145
Price
N/A
210
BEARING HOUSING
Price
N/A
211
ARM SUPPORT BUSHING
Price
N/A
212
PIVOT ARM
Price
N/A
213
GEAR MOUNTING BOLT M10-1.5 X 45
Price
N/A
214
CAP SCREW M6-1 X 15
Price
N/A
215
FENDER WASHER 6MM
Price
N/A
216
CAP SCREW M8-1.25 X 30
Price
N/A
217
STUD M10-1.5 X 64
$15.65
Enter quantity between 1 and 99
218
CHANGE GEAR 52T
$55.75
Enter quantity between 1 and 99
219
CHANGE GEAR 46T
$53.60
Enter quantity between 1 and 99
220
CHANGE GEAR 44T
$53.60
Enter quantity between 1 and 99
221
GEAR 63T
Price
N/A
222
GEAR 57T
Price
N/A
223
GEAR 56T
Price
N/A
224
GEAR 54T
Price
N/A
225
GEAR 30T
Price
N/A
226
CHANGE GEAR 40T
$53.60
Enter quantity between 1 and 99
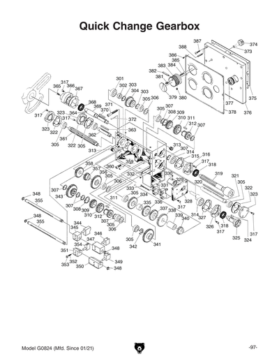
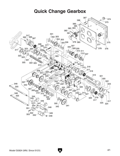
301
BALL BEARING 6203-2RS
Price
N/A
302
SPACER
Price
N/A
303
Now: PR06M
EXT RETAINING RING 16MM
Price
N/A
304
COMBO GEAR 16T/24T
Price
N/A
305
BALL BEARING 6202-2RS
Price
N/A
306
SPACER
Price
N/A
307
Now: PR09M
EXT RETAINING RING 20MM
Price
N/A
308
Now: PR19M
EXT RETAINING RING 28MM
Price
N/A
309
GEAR 24T
Price
N/A
310
GEAR 28T
Price
N/A
311
Now: PK38M
KEY 4 X 4 X 22
Price
N/A
312
GEAR 18T
Price
N/A
313
GEARBOX FILL/DRAIN PLUG 3/8" NPT
Price
N/A
314
BALL BEARING 6004-2RS
Price
N/A
315
LEADSCREW BEARING COVER GASKET
Price
N/A
316
LEADSCREW BEARING COVER
Price
N/A
317
CAP SCREW M5-.8 X 12
Price
N/A
318
OIL SEAL 25 X 40 X 7
Price
N/A
319
LEADSCREW SHAFT
Price
N/A
320
KEY 4 X 4 X 145
Price
N/A
321
SHAFT
Price
N/A
322
BEARING COVER GASKET
Price
N/A
323
BEARING COVER
Price
N/A
324
Now: PK14M
KEY 5 X 5 X 18
Price
N/A
325
FEED ROD SHAFT
Price
N/A
326
FEED ROD SHAFT BEARING COVER
Price
N/A
327
FEED ROD SHAFT GASKET
Price
N/A
328
SPINDLE SWITCH COVER
Price
N/A
329
SPINDLE SWITCH ARM
Price
N/A
330
SET SCREW M6-1 X 8
Price
N/A
331
LIMIT SWITCH SHANGHAI MACHINE
$49.25
Enter quantity between 1 and 99
332
SET SCREW M5-.8 X 6
Price
N/A
333
BUTTON HD CAP SCR M4-.7 X 45
Price
N/A
334
GEAR 32T
Price
N/A
335
SPACER
Price
N/A
336
GEAR 30T
Price
N/A
337
GEAR 28T
Price
N/A
338
GEAR 30T
Price
N/A
339
SPACER
Price
N/A
340
GEAR 16T
Price
N/A
341
GEAR 32T
Price
N/A
342
E-CLIP 15MM
Price
N/A
343
GEAR 32T/16T
Price
N/A
344
SHIFT FORK A
Price
N/A
345
SHIFT FORK A RACK
Price
N/A
346
SHIFT FORK B
Price
N/A
347
SHIFT FORK B RACK
Price
N/A
348
O-RING 12 X 1.9
Price
N/A
349
SHIFT FORK C
Price
N/A
350
SHIFT FORK C RACK
Price
N/A
351
SHIFT FORK D RACK
Price
N/A
352
SET SCREW M4-.7 X 16
Price
N/A
353
Now: PN04M
HEX NUT M4-.7
Price
N/A
354
SHIFT FORK D
Price
N/A
355
SHIFT FORK SHAFT
Price
N/A
356
GEAR 32T
Price
N/A
357
GEAR 16T
Price
N/A
358
GEAR 24T
Price
N/A
359
TAPERED PIN 8 X 26
Price
N/A
360
CAP SCREW M8-1.25 X 25
Price
N/A
361
LOWER GEARBOX SPLINED SHAFT
Price
N/A
362
UPPER GEARBOX SHAFT
Price
N/A
363
KEY 4 X 4 X 55
Price
N/A
364
KEY 5 X 5 X 18 RE
$2.25
Enter quantity between 1 and 99
365
CAP SCREW M6-1 X 16
Price
N/A
366
LWR CHANGE GEAR SHAFT BRACKET
Price
N/A
367
GEAR SHAFT BRACKET GASKET
Price
N/A
368
OIL SEAL 22 X 35 X 7
Price
N/A
369
LOWER CHANGE GEAR SHAFT
Price
N/A
370
Now: PK33M
KEY 5 X 5 X 45
Price
N/A
371
CAP SCREW M8-1.25 X 65
Price
N/A
372
ROLL PIN 4 X 30
Price
N/A
373
O-RING 7 X 1.9
Price
N/A
374
PINION SHAFT
Price
N/A
375
GEARBOX COVER GASKET
$11.90
Enter quantity between 1 and 99
376
GEARBOX COVER
$156.00
Enter quantity between 1 and 99
377
GEARBOX OIL SIGHT GLASS A12
$6.15
Enter quantity between 1 and 99
378
GEARBOX COVER PLATE
$46.40
Enter quantity between 1 and 99
379
GEARBOX DIAL COVER PLATE
$3.25
Enter quantity between 1 and 99
380
SET SCREW M6-1 X 8
Price
N/A
381
SET SCREW M6-1 X 10
Price
N/A
382
ROLL PIN 5 X 40
Price
N/A
383
GEARBOX DIAL
Price
N/A
384
COMPRESSION SPRING 1 X 5 X 20
Price
N/A
385
STEEL BALL 6MM
Price
N/A
386
Now: PS07M
PHLP HD SCR M4-.7 X 8
Price
N/A
387
CAP SCREW M5-.8 X 25
Price
N/A
388
ROLL PIN 5 X 40
Price
N/A
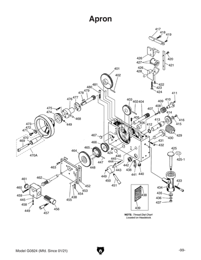
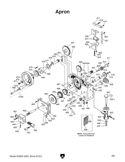
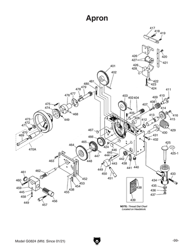
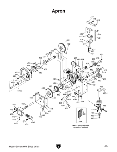
400
APRON CASTING
Price
N/A
401
GEAR 60T
Price
N/A
402
ROLL PIN 5 X 30
Price
N/A
403
GEAR 40T
Price
N/A
404
PINION 13T
Price
N/A
405
SET SCREW M6-1 X 16
Price
N/A
406
BUSHING
Price
N/A
407
CAP SCREW M6-1 X 12
Price
N/A
408
Now: PW03M
FLAT WASHER 6MM
Price
N/A
409
GEAR 18T
Price
N/A
410
IDLER SHAFT
Price
N/A
411
CAP SCREW M5-.8 X 12
Price
N/A
412
O-RING 20 X 2.4
Price
N/A
413
SHAFT
Price
N/A
414
WORM GEAR
Price
N/A
415
Now: PW03M
FLAT WASHER 6MM
Price
N/A
416
CAP SCREW M6-1 X 12
Price
N/A
417
INTERLOCK LEVER
Price
N/A
418
CAP SCREW M6-1 X 12
Price
N/A
419
SET SCREW M6-1 X 12
Price
N/A
420
Now: PB42M
HEX BOLT M5-.8 X 20
Price
N/A
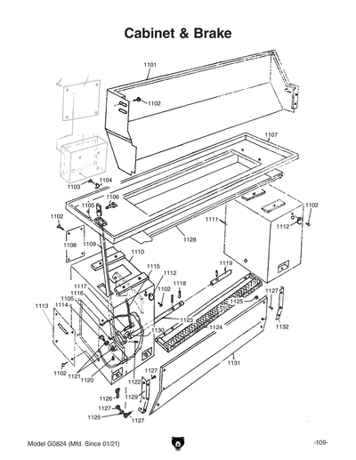
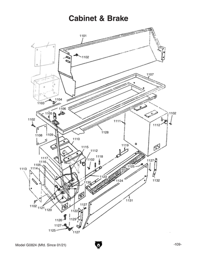
421
GIB
Price
N/A
422
Now: PB04M
HEX BOLT M6-1 X 10
Price
N/A
423
SET SCREW M6-1 X 35
Price
N/A
424
Now: PN01M
HEX NUT M6-1
Price
N/A
425
DIAL INDICATOR
Price
N/A
425-1
THREADED DIAL LABEL V2.05.11
Price
N/A
426
HALF NUT RETAINER
Price
N/A
427
HALF NUT ASSEMBLY
Price
N/A
428
DOWEL PIN 8 X 16
Price
N/A
429
WORM
Price
N/A
430
CAM SHAFT
Price
N/A
431
SET SCREW M5-.8 X 16
Price
N/A
432
Now: PN06M
HEX NUT M5-.8
Price
N/A
433
CAP SCREW M8-1.25 X 50
Price
N/A
434
THREAD DIAL BODY
Price
N/A
435
HELICAL GEAR 32T
$40.60
Enter quantity between 1 and 99
436
Now: PW01M
FLAT WASHER 8MM
Price
N/A
437
Now: PN03M
HEX NUT M8-1.25
Price
N/A
438
ANGLE SCALE RIVET
Price
N/A
439
*DISCD*THREAD DIAL CHART V2.05.11
Price
N/A
440
DRAIN PLUG 1/8 NPT
Price
N/A
441
HALF NUT INDICATOR PLATE
Price
N/A
442
OIL SIGHT GLASS
Price
N/A
443
ROLL PIN 5 X 35
Price
N/A
444
COMPRESSION SPRING
Price
N/A
445
STEEL BALL 3/16
Price
N/A
446
PLUG
Price
N/A
447
ROLL PIN 3 X 25
Price
N/A
448
ROLL PIN 5 X 25
Price
N/A
449
SET SCREW M6-1 X 6
Price
N/A
450
LEVER HUB
Price
N/A
451
LEVER HANDLE 90, M8-1.25 X 10
$13.70
Enter quantity between 1 and 99
452
SPACER
Price
N/A
453
FRONT COVER
Price
N/A
454
FEED INDICATOR PLATE
Price
N/A
455
TAPER PIN 5 X 20
Price
N/A
456
CAM SHAFT
Price
N/A
457
LEVER HANDLE 90, M8-1.25 X 33 ROUND TIP
$13.70
Enter quantity between 1 and 99
458
COMPRESSION SPRING
Price
N/A
459
BRACKET
Price
N/A
460
CAP SCREW M6-1 X 35
Price
N/A
461
PLUG
Price
N/A
462
TOOTHED SHIFT SHAFT
Price
N/A
463
CAP SCREW M6-1 X 16
Price
N/A
464
CLUTCH GEAR 63T
Price
N/A
465
CLUTCH GEAR 40T
Price
N/A
466
COMBO CLUTCH GEAR 30T
Price
N/A
467
PLUG
Price
N/A
468
BALL OILER 8MM PRESS-IN
Price
N/A
469
SHOULDER SCR M8-1.25 X 12, 10 X 66
$13.70
Enter quantity between 1 and 99
470
HANDLE 10, 22 X 75 W/SCREW
Price
N/A
470A
HANDLE 10, 22 X 75 W/SCREW
$17.90
Enter quantity between 1 and 99
471
FLAT HD SCR M6-1 X 16
Price
N/A
472
Now: PW03M
FLAT WASHER 6MM
Price
N/A
473
HANDWHEEL
Price
N/A
474
CALIBRATED RING
Price
N/A
475
CAP SCREW M5-.8 X 25
Price
N/A
476
SUPPORT HUB
Price
N/A
477
SPACER
Price
N/A
478
Now: PK34M
KEY 5 X 5 X 20
Price
N/A
479
GEARED SHAFT 14T
Price
N/A
480
CAP SCREW M8-1.25 X 30
Price
N/A
481
TAPER PIN 8 X 40
Price
N/A
482
APRON CASTING
Price
N/A
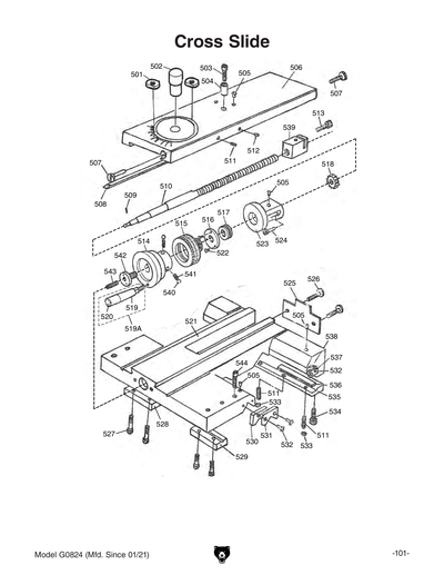
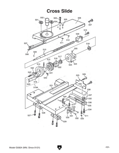
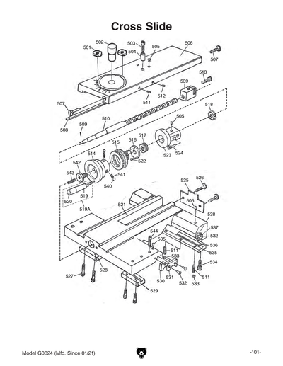
501
T-NUT
Price
N/A
502
PIVOT PIN
Price
N/A
503
CAP SCREW M6-1 X 16
Price
N/A
504
BUSHING
Price
N/A
505
BALL OILER 8MM PRESS-IN
Price
N/A
506
CROSS SLIDE
Price
N/A
507
GIB SCREW
Price
N/A
508
GIB
Price
N/A
509
ROLL PIN 3 X 16
Price
N/A
510
CROSS-SLIDE LEADSCREW
Price
N/A
511
SET SCREW M6-1 X 25
Price
N/A
512
SET SCREW M8-1.25 X 10
Price
N/A
513
CAP SCREW M6-1 X 16
Price
N/A
514
HANDWHEEL HUB
Price
N/A
515
CALIBRATED RING
Price
N/A
516
SPACER
Price
N/A
517
Now: P8102
THRUST BEARING 8102
Price
N/A
518
GEAR 19T
Price
N/A
519
HANDWHEEL HANDLE 10, 22 X 75
$9.00
Enter quantity between 1 and 99
519A
HANDLE 10, 22 X 75 W/SCREW
$29.00
Enter quantity between 1 and 99
520
SHOULDER SCR M8-1.25 X 12, 10 X 66
Price
N/A
521
SADDLE CASTING
Price
N/A
522
Now: PS09M
PHLP HD SCR M5-.8 X 10
Price
N/A
523
SUPPORT HUB
Price
N/A
524
CAP SCREW M6-1 X 25
Price
N/A
525
DUST PLATE
Price
N/A
526
CAP SCREW M8-1.25 X 12
Price
N/A
527
CAP SCREW M8-1.25 X 20
Price
N/A
528
LEFT GIB SLIDE
Price
N/A
529
GIB/CARRIAGE LOCK
Price
N/A
530
WIPER, RIGHT
Price
N/A
531
WIPER SUPPORT PLATE, RIGHT
Price
N/A
532
Now: PS02M
PHLP HD SCR M4-.7 X 12
Price
N/A
533
Now: PN01M
HEX NUT M6-1
Price
N/A
534
CAP SCREW M8-1.25 X 25
Price
N/A
535
GIB SUPPORT
Price
N/A
536
GIB STRIP
Price
N/A
537
WIPER SUPPORT PLATE
Price
N/A
538
WIPER
Price
N/A
539
CROSS-SLIDE LEADSCREW NUT
Price
N/A
540
STEEL BALL 6MM
Price
N/A
541
COMPRESSION SPRING
Price
N/A
542
BACKLASH ADJUSTMENT DISC
$2.60
Enter quantity between 1 and 99
543
SET SCREW M6-1 X 25
Price
N/A
544
CAP SCREW M8-1.25 X 55
Price
N/A
601
BALL OILER 6MM PRESS-IN
Price
N/A
602
SET SCREW M6-1 X 25
Price
N/A
603
INNER HUB
Price
N/A
604
STEEL BALL 6MM
Price
N/A
605
COMPRESSION SPRING
Price
N/A
606
COMPOUND SLIDE
Price
N/A
607
SET SCREW M6-1 X 6
Price
N/A
608
Now: PK97M
KEY 4 X 4 X 14
Price
N/A
609
COMPOUND LEADSCREW
Price
N/A
610
BEARING HOUSING
Price
N/A
611
Now: P8103
THRUST BEARING 8103
Price
N/A
612
GRADUATED DIAL 0.001"/0.2"
$35.95
Enter quantity between 1 and 99
613
HANDWHEEL HANDLE 6, 12 X 25
$13.70
Enter quantity between 1 and 99
613A
HANDLE 6, 12 X 25 W/SCREW
$29.00
Enter quantity between 1 and 99
614
SHOULDER SCR M5-.8 X 8, 6 X 27
$9.00
Enter quantity between 1 and 99
615
HANDWHEEL TYPE-10 61D B-K
$49.10
Enter quantity between 1 and 99
616
GIB SCREW
Price
N/A
617
SWIVEL SLIDE
Price
N/A
618
CAP SCREW M8-1.25 X 16
Price
N/A
619
GIB
Price
N/A
620
SET SCREW M6-1 X 8
Price
N/A
621
HANDWHEEL HANDLE 6, 12 X 40
$13.70
Enter quantity between 1 and 99
621A
HANDLE 6, 12 X 40 W/SCREW
$29.00
Enter quantity between 1 and 99
622
SHOULDER SCR M5-.8 X 8, 6 X 42
$9.00
Enter quantity between 1 and 99
623
COMPOUND LEADSCREW NUT
Price
N/A
624
CAP SCREW M6-1 X 20
Price
N/A
625
TOOL POST BOLT M16-1.5 X 35
Price
N/A
626
QUICK CHANGE TOOL POST BLOCK
Price
N/A
627
TOOL POST BUSHING
Price
N/A
628
TOOL POST HANDLE HUB
Price
N/A
629
FLANGE NUT M16-1.5
Price
N/A
630
TOOL POST HANDLE M12-1.75 X 8
Price
N/A
631
Now: PN14M
HEX NUT M10-1
Price
N/A
632
WAVY WASHER 10MM
Price
N/A
633
KNURLED THUMB NUT M10-1
Price
N/A
634
SET SCREW M10-1 X 45
Price
N/A
635
SET SCREW M10-1.5 X 14 DOG-PT
Price
N/A
701
PINNED KNOB
Price
N/A
702
ROLL PIN 3 X 18
Price
N/A
703
JACK SCREW
Price
N/A
704
FINGER SLIDE
Price
N/A
705
SET SCREW M6-1 X 6
Price
N/A
706
Now: PN01M
HEX NUT M6-1
Price
N/A
707
SLOTTED SCREW M6-1 X 30
Price
N/A
708
SET SCREW M6-1 X 18
Price
N/A
709
LOWER STEADY REST CASTING
Price
N/A
710
T-BOLT M12-1.75 X 65
Price
N/A
711
CLAMP BLOCK
Price
N/A
712
Now: PW06M
FLAT WASHER 12MM
Price
N/A
713
Now: PN09M
HEX NUT M12-1.75
Price
N/A
714
DOWEL PIN 5 X 24
Price
N/A
715
PIVOT STUD
Price
N/A
716
KNURLED THUMB KNOB M10-1.5
Price
N/A
717
UPPER STEADY REST CASTING
Price
N/A
718
DOWEL PIN 5 X 16
Price
N/A
719
Now: G3848
Bearing - 16mm x 5mm
Price
N/A
720
COLLAR
Price
N/A
721
FINGER SLIDE
Price
N/A
722
FOLLOW REST CASTING
Price
N/A
723
CAP SCREW M8-1.25 X 45
Price
N/A
724
STEADY REST ASSEMBLY
$205.25
Enter quantity between 1 and 99
725
FOLLOW REST ASSEMBLY
$121.90
Enter quantity between 1 and 99
800
TAILSTOCK ASSEMBLY
$824.45
Enter quantity between 1 and 99
801
SHOULDER SCR M8-1.25 X 12, 10 X 66
$9.65
Enter quantity between 1 and 99
802
HOLLOW CAP SCREW M8-1.25 X 20, M5-.8
$2.25
Enter quantity between 1 and 99
803
SET SCREW M5-.8 X 20
Price
N/A
804
FENDER WASHER 8MM
Price
N/A
805
HANDWHEEL
Price
N/A
806
INDEX RING
Price
N/A
807
Now: P8102
THRUST BEARING 8102
Price
N/A
808
CAP SCREW M5-.8 X 20
Price
N/A
809
FLANGE HUB
Price
N/A
810
Now: P8102
THRUST BEARING 8102
Price
N/A
811
LEVER
Price
N/A
812
FLAT HD SCR M4-.7 X 6
Price
N/A
813
CALIBRATED PLATE
Price
N/A
814
BALL OILER 6MM PRESS-IN
Price
N/A
815
FLAT SPRING
Price
N/A
816
HANDLE 10, 22 X 75
$13.70
Enter quantity between 1 and 99
816A
HANDLE 10, 22 X 75 W/SCREW
$29.00
Enter quantity between 1 and 99
817
KEY 5 X 5 X 20 RE
$2.25
Enter quantity between 1 and 99
818
TAILSTOCK LEADSCREW
Price
N/A
819
TAILSTOCK CASTING
Price
N/A
820
TAILSTOCK LOCK LEVER
Price
N/A
821
STOP PIN
Price
N/A
822
LEVER HUB
Price
N/A
823
ROLL PIN 5 X 30
Price
N/A
824
QUILL LOCK LEVER
Price
N/A
825
STOP PIN M8-1.25 X 37
$2.25
Enter quantity between 1 and 99
826
HUB LOCK
Price
N/A
827
QUILL MT#3
Price
N/A
828
END BUSHING
$33.90
Enter quantity between 1 and 99
829
CAP SCREW M5-.8 X 20
Price
N/A
830
SET SCREW M6-1 X 6
Price
N/A
831
GUIDE
Price
N/A
832
BLOCK
Price
N/A
833
*DISCD*V-WIPER
Item is no longer available
Price
N/A
834
*DISCD*WIPER RETAINING PLATE
Item is no longer available
Price
N/A
835
Now: PS02M
PHLP HD SCR M4-.7 X 12
Price
N/A
836
CAP SCREW M4-.7 X 12
Price
N/A
837
*DISCD*WIPER RETAINING PLATE
Item is no longer available
Price
N/A
838
*DISCD*FLAT WIPER
Item is no longer available
Price
N/A
839
CAP SCREW M6-1 X 35
Price
N/A
840
CAP SCREW M6-1 X 25
Price
N/A
841
DRIVE HUB
Price
N/A
842
SCALE PLATE
Price
N/A
843
RIVET 2 X 5MM NAMEPLATE, STEEL
Price
N/A
844
SUPPORT COLLAR
Price
N/A
845
TAILSTOCK BASE
Price
N/A
845-1
TAILSTOCK OFFSET PINS (2PC SET)
$31.25
Enter quantity between 1 and 99
846
LOCK BLOCK
Price
N/A
847
SET SCREW M8-1.25 X 40
Price
N/A
848
SCALE PLATE
Price
N/A
849
RIVET 2 X 5MM NAMEPLATE, STEEL
Price
N/A
850
Now: PW08M
FLAT WASHER 16MM
Price
N/A
851
COMPRESSION SPRING
Price
N/A
852
BLOCK
Price
N/A
853
Now: PW08M
FLAT WASHER 16MM
Price
N/A
854
HEX BOLT M16-2 X 120
Price
N/A
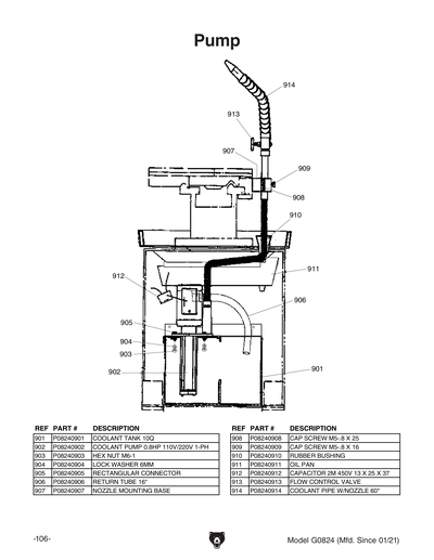
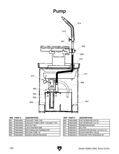
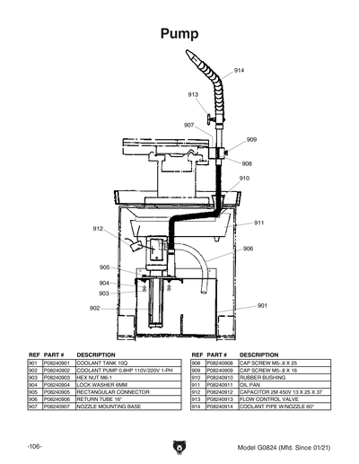
901
COOLANT TANK 10Q
$113.70
Enter quantity between 1 and 99
902
COOLANT PUMP 0.8HP 110V/220V 1PH
Price
N/A
903
Now: PN01M
HEX NUT M6-1
Price
N/A
904
LOCK WASHER 6MM
Price
N/A
905
RECTANGULAR CONNECTOR
$31.35
Enter quantity between 1 and 99
906
RETURN TUBE 16"
$22.35
Enter quantity between 1 and 99
907
NOZZLE MOUNTING BASE
$33.45
Enter quantity between 1 and 99
908
CAP SCREW M5-.8 X 25
Price
N/A
909
CAP SCREW M5-.8 X 16
Price
N/A
910
RUBBER BUSHING
$6.15
Enter quantity between 1 and 99
911
OIL PAN
$289.70
Enter quantity between 1 and 99
912
CAPACITOR 2M 450V 13 X 25 X 37
$38.15
Enter quantity between 1 and 99
913
FLOW CONTROL VALVE
$29.15
Enter quantity between 1 and 99
914
COOLANT PIPE
$46.40
Enter quantity between 1 and 99
914-1
COOLANT HOSE
Price
N/A
914-2
COOLANT PIPE
$15.85
Enter quantity between 1 and 99
1001
V-BELT NISSAN 11925 P2700 GATES A004
$42.40
Enter quantity between 1 and 99
1002
SET SCREW M6-1 X 12
Price
N/A
1003
Now: PK41M
KEY 8 X 8 X 40
Price
N/A
1004
LOCK WASHER 8MM
Price
N/A
1005
Now: PB07M
HEX BOLT M8-1.25 X 25
Price
N/A
1006
***USE P08241006V2***
$994.65
Enter quantity between 1 and 99
1006-1
FAN COVER
$57.95
Enter quantity between 1 and 99
1006-2
MOTOR FAN
$52.50
Enter quantity between 1 and 99
1006-3
S CAPACITOR 150M 250V 1-21/32 X 3-1/8
Price
N/A
1006-4
R CAPACITOR 20M 450V 1-5/8 X 2-3/4
Price
N/A
1006-5
CAPACITOR BOX COVER
$35.95
Enter quantity between 1 and 99
1006-6
CONTACT PLATE
$29.00
Enter quantity between 1 and 99
1006-7
CENTRIFUGAL SWITCH
$37.95
Enter quantity between 1 and 99
1006-8
BALL BEARING 6205ZZ
Price
N/A
1006-9
BALL BEARING 6205ZZ
Price
N/A
1006V2
MOTOR 2.5HP 220V 1-PH V2.02.25
$994.65
Enter quantity between 1 and 99
1006V2-1
FAN COVER
Price
N/A
1006V2-2
MOTOR FAN
Price
N/A
1006V2-3
S CAPACITOR 150M 250V 1-21/32 X 3-1/8
Price
N/A
1006V2-4
R CAPACITOR 20M 450V 1-5/8 X 2-3/4
Price
N/A
1006V2-5
CAPACITOR BOX COVER
Price
N/A
1006V2-6
CONTACT PLATE
Price
N/A
1006V2-7
CENTRIFUGAL SWITCH
Price
N/A
1006V2-8
BALL BEARING 6205ZZ
Price
N/A
1006V2-9
BALL BEARING 6205ZZ
Price
N/A
1007
KNURLED KNOB M8-1.25
Price
N/A
1008
MOTOR PULLEY
Price
N/A
1009
MOTOR MOUNT
Price
N/A
1010
Now: PB01M
HEX BOLT M10-1.5 X 30
Price
N/A
1011
ROLL PIN 6 X 25
Price
N/A
1012
CAP SCREW M6-1 X 14
Price
N/A
1013
CAP SCREW M6-1 X 25
Price
N/A
1014
GAP RACK
Price
N/A
1015
GAP INSERT
Price
N/A
1016
CAP SCREW M10-1.5 X 40
Price
N/A
1017
TAPER PIN 8 X 60
Price
N/A
1018
STANDOFF HEX M8-1.25 X 11 X 20, 100
$2.25
Enter quantity between 1 and 99
1019
END GEAR COVER
$356.50
Enter quantity between 1 and 99
1020
LATHE BED V1
Price
N/A
1020V2
LATHE BED V2.01.21
Price
N/A
1021
KNURLED KNOB M10-1.5
Price
N/A
1022
RACK
$93.65
Enter quantity between 1 and 99
1023
Now: PN03M
HEX NUT M8-1.25
Price
N/A
1024
STANDOFF HEX M8-1.25 X 25 X 30, 140
$6.70
Enter quantity between 1 and 99
1025
LONGITUDINAL LEADSCREW
Price
N/A
1026
SLEEVE
Price
N/A
1027
Now: P8102
THRUST BEARING 8102
Price
N/A
1028
Now: P8104
THRUST BEARING 8104
Price
N/A
1029
HOUSING
Price
N/A
1030
BEARING COVER
Price
N/A
1031
SHOULDER FLANGE SCREW
Price
N/A
1032
SET SCREW M6-1 X 20
Price
N/A
1033
END PLUG
Price
N/A
1034
END PLUG
Price
N/A
1035
BALL OILER 6MM PRESS-IN
Price
N/A
1036
CAP SCREW M8-1.25 X 60
Price
N/A
1037
TAPER PIN 5 X 60
Price
N/A
1038
LOCK COLLAR
Price
N/A
1039
SET SCREW M6-1 X 8
Price
N/A
1040
LOCKING BEARING COVER
Price
N/A
1041
SET SCREW M8-1.25 X 10
Price
N/A
1042
FEED ROD
Price
N/A
1043
RETAINER COLLAR W/ LUG PIN
Price
N/A
1044
SET SCREW M8-1.25 X 16
Price
N/A
1045
RETAINER COLLAR W/ LUG PIN
Price
N/A
1046
SPINDLE ON/OFF LEVER
Price
N/A
1047
PLASTIC BALL KNOB M12-1.75
Price
N/A
1048
SPINDLE ON/OFF SWITCH
Price
N/A
1049
HOUSING
Price
N/A
1050
COMPRESSION SPRING
Price
N/A
1051
FENDER WASHER 24MM
Price
N/A
1052
KEY 4 X 4 X 40
$2.25
Enter quantity between 1 and 99
1053
FLANGED SLEEVE
Price
N/A
1054
CONTROL ROD
Price
N/A
1055
ROLL PIN 5 X 40
Price
N/A
1056
FLAT HD SCR M4-.7 X 6
Price
N/A
1057
CLUTCH ASSEMBLY
Price
N/A
1058
COMPRESSION SPRING
Price
N/A
1059
STEEL BALL 6MM
Price
N/A
1060
SHEAR PIN
Price
N/A
1061
*DISCD*SHUT-OFF SUPPORT
Price
N/A
1062
Now: PS05M
PHLP HD SCR M5-.8 X 8
Price
N/A
1063
PIVOT SHAFT SOCKET
Price
N/A
1064
SET SCREW M5-.8 X 6
Price
N/A
1065
SPIDER SAFETY GUARD W/ PIVOT SHAFT
Price
N/A
1066
KNURLED KNOB M8-1.25
Price
N/A
1067
SPIDER SAFETY GUARD W/ PIVOT SHAFT
$56.85
Enter quantity between 1 and 99
1068
THREADED RECEIVER M16-2
Price
N/A
1069
Now: PN13M
HEX NUT M16-2
Price
N/A
1070
Now: PN03M
HEX NUT M8-1.25
Price
N/A
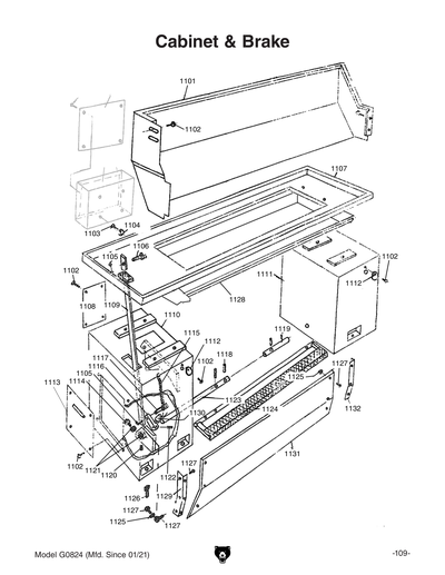
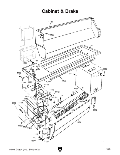
1101
SPLASH GUARD
Price
N/A
1102
Now: PS68M
PHLP HD SCR M6-1 X 10
Price
N/A
1103
CAP SCREW M6-1 X 20
Price
N/A
1104
Now: PW03M
FLAT WASHER 6MM
Price
N/A
1105
COTTER PIN 2 X 12
Price
N/A
1106
CLEVIS PIN
Price
N/A
1107
BASE PAN
Price
N/A
1108
REAR ACCESS PLATE
Price
N/A
1109
BRAKE PULL ROD
Price
N/A
1110
LEFT BASE
Price
N/A
1111
RIGHT BASE
Price
N/A
1112
ROUND COVER
Price
N/A
1113
LEFT ACCESS PLATE
Price
N/A
1114
Now: PB15M
HEX BOLT M8-1.25 X 40
Price
N/A
1115
EXTENSION SPRING
Price
N/A
1116
PEDAL ARM
Price
N/A
1117
CLEVIS PIN
Price
N/A
1118
ROLL PIN 3 X 25
Price
N/A
1119
SHAFT
Price
N/A
1120
SET SCREW M8-1.25 X 6
Price
N/A
1121
Now: PN03M
HEX NUT M8-1.25
Price
N/A
1122
ROLL PIN 5 X 40
Price
N/A
1123
PEDAL SHAFT
Price
N/A
1124
BRAKE PEDAL
Price
N/A
1125
Now: PN01M
HEX NUT M6-1
Price
N/A
1126
CAP SCREW M12-1.75 X 50
Price
N/A
1127
CAP SCREW M6-1 X 10
Price
N/A
1128
CHIP DRAWER
$295.90
Enter quantity between 1 and 99
1128-1
CHIP DRAWER HANDLE
$47.15
Enter quantity between 1 and 99
1128-2
CAP SCREW M6-1 X 15
Price
N/A
1128-3
Now: PN01M
HEX NUT M6-1
Price
N/A
1129
STAND PLATE BRACKET (LEFT)
$46.40
Enter quantity between 1 and 99
1130
LIMIT SWITCH
Price
N/A
1131
STAND PLATE
$156.00
Enter quantity between 1 and 99
1132
STAND PLATE BRACKET (RIGHT)
$46.40
Enter quantity between 1 and 99
1201
TRANSFORMER WUXI JBK5-120VATH
$245.15
Enter quantity between 1 and 99
1202
CIRCUIT BREAKER TIAN DZ451-63 3A
$13.70
Enter quantity between 1 and 99
1203
CIRCUIT BREAKER TIAN DZ451-63 5A
$13.70
Enter quantity between 1 and 99
1204
OL RELAY TIAN JRS4-09/40D 9-13A
$104.65
Enter quantity between 1 and 99
1205
OL RELAY TIAN JRS4-09/40D 0.4-0.63A
$104.65
Enter quantity between 1 and 99
1206
CONTACTOR TIAN JZC3-40D 110V
Price
N/A
1207
CONTROL PANEL PLATE
$11.90
Enter quantity between 1 and 99
1208
COPPER GROUND BLOCK
Price
N/A
1209
TERMINAL BAR 12P
Price
N/A
1210
TERMINAL BAR 28P
$34.90
Enter quantity between 1 and 99
1211
ELECTRICAL BOX ASSEMBLY
$1,470.60
Enter quantity between 1 and 99
1212
STRAIN RELIEF TYPE-3 M20-1.5 ST PLASTIC
$20.15
Enter quantity between 1 and 99
1213
INDICATOR LIGHT X01013 GREEN
$37.95
Enter quantity between 1 and 99
1214
BUTTON SWITCH HUILONG LA103 GREEN 22MM
$11.90
Enter quantity between 1 and 99
1215
ROTARY SWITCH HUILONG LA103 ON/OFF 22MM
$42.45
Enter quantity between 1 and 99
1216
E-STOP BUTTON HUILONG LA103 22MM
$30.35
Enter quantity between 1 and 99
1217
JOG BUTTON HUILONG LA103 10A 22MM
$29.15
Enter quantity between 1 and 99
1218
LED WORK LAMP ASSY.
Price
N/A
1219
LAMP LENS
Price
N/A
1220
LED BULB 24V MR16 (1W X 3) V3.05.15
Price
N/A
1221
CONTACTOR TIANSHUI GSC1-1801 110V
Price
N/A
1222
STRAIN RELIEF TYPE-3 M16-1.5 ST PLASTIC
$17.65
Enter quantity between 1 and 99
1223
STRAIN RELIEF TYPE-7 1/4 ST METAL
$22.35
Enter quantity between 1 and 99
1224
Now: PS19M
PHLP HD SCR M5-.8 X 6
Price
N/A
1225
ELECTRICAL BOX COVER
$31.35
Enter quantity between 1 and 99
1300A
COMPLETE DRO ASSEMBLY
$1,693.40
Enter quantity between 1 and 99
1301
COMPLETE DRO ASSEMBLY
Price
N/A
1302
Now: PN03M
HEX NUT M8-1.25
Price
N/A
1303
LOCK WASHER 8MM
Price
N/A
1304
Now: PW01M
FLAT WASHER 8MM
Price
N/A
1305
COMPLETE DRO ASSEMBLY
Price
N/A
1306
COMPLETE DRO ASSEMBLY
Price
N/A
1307
LOCK NUT M10-1.5
Price
N/A
1308
Now: PW04M
FLAT WASHER 10MM
Price
N/A
1309
COMPLETE DRO ASSEMBLY
Price
N/A
1310
LOCK WASHER 10MM
Price
N/A
1311
Now: PN02M
HEX NUT M10-1.5
Price
N/A
1312
SET SCREW M6-1 X 20
Price
N/A
1313
CAP SCREW M8-1.25 X 22
$1.90
Enter quantity between 1 and 99
1314
Now: PB28M
HEX BOLT M8-1.25 X 60
Price
N/A
1315
Now: PW01M
FLAT WASHER 8MM
Price
N/A
1317
Now: PS07M
PHLP HD SCR M4-.7 X 8
Price
N/A
1318
Now: PW05M
FLAT WASHER 4MM
Price
N/A
1319
COMPLETE DRO ASSEMBLY
Price
N/A
1320
COMPLETE DRO ASSEMBLY
Price
N/A
1321
CAP SCREW M5-.8 X 10
Price
N/A
1322
COMPLETE DRO ASSEMBLY
Price
N/A
1323
CAP SCREW M4-.7 X 14
Price
N/A
1324
COMPLETE DRO ASSEMBLY
Price
N/A
1325
CAP SCREW M4-.7 X 35
Price
N/A
1326
SPACER 4.8 X 6 X 18OD
$1.90
Enter quantity between 1 and 99
1327
COMPLETE DRO ASSEMBLY
Price
N/A
1328
Now: PW02M
FLAT WASHER 5MM
Price
N/A
1329
LOCK WASHER 5MM
Price
N/A
1330
CAP SCREW M5-.8 X 25
Price
N/A
1331
COMPLETE DRO ASSEMBLY
Price
N/A
1332
SPACER
$1.90
Enter quantity between 1 and 99
1333
CAP SCREW M6-1 X 70
Price
N/A
1334
Now: PN01M
HEX NUT M6-1
Price
N/A
1335
CAP SCREW M6-1 X 20
Price
N/A
1336
LAMP MOUNTING PLATE
$31.35
Enter quantity between 1 and 99
1337
COMPLETE DRO ASSEMBLY
Price
N/A
1338
COMPLETE DRO ASSEMBLY
Price
N/A
1339
Now: PW03M
FLAT WASHER 6MM
Price
N/A
1340
LOCK WASHER 6MM
Price
N/A
1341
CAP SCREW M6-1 X 40
Price
N/A
1342
COMPLETE DRO ASSEMBLY
Price
N/A
1343
TAP SCREW M3 X 6
Price
N/A
1344
COMPLETE DRO ASSEMBLY
Price
N/A
1345
COMPLETE DRO ASSEMBLY
Price
N/A
1346
COMPLETE DRO ASSEMBLY
Price
N/A
1347
Now: PW02M
FLAT WASHER 5MM
Price
N/A
1348
LOCK WASHER 5MM
Price
N/A
1349
CAP SCREW M5-.8 X 30
Price
N/A
1350
COMPLETE DRO ASSEMBLY
Price
N/A
1351
COMPLETE DRO ASSEMBLY
Price
N/A
1352
FENDER WASHER 6MM
Price
N/A
1353
LOCK WASHER 6MM
Price
N/A
1354
CAP SCREW M6-1 X 25
Price
N/A
1355
FENDER WASHER 4MM
Price
N/A
1356
LOCK WASHER 4MM
Price
N/A
1357
CAP SCREW M4-.7 X 13
Price
N/A
1358
COMPLETE DRO ASSEMBLY
Price
N/A
1359
SET SCREW M5-.8 X 16
Price
N/A
1360
Now: PW02M
FLAT WASHER 5MM
Price
N/A
1361
LOCK WASHER 5MM
Price
N/A
1362
CAP SCREW M5-.8 X 25
Price
N/A
1363
SPACER 5.2 X 6 X 18OD
$1.90
Enter quantity between 1 and 99
1364
Now: PW02M
FLAT WASHER 5MM
Price
N/A
1365
CAP SCREW M5-.8 X 16
Price
N/A
1401
TOOL BOX
$42.00
Enter quantity between 1 and 99
1402
OPEN-END WRENCH 9/11MM
$11.20
Enter quantity between 1 and 99
1403
COMBO WRENCH 12 X 14MM
$11.20
Enter quantity between 1 and 99
1404
COMBO WRENCH 13 X 16MM
$11.20
Enter quantity between 1 and 99
1405
COMBO WRENCH 17 X 19MM
$13.70
Enter quantity between 1 and 99
1406
COMBO WRENCH 24 X 27MM
$15.85
Enter quantity between 1 and 99
1407
HEX WRENCH 6MM
Price
N/A
1408
HEX WRENCH 8MM
Price
N/A
1409
Now: PSDP2
SCREWDRIVER PHILLIPS #2
Price
N/A
1410
Now: PSDF2
SCREWDRIVER FLAT #2
Price
N/A
1411
BOTTLE FOR OIL
Price
N/A
1412
3-JAW CHUCK 7" D1-5 ASSEMBLY
$668.45
Enter quantity between 1 and 99
1412-1
CHUCK 3-JAW WRENCH
$37.95
Enter quantity between 1 and 99
1412-2
3-JAW CHUCK TOP JAW SET
$236.50
Enter quantity between 1 and 99
1412-3
3-JAW CHUCK BOTTOM JAW SET
$236.20
Enter quantity between 1 and 99
1412-4
3-JAW CHUCK 7" D1-5
$601.65
Enter quantity between 1 and 99
1413
4-JAW INDEPENDENT CHUCK ASSEMBLY
Price
N/A
1413-1
4-JAW CHUCK REVERSIBLE JAW 4-PC SET
Price
N/A
1413-2
4-JAW CHUCK WRENCH
$37.95
Enter quantity between 1 and 99
1414
FACEPLATE 11" D1-5
$146.35
Enter quantity between 1 and 99
1415
***USE P07091522***
Item is no longer available
Price
N/A
1416
SPINDLE SLEEVE MT#6 X MT#3
$60.40
Enter quantity between 1 and 99
1417
DEAD CENTER MT#3 HSS
$18.70
Enter quantity between 1 and 99
1418
DEAD CENTER MT#3 CARBIDE-TIPPED
$23.30
Enter quantity between 1 and 99
1419
DRILL CHUCK ARBOR MT#3 X B16
$18.70
Enter quantity between 1 and 99
1420
DRILL CHUCK B16 1.5-13MM
$32.50
Enter quantity between 1 and 99
1421
DRILL CHUCK KEY
$4.70
Enter quantity between 1 and 99
1422
TAILSTOCK LEVER 1/2 DRIVE
$31.35
Enter quantity between 1 and 99
1423
TOOL HOLDER WRENCH
Price
N/A
1501
MACHINE ID LABEL V1
$16.40
Enter quantity between 1 and 99
1501V2
MACHINE ID LABEL V2.02.21
$18.45
Enter quantity between 1 and 99
1502
MOVE LEVERS NOTICE LABEL
$5.95
Enter quantity between 1 and 99
1503
FLUID CAPACITY LABEL
$16.40
Enter quantity between 1 and 99
1504
IMPACT INJURY 1.5W X 2.5H
Price
N/A
1505
SPINDLE SPEED HAZARD 1.5W X 2.5H
Price
N/A
1506
GRIZZLY.COM LABEL 13",GRAY
Price
N/A
1507
MODEL NUMBER LABEL
$16.40
Enter quantity between 1 and 99
1508
Now: G8589
Nameplate - Large
Price
N/A
1509
STOP OIL FILL TAG 4W X 4H
Price
N/A
1510
TRAINED PERSONNEL NOTICE 3W X 2H
Price
N/A
1511
FACE SHIELD & SAFETY GLASSES 1.5W X 2.5H
Price
N/A
1512
ENTANGLEMENT HAZARD 2.8W X 1.5H
Price
N/A
1513
DISCONNECT 110V 2.8W X 1.5H
Price
N/A
1514
READ MANUAL 1.5W X 2.5H
Price
N/A
1515
ELECTRICITY 0.7W X 0.6H
Price
N/A
1516
PINCH/ENTANGLEMENT LABEL O/B SPINDLE
$15.35
Enter quantity between 1 and 99
1517
PINCH/ENTANGLEMENT 2.8W X 1.5H
Price
N/A
1518
HAZARD AREA CAUTION LABEL
$21.60
Enter quantity between 1 and 99
1519
BIOLOGICAL/POISON HAZARD 2.8W X 1.5H
Price
N/A
1520
N/S GRIZZLY GREEN G1023S
Price
N/A
1521
GREY PUTTY REF G0504
Price
N/A
MAN
G0824 MANUAL MFD-12-16-12.20 V1.03.17
$19.50
Enter quantity between 1 and 99
MANV2
G0824 MANUAL MFD-01-21+ V2.02.21
$21.75
Enter quantity between 1 and 99