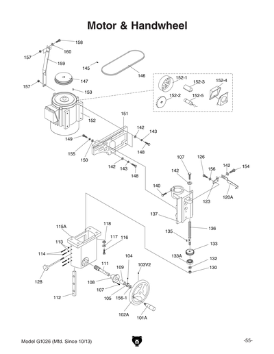
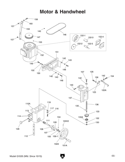
Parts for G1026 3 HP Shaper

Parts Diagrams for G1026 - 3 HP Shaper

IMPORTANT

Parts may have multiple versions that have changed over time. This will be indicated by V1, V2, V3, etc. in the parts description, followed by the version month and year that it was first used. Example: V2.01.17 indicates version 2 of a part went into use in January 2017. Please reference the manufacture date on the ID Label for your machine to ensure you are selecting the correct part when multiple versions are indicated.

If you cannot locate your part below, please contact our tech support department at techsupport@grizzly.com or 570-546-9663.

Please note: All parts ship out of our Springfield, Missouri facility.

Parts List for Parts for G1026 3 HP Shaper

1
STAND BODY
$346.00
Enter quantity between 1 and 99
2
EXTENSION WING
$297.05
Enter quantity between 1 and 99
3
Now: PB24
HEX BOLT 3/8-16 X 1-1/4
Price
N/A
3A
***SEE EXT. DESCRIPTION***
Price
N/A
4
Now: PLW04
LOCK WASHER 3/8
Price
N/A
5
Now: PS07
PHLP HD SCR 1/4-20 X 3/8
Price
N/A
6
*DISCD*COVER V1.12.95
Item is no longer available
Price
N/A
6A
STAND SIDE COVER V2.01.06
$58.00
Enter quantity between 1 and 99
7
Now: PB21
HEX BOLT 3/8-16 X 3/4
Price
N/A
8
Now: PW02
FLAT WASHER 3/8
Price
N/A
9
TABLE INSERT 1-1/2" ID
$15.20
Enter quantity between 1 and 99
10
TABLE INSERT 2-15/16" ID
$18.60
Enter quantity between 1 and 99
11
TABLE INSERT RING 4-1/4" ID
$54.30
Enter quantity between 1 and 99
12
STARTING PIN
Price
N/A
13
Now: PFH02
FLAT HD SCR 10-24 X 1
Price
N/A
14
BARREL SCREW 7/16-14 X 1/2
Price
N/A
15
TABLE
$728.15
Enter quantity between 1 and 99
16
Now: PFH23
FLAT HD SCR 5/16-18 X 1-1/2
Price
N/A
17
FENCE BOARD
$6.60
Enter quantity between 1 and 99
18
FENCE MOUNT (RH) FOR #27A V2.12.95
Price
N/A
18A
FENCE MOUNT (RH) FOR #27A V2.12.95
$98.20
Enter quantity between 1 and 99
18B
*DISCD*FENCE MNT RIGHT-OLD
Item is no longer available
Price
N/A
19
Now: PB18
HEX BOLT 3/8-16 X 1
Price
N/A
20
Now: PW02
FLAT WASHER 3/8
Price
N/A
21
Now: PWF01
FENDER WASHER 5/16
Price
N/A
22
Now: PN02
HEX NUT 5/16-18
Price
N/A
23
Now: PSS02
SET SCREW 5/16-18 X 3/8
Price
N/A
24
CAP SCREW 5/16-18 X 3/4
Price
N/A
25
*DISCD*HAND KNOB 3/8"
Item is no longer available
Price
N/A
25A
KNURLED KNOB 8MM D32
$6.60
Enter quantity between 1 and 99
26
Now: PSS05
SET SCREW 5/16-18 X 1/4
Price
N/A
27
FENCE ADJ SCREW 1/2-13 X 4-1/4 V2.12.95
Price
N/A
27A
FENCE ADJ SCREW 1/2-13 X 4-1/4 V2.12.95
$4.60
Enter quantity between 1 and 99
27B
FENCE ADJ SCREW 1/2-13 X 4-1/4 V2.12.95
Price
N/A
28
ADJUST SCREW BRACKET
$16.35
Enter quantity between 1 and 99
29
***SEE EXT. DESCRIPTION***
Item is no longer available
Price
N/A
29A
MAIN FENCE HOUSING V2.02.06
$139.00
Enter quantity between 1 and 99
30
CAP SCREW 3/8-16 X 1
Price
N/A
31
FENCE MOUNT (LH) FOR #27A V2.12.95
Price
N/A
31A
FENCE MOUNT (LH) FOR #27A V2.12.95
$97.85
Enter quantity between 1 and 99
31B
FENCE MOUNT (LH) FOR #27A V2.12.95
Price
N/A
32
MAGNETIC SWITCH MOUNT BRACKET
$10.00
Enter quantity between 1 and 99
33
MAGNETIC SWITCH 3HP 1PH
Price
N/A
33-1
CONTACTOR SDE MA-15 220V
$42.30
Enter quantity between 1 and 99
33-2
OL RELAY SDE RA-30 18-26A
Price
N/A
33-2V2
OL RELAY SDE RA-20 12-18A V2.11.12
$44.00
Enter quantity between 1 and 99
34
*DISCD*SWITCH COVER V1
Item is no longer available
Price
N/A
34-1
*DISCD*SWITCH COVER W/BOTTOM
Item is no longer available
Price
N/A
34A
*DISCD*REPLACE MAG SWITCH COVER V2.07.03
Item is no longer available
Price
N/A
35
FWD/REV SWITCH V3.09.10
Price
N/A
35V2
FWD/REV SWITCH V2.04.10
$77.20
Enter quantity between 1 and 99
36
SWITCH MOUNT BRACKET
Price
N/A
37
SWITCH BOX
Price
N/A
38
STRAIN RELIEF TYPE-3 M16
Price
N/A
39
*DISCD*U SWITCH BOX COVER 4" V1.10.95
Price
N/A
40
TAP SCREW #6 X 1/2
Price
N/A
41
SPINDLE HEIGHT SCALE
$3.05
Enter quantity between 1 and 99
42
GROMMET V1
$1.60
Enter quantity between 1 and 99
42V2
STEEL PLATE
$5.15
Enter quantity between 1 and 99
43
MOTOR CORD V1
$12.75
Enter quantity between 1 and 99
43V2
MOTOR CORD 14G 4C 30" V2.04.10
$9.40
Enter quantity between 1 and 99
44
POWER CORD 12G X 3W 86"L
Price
N/A
44A
POWER CORD SHORT V1
$17.85
Enter quantity between 1 and 99
44AV2
SWITCH CORD 14AWG 3C 27" V2.04.10
$18.75
Enter quantity between 1 and 99
44V2
POWER CORD 14G 3C 76" 6-15 V2.04.10
$24.50
Enter quantity between 1 and 99
45
WHITE SWITCH COVER SCREW V1.12.95
Price
N/A
46
***SEE EXT. DESCRIPTION***
Item is no longer available
Price
N/A
46V2
ADJUSTABLE HANDLE 5/16-18 V2.02.06
$8.75
Enter quantity between 1 and 99
47
Now: G8588
Nameplate - Small
Price
N/A
48
ID/WARNING LABEL V2.04.06
$16.40
Enter quantity between 1 and 99
48A
ID/WARNING LABEL V1.06.01
$23.10
Enter quantity between 1 and 99
49
Now: PB16
HEX BOLT 3/8-16 X 1-1/2
Price
N/A
50
ELECTRICITY 1.4W X 1.2H
Price
N/A
51
SAFETY GLASSES 2W X 3.3H V2.04.08
Price
N/A
52
READ MANUAL LABEL
$2.40
Enter quantity between 1 and 99
53
HAND/CUTTER LABEL
$4.25
Enter quantity between 1 and 99
54
UNPLUG MACHINE LABEL
$4.25
Enter quantity between 1 and 99
55
STRAIN RELIEF TYPE-3 M16
$7.55
Enter quantity between 1 and 99
56
STRAIN RELIEF M16 TYPE-1 SNAP-IN
$4.05
Enter quantity between 1 and 99
57
REAR STAND PANEL
$54.35
Enter quantity between 1 and 99
58
Now: PFS03
FLANGE SCREW 10-24 X 3/8
Price
N/A
59
Now: PS01
PHLP HD SCR 10-24 X 1/2
Price
N/A
60
Now: PS06
PHLP HD SCR 10-24 X 3/8
Price
N/A
61
Now: PN07
HEX NUT 10-24
Price
N/A
62
SUPPORT BRACKET
Price
N/A
63
*DISCD*FLANGE CASTING
Item is no longer available
Price
N/A
64
Now: PLW03
LOCK WASHER #10
Price
N/A
65
Now: PW03
FLAT WASHER #10
Price
N/A
66
EXT TOOTH WASHER #10
Price
N/A
67
SWITCH PADLOCK
$14.20
Enter quantity between 1 and 99
68
PADLOCK STORAGE HOOK
$1.60
Enter quantity between 1 and 99
69
STRAIN RELIEF TYPE-1
$1.60
Enter quantity between 1 and 99
70
*DISCD*MOTOR SHIPPING BRACE 2-PC
Item is no longer available
Price
N/A
71
Now: PN02
HEX NUT 5/16-18
Price
N/A
72
Now: PW07
FLAT WASHER 5/16
Price
N/A
73
Now: PB07
HEX BOLT 5/16-18 X 3/4
Price
N/A
84
EXTENSION WING
Price
N/A
101
HANDLE V1.12.95
$20.35
Enter quantity between 1 and 99
101A
HANDWHEEL HANDLE V2.01.06
$5.10
Enter quantity between 1 and 99
102
HAND WHEEL V1.12.95
$13.30
Enter quantity between 1 and 99
102A
HANDWHEEL V2.01.06
$19.25
Enter quantity between 1 and 99
103
Now: PSS17
SET SCREW 5/16-18 X 5/16
Price
N/A
103V2
Now: PSS15
SET SCREW 3/8-16 X 3/8
Price
N/A
104
Now: PSS17
SET SCREW 5/16-18 X 5/16
Price
N/A
105
LOCK COLLAR
$3.80
Enter quantity between 1 and 99
106
BUSHING 24 X 19 X 24
$2.40
Enter quantity between 1 and 99
107
***SEE EXT. DESCRIPTION***
Item is no longer available
Price
N/A
108
SHAFT MOUNT
$27.55
Enter quantity between 1 and 99
109
BUSHING 24 X 19 X 24
Price
N/A
111
WORM SHAFT
$28.45
Enter quantity between 1 and 99
112
$11.50
Enter quantity between 1 and 99
113
Now: PN02
HEX NUT 5/16-18
Price
N/A
114
Now: PSS14
*DISCD*SET SCREW 5/16-18 X 1-3/8
Price
N/A
115
ELEVATION HOUSING BLACK V1.12.95
$170.30
Enter quantity between 1 and 99
115A
ELEVATION HOUSING GREEN V2.10.98
$170.30
Enter quantity between 1 and 99
116
Now: PB56
HEX BOLT 1/2-13 X 1-3/4
Price
N/A
117
Now: PW01
FLAT WASHER 1/2
Price
N/A
118
Now: PLW07
LOCK WASHER 1/2
Price
N/A
120
POINTER SHAFT W/POINTER V1.12.95
$4.00
Enter quantity between 1 and 99
120A
POINTER V2.02.98
$3.65
Enter quantity between 1 and 99
123
POINTER MOUNT
$7.00
Enter quantity between 1 and 99
126
Now: PB19
HEX BOLT 1/4-20 X 1/2
Price
N/A
127
*DISCD*PIN
Item is no longer available
Price
N/A
128
LOCK KNOB BOLT
$5.80
Enter quantity between 1 and 99
128-1
KNOB
$3.80
Enter quantity between 1 and 99
129
LOCK KNOB BOLT
Price
N/A
130
Now: PLN07
LOCK NUT 5/8-11
Price
N/A
133
ELEVATION BEVEL GEAR
$27.55
Enter quantity between 1 and 99
133A
THRUST BEARING 51103
Price
N/A
134
Now: PSS17
SET SCREW 5/16-18 X 5/16
Price
N/A
135
Now: PK14M
KEY 5 X 5 X 18
Price
N/A
136
ELEVATION LEADSCREW 3/4 X 7-1/2
$12.75
Enter quantity between 1 and 99
137
SPINDLE BRACKET
$188.20
Enter quantity between 1 and 99
138
ALIGNMENT BLOCK
$10.65
Enter quantity between 1 and 99
139
ROLL PIN 5 X 16
Price
N/A
140
Now: PB16
HEX BOLT 3/8-16 X 1-1/2
Price
N/A
140-1
Now: PN08
HEX NUT 3/8-16
Price
N/A
141
Now: PLW04
LOCK WASHER 3/8
Price
N/A
142
Now: PW07
FLAT WASHER 5/16
Price
N/A
143
Now: PLW01
LOCK WASHER 5/16
Price
N/A
144
Now: PB07
HEX BOLT 5/16-18 X 3/4
Price
N/A
145
Now: PSS23
SET SCREW 5/16-24 X 5/8
Price
N/A
146
V-BELT 7 X 690
$59.15
Enter quantity between 1 and 99
147
MOTOR PULLEY
$64.80
Enter quantity between 1 and 99
148
Now: PB03
HEX BOLT 5/16-18 X 1
Price
N/A
149
Now: PB56
HEX BOLT 1/2-13 X 1-3/4
Price
N/A
150
Now: PW01
FLAT WASHER 1/2
Price
N/A
151
MOTOR MOUNT PLATE
$89.85
Enter quantity between 1 and 99
152
MOTOR 3HP 220V 1-PH
$623.65
Enter quantity between 1 and 99
152-1
MOTOR FAN COVER
$2.20
Enter quantity between 1 and 99
152-2
MOTOR FAN
Price
N/A
152-3
CAPACITOR COVER
$11.85
Enter quantity between 1 and 99
152-4
MOTOR JUNCTION BOX
$9.10
Enter quantity between 1 and 99
152-5
S CAPACITOR 400M 125V 1-3/4 X 3-3/8
Price
N/A
153
Now: PK12M
KEY 5 X 5 X 30
Price
N/A
154
Now: PB15
HEX BOLT 5/16-18 X 3/8
Price
N/A
155
Now: PLW07
LOCK WASHER 1/2
Price
N/A
156
Now: PW06
FLAT WASHER 1/4
Price
N/A
156-1
***USE P1023097***
Item is no longer available
Price
N/A
157
Now: PN02
HEX NUT 5/16-18
Price
N/A
158
Now: PB07
HEX BOLT 5/16-18 X 3/4
Price
N/A
159
*DISCD*TOP MOTOR SHIPPING BRACE
Item is no longer available
Price
N/A
160
Now: PW07
FLAT WASHER 5/16
Price
N/A
201
Now: PS01
PHLP HD SCR 10-24 X 1/2
Price
N/A
202
Now: PR12M
EXT RETAINING RING 35MM
Price
N/A
203
QUILL FLANGE
$12.40
Enter quantity between 1 and 99
204
SPINDLE CARTRIDGE
$50.75
Enter quantity between 1 and 99
205
Now: PK20M
KEY 5 X 5 X 15
Price
N/A
206
BALL BEARING 6205ZZ
Price
N/A
207
Now: PR11M
EXT RETAINING RING 25MM
Price
N/A
208
Now: PR26M
INT RETAINING RING 52MM
Price
N/A
209
SPINDLE HOUSING
$59.70
Enter quantity between 1 and 99
210
Now: PR14M
EXT RETAINING RING 70MM
Price
N/A
211
SPINDLE PULLEY
$21.75
Enter quantity between 1 and 99
212
EXT TOOTH WASHER 3/4 ZINC
Price
N/A
213
SPANNER NUT 3/4-10
Price
N/A
214
SPINDLE 1/2"
$21.75
Enter quantity between 1 and 99
215
SPINDLE 3/4"
$31.25
Enter quantity between 1 and 99
216
SPINDLE 1"
$32.65
Enter quantity between 1 and 99
217
DRAWBAR 3/8-24 X 7-3/4
$4.30
Enter quantity between 1 and 99
218
DRAWBAR NUT 3/8-24
$3.85
Enter quantity between 1 and 99
219
SPINDLE NUT 1/2" 2PC SET
Price
N/A
220
SPINDLE NUT 3/4" 2PC SET
Price
N/A
221
SPINDLE NUT 1"-8 2PC SET
$6.40
Enter quantity between 1 and 99
222
PIN
Price
N/A
223
SPINDLE WASHER 1/2 X 26 X 3
$4.00
Enter quantity between 1 and 99
223A
SPINDLE WASHER 1/2 X 26 X 3
Price
N/A
223B
SPINDLE WASHER 1/2 X 26 X 3
Price
N/A
224
FLAT WASHER 3/4"
$3.65
Enter quantity between 1 and 99
224A
FLAT WASHER 3/4"
Price
N/A
224B
FLAT WASHER 3/4"
Price
N/A
225
SPINDLE WASHER 1 X 38 X 3
$2.75
Enter quantity between 1 and 99
225A
SPINDLE WASHER 1 X 38 X 3
Price
N/A
225B
SPINDLE WASHER 1 X 38 X 3
Price
N/A
226
SPINDLE WRENCH SET
$11.50
Enter quantity between 1 and 99
226A
SPINDLE WRENCH HEXAGONAL
$5.15
Enter quantity between 1 and 99
226B
SPINDLE WRENCH RECTANGULAR
$6.70
Enter quantity between 1 and 99
227
Now: W1159
Spacer - 1/2" ID x 1" OD x 1/4" H
Price
N/A
228
Now: W1160
Spacer - 1/2" ID x 1" OD x 3/8" H
Price
N/A
229
Now: W1161
Spacer - 1/2" ID x 1" OD x 1/2" H
Price
N/A
230
Now: W1162
Spacer - 1/2" ID x 1" OD x 3/4" H
Price
N/A
231
Now: W1164
Spacer - 3/4" ID x 1-1/4" OD x 1/4" H
Price
N/A
232
Now: W1165
Spacer - 3/4" ID x 1-1/4" OD x 3/8" H
Price
N/A
233
Now: W1166
Spacer - 3/4" ID x 1-1/4" OD x 1/2" H
Price
N/A
234
Now: W1167
Spacer - 3/4" ID x 1-1/4" OD x 3/4" H
Price
N/A
235
Now: W1169
Spacer - 1" ID x 1-1/2" OD x 1/4" H
Price
N/A
236
Now: W1170
Spacer - 1" ID x 1-1/2" OD x 3/8" H
Price
N/A
237
Now: W1171
Spacer - 1" ID x 1-1/2" OD x 1/2" H
Price
N/A
238
Now: W1172
Spacer - 1" ID x 1-1/2" OD x 3/4" H
Price
N/A
239
Now: W1173
Spacer - 1" ID x 1-1/2" OD x 1" H
Price
N/A
240
Now: W1174
Spacer - 1-1/4" ID x 1-3/4" OD x 1/4" H
Price
N/A
241
Now: W1175
Spacer - 1-1/4" ID x 1-3/4" OD x 3/8" H
Price
N/A
242
Now: W1176
Spacer - 1-1/4" ID x 1-3/4" OD x 1/2" H
Price
N/A
243
Now: W1177
Spacer - 1-1/4" ID x 1-3/4" OD x 3/4" H
Price
N/A
244
Now: W1178
Spacer - 1-1/4" ID x 1-3/4" OD x 1" H
Price
N/A
245
COMPLETE CARTRIDGE ASSY 1-13
$173.90
Enter quantity between 1 and 99
246
COMBO WRENCH 7/8" X 1-1/4"
$9.35
Enter quantity between 1 and 99
301
Now: PSS02
SET SCREW 5/16-18 X 3/8
Price
N/A
302
SHAFT MOUNT
$21.70
Enter quantity between 1 and 99
303
Now: PLW04
LOCK WASHER 3/8
Price
N/A
304
Now: PB21
HEX BOLT 3/8-16 X 3/4
Price
N/A
305
EXTENSION BRACKET
$16.35
Enter quantity between 1 and 99
306
LOCK KNOB BOLT
$8.50
Enter quantity between 1 and 99
307
LOCK KNOB BOLT
Price
N/A
308
LOCK KNOB BOLT
Price
N/A
309
SHAFT
$10.50
Enter quantity between 1 and 99
310
LOCK HANDLE
$6.70
Enter quantity between 1 and 99
311
LOCK HANDLE
Price
N/A
312
LOCK HANDLE
Price
N/A
313
Now: PN02
HEX NUT 5/16-18
Price
N/A
313V2
Now: PN05
HEX NUT 1/4-20
Price
N/A
314
*DISCD*EXTENSION BAR V1
Item is no longer available
Price
N/A
314V2
EXTENSION BAR V2.08.13
$6.05
Enter quantity between 1 and 99
315
MAIN SAFETY GUARD V1
$66.15
Enter quantity between 1 and 99
315V2
SAFETY GUARD ASSEMBLY V2.08.13
Price
N/A
315V2A
SAFETY GUARD ASSEMBLY V2.08.13
$123.20
Enter quantity between 1 and 99
316
Now: PFH14
FLAT HD SCR 5/16-18 X 3/4
Price
N/A
316V2
Now: PFH12
FLAT HD SCR 1/4-20 X 1
Price
N/A
317
Now: PW06
FLAT WASHER 1/4
Price
N/A
318
KNOB BOLT 1/4-20 X 3/8
$2.20
Enter quantity between 1 and 99
319
FRONT SAFETY GUARD (STEEL)
$20.35
Enter quantity between 1 and 99
320
TOP SAFETY GUARD (PLASTIC)
$11.85
Enter quantity between 1 and 99
401
MITER GAUGE BODY V1.12.95
Price
N/A
402
MITER HINGE PIN V1.12.95
Price
N/A
403
Now: PN07
HEX NUT 10-24
Price
N/A
404
Now: PS08
PHLP HD SCR 10-24 X 3/4
Price
N/A
405
LOCK KNOB
Price
N/A
406
Now: PW06
FLAT WASHER 1/4
Price
N/A
407
*DISCD*FIBER WASHER
Price
N/A
409
PUSH HANDLE
Price
N/A
410
Now: PS18
PHLP HD SCR 10-24 X 1/4
Price
N/A
411
Now: PW03
FLAT WASHER #10
Price
N/A
412
MITER BAR
Price
N/A
415
SCALE
Price
N/A
416
STOP BLOCK
Price
N/A
417
STOP PIN
Price
N/A
418
Now: PFH01
FLAT HD SCR 10-24 X 3/8
Price
N/A
420
Clamping Miter Gauge
Price
N/A
420A
*DISCD*COMPLETE MITER GAUGE
$57.80
Enter quantity between 1 and 99
420B
*DISCD*COMPLETE MITER GAUGE
Item is no longer available
Price
N/A
501
HOLD-DOWN BAR
$7.25
Enter quantity between 1 and 99
502
HOLD-DOWN
$5.15
Enter quantity between 1 and 99
503
HOLD-DOWN BRACKET
$11.50
Enter quantity between 1 and 99
504
Now: PSS02
SET SCREW 5/16-18 X 3/8
Price
N/A
505
COMPLETE FENCE ASSY
$416.60
Enter quantity between 1 and 99
600
*DISCD*WARNING LABEL
Item is no longer available
Price
N/A
601
KNOB
$9.40
Enter quantity between 1 and 99
601A
*DISCD*KNOB V1.11.96
Price
N/A
602
Now: PW06
FLAT WASHER 1/4
Price
N/A
603
MITER GAUGE BODY V2.05.07
$39.85
Enter quantity between 1 and 99
604A
ADJUSTABLE MITER BAR
$33.10
Enter quantity between 1 and 99
607
Now: PN07
HEX NUT 10-24
Price
N/A
608A
Now: PSS32
SET SCREW 10-24 X 3/4
Price
N/A
609A
Now: PSS29
SET SCREW 10-24 X 1/4
Price
N/A
610
MITER GAUGE STOP
$1.85
Enter quantity between 1 and 99
611
POINTER
$1.60
Enter quantity between 1 and 99
612
MITER GAUGE SCALE
$1.85
Enter quantity between 1 and 99
613
Now: PSS31
SET SCREW 10-24 X 5/8
Price
N/A
614
ROLL PIN 1.5 X 13
Price
N/A
615
MITER GAUGE HINGE PIN
$3.05
Enter quantity between 1 and 99
701
MACHINE ID LABEL
$16.40
Enter quantity between 1 and 99
701V2
MACHINE ID LABEL CSA + QR V2.10.13
$16.40
Enter quantity between 1 and 99
702
BELT POSITION LABEL
$4.25
Enter quantity between 1 and 99
703
ELECTRICITY 0.7W X 0.6H
Price
N/A
704
READ MANUAL 1.5W X 2.5H
Price
N/A
705
FACE SHIELD/RESPIRATOR 1.5W X 2.5H
Price
N/A
706
Now: G8588
Nameplate - Small
Price
N/A
707
CUTTERHEAD WARNING LABEL
$4.25
Enter quantity between 1 and 99
708
ENTANGLEMENT HAZARD 1.5W X 2.5H
Price
N/A
709
N/S GRIZZLY GREEN G1023S
Price
N/A
710
DAMPNESS HAZARD LABEL
Price
N/A
711
MODEL NUMBER LABEL
$2.75
Enter quantity between 1 and 99
712
GRIZZLY.COM LABEL
$2.10
Enter quantity between 1 and 99
900
CARTON FOR G1026
$35.35
Enter quantity between 1 and 99
901
STYROFOAM 2PC
$37.20
Enter quantity between 1 and 99
FENCE
*DISCD*COMPLETE FENCE ASSEMBLY
Item is no longer available
Price
N/A
FENCEASSYL
*DISCD*COMPLETE FENCE ASSY
Item is no longer available
Price
N/A
HDWBAG
*DISCD*HARDWARE BAG
Item is no longer available
Price
N/A
HDWBOX
*DISCD*COMPLETE HARDWARE BOX
Item is no longer available
Price
N/A
MANUAL
MAN FOR G1026 MFD-01.88-07.01 V1.01.91
$14.65
Enter quantity between 1 and 99
MANV2
MANUAL G1026 MFD-08.01-09.13 V2.09.06
$18.50
Enter quantity between 1 and 99
MANV3
MANUAL G1026 MFD-10.13+ V3.04.17
$18.25
Enter quantity between 1 and 99