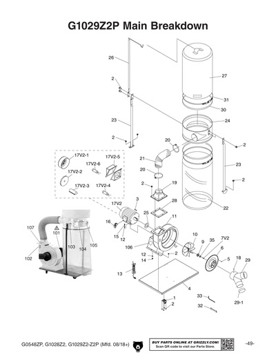
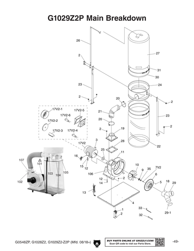
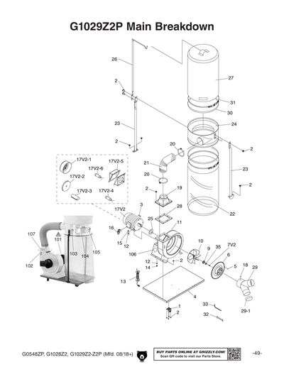
Parts for G1029Z2P 2 HP Dust Collector with Aluminum Impeller - Polar Bear Series

Parts Diagrams for G1029Z2P - 2 HP Dust Collector with Aluminum Impeller - Polar Bear Series

IMPORTANT

Parts may have multiple versions that have changed over time. This will be indicated by V1, V2, V3, etc. in the parts description, followed by the version month and year that it was first used. Example: V2.01.17 indicates version 2 of a part went into use in January 2017. Please reference the manufacture date on the ID Label for your machine to ensure you are selecting the correct part when multiple versions are indicated.

If you cannot locate your part below, please contact our tech support department at techsupport@grizzly.com or 570-546-9663.

Please note: All parts ship out of our Springfield, Missouri facility.

Parts List for Parts for G1029Z2P 2 HP Dust Collector with Aluminum Impeller - Polar Bear Series

1
CASTER
Price
N/A
2
Now: PFB01
FLANGE BOLT 5/16-18 X 1/2
Price
N/A
3
Now: PK28M
KEY 7 X 7 X 29
Price
N/A
4
BASE PLATE
Price
N/A
5
Now: PS06
PHLP HD SCR 10-24 X 3/8
Price
N/A
6
INLET COVER 6"
$31.40
Enter quantity between 1 and 99
7
CAP SCREW M6-1 X 20 LH
Price
N/A
7V2
CAP SCREW M6-1 X 30LH PRE-COATED
Price
N/A
8
Now: PSS15
SET SCREW 3/8-16 X 3/8
Price
N/A
9
IMPELLER WASHER
Price
N/A
10
IMPELLER 12-3/4"X95MM X7/8 ALUM V2.09.11
Price
N/A
11
COLLECTOR BODY
Price
N/A
12
Now: PW07
FLAT WASHER 5/16
Price
N/A
13
POWER CORD 14G 3C 6' 6-15 V2.09.11
Price
N/A
14
Now: PN02
HEX NUT 5/16-18
Price
N/A
15
Now: PB03
HEX BOLT 5/16-18 X 1
Price
N/A
16
PADDLE SWITCH V2.09.11
Price
N/A
17
MOTOR 2HP 220V 1-PH
Price
N/A
17-1
MOTOR FAN COVER
Price
N/A
17-2
MOTOR FAN
Price
N/A
17-3
CAPACITOR COVER V2.09.11
Price
N/A
17-4
S CAPACITOR 300M 125V 1-3/4 X 3-3/8
Price
N/A
17-5
JUNCTION BOX
$10.90
Enter quantity between 1 and 99
17V2
***USE P0548ZP017***
$0.00
Enter quantity between 1 and 99
17V2-1
***USE P0548ZP017-1***
$0.00
Enter quantity between 1 and 99
17V2-2
***USE P0548Z017V2-2***
$0.00
Enter quantity between 1 and 99
17V2-3
***USE P0548ZP017-3***
$0.00
Enter quantity between 1 and 99
17V2-4
***USE PC300B***
$0.00
Enter quantity between 1 and 99
17V2-5
***USE P0548ZP017-5***
$0.00
Enter quantity between 1 and 99
17V2-6
***USE PC030C***
$0.00
Enter quantity between 1 and 99
18
Now: PFS03
FLANGE SCREW 10-24 X 3/8
Price
N/A
19
OUTLET
$18.75
Enter quantity between 1 and 99
20
HOSE CLAMP
Price
N/A
21
HOSE
Price
N/A
22
19-3/4 D x 41" L Plastic Bottom Bag
Price
N/A
23
COLLECTOR SUPPORT
Price
N/A
24
COLLECTOR
$80.05
Enter quantity between 1 and 99
25
SPACER
Price
N/A
26
UPPER BAG SUPPORT
Price
N/A
27
Now: G5556
2.5 Micron Dust Bag - Large for G1028, G1029 & G1030 Series
Price
N/A
28
GASKET
Price
N/A
29
Y-INLET 6 X 4 X 4"
Price
N/A
29-1
INLET CAP 4"
Price
N/A
30
FOAM STRIP 5 X 20MM
Price
N/A
31
62" Bag Clamp
Price
N/A
32
WRENCH 10 X 12MM OPEN-ENDS
Price
N/A
33
HEX WRENCH 5MM
Price
N/A
35
LOCK WASHER 6MM
Price
N/A
101
ELECTRICITY 1.4W X 1.2H
Price
N/A
102
HANDS/DUST COLLECTOR OUTLET 2W X 3.3H
Price
N/A
103
READ MANUAL 2W X 3.3H V2.07.05
Price
N/A
104
MACHINE ID LABEL
$16.40
Enter quantity between 1 and 99
105
GLASSES/RESPIRATOR 2W X 3.3H
Price
N/A
106
POLAR BEAR WHITE TOUCH-UP PAINT
Price
N/A
107
POLAR BEAR LOGO-SMALL 3.75W X 1H
Price
N/A
MAN
MANUAL G0548Z-ZP MFD-09.11 V4.02.12
Price
N/A