Parts for G5769 48" Pan and Box Brake

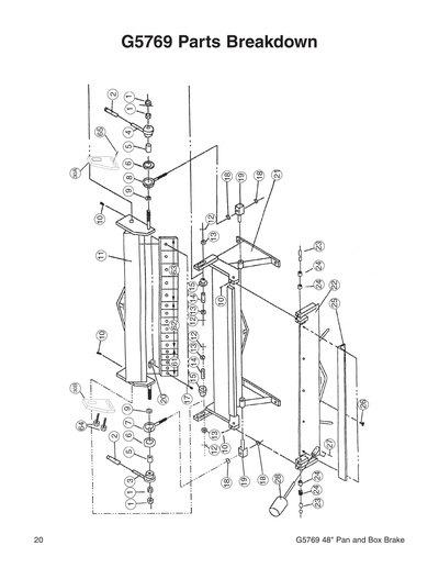
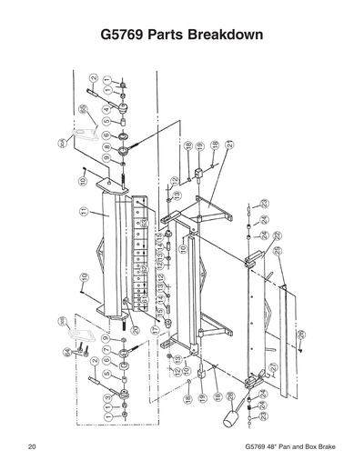
Parts Diagrams for G5769 - 48" Pan and Box Brake

IMPORTANT

Parts may have multiple versions that have changed over time. This will be indicated by V1, V2, V3, etc. in the parts description, followed by the version month and year that it was first used. Example: V2.01.17 indicates version 2 of a part went into use in January 2017. Please reference the manufacture date on the ID Label for your machine to ensure you are selecting the correct part when multiple versions are indicated.

If you cannot locate your part below, please contact our tech support department at techsupport@grizzly.com or 570-546-9663.

Please note: All parts ship out of our Springfield, Missouri facility.

Parts List for Parts for G5769 48" Pan and Box Brake

1
Now: PN05M
HEX NUT M16-1.5
Price
N/A
2
*DISCD*HANDLE COVER
Item is no longer available
Price
N/A
3
*DISCD*HANDLE LEFT
Item is no longer available
Price
N/A
4
*DISCD*HANDLE RIGHT
Item is no longer available
Price
N/A
5
*DISCD*BUSHING 7/8OD X 5/8"ID
Item is no longer available
Price
N/A
6
*DISCD*SHAFT SLEEVE
Item is no longer available
Price
N/A
7
*DISCD*SWIVEL LEFT
Item is no longer available
Price
N/A
8
*DISCD*SWIVEL RIGHT
Item is no longer available
Price
N/A
9
Now: PW08M
FLAT WASHER 16MM
Price
N/A
10
CAP SCREW M8-1.25 X 20
Price
N/A
11
*DISCD*BRAKE SUPPORT M8 X 20
$297.60
Enter quantity between 1 and 99
12
ROLL PIN 5 X 25
Price
N/A
13
Now: PW08M
FLAT WASHER 16MM
Price
N/A
14
*DISCD*SHAFT
Item is no longer available
Price
N/A
15
*DISCD*ECCENTRIC SHAFT
Item is no longer available
Price
N/A
16
*DISCD*FORMING FINGER SET
Item is no longer available
Price
N/A
16A
*DISCD*FORMING FINGER 2"
Price
N/A
16B
*DISCD*FORMING FINGER 3"
Price
N/A
16C
*DISCD*FORMING FINGER 4"
Price
N/A
16D
*DISCD*BENDING BLADE SET
Item is no longer available
Price
N/A
17
CAP SCREW M10-1.5 X 25
Price
N/A
18
Now: PN09M
HEX NUT M12-1.75
Price
N/A
19
*DISCD*KNOB BLOCK
$12.95
Enter quantity between 1 and 99
20
*DISCD*CLAMP
Item is no longer available
Price
N/A
21
*DISCD*STAND
Item is no longer available
Price
N/A
22
*DISCD*BENDING LEAF
Item is no longer available
Price
N/A
23
*DISCD*SHAFT
Item is no longer available
Price
N/A
24
*DISCD*BUSHING
Item is no longer available
Price
N/A
25
*DISCD*ANGLE BAR
Item is no longer available
Price
N/A
26
HEX BOLT M12-1.75 X 16
Price
N/A
27
CAP SCREW M10-1.5 X 25
Price
N/A
28
*DISCD*COUNTERWEIGHT
$219.60
Enter quantity between 1 and 99
29
*DISCD*TOOL DATA LABEL
$2.25
Enter quantity between 1 and 99
30
*DISCD*END PLATE RIGHT
Price
N/A
30A
*DISCD*END PLATE RIGHT
Item is no longer available
Price
N/A
30B
*DISCD*END PLATE LEFT
Item is no longer available
Price
N/A
61
*DISCD*FORMING FINGER 2"
Item is no longer available
Price
N/A
62
*DISCD*FORMING FINGER 3"
$27.00
Enter quantity between 1 and 99
63
*DISCD*FORMING FINGER 4"
Item is no longer available
Price
N/A
64
Now: PB27M
HEX BOLT M12-1.75 X 30
Price
N/A
65
ROLL PIN 5 X 30
Price
N/A
MANUAL
MANUAL FOR G5769 04/05
$11.00
Enter quantity between 1 and 99