Parts for G7213Z 24" 7-1/2 HP 3-Phase Planer

Parts Diagrams for G7213Z - 24" 7-1/2 HP 3-Phase Planer

IMPORTANT

Parts may have multiple versions that have changed over time. This will be indicated by V1, V2, V3, etc. in the parts description, followed by the version month and year that it was first used. Example: V2.01.17 indicates version 2 of a part went into use in January 2017. Please reference the manufacture date on the ID Label for your machine to ensure you are selecting the correct part when multiple versions are indicated.

If you cannot locate your part below, please contact our tech support department at techsupport@grizzly.com or 570-546-9663.

Please note: All parts ship out of our Springfield, Missouri facility.

Parts List for Parts for G7213Z 24" 7-1/2 HP 3-Phase Planer

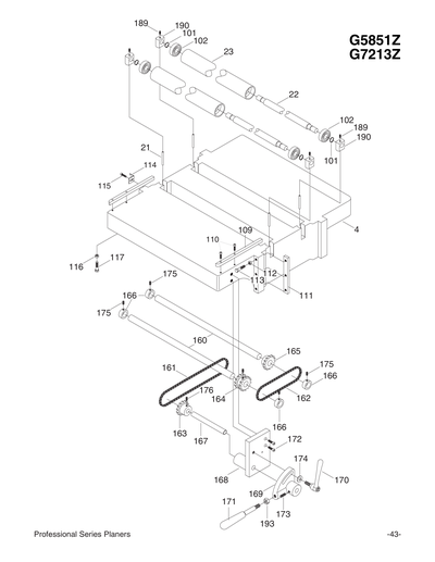
1
BASE
Price
N/A
2
LEFT COLUMN
Price
N/A
3
RIGHT COLUMN
Price
N/A
4
TABLE
Price
N/A
5
GEAR SHAFT
Price
N/A
6
BEVEL GEAR 14T
Price
N/A
7
BEVEL GEAR 24T
Price
N/A
8
END BRACKET
Price
N/A
10
BEVEL GEAR 24T
Price
N/A
11
BEVEL GEAR 13T
Price
N/A
12
BEVEL GEAR HOUSING
Price
N/A
13
HANDWHEEL SHAFT
Price
N/A
14
SHAFT RING
Price
N/A
15
BEARING HOUSING
Price
N/A
16
ELEVATION SCREW 1-6 X 17-1/2" LH
Price
N/A
17
ELEVATION SCREW BRACKET LH
Price
N/A
18
ELEVATION SCREW 1-6 X 17-1/2" LH
Price
N/A
19
ELEVATION ADJ SCR M36-2.0 RH
Price
N/A
20
ELEVATION SCR BRACKET RH
Price
N/A
21
TABLE ROLLER ADJ PIN
Price
N/A
22
TABLE ROLLER SHAFT
Price
N/A
23
TABLE ROLLER
Price
N/A
24
OUTFEED ROLLER MOUNT (R)
Price
N/A
25
BEARING LOCKING RING 15/16-16 RH R SIDE
Price
N/A
25B
BEARING LOCKING RING 15/16-16 LH L SIDE
Price
N/A
26
THREADED CAP
Price
N/A
27
INFEED ROLLER MOUNT (R)
Price
N/A
28
SPANNER NUT
Price
N/A
29
SPACER
Price
N/A
30
INFEED GEAR 38T
Price
N/A
31
OUTFEED GEAR 26T
Price
N/A
32
CUTTERHEAD MOUNT LH
Price
N/A
33
CUTTERHEAD MOUNT RH
Price
N/A
34
SPANNER NUT
Price
N/A
35
PULLEY 3-3/4" A-TYPE
Price
N/A
36
SPANNER NUT M30-1.5 LH
Price
N/A
37
SPACER
Price
N/A
38
CUTTERHEAD GEAR 25T
Price
N/A
39
ADJUSTING BRACKET
Price
N/A
40
GEAR 14T
Price
N/A
41
GEAR 76T
Price
N/A
42
PULLEY 7"
Price
N/A
43
GEAR 18T
Price
N/A
44
ADJUSTING BRACKET
Price
N/A
45
PULLEY 10"
Price
N/A
46
SAFETY FENDER
Price
N/A
47
LOCK COLLAR LH
Price
N/A
48
INFEED ROLLER
Price
N/A
50
LOCK COLLAR RH
Price
N/A
51
CUTTERHEAD 24" 4 BLADE
Price
N/A
51-1
FLAT HD SCR M6-1 X 16
Price
N/A
52
PRESSURE BAR BRACKET
Price
N/A
53
PRESSURE BAR
Price
N/A
54
LEFT PRESSURE SPRING
Price
N/A
55
RIGHT PRESSURE SPRING
Price
N/A
56
OUTFEED ROLLER
Price
N/A
57
LEFT COVER HINGE BRACKET
Price
N/A
58
LEFT COVER SIDE PLATE
Price
N/A
59
CHIPBREAKER SHAFT
Price
N/A
60
CHIPBREAKER
Price
N/A
61
CHIPBREAKER SPRING
Price
N/A
62
COVER SIDE PLATE RH
Price
N/A
63
RETURN ROLLER 5/16" INSIDE THREAD
Price
N/A
64
GIB W/ GIB BOLTS
$165.45
Enter quantity between 1 and 99
65
KNIFE 4PC 24 X 1"
Price
N/A
66
Now: PB24
HEX BOLT 3/8-16 X 1-1/4
Price
N/A
67
Now: PLW04
LOCK WASHER 3/8
Price
N/A
68
Now: PB58
HEX BOLT 3/8-16 X 2
Price
N/A
69
Now: PN08
HEX NUT 3/8-16
Price
N/A
70
Now: PB02
HEX BOLT 1/4-20 X 5/8
Price
N/A
71
Now: PLW02
LOCK WASHER 1/4
Price
N/A
72
Now: PN25
ACORN NUT 1/2-12
Price
N/A
73
Now: PB03
HEX BOLT 5/16-18 X 1
Price
N/A
74
Now: PB32
HEX BOLT 5/16-18 X 5/8
Price
N/A
75
Now: PK09
KEY 1/4 X 1/4 X 3/4
Price
N/A
76
Now: PB32
HEX BOLT 5/16-18 X 5/8
Price
N/A
77
Now: PLW01
LOCK WASHER 5/16
Price
N/A
79
Now: PK09
KEY 1/4 X 1/4 X 3/4
Price
N/A
80
BALL BEARING 6205ZZ
Price
N/A
81
Now: PB25
HEX BOLT 3/8-16 X 1-3/4
Price
N/A
84
Now: PLW04
LOCK WASHER 3/8
Price
N/A
85
BALL BEARING 6206RS
Price
N/A
86
Now: PR46M
INT RETAINING RING 27MM
Price
N/A
87
SPANNER NUT
Price
N/A
88
Now: PLW04
LOCK WASHER 3/8
Price
N/A
89
Now: PB18
HEX BOLT 3/8-16 X 1
Price
N/A
90
BALL BEARING 6002ZZ
Price
N/A
91
BALL BEARING 6201ZZ
Price
N/A
92
Now: PW07
FLAT WASHER 5/16
Price
N/A
93
Now: PLW01
LOCK WASHER 5/16
Price
N/A
94
Now: PB15
HEX BOLT 5/16-18 X 3/8
Price
N/A
95
Now: PW02
FLAT WASHER 3/8
Price
N/A
96
Now: PLW04
LOCK WASHER 3/8
Price
N/A
97
Now: PB18
HEX BOLT 3/8-16 X 1
Price
N/A
98
Now: G3850
Bearing - 35mm x 17mm
Price
N/A
99
Now: PN04
HEX NUT 5/8-11
Price
N/A
100
Now: PVA32
V-BELT A32
Price
N/A
101
Now: PR08M
EXT RETAINING RING 19MM
Price
N/A
102
BALL BEARING 6304ZZ
Price
N/A
103
STUD-UDE 3/8-16 X 6-3/16 1-1/8RH/1-7/8RH
Price
N/A
104
COMPRESSION SPRING
Price
N/A
105
Now: PW02
FLAT WASHER 3/8
Price
N/A
106
Now: PN08
HEX NUT 3/8-16
Price
N/A
107
Now: PB41
HEX BOLT 1/2-12 X 1-1/2
Price
N/A
108
Now: PLW07
LOCK WASHER 1/2
Price
N/A
109
TABLE EDGE GUIDE
Price
N/A
110
CAP SCREW 1/4-20 X 1/2
Price
N/A
111
TABLE GIB
Price
N/A
112
Now: PN08
HEX NUT 3/8-16
Price
N/A
113
Now: PB25
HEX BOLT 3/8-16 X 1-3/4
Price
N/A
114
SCALE POINTER
Price
N/A
115
CAP SCREW 1/4-20 X 3/8
Price
N/A
116
Now: PN08
HEX NUT 3/8-16
Price
N/A
117
Now: PB35
HEX BOLT 3/8-16 X 2-1/2
Price
N/A
119
Now: PB12
HEX BOLT 5/16-18 X 1-1/4
Price
N/A
120
Now: PLW01
LOCK WASHER 5/16
Price
N/A
121
Now: PB03
HEX BOLT 5/16-18 X 1
Price
N/A
122
DUST BOOT
Price
N/A
123
Now: P2904
THRUST BEARING 2904
Price
N/A
124
Now: PB03
HEX BOLT 5/16-18 X 1
Price
N/A
125
Now: PLW01
LOCK WASHER 5/16
Price
N/A
126
MOTOR 7.5HP 220V/440V 3-PH
Price
N/A
126-1
MOTOR FAN COVER
$37.75
Enter quantity between 1 and 99
126-2
MOTOR FAN
$19.10
Enter quantity between 1 and 99
126-3
MOTOR JUNCTION BOX
$22.70
Enter quantity between 1 and 99
126-4
BALL BEARING 6205-2RS
Price
N/A
126-5
BALL BEARING 6204-2RS
Price
N/A
127
PULLEY 5"
Price
N/A
128
Now: PVA63
V-BELT A63
Price
N/A
129
LEFT GUARD
Price
N/A
131
Now: PB16
HEX BOLT 3/8-16 X 1-1/2
Price
N/A
132
Now: PW02
FLAT WASHER 3/8
Price
N/A
133
Now: PLW04
LOCK WASHER 3/8
Price
N/A
134
Now: PN08
HEX NUT 3/8-16
Price
N/A
135
MOTOR ADJ BRACKET
Price
N/A
136
Now: PN08
HEX NUT 3/8-16
Price
N/A
137
Now: PB03
HEX BOLT 5/16-18 X 1
Price
N/A
138
Now: PLW01
LOCK WASHER 5/16
Price
N/A
139
Now: PSS03
SET SCREW 1/4-20 X 3/8
Price
N/A
140
Now: PSS02
SET SCREW 5/16-18 X 3/8
Price
N/A
142
Now: PW01
FLAT WASHER 1/2
Price
N/A
143
Now: PLW01
LOCK WASHER 5/16
Price
N/A
144
Now: PB03
HEX BOLT 5/16-18 X 1
Price
N/A
145
Now: PN25
ACORN NUT 1/2-12
Price
N/A
146
HANDWHEEL
Price
N/A
147
HANDLE
Price
N/A
148
Now: PLW01
LOCK WASHER 5/16
Price
N/A
149
Now: PB03
HEX BOLT 5/16-18 X 1
Price
N/A
150
RIGHT GUARD
Price
N/A
151
Now: PW06
FLAT WASHER 1/4
Price
N/A
152
CAP SCREW 1/4-20 X 1/2
Price
N/A
153
CONTROL CASE METAL V2.05.07
Price
N/A
154
MOTOR SUPPORT
Price
N/A
155
MOUNTING BRACKET LH/RH
Price
N/A
156
SHAFT
Price
N/A
157
FIXED SHAFT
Price
N/A
158
SPACER
Price
N/A
159
ANTI KICKBACK TOOTH
$2.75
Enter quantity between 1 and 99
160
CHAIN SHAFT
$27.80
Enter quantity between 1 and 99
161
CHAIN 21-1/2" X 28
$29.00
Enter quantity between 1 and 99
162
CHAIN 1/2" X 2-1/2"
$33.85
Enter quantity between 1 and 99
163
SPROCKET 14T
$48.95
Enter quantity between 1 and 99
164
DOUBLE SPROCKET 14T
$65.25
Enter quantity between 1 and 99
165
SPROCKET 14T
$48.95
Enter quantity between 1 and 99
166
LOCK COLLAR
$19.10
Enter quantity between 1 and 99
167
SHAFT
$22.70
Enter quantity between 1 and 99
168
HUB MOUNTING PLATE
$162.45
Enter quantity between 1 and 99
169
$81.55
Enter quantity between 1 and 99
170
LOCK HANDLE 1/2-12
Price
N/A
171
HANDLE ASSEMBLY 1/2-12
Price
N/A
172
CAP SCREW 5/16-18 X 1
Price
N/A
173
Now: PSS15
SET SCREW 3/8-16 X 3/8
Price
N/A
174
Now: PW01
FLAT WASHER 1/2
Price
N/A
175
Now: PSS02
SET SCREW 5/16-18 X 3/8
Price
N/A
176
Now: PSS05
SET SCREW 5/16-18 X 1/4
Price
N/A
177
FEED MOTOR 2HP 220V/440V 3-PH
$1,243.90
Enter quantity between 1 and 99
177-1
MOTOR FAN COVER
$40.20
Enter quantity between 1 and 99
177-2
MOTOR FAN
$19.10
Enter quantity between 1 and 99
177-3
MOTOR JUNCTION BOX
$22.70
Enter quantity between 1 and 99
177-4
BALL BEARING 6207-2RS
Price
N/A
177-5
BALL BEARING 6204-2RS
Price
N/A
178
VARIABLE SPEED CONTROLLER V2.10.09
Price
N/A
178V2
VARIABLE SPEED CONTROLLER V2.10.09
Price
N/A
179
CONTROL PANEL
Price
N/A
180
POWER INDICATOR LIGHT 22MM WHT
Price
N/A
181
E-STOP BUTTON 250V 10A
Price
N/A
182
CUTTERHEAD MOTOR ON BUTTON
Price
N/A
182A
LIGHT BULB 440V 3PC
$2.20
Enter quantity between 1 and 99
183
Now: G8588
Nameplate - Small
Price
N/A
184
MACHINE ID LABEL
$16.40
Enter quantity between 1 and 99
185
GREASE FITTING 1/8 STRAIGHT
Price
N/A
186
DO NOT OPEN WARNING
Price
N/A
187
SAFETY GLASSES 2W X 3.3H V2.04.08
Price
N/A
188
READ MANUAL 2W X 3.3H V2.07.05
Price
N/A
189
Now: PSS11
SET SCREW 1/4-20 X 1/4
Price
N/A
190
BED ROLLER BASE
Price
N/A
191
DUST HOOD
Price
N/A
192
LEFT COVER HINGE BRACKET
Price
N/A
193
Now: PN06
HEX NUT 1/2-12
Price
N/A
194
Now: PB43
HEX BOLT 1/2-12 X 4
Price
N/A
195
CUTTERHEAD MOTOR ON BUTTON
Price
N/A
197
SUPPORT SHAFT
Price
N/A
198
COVER
Price
N/A
199
MOTOR ADJ BRACKET
Price
N/A
200
Now: PK58M
KEY 8 X 10 X 64
Price
N/A
201
Now: PW02
FLAT WASHER 3/8
Price
N/A
202
Now: PB70
HEX BOLT 3/8-16 X 6
Price
N/A
203
COMPRESSION SPRING
Price
N/A
204
Now: PVA46
V-BELT A46
Price
N/A
205
DEPTH GAUGE
Price
N/A
206
KNIFE SETTING JIG
Price
N/A
207
WRENCH 17 X 19MM OPEN-ENDS
Price
N/A
208
WRENCH 12 X 14MM OPEN-ENDS
Price
N/A
209
WRENCH 8 X 10MM OPEN-ENDS
Price
N/A
210
HEX WRENCH 4MM
Price
N/A
211
GEAR 14T
Price
N/A
212
SPACER
$1.60
Enter quantity between 1 and 99
213
Now: PSS03
SET SCREW 1/4-20 X 3/8
Price
N/A
214
Now: PB24
HEX BOLT 3/8-16 X 1-1/4
Price
N/A
215
Now: PW01
FLAT WASHER 1/2
Price
N/A
216
Now: PN06
HEX NUT 1/2-12
Price
N/A
300
MAGNETIC SWITCH 3-PH V1
$186.00
Enter quantity between 1 and 99
300-1
CONTACTOR - FEED MOTOR V1
$167.35
Enter quantity between 1 and 99
300-2
OVERLOAD RELAY - FEED MOTOR V1
$130.10
Enter quantity between 1 and 99
300-3
CONTACTOR - CUTTERHEAD V1
$154.00
Enter quantity between 1 and 99
300-4
OVERLOAD RELAY - CUTTERHEAD V1
$137.70
Enter quantity between 1 and 99
300A
CONTACTOR 220V 25T FOR 7.5HP MOTOR
$114.15
Enter quantity between 1 and 99
300B
THERMAL RELAY BTH25 22A FOR 7.5 HP 220V
$46.55
Enter quantity between 1 and 99
300C
CONTACTOR RIKEN FOR MOTOR 2HP 220V 12T
$29.65
Enter quantity between 1 and 99
300D
THERMAL RELAY RIKEN FOR 2HP MOTOR 220V
$26.60
Enter quantity between 1 and 99
300V2
MAGNETIC SWITCH ASSY 3-PH V2.12.16
$474.00
Enter quantity between 1 and 99
300V2-1
CONTACTOR RIKEN RAB-A12 220V V2.12.16
$112.30
Enter quantity between 1 and 99
300V2-2
OL RELAY RIKEN BTH-18T 2H8 5.4-8A
$112.30
Enter quantity between 1 and 99
300V2-3
CONTACTOR RIKEN RAB-A30 220V V2.12.16
$204.70
Enter quantity between 1 and 99
300V2-4
OL RELAY RIKEN BTH-35 2H26 18-26A V2.16
$132.25
Enter quantity between 1 and 99
301
FUSE 2A
$2.45
Enter quantity between 1 and 99
301-1
FUSE HOLDER
$10.90
Enter quantity between 1 and 99
302
440V CONVERSION KIT
$160.60
Enter quantity between 1 and 99
302-1
CONTACTOR RIKEN RAB-A12 440V V2.12.16
$112.30
Enter quantity between 1 and 99
302-2
OL RELAY RIKEN BTH-18T2H4.3 2.9-4.3A
$104.50
Enter quantity between 1 and 99
302-3
CONTACTOR RIKEN RAB-A18 440V V2.12.16
$154.00
Enter quantity between 1 and 99
302-4
OL RELAY RIKEN BTH-18T2H18 12-18A
$130.65
Enter quantity between 1 and 99
302-5
POWER INDICATOR BULB (440V)
$17.55
Enter quantity between 1 and 99
302-6
MAIN MOTOR BULB (440V)
$22.70
Enter quantity between 1 and 99
302-7
FEED MOTOR BULB (440V)
$26.35
Enter quantity between 1 and 99
302A
CONTACTOR 440V RAB18T10 FOR MTR 7.5HP
$154.00
Enter quantity between 1 and 99
302B
THERMAL RELAY 440V BTH18T2H18 15A RIKEN
$104.50
Enter quantity between 1 and 99
302C
CONTACTOR 440V RAB12T10 FOR FEED MTR
$102.65
Enter quantity between 1 and 99
302D
THERMAL RELAY 440V BTH18T2H4.3 3.6A
$34.80
Enter quantity between 1 and 99
303
INDICATOR BULB (220V)
$18.05
Enter quantity between 1 and 99
403
SPEED CHANGE LABEL
Price
N/A
MANUAL
MANUAL FOR G5850Z 03/06
Price
N/A