Parts for G9953ZXF 16" x 99" 3-Phase Z Series Jointer w/ Spiral Cutterhead

Parts Diagrams for G9953ZXF - 16" x 99" 3-Phase Z Series Jointer w/ Spiral Cutterhead

IMPORTANT

Parts may have multiple versions that have changed over time. This will be indicated by V1, V2, V3, etc. in the parts description, followed by the version month and year that it was first used. Example: V2.01.17 indicates version 2 of a part went into use in January 2017. Please reference the manufacture date on the ID Label for your machine to ensure you are selecting the correct part when multiple versions are indicated.

If you cannot locate your part below, please contact our tech support department at techsupport@grizzly.com or 570-546-9663.

Please note: All parts ship out of our Springfield, Missouri facility.

Parts List for Parts for G9953ZXF 16" x 99" 3-Phase Z Series Jointer w/ Spiral Cutterhead

1
BASE
Price
N/A
1V2
*DISCD*BASE V2.01.21
Price
N/A
2
INFEED TABLE SUPPORT
Price
N/A
3
***USE P9860005***
$19.25
Enter quantity between 1 and 99
4
***USE P9860004***
$38.00
Enter quantity between 1 and 99
5
***USE P9860010***
$38.00
Enter quantity between 1 and 99
6
***USE P9953006***
$118.75
Enter quantity between 1 and 99
6V2
DUST HOOD 5" V2.10.20
Price
N/A
6V3
DUST HOOD 5" V3.01.21
Price
N/A
7
***USE P9953007***
$42.25
Enter quantity between 1 and 99
8
***USE P9953008***
$22.50
Enter quantity between 1 and 99
9
INFEED TABLE REAR HOUSING
Price
N/A
10
***USE P9953010***
$132.00
Enter quantity between 1 and 99
11
Now: PW01M
FLAT WASHER 8MM
Price
N/A
12
Now: PB03M
HEX BOLT M8-1.25 X 16
Price
N/A
13
***USE P9953013***
$118.75
Enter quantity between 1 and 99
13V2
DUST CHUTE 5" V2.10.20
Price
N/A
13V3
DUST CHUTE 5" V3.01.21
Price
N/A
14
MOTOR ACCESS COVER
Price
N/A
15
***USE PS68M***
$1.75
Enter quantity between 1 and 99
16
Now: PS14M
PHLP HD SCR M6-1 X 12
Price
N/A
16V2
Now: PB02M
HEX BOLT M6-1 X 12
Price
N/A
17
***USE PW02***
$1.00
Enter quantity between 1 and 99
18
KNOB M10-1.5 X 30
Price
N/A
19
***USE P9860033***
$4.25
Enter quantity between 1 and 99
20
***USE PSS20M***
$1.00
Enter quantity between 1 and 99
21
***USE PW04M***
$1.00
Enter quantity between 1 and 99
22
CAP SCREW M10-1.5 X 25
Price
N/A
23
ON BUTTON RENY R9C1VN 22MM GRN
Price
N/A
24
E-STOP BUTTON RENY R9C01VN
Price
N/A
25
POWER INDICATOR LIGHT 22MM RED
Price
N/A
26
***USE PS14M***
$1.00
Enter quantity between 1 and 99
27
CONTROL PANEL
Price
N/A
28
***USE P9953028***
$230.00
Enter quantity between 1 and 99
39
*DISCD*MAGNETIC CONTACTOR CN-18 220V V1
$116.15
Enter quantity between 1 and 99
39V2
CONTACTOR TECO CU-18 440V V2.05.08
$72.45
Enter quantity between 1 and 99
40
***USE P9953ZXF042V2***
$67.25
Enter quantity between 1 and 99
40V2
*DISCD*OL RELAY TECO RHN-18 12.5-18A V2.
$13.80
Enter quantity between 1 and 99
40V3
OL RELAY TECO RHU-10 15-20A V3.01.11
$45.90
Enter quantity between 1 and 99
41
BRAKE SWITCH
Price
N/A
42
*DISCD*440V CONVERSION KIT
Item is no longer available
Price
N/A
42-1
POWER LAMP 440V
$1.60
Enter quantity between 1 and 99
42V2
CONVERSION KIT 440V V2
$73.70
Enter quantity between 1 and 99
43
BRAKE PLATE
Price
N/A
44
CAP SCREW M8-1.25 X 35
Price
N/A
45
***USE PN03M***
$1.00
Enter quantity between 1 and 99
46
***USE P9953046***
$4.50
Enter quantity between 1 and 99
47
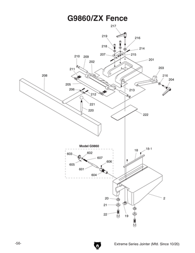
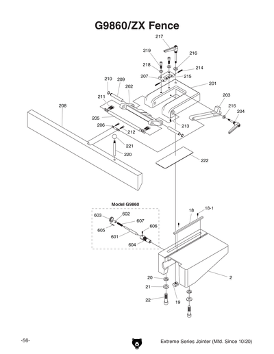
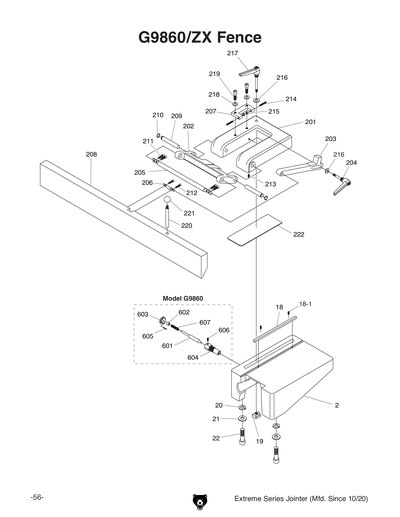
BRAKE PAD
Price
N/A
48
***USE PS01***
$1.00
Enter quantity between 1 and 99
49
Now: PW03
FLAT WASHER #10
Price
N/A
50
***USE PS06***
$1.00
Enter quantity between 1 and 99
51
***USE PCAP11M***
$1.00
Enter quantity between 1 and 99
52
***USE PN04M***
$1.00
Enter quantity between 1 and 99
53
SET SCREW M4-.7 X 50
Price
N/A
54
***USE PB71M***
$1.00
Enter quantity between 1 and 99
55
Now: PN01M
HEX NUT M6-1
Price
N/A
56
TENSION SPRING .9 X 60 X 50 MM
Price
N/A
57
Now: W1400
Safety Push Block - Small
Price
N/A
58
PNEUMATIC TORQUE WRENCH
Price
N/A
59
AIR REGULATOR W/GAUGE
Price
N/A
60
BREAKER BAR BIT HOLDER
Price
N/A
61
TORX DRIVER T-20
Price
N/A
62
TORX BIT T-20
Price
N/A
102
BEARING HOUSING FRONT
Price
N/A
103
BEARING HOUSING REAR
Price
N/A
104
BALL BEARING 6206ZZ
Price
N/A
105
***use P6208zz***
$9.50
Enter quantity between 1 and 99
106
BEARING END CAP
Price
N/A
107
BRAKE NUT M30-1.5
Price
N/A
108
BEARING CAP
Price
N/A
109
SPANNER NUT M40-1.5P
Price
N/A
110
CUTTERHEAD PULLEY
Price
N/A
111
CUTTERHEAD STOP PLATE
Price
N/A
112
END CAP
Price
N/A
117
***USE PLW06M***
$1.00
Enter quantity between 1 and 99
118
***USE PB01M***
$1.00
Enter quantity between 1 and 99
119
***USE PCAP24M***
$1.00
Enter quantity between 1 and 99
120
***USE P9953120***
$16.00
Enter quantity between 1 and 99
121
***USE PS21M***
$1.00
Enter quantity between 1 and 99
122
***USE P9953122***
$23.50
Enter quantity between 1 and 99
123
***USE PN06M***
$1.00
Enter quantity between 1 and 99
124
***USE PSS09M***
$1.00
Enter quantity between 1 and 99
125
***USE P0667X0370***
$3.00
Enter quantity between 1 and 99
201
TUBE ROD BRACKET
Price
N/A
202
CONNECTOR LEFT
Price
N/A
203
CONNECTOR RIGHT
Price
N/A
204
***USE P9953204***
$16.00
Enter quantity between 1 and 99
205
CAP SCREW M10-1.5 X 60
Price
N/A
206
LOCK WASHER 8MM
Price
N/A
207
CAP SCREW M8-1.25 X 50
Price
N/A
208
***USE PCAP64M***
$1.00
Enter quantity between 1 and 99
209
***USE PW03M***
$1.00
Enter quantity between 1 and 99
210
CAP SCREW M6-1 X 10
Price
N/A
211
***USE P9953211***
$23.50
Enter quantity between 1 and 99
212
HANDWHEEL
Price
N/A
213
***USE PW02***
$1.00
Enter quantity between 1 and 99
214
***USE P9953214***
$1.25
Enter quantity between 1 and 99
215
SET SCREW M8-1.25 X 10
Price
N/A
216
***USE PN03M***
$1.00
Enter quantity between 1 and 99
217
***USE PSS21M***
$1.00
Enter quantity between 1 and 99
218
***USE P9953218***
$9.50
Enter quantity between 1 and 99
219
***USE P9860221***
$1.00
Enter quantity between 1 and 99
220
***USE P9860220***
$3.50
Enter quantity between 1 and 99
221
Now: PW03M
FLAT WASHER 6MM
Price
N/A
222
SET SCREW M6-1 X 10
Price
N/A
223
SET SCREW M6-1 X 8
Price
N/A
224
Now: PB26M
HEX BOLT M8-1.25 X 30
Price
N/A
225
***USE PW01M***
$1.00
Enter quantity between 1 and 99
226
Now: PN02M
HEX NUT M10-1.5
Price
N/A
227
Now: PB73M
HEX BOLT M10-1.5 X 50
Price
N/A
228
Now: PB07M
HEX BOLT M8-1.25 X 25
Price
N/A
229
***USE PCAP01M***
$1.00
Enter quantity between 1 and 99
230
BRACKET
Price
N/A
231
ANCHOR ROD
Price
N/A
232
*DISCD*PIVOT PIN RIGHT STANDARD V1
Price
N/A
233
*DISCD*PIVOT PIN LEFT STANDARD V1
Price
N/A
234
FENCE ROD
Price
N/A
235
PIVOT ARM
Price
N/A
236
***USE P9953236***
$122.50
Enter quantity between 1 and 99
237
FENCE ROD BRACKET
Price
N/A
238
***USE P9953238***
$3.25
Enter quantity between 1 and 99
239
FENCE
Price
N/A
240
FENCE ROD
Price
N/A
241
CAP SCREW M6-1 X 25
Price
N/A
242
FENCE STOP BLOCK
Price
N/A
243
***USE PW06***
$1.49
Enter quantity between 1 and 99
244
Now: PW07
FLAT WASHER 5/16
Price
N/A
245
Now: PN03M
HEX NUT M8-1.25
Price
N/A
246
SET SCREW M8-1.25 X 40
Price
N/A
301
OUTFEED TABLE LEFT SHORT
Price
N/A
302
NOISE DAMPER
Price
N/A
303
***USE P9953303***
$8.75
Enter quantity between 1 and 99
304
LONG TABLE PIVOT ROD
Price
N/A
305
SET SCREW M8-1.25 X 10
Price
N/A
306
***USE PCAP01M***
$1.00
Enter quantity between 1 and 99
307
***USE PS14M***
$1.00
Enter quantity between 1 and 99
308
J-ROD LONG
Price
N/A
309
TENSION SPRING
Price
N/A
310
***USE PN09M***
$1.00
Enter quantity between 1 and 99
311
***USE PW01***
$1.00
Enter quantity between 1 and 99
312
***USE PW02***
$1.00
Enter quantity between 1 and 99
313
***USE P9953313***
$707.25
Enter quantity between 1 and 99
314
***USE P9860310***
$11.75
Enter quantity between 1 and 99
315
***USE PCAP70M***
$1.00
Enter quantity between 1 and 99
316
J-ROD SHORT
Price
N/A
317
TABLE PIVOT ROD SHORT
Price
N/A
401
***USE P9953401***
$103.00
Enter quantity between 1 and 99
402
***USE PCAP06M***
$1.00
Enter quantity between 1 and 99
403
SPRING SHAFT HOUSING
Price
N/A
404
***USE P9860319A***
$52.25
Enter quantity between 1 and 99
405
CAP SCREW M12-1.75 X 20
Price
N/A
501
LIFT ROD BRACKET
Price
N/A
502
***USE P9860502***
$27.00
Enter quantity between 1 and 99
503
BEVEL GEAR M4-0.7 X 2
Price
N/A
504
SLEEVE
Price
N/A
505
LIFT ROD
Price
N/A
506
GEAR SHAFT
Price
N/A
507
***USE P9860507***
$14.75
Enter quantity between 1 and 99
508
***USE P9860508***
$1.00
Enter quantity between 1 and 99
509
***USE PR10M***
$1.00
Enter quantity between 1 and 99
510
HANDWHEEL FLAT WASHER 8MM X 12OD
Price
N/A
511
LOCK KNOB M10-1.5 X 20
Price
N/A
512
***USE P9860512***
$3.00
Enter quantity between 1 and 99
513
CAP SCREW M10-1.5 X 40
Price
N/A
514
***USE PN02M***
$1.00
Enter quantity between 1 and 99
515
SET SCREW M4-.7 X 10
Price
N/A
516
GREASE FITTING 3/16"
Price
N/A
517
***USE PK20M***
$1.00
Enter quantity between 1 and 99
518
***USE PLW04M***
$1.00
Enter quantity between 1 and 99
519
Now: PB07M
HEX BOLT M8-1.25 X 25
Price
N/A
520
Now: PB58
HEX BOLT 3/8-16 X 2
Price
N/A
521
Now: PN08
HEX NUT 3/8-16
Price
N/A
522
***USE P9860522***
$3.50
Enter quantity between 1 and 99
523
***USE PSS02M***
$1.00
Enter quantity between 1 and 99
601
***USE P9953601***
$3.75
Enter quantity between 1 and 99
602
***USE P9953602***
$5.75
Enter quantity between 1 and 99
603
BRAKE CASING
Price
N/A
604
ROLL PIN 3 X 18
Price
N/A
605
SPRING D0.8 X D11 X 47MML
Price
N/A
606
SET SCREW M6-1 X 6
Price
N/A
701
MOTOR 5HP 220V/440V 3-PH
$603.75
Enter quantity between 1 and 99
701-1
MOTOR FAN COVER
$13.30
Enter quantity between 1 and 99
701-2
MOTOR FAN
$10.65
Enter quantity between 1 and 99
701-3
MOTOR WIRING JUNCTION BOX
$10.65
Enter quantity between 1 and 99
702
***USE P9860702***
$103.50
Enter quantity between 1 and 99
703
LOCK WASHER 10MM
Price
N/A
704
***USE PB31M***
$1.00
Enter quantity between 1 and 99
705
Now: PN02M
HEX NUT M10-1.5
Price
N/A
706
Now: PW06M
FLAT WASHER 12MM
Price
N/A
707
Now: PB35M
HEX BOLT M12-1.75 X 40
Price
N/A
708
***USE PK57M***
$1.00
Enter quantity between 1 and 99
709
SET SCREW M8-1.25 X 20
Price
N/A
710
***USE P9953710***
$65.50
Enter quantity between 1 and 99
711
Now: PVA50
V-BELT A50
Price
N/A
712
Now: H7942
Extreme Series Nameplate
Price
N/A
713
SAFETY GLASSES 2W X 3.3H V2.04.08
Price
N/A
714
MACHINE ID LABEL
$16.40
Enter quantity between 1 and 99
715
PUSH BLOCK WARNING
Price
N/A
716
***USE G8589***
$23.00
Enter quantity between 1 and 99
717
***USE PPAINT-1***
$7.25
Enter quantity between 1 and 99
718
***USE PPAINT-11***
$7.25
Enter quantity between 1 and 99
719
MODEL NUMBER LABEL
$16.40
Enter quantity between 1 and 99
801
***USE P9953801***
$92.50
Enter quantity between 1 and 99
802
***USE P9953802***
$8.75
Enter quantity between 1 and 99
803
***USE PCAP10M***
$1.00
Enter quantity between 1 and 99
804
***USE P9953804***
$1.25
Enter quantity between 1 and 99
805
Now: PN20
HEX NUT 5/16-24
Price
N/A
806
Now: PW02M
FLAT WASHER 5MM
Price
N/A
807
LOCK WASHER 5MM
Price
N/A
901
FLAT HD TORX T20 M6-1 X 15
Price
N/A
902
Now: H7319
Indexable Carbide Inserts - 14 x 14 x 2mm, 10-Pk.
Price
N/A
903
SPIRAL CUTTERHEAD BODY
Price
N/A
MANUAL
MANUAL FOR G9860 V1.10.08
Price
N/A
MANV2
MANUAL G9860 MFG 04.09 V2.06.09
Price
N/A
MANV3
MANUAL G9860 MFG 04.10 V3.09.10
Price
N/A
MANV4
MANUAL G9860 MFG 01.11 V4.02.11
Price
N/A
MANV5
MANUAL G9860 MFD-09.11-09.20 V5.09.11
Price
N/A
MANV6
MANUAL G9860 MFD-10.20+ V6.10.20
Price
N/A