Parts for G9967 20" Planer w/ 5 HP Single-Phase Motor

Parts Diagrams for G9967 - 20" Planer w/ 5 HP Single-Phase Motor

IMPORTANT

Parts may have multiple versions that have changed over time. This will be indicated by V1, V2, V3, etc. in the parts description, followed by the version month and year that it was first used. Example: V2.01.17 indicates version 2 of a part went into use in January 2017. Please reference the manufacture date on the ID Label for your machine to ensure you are selecting the correct part when multiple versions are indicated.

If you cannot locate your part below, please contact our tech support department at techsupport@grizzly.com or 570-546-9663.

Please note: All parts ship out of our Springfield, Missouri facility.

Parts List for Parts for G9967 20" Planer w/ 5 HP Single-Phase Motor

715
LOCK WASHER 8MM
Price
N/A
99
TENSIONER REPAIR KIT
Item is no longer available
Price
N/A
101
CABINET 20" MODEL
Price
N/A
102
SPEED CHANGE NUT 1 3/8"-16
Price
N/A
103
HANDWHEEL
Price
N/A
104
SLIP BOLT M20 - 2.5 X 20
Price
N/A
105
Now: PW06
FLAT WASHER 1/4
Price
N/A
106
CAP SCREW 1/4-20 X 1-1/2
Price
N/A
107
LOCK WASHER 8MM
Price
N/A
108
Now: PB07M
HEX BOLT M8-1.25 X 25
Price
N/A
109
MOTOR MOUNT
Price
N/A
110
Now: PB01M
HEX BOLT M10-1.5 X 30
Price
N/A
111
Now: PB25M
HEX BOLT M12-1.75 X 25
Price
N/A
112
Now: PB24M
HEX BOLT M12-1.75 X 45
Price
N/A
113
Now: PN02M
HEX NUT M10-1.5
Price
N/A
114
CABINET DOOR
Price
N/A
115
Now: PS26M
PHLP HD SCR M6-1 X 20
Price
N/A
116
Now: PW02
FLAT WASHER 3/8
Price
N/A
117
Now: PB60
HEX BOLT 3/8-16 X 3
Price
N/A
118
SPEED CHANGE LEVER
Price
N/A
119
RIVET 3 X 40
Price
N/A
120
ELECTRIC BOX V1
Price
N/A
120-1
*DISCD*CONTACTOR TECO CN-11 V1
Price
N/A
120-10
FUSE 3A
Price
N/A
120-11
*DISCD*CONVERSION KIT RHN-18A V1.09.03
Price
N/A
120-12V2
CONTACTOR TECO CU-11 3A1A V2.05.08
Price
N/A
120-1V2
CONTACTOR TECO CU-11 3A1B V2.05.08
Price
N/A
120-2
*DISCD*CONTACTOR CN-25 5/10HP V1.01.15
$141.75
Enter quantity between 1 and 99
120-2V2
CONTACTOR CU-27 5/10HP V2.05.08
$90.60
Enter quantity between 1 and 99
120-3
FUSE HOLDER
Price
N/A
120-4
RELAY RHN-10/4A 220V TAIAN V2.06.07
Price
N/A
120-4A
RELAY RHN-10/4A 220V TAIAN V2.06.07
$51.75
Enter quantity between 1 and 99
120-5
OL RELAY TECO RHU-10 2.9-4.0A V3.01.11
Price
N/A
120-5A
OL RELAY TECO RHU-10 2.9-4.0A V3.01.11
Price
N/A
120-6
*DISCD*RELAY EOCRSS 5/10HP 220V TAIAN V1
Item is no longer available
Price
N/A
120-6V2
*DISCD*OL RELAY TECO EOCR-SS 220V TECO
Item is no longer available
Price
N/A
120-6V3
OL RELAY TELE LT4730F7A 4-30A V3.01.11
Item is no longer available
Price
N/A
120-7
TRANSFORMER 110VA 220V-110V
Price
N/A
120-8
TERMINAL STRIP 26 CIRCUIT
Price
N/A
120-9
WIRING DUCT WITH COVER
Price
N/A
121
Now: PB49M
HEX BOLT M12-1.75 X 20
Price
N/A
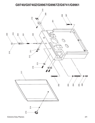
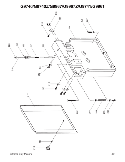
201
WALL LEFT
Price
N/A
202
Now: PB76M
HEX BOLT M12-1.75 X 110
Price
N/A
203
Now: PN09M
HEX NUT M12-1.75
Price
N/A
204
HELICAL ROLLER SPRING 19.5 X 109MM
Price
N/A
205
Now: PN02M
HEX NUT M10-1.5
Price
N/A
206
Now: PB31M
HEX BOLT M10-1.5 X 40
Price
N/A
207
LOCK WASHER 12MM
Price
N/A
208
Now: PB33M
HEX BOLT M12-1.75 X 50
Price
N/A
209
COVER SUPPORT 7/2 X 52
Price
N/A
210
CAP SCREW M8-1.25 X 25
Price
N/A
211
CATCH PLATE
Price
N/A
212
Now: PS68M
PHLP HD SCR M6-1 X 10
Price
N/A
213
KNOB BOLT M10-1.5 X 20
Price
N/A
214
Now: PN03M
HEX NUT M8-1.25
Price
N/A
215
Now: PW06M
FLAT WASHER 12MM
Price
N/A
216
Now: PB27M
HEX BOLT M12-1.75 X 30
Price
N/A
217
WALL DOOR LEFT
Price
N/A
218
SET SCREW M6-1 X 6
Price
N/A
219
ROLL PIN 3 X 18
Price
N/A
220
HANDLE ASSEMBLY
Price
N/A
221
HELICAL PULLEY SPRING 11 X 46MM
Price
N/A
222
BRAKE ROD
Price
N/A
223
BRAKE CASING
Price
N/A
301
WALL RIGHT
Price
N/A
302
Now: PN09M
HEX NUT M12-1.75
Price
N/A
303
Now: PN04
HEX NUT 5/8-11
Price
N/A
304
SPROCKET SHAFT
Price
N/A
305
SPROCKET
Price
N/A
306
BALL BEARING 6201ZZ
Price
N/A
307
Now: PR29M
INT RETAINING RING 32MM
Price
N/A
308
Now: PW01M
FLAT WASHER 8MM
Price
N/A
309
CAP SCREW M8-1.25 X 10
Price
N/A
310
SPROCKET SHAFT
Price
N/A
311
SPROCKET
Price
N/A
312
BALL BEARING 6203ZZ
Price
N/A
313
Now: PK18M
KEY 4 X 4 X 82
Price
N/A
314
Now: PR23M
INT RETAINING RING 40MM
Price
N/A
315
SPROCKET PLATE
Price
N/A
316
CAP SCREW M12-1.75 X 50
Price
N/A
317
BEARING WASHER 12.7X23MM
Price
N/A
318
Now: PLW07
LOCK WASHER 1/2
Price
N/A
319
Now: PB33M
HEX BOLT M12-1.75 X 50
Price
N/A
320
Now: PB76M
HEX BOLT M12-1.75 X 110
Price
N/A
321
HELICAL ROLLER SPRING 19.5 X 109MM
Price
N/A
322
Now: PN02M
HEX NUT M10-1.5
Price
N/A
323
SET SCREW M10-1.5 X 23
Price
N/A
324
Now: PB31M
HEX BOLT M10-1.5 X 40
Price
N/A
325
*DISCD*HANDWHEEL V1.09.03
Price
N/A
326
CATCH PLATE
Price
N/A
327
Now: PS68M
PHLP HD SCR M6-1 X 10
Price
N/A
328
KNOB BOLT M8-1.25 X 20
Price
N/A
329
Now: PN02M
HEX NUT M10-1.5
Price
N/A
330
COVER SUPPORT
Price
N/A
331
CAP SCREW M8-1.25 X 25
Price
N/A
332
WALL DOOR RIGHT
Price
N/A
333
ROLLER CHAIN 5/8 X 3/8" X 106LINK
Price
N/A
334
CHAIN CONNECTOR LINK 5/8
Price
N/A
335
Now: PS17M
PHLP HD SCR M4-.7 X 6
Price
N/A
336
Now: PW05M
FLAT WASHER 4MM
Price
N/A
337
LIMIT SWITCH
Price
N/A
338
UPPER LIMIT SWITCH PLATE
Price
N/A
339
Now: PB08M
HEX BOLT M6-1 X 20
Price
N/A
340
Now: PW06
FLAT WASHER 1/4
Price
N/A
341
LIMIT SWITCH PLATE LOWER
Price
N/A
342
SEAT
Price
N/A
343
Now: PB31M
HEX BOLT M10-1.5 X 40
Price
N/A
344
Now: PN02M
HEX NUT M10-1.5
Price
N/A
345
Now: PW04M
FLAT WASHER 10MM
Price
N/A
346
HELICAL SPRING 19 X 110MM
Price
N/A
347
CAP SCREW M8-1.25 X 16
Price
N/A
348
LOCK WASHER 8MM
Price
N/A
349
CAP SCREW M8-1.25 X 40
Price
N/A
401
TABLE
Price
N/A
402
TABLE ROLLER
Price
N/A
403
ECCENTRIC SHAFT 20" MODEL 7/8 X 600MM
Price
N/A
404
BALL BEARING 6006ZZ
Price
N/A
405
ECCENTRIC PULL ROD
Price
N/A
406
SHORT ROLLER ADJ BAR 6X25X148MM
Price
N/A
407
ROLLER ADJ BAR LONG 6 X 25 X 400MM
Price
N/A
408
ROLLER BEARING HOUSING R
Price
N/A
409
ROLLER BEARING HOUSING L
Price
N/A
410
HOUSING PIVOT BOLT M16-2 X 17MM
Price
N/A
411
ACCOLADE SEAT
Price
N/A
412
ADAMANT SEAT
Price
N/A
413
ADJUSTMENT SEAT
Price
N/A
414
CLOSED SPROCKET 1/2 X 14T
Price
N/A
415
ROLLER ECCENTRIC L
Price
N/A
416
ROLLER ECCENTRIC R
Price
N/A
417
GIB 12 X 32 X 160MM
Price
N/A
418
SPACER RING
Price
N/A
419
Now: PB32M
HEX BOLT M10-1.5 X 25
Price
N/A
420
Now: PN02M
HEX NUT M10-1.5
Price
N/A
421
Now: PN09M
HEX NUT M12-1.75
Price
N/A
422
Now: PR51M
INT RETAINING RING 55MM
Price
N/A
423
SHORT ROLLER
Price
N/A
424
Now: PR15M
EXT RETAINING RING 30MM
Price
N/A
425
CAP SCREW 5/16-18 X 1/4
Price
N/A
426
Now: PSS08
SET SCREW 5/16-18 X 1/2
Price
N/A
427
SET SCREW M8-1.25 X 6
Price
N/A
428
Now: PK27M
KEY 7 X 7 X 25
Price
N/A
429
Now: PB31M
HEX BOLT M10-1.5 X 40
Price
N/A
430
CAP SCREW M8-1.25 X 10
Price
N/A
431
CAP SCREW M8-1.25 X 16
Price
N/A
432
Now: PW02
FLAT WASHER 3/8
Price
N/A
433
MOVABLE BOLT 3/8-16 X 40MM
Price
N/A
434
ADJUSTMENT HANDLE STUD
Price
N/A
435
ROUND KNOB FEMALE 3/8 X 34
Price
N/A
436
DOUBLE SIDED IRON BAR
Price
N/A
437
CAP SCREW M6-1 X 12
Price
N/A
438
PROTECTION PLATE 1/2 X 1/2 X 375MM LEFT
Price
N/A
439
Now: PB02M
HEX BOLT M6-1 X 12
Price
N/A
440
PROTECTION PLATE RIGHT
Price
N/A
441
TABLE ROLLER SPROCKET 5/8-13 X 25 X 30
Price
N/A
442
HANDLE SCALE MARK
Price
N/A
443
RIVET 2.2 X 6
Price
N/A
444
GRADUATED SCALE
Price
N/A
445
CAP SCREW M10-1.5 X 20
Price
N/A
446
CHAIN 1/2 X 425 X 120MM
Price
N/A
447
CHAIN 1/2 MASTER LINK
Price
N/A
448
TABLE PULLEY PLATE M8-1.25
Price
N/A
449
Now: PN03M
HEX NUT M8-1.25
Price
N/A
450
CAP SCREW M8-1.25 X 65
Price
N/A
451
Now: G3845
Bearing - 22mm x 8mm
Price
N/A
452
PULLEY W/HEX NUT M8 X 12
Price
N/A
501
OUTFEED ROLLER
Price
N/A
502
BEARING BLOCK LEFT
Price
N/A
503
FIXED BEARING NUT M25-16
Price
N/A
504
CASE COVER LEFT
Price
N/A
505
BALL BEARING 6205ZZ
Price
N/A
506
BEARING BLOCK LT RIGHT
Price
N/A
507
CASE COVER RIGHT
Price
N/A
508
SPROCKET WASHER 25.5X11.5MM
Price
N/A
509
FEED ROLLER SPROCKET
Price
N/A
510
Now: PK27M
KEY 7 X 7 X 25
Price
N/A
511
Now: PSS15
SET SCREW 3/8-16 X 3/8
Price
N/A
601
INFEED ROLLER 42 X 732MM
Price
N/A
602
COLLAR
Price
N/A
603
FOLLER CASE LT RIGHT
Price
N/A
604
BALL BEARING 6205ZZ
Price
N/A
605
CASE COVER RIGHT
Price
N/A
606
SPROCKET WASHER 25.5X11.5MM
Price
N/A
607
FEED ROLLER SPROCKET
Price
N/A
608
BEARING FIXED NUT M25-16
Price
N/A
609
ROLLER CASE LEFT
Price
N/A
610
CASE COVER LEFT
Price
N/A
611
Now: PSS15
SET SCREW 3/8-16 X 3/8
Price
N/A
612
Now: PK27M
KEY 7 X 7 X 25
Price
N/A
613
CIRCULAR RUBBER
Price
N/A
701
LIFTING GEAR SEAT RIGHT
Price
N/A
702
LIFTING GEAR SEAT LEFT
Price
N/A
703
LIFTING GEAR ASSY LEFT
Price
N/A
704
LIFT SCREW LONG 1-1/4 - 4 X 400
Price
N/A
705
WORM GEAR
Price
N/A
706
FIXED STOP COLLAR
Price
N/A
707
LIFTING GEAR ASSY LEFT
Price
N/A
708
RIGHT LIFT SCR 1-1/4-4 X 400 W/ GEAR
Price
N/A
709
Now: P2907
THRUST BEARING 2907
Price
N/A
710
Now: PSS05
SET SCREW 5/16-18 X 1/4
Price
N/A
711
Now: PB07M
HEX BOLT M8-1.25 X 25
Price
N/A
712
Now: PLW01
LOCK WASHER 5/16
Price
N/A
713
RUBBER SLEEVE
Price
N/A
714
FENDER WASHER 8MM
Price
N/A
715
LOCK WASHER 8MM
Price
N/A
716
Now: PB26M
HEX BOLT M8-1.25 X 30
Price
N/A
717
LOCK WASHER 10MM
Price
N/A
718
Now: PB74M
HEX BOLT M10-1.5 X 20
Price
N/A
719
BALL BEARING 6205ZZ
Price
N/A
720
Now: PB01M
HEX BOLT M10-1.5 X 30
Price
N/A
721
WORM WHEEL
Price
N/A
722
Now: PK28M
KEY 7 X 7 X 29
Price
N/A
723
SET SCREW M8-1.25 X 16
Price
N/A
801
WALL LEFT THIN SHORT
Price
N/A
802
WALL THICK SHORT RIGHT
Price
N/A
803
SWITCH PLATE
Price
N/A
804
Now: PS68M
PHLP HD SCR M6-1 X 10
Price
N/A
805
PUSH BUTTON SWITCH T1 RED
Price
N/A
806
SWITCH RED
Price
N/A
807
PUSH BUTTON SWITCH T2 GREEN
Price
N/A
808
ELEVATION LOCK STUD
Price
N/A
809
KNOB M10 FEMALE
Price
N/A
810
Now: PN03M
HEX NUT M8-1.25
Price
N/A
811
GRADUATION STRUT
Price
N/A
812
SCALE ROPE
Price
N/A
813
Now: PN01M
HEX NUT M6-1
Price
N/A
814
PULLEY L
Price
N/A
815
Now: G3845
Bearing - 22mm x 8mm
Price
N/A
816
CAP SCREW M8-1.25 X 65
Price
N/A
817
SCALE PLATE SUPPORT
Price
N/A
818
SCALE SUPPORT
Price
N/A
819
GRADUATED SCALE
Price
N/A
820
MOVABLE SCALE PLATE
Price
N/A
821
PULLEY
Price
N/A
822
SCALE SUPPORT
Price
N/A
823
Now: PS30
PHLP HD SCR 8-32 X 1
Price
N/A
824
PULLEY FERRULE S
Price
N/A
825
Now: PW06
FLAT WASHER 1/4
Price
N/A
826
SCALE PLATE BOLT M16-1 X 16
Price
N/A
827
COTTER PIN 5/32 X 1-1/2"
Price
N/A
828
Now: PB20M
HEX BOLT M8-1.25 X 35
Price
N/A
829
PROTECTION PLATE
Price
N/A
830
COMPRESS PAWL SPRING 2MM
Price
N/A
831
CAP SCREW M8-1.25 X 55
Price
N/A
832
FRONT SEAT
Price
N/A
833
CLAW SPRING NUT M8-1.25
Price
N/A
834
CAP SCREW M8-1.25 X 16
Price
N/A
835
Now: PN06M
HEX NUT M5-.8
Price
N/A
836
SCALE SPRING HELICAL D6 X 385MM
Price
N/A
837
Now: PW01M
FLAT WASHER 8MM
Price
N/A
838
SCALE PLATE
Price
N/A
839
POWER INDICATOR LIGHT 22MM RED
Price
N/A
901
PAWL
Price
N/A
902
STOP PAWL SHAFT
Price
N/A
903
STOP PAWL FIXED RING M8X6MM
Price
N/A
904
SET SCREW M8-1.25 X 6
Price
N/A
905
STOP PAWL
Price
N/A
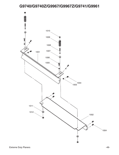
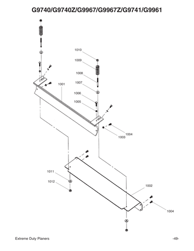
1001
PRESSURE BAR 22-7/8" V1
Price
N/A
1001A
PRESSURE BAR 22-7/8" V2.06.07
Price
N/A
1002
PROTECTION PLATE V1
Price
N/A
1002A
PROTECTION PLATE V2.06.07
Price
N/A
1003
Now: PLW01
LOCK WASHER 5/16
Price
N/A
1003A
Now: PW04M
FLAT WASHER 10MM
Price
N/A
1004
Now: PB03M
HEX BOLT M8-1.25 X 16
Price
N/A
1004A
CAP SCREW M10-1.5 X 30
Price
N/A
1005
Now: PN03M
HEX NUT M8-1.25
Price
N/A
1005A
Now: PN09M
HEX NUT M12-1.75
Price
N/A
1006
Now: PB20M
HEX BOLT M8-1.25 X 35
Price
N/A
1006A
CAP SCREW M8-1.25 X 12
Price
N/A
1007
Now: PW02
FLAT WASHER 3/8
Price
N/A
1007A
SPRING CAP V2.06.07
Price
N/A
1008
PISTON BOLT M8-1.25 X 90MM V1
Price
N/A
1008A
CAP SCREW M10-1.5 X 12
Price
N/A
1009
HELICAL SPRING 70MML V1
Price
N/A
1009A
COMPRESSION SPRING 51MM V2.06.07
Price
N/A
101
CABINET 20" MODEL
Price
N/A
1010
Now: PN08
HEX NUT 3/8-16
Price
N/A
1010A
PRESSURE BAR BRACKET V2.06.07
Price
N/A
1011
Now: PW02
FLAT WASHER 3/8
Price
N/A
1011A
CAP SCREW M10-1.5 X 40
Price
N/A
1012
Now: PN08
HEX NUT 3/8-16
Price
N/A
1012A
SET SCREW M12-1.75 X 40
Price
N/A
1013
CAP SCREW M10-1.5 X 25
Price
N/A
1014
TRUNNION RIGHT
Price
N/A
1015
LOCK WASHER 8MM
Price
N/A
1016
Now: PB26M
HEX BOLT M8-1.25 X 30
Price
N/A
1017
SET SCREW M6-1 X 8
Price
N/A
1018
Now: PB26M
HEX BOLT M8-1.25 X 30
Price
N/A
1019
LOCK WASHER 10MM
Price
N/A
102
Now: PW02
FLAT WASHER 3/8
Price
N/A
1020
Now: PB74M
HEX BOLT M10-1.5 X 20
Price
N/A
1021
BALL BEARING 6205ZZ
Price
N/A
1022
Now: PB01M
HEX BOLT M10-1.5 X 30
Price
N/A
1023
WORM WHEEL
Price
N/A
1024
Now: PK28M
KEY 7 X 7 X 29
Price
N/A
1025
SET SCREW M8-1.25 X 16
Price
N/A
103
Now: PB60
HEX BOLT 3/8-16 X 3
Price
N/A
104
MOTOR MOUNT
Price
N/A
105
Now: PB25M
HEX BOLT M12-1.75 X 25
Price
N/A
106
Now: PB01M
HEX BOLT M10-1.5 X 30
Price
N/A
107
SPEED CHANGE NUT 1 3/8"-16
Price
N/A
108
CAP SCREW 1/4-20 X 1-1/2
Price
N/A
109
LOCK WASHER 8MM
Price
N/A
110
Now: PB07M
HEX BOLT M8-1.25 X 25
Price
N/A
1101
MOTOR 5HP 220V 1-PH
$1,143.25
Enter quantity between 1 and 99
1101-1
MOTOR COVER
$19.55
Enter quantity between 1 and 99
1101-2
MOTOR FAN
$39.70
Enter quantity between 1 and 99
1101-3
WIRING BOX
$20.55
Enter quantity between 1 and 99
1101-4
S CAPACITOR 800M 250V 2 X 4
Price
N/A
1101-5
R CAPACITOR 30M 350V 1-3/4 X 2-3/8
$23.60
Enter quantity between 1 and 99
1102
Now: PB14M
HEX BOLT M10-1.5 X 35
Price
N/A
1103
LOCK WASHER 10MM
Price
N/A
1104
Now: PN02M
HEX NUT M10-1.5
Price
N/A
1105
MOTOR PLATE
Price
N/A
1106
Now: PK78M
KEY 10 X 8 X 70
Price
N/A
1107
MOTOR PULLEY 1" 2PC SMALL
Price
N/A
1108
Now: PSS15
SET SCREW 3/8-16 X 3/8
Price
N/A
1109
Now: PB01M
HEX BOLT M10-1.5 X 30
Price
N/A
111
Now: PW06
FLAT WASHER 1/4
Price
N/A
1110
Now: PLW04
LOCK WASHER 3/8
Price
N/A
1111
Now: PB34M
HEX BOLT M10-1.5 X 60
Price
N/A
1112
SET SCREW M8-1.25 X 6
Price
N/A
1113
Now: PVB71
V-BELT B71
Price
N/A
112
Now: PW06
FLAT WASHER 1/4
Price
N/A
113
HANDWHEEL
Price
N/A
114
Now: PN02M
HEX NUT M10-1.5
Price
N/A
115
SPEED CHANGE LEVER
Price
N/A
116
RIVET 3 X 40
Price
N/A
117
ELECTRIC BOX V1
Price
N/A
118
Now: PB49M
HEX BOLT M12-1.75 X 20
Price
N/A
119
CABINET DOOR
Price
N/A
120
Now: PS26M
PHLP HD SCR M6-1 X 20
Price
N/A
1201
*DISCD*FEED MOTOR 1HP 220V 1-PH
Item is no longer available
Price
N/A
1201-1
MOTOR FAN COVER
$39.70
Enter quantity between 1 and 99
1201-2
R CAPACITOR 30M 350V 1-3/4 X 2-3/8
Price
N/A
1201-3
FEED MOTOR WIRING BOX 1PH
Item is no longer available
Price
N/A
1201-4
FEED MOTOR CAP 250V 25M V1.09.03
Item is no longer available
Price
N/A
1201-4A
FEED MOTOR CAP 350V 30M V3.08.07
Item is no longer available
Price
N/A
1201-4B
FEED MOTOR CAP 300V 30M V2.07.05
Item is no longer available
Price
N/A
1201-5
FEED MOTOR CAPACITOR COVER
Item is no longer available
Price
N/A
1202
DUST PORT 20" MODEL
Price
N/A
1203
Now: PB01M
HEX BOLT M10-1.5 X 30
Price
N/A
1204
LIMIT SWITCH
Price
N/A
1205
Now: PN02M
HEX NUT M10-1.5
Price
N/A
1206
SPEED CHANGE ROD
Price
N/A
1207
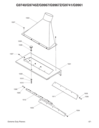
Now: PB18
HEX BOLT 3/8-16 X 1
Price
N/A
1208
Now: PK07M
KEY 6 X 6 X 20
Price
N/A
1209
*DISCD*SPEED CHANGE PULLEY V1
Price
N/A
121
Now: PB24M
HEX BOLT M12-1.75 X 45
Price
N/A
1210
V-BELT 14 X 22 X 420MM 1-PH
$199.00
Enter quantity between 1 and 99
1211
*DISCD*HONEYCOMBED MUFFLE PLATE
Item is no longer available
Price
N/A
1212
*DISCD*RUBBER PRESSING SHEET
Item is no longer available
Price
N/A
1301
TRANSMISSION BOX
Price
N/A
1301-1
MOTOR FAN COVER
Price
N/A
1302
TRANSMISSION BOX GEAR
Price
N/A
1303
TRANSMISSION BOX CAP
Price
N/A
1304
TRANSMISSION SHAFT
Price
N/A
1305
GEAR SHAFT
Price
N/A
1306
BEARING SPACER
Price
N/A
1307
BALL BEARING 6204ZZ
Price
N/A
1308
TRANSMISSION SPROCKET 5/8X20X30MML 9T
Price
N/A
1309
TRANNY PULLEY 10" 1-PH
$124.20
Enter quantity between 1 and 99
1310
Now: PK34M
KEY 5 X 5 X 20
Price
N/A
1311
Now: PW02
FLAT WASHER 3/8
Price
N/A
1312
Now: PB03M
HEX BOLT M8-1.25 X 16
Price
N/A
1313
Now: PW07
FLAT WASHER 5/16
Price
N/A
1314
Now: PW01
FLAT WASHER 1/2
Price
N/A
1315
Now: PN09M
HEX NUT M12-1.75
Price
N/A
1316
Now: PR25M
INT RETAINING RING 47MM
Price
N/A
1317
Now: PK06M
KEY 5 X 5 X 10
Price
N/A
1318
Now: PB77M
HEX BOLT M4-.7 X 45
Price
N/A
1319
Now: PN04M
HEX NUT M4-.7
Price
N/A
1320
GREASE FITTING 1/8-27
Price
N/A
1321
MOVABLE SCALE PLATE
Price
N/A
1322
PULLEY
Price
N/A
1323
SCALE SUPPORT
Price
N/A
1324
Now: PB95M
HEX BOLT M5-.8 X 16
Price
N/A
1325
PULLEY FERRULE S
Price
N/A
1326
Now: PW06
FLAT WASHER 1/4
Price
N/A
1327
SCALE PLATE BOLT M16-1 X 16
Price
N/A
1328
UPPER LIMIT SWITCH PLATE
Price
N/A
1329
LIMIT SWITCH
Price
N/A
1330
Now: PW04M
FLAT WASHER 10MM
Price
N/A
1331
Now: PS30
PHLP HD SCR 8-32 X 1
Price
N/A
1332
Now: PW04M
FLAT WASHER 10MM
Price
N/A
1333
Now: PN06M
HEX NUT M5-.8
Price
N/A
1334
Now: PN04M
HEX NUT M4-.7
Price
N/A
1335
Now: PS18M
PHLP HD SCR M4-.7 X 25
Price
N/A
1336
COTTER PIN 5/32 X 1-1/2"
Price
N/A
1337
Now: PB20M
HEX BOLT M8-1.25 X 35
Price
N/A
1338
PROTECTION PLATE
Price
N/A
1339
COMPRESS PAWL SPRING 2MM
Price
N/A
1340
CAP SCREW M8-1.25 X 16
Price
N/A
1341
CAP SCREW M8-1.25 X 55
Price
N/A
1342
FRONT SEAT
Price
N/A
1343
CLAW SPRING NUT M8-1.25
Price
N/A
1344
Now: PN06M
HEX NUT M5-.8
Price
N/A
1345
Now: PS68M
PHLP HD SCR M6-1 X 10
Price
N/A
1346
SCALE SPRING HELICAL D6 X 385MM
Price
N/A
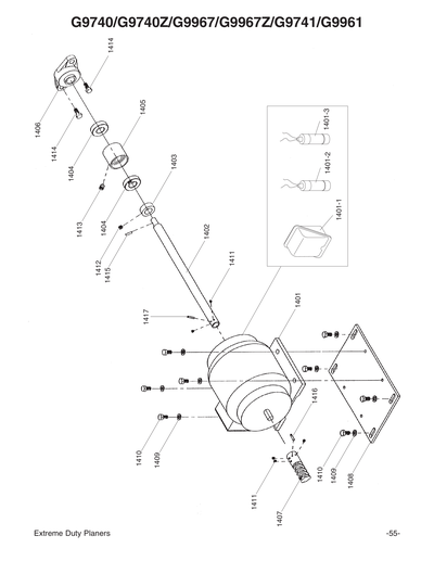
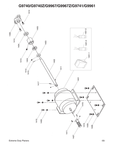
1401
ELEV MOTOR 1/2HP 220V 1-PH
$146.15
Enter quantity between 1 and 99
1401-1
ELEV MOTOR WIRING BOX 1 PHASE
Item is no longer available
Price
N/A
1401-2
Now: PC200
S CAPACITOR 200M 125V 1-5/16 X 2-1/4
Price
N/A
1401-3
R CAPACITOR 20M 250V 1-3/8 X 2
Price
N/A
1402
SHORT ELEVATION ROD
Price
N/A
1403
ELEVATION COLLAR
Price
N/A
1404
BALL BEARING 6004ZZ
Price
N/A
1405
BEARING HOUSING
Price
N/A
1406
PILLON BLOCK BEARING UCLF 204-20
Price
N/A
1407
LIFTING MOTOR WORM
Price
N/A
1408
LIFTING MOTOR PLATE
Price
N/A
1409
Now: PLW01
LOCK WASHER 5/16
Price
N/A
1410
Now: PB03M
HEX BOLT M8-1.25 X 16
Price
N/A
1411
SET SCREW M10-1.5 X 12
Price
N/A
1412
SET SCREW M8-1.25 X 8
Price
N/A
1413
SET SCREW M10-1.5 X 12
Price
N/A
1414
Now: PB09M
HEX BOLT M8-1.25 X 20
Price
N/A
1415
ROLL PIN 4 X 15
Price
N/A
1416
ROLL PIN 4 X 25
Price
N/A
1417
ROLL PIN 4 X 20
Price
N/A
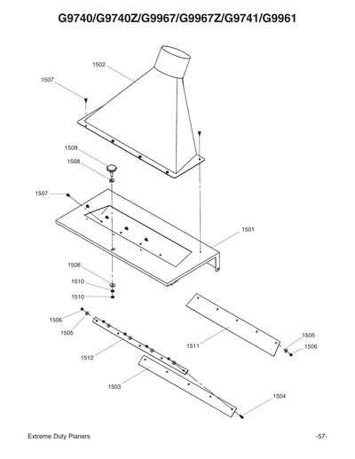
1501
DISCHARGE COVER 20" MODEL
Price
N/A
1502
DUST PORT 20" MODEL
Price
N/A
1503
RUBBER SEAL
Price
N/A
1504
Now: PS26M
PHLP HD SCR M6-1 X 20
Price
N/A
1505
Now: PW06
FLAT WASHER 1/4
Price
N/A
1506
Now: PN01M
HEX NUT M6-1
Price
N/A
1507
Now: PS68M
PHLP HD SCR M6-1 X 10
Price
N/A
1508
Now: PW07
FLAT WASHER 5/16
Price
N/A
1509
KNOB BOLT M8-1.25 X 30
Price
N/A
1510
Now: PN03M
HEX NUT M8-1.25
Price
N/A
1511
DISCHARGE COVER 20" MODEL
Price
N/A
1512
DUST PORT 20" MODEL
Price
N/A
1601
ELEV MOTOR 1/2HP 220V 1-PH
Price
N/A
1602
PISTON RING
Price
N/A
1603
SMALL CUTTERHEAD CASE W/COVER
Price
N/A
1603-1
SET SCREW M10-1.5 X 15
Price
N/A
1604
LARGE CUTTERHEAD CASE W/ COVER
Price
N/A
1605
NUT M35-1.5
Price
N/A
1606
SMALL CUTTERHEAD CASE W/COVER
Price
N/A
1607
SPANNER NUT M40-1.5P
Price
N/A
1608
LARGE CUTTERHEAD CASE W/ COVER
Price
N/A
1609
CUTTERHEAD PULLEY V1
Price
N/A
1610
CUTTERHEAD PULLEY NUT M30-1.5
Price
N/A
1611
BALL BEARING 6207ZZ
Price
N/A
1612
CUTTERHEAD STOP PLATE
Price
N/A
1613
BALL BEARING 6208ZZ
Price
N/A
1614
GREASE FITTING 1/8-27
Price
N/A
1615
Now: PSS18
SET SCREW 5/16-18 X 3/4
Price
N/A
1616
COMPRESSION SPRING 0.6X6.1X23MM V1.09.03
Price
N/A
1617
Now: H2340
20-1/8" x 1-3/16" x 1/8" Jointer Blade - Set of 4
Price
N/A
1618
GIB
Price
N/A
1619
GIB BOLT M8-1.25 X 10
Price
N/A
1620
Now: PLW05
LOCK WASHER 7/16
Price
N/A
1621
Now: PB75M
HEX BOLT M12-1.75 X 35
Price
N/A
1725
HANDWHEEL
Price
N/A
201
WALL LEFT
Price
N/A
201-2
R CAPACITOR 30M 350V 1-3/4 X 2-3/8
Price
N/A
202
Now: PB76M
HEX BOLT M12-1.75 X 110
Price
N/A
203
Now: PN09M
HEX NUT M12-1.75
Price
N/A
204
HELICAL ROLLER SPRING 19.5 X 109MM
Price
N/A
205
Now: PN02M
HEX NUT M10-1.5
Price
N/A
206
Now: PB31M
HEX BOLT M10-1.5 X 40
Price
N/A
207
LOCK WASHER 12MM
Price
N/A
208
Now: PB33M
HEX BOLT M12-1.75 X 50
Price
N/A
209
COVER SUPPORT 7/2 X 52
Price
N/A
210
CAP SCREW M8-1.25 X 25
Price
N/A
211
CATCH PLATE
Price
N/A
212
Now: PS68M
PHLP HD SCR M6-1 X 10
Price
N/A
213
KNOB BOLT M10-1.5 X 20
Price
N/A
214
Now: PN03M
HEX NUT M8-1.25
Price
N/A
215
Now: PW06M
FLAT WASHER 12MM
Price
N/A
216
Now: PB27M
HEX BOLT M12-1.75 X 30
Price
N/A
217
WALL DOOR LEFT
Price
N/A
218
SET SCREW M6-1 X 6
Price
N/A
219
ROLL PIN 3 X 18
Price
N/A
220
HANDLE ASSEMBLY
Price
N/A
221
HELICAL PULLEY SPRING 11 X 46MM
Price
N/A
222
BRAKE ROD
Price
N/A
223
BRAKE CASING
Price
N/A
301
WALL RIGHT
Price
N/A
302
HELICAL SPRING 19 X 110MM
Price
N/A
303
Now: PN02M
HEX NUT M10-1.5
Price
N/A
304
Now: PN02M
HEX NUT M10-1.5
Price
N/A
305
Now: PN09M
HEX NUT M12-1.75
Price
N/A
306
Now: PN04
HEX NUT 5/8-11
Price
N/A
307
SPROCKET SHAFT
Price
N/A
308
SPROCKET
Price
N/A
309
BALL BEARING 6201ZZ
Price
N/A
310
Now: PR29M
INT RETAINING RING 32MM
Price
N/A
311
Now: PW01M
FLAT WASHER 8MM
Price
N/A
312
BALL BEARING 6201ZZ
Price
N/A
313
SPROCKET SHAFT
Price
N/A
314
SPROCKET
Price
N/A
315
BALL BEARING 6203ZZ
Price
N/A
316
Now: PR18M
EXT RETAINING RING 17MM
Price
N/A
317
Now: PR23M
INT RETAINING RING 40MM
Price
N/A
318
SPROCKET PLATE
Price
N/A
319
CAP SCREW M12-1.75 X 50
Price
N/A
320
Now: PW06
FLAT WASHER 1/4
Price
N/A
321
Now: PB08M
HEX BOLT M6-1 X 20
Price
N/A
322
BEARING WASHER 12.7X23MM
Price
N/A
323
Now: PLW07
LOCK WASHER 1/2
Price
N/A
324
Now: PB33M
HEX BOLT M12-1.75 X 50
Price
N/A
325
Now: PB76M
HEX BOLT M12-1.75 X 110
Price
N/A
326
HELICAL ROLLER SPRING 19.5 X 109MM
Price
N/A
327
SET SCREW M10-1.5 X 30
Price
N/A
328
Now: PB31M
HEX BOLT M10-1.5 X 40
Price
N/A
329
*DISCD*HANDWHEEL V1.09.03
Price
N/A
330
CATCH PLATE
Price
N/A
331
Now: PS68M
PHLP HD SCR M6-1 X 10
Price
N/A
332
KNOB BOLT M8-1.25 X 20
Price
N/A
333
Now: PN02M
HEX NUT M10-1.5
Price
N/A
334
COVER SUPPORT
Price
N/A
335
CAP SCREW M8-1.25 X 25
Price
N/A
336
WALL DOOR RIGHT
Price
N/A
337
ROLLER CHAIN 5/8 X 3/8" X 106LINK
Price
N/A
338
CHAIN CONNECTOR LINK 5/8
Price
N/A
401
TRANSMISSION BOX
Price
N/A
402
TRANSMISSION BOX GEAR
Price
N/A
403
TRANSMISSION BOX CAP
Price
N/A
404
TRANSMISSION SHAFT
Price
N/A
405
GEAR SHAFT
Price
N/A
406
BEARING SPACER
Price
N/A
407
BALL BEARING 6204ZZ
Price
N/A
408
TRANSMISSION SPROCKET 5/8X20X30MML 9T
Price
N/A
409
TRANNY PULLEY 8" 3PH
Price
N/A
410
Now: PK34M
KEY 5 X 5 X 20
Price
N/A
411
Now: PW02
FLAT WASHER 3/8
Price
N/A
412
Now: PB03M
HEX BOLT M8-1.25 X 16
Price
N/A
413
Now: PW07
FLAT WASHER 5/16
Price
N/A
414
Now: PN09M
HEX NUT M12-1.75
Price
N/A
415
Now: PR25M
INT RETAINING RING 47MM
Price
N/A
416
Now: PK06M
KEY 5 X 5 X 10
Price
N/A
417
Now: PB77M
HEX BOLT M4-.7 X 45
Price
N/A
418
Now: PN04M
HEX NUT M4-.7
Price
N/A
419
GREASE FITTING 1/8-27
Price
N/A
501
TABLE
Price
N/A
502
TABLE ROLLER
Price
N/A
503
ECCENTRIC SHAFT 20" MODEL 7/8 X 600MM
Price
N/A
504
BALL BEARING 6006ZZ
Price
N/A
505
ECCENTRIC PULL ROD
Price
N/A
506
SHORT ROLLER ADJ BAR 6X25X148MM
Price
N/A
507
ROLLER ADJ BAR LONG 6 X 25 X 400MM
Price
N/A
508
ROLLER BEARING HOUSING R
Price
N/A
509
ROLLER BEARING HOUSING L
Price
N/A
510
HOUSING PIVOT BOLT M16-2 X 17MM
Price
N/A
511
ACCOLADE SEAT
Price
N/A
512
ADAMANT SEAT
Price
N/A
513
ADJUSTMENT SEAT
Price
N/A
514
CLOSED SPROCKET 1/2 X 14T
Price
N/A
515
ROLLER ECCENTRIC L
Price
N/A
516
ROLLER ECCENTRIC R
Price
N/A
517
GIB 12 X 32 X 160MM
Price
N/A
518
SPACER RING
Price
N/A
519
Now: PB32M
HEX BOLT M10-1.5 X 25
Price
N/A
520
Now: PN02M
HEX NUT M10-1.5
Price
N/A
521
Now: PN09M
HEX NUT M12-1.75
Price
N/A
522
Now: PR51M
INT RETAINING RING 55MM
Price
N/A
523
SHORT ROLLER
Price
N/A
524
Now: PR15M
EXT RETAINING RING 30MM
Price
N/A
525
CAP SCREW 5/16-18 X 1/4
Price
N/A
526
Now: PSS08
SET SCREW 5/16-18 X 1/2
Price
N/A
527
SET SCREW M8-1.25 X 6
Price
N/A
528
Now: PK27M
KEY 7 X 7 X 25
Price
N/A
529
Now: PB31M
HEX BOLT M10-1.5 X 40
Price
N/A
530
CAP SCREW M8-1.25 X 10
Price
N/A
531
CAP SCREW M8-1.25 X 16
Price
N/A
532
Now: PW02
FLAT WASHER 3/8
Price
N/A
533
MOVABLE BOLT 3/8-16 X 40MM
Price
N/A
534
ADJUSTMENT HANDLE STUD
Price
N/A
535
ROUND KNOB FEMALE 3/8 X 34
Price
N/A
536
DOUBLE SIDED IRON BAR
Price
N/A
537
CAP SCREW M6-1 X 12
Price
N/A
538
PROTECTION PLATE 1/2 X 1/2 X 375MM LEFT
Price
N/A
539
Now: PB02M
HEX BOLT M6-1 X 12
Price
N/A
540
PROTECTION PLATE RIGHT
Price
N/A
541
TABLE ROLLER SPROCKET 5/8-13 X 25 X 30
Price
N/A
542
HANDLE SCALE MARK
Price
N/A
543
RIVET 2.2 X 6
Price
N/A
544
GRADUATED SCALE
Price
N/A
545
CAP SCREW M10-1.5 X 20
Price
N/A
546
CHAIN 1/2 X 425 X 120MM
Price
N/A
547
CHAIN 1/2 MASTER LINK
Price
N/A
601
CUTTERHEAD 20" 4-KNIFE V1
Price
N/A
602
PISTON RING
Price
N/A
603
SMALL CUTTERHEAD CASE W/COVER
Price
N/A
604
LARGE CUTTERHEAD CASE W/ COVER
Price
N/A
605
NUT M35-1.5
Price
N/A
606
SMALL CUTTERHEAD CASE W/COVER
Price
N/A
607
SPANNER NUT M40-1.5P
Price
N/A
608
LARGE CUTTERHEAD CASE W/ COVER
Price
N/A
609
CUTTERHEAD PULLEY V1
Price
N/A
610
CUTTERHEAD PULLEY NUT M30-1.5
Price
N/A
611
BALL BEARING 6207-OPEN
Price
N/A
6116
LIMIT SWITCH TUBE
Item is no longer available
Price
N/A
612
CUTTERHEAD STOP PLATE
Price
N/A
613
BALL BEARING 6208ZZ
Price
N/A
614
GREASE FITTING 1/8-27
Price
N/A
615
Now: PSS18
SET SCREW 5/16-18 X 3/4
Price
N/A
616
COMPRESSION SPRING 0.6X6.1X23MM V1.09.03
Price
N/A
617
Now: H2340
20-1/8" x 1-3/16" x 1/8" Jointer Blade - Set of 4
Price
N/A
618
GIB
Price
N/A
619
GIB BOLT M8-1.25 X 10
Price
N/A
620
LOCK WASHER 12MM
Price
N/A
621
Now: PB75M
HEX BOLT M12-1.75 X 35
Price
N/A
701
LIFTING GEAR SEAT RIGHT
Price
N/A
702
LIFTING GEAR SEAT LEFT
Price
N/A
703
LIFTING GEAR ASSY LEFT
Price
N/A
704
LIFT SCREW LONG 1-1/4 - 4 X 400
Price
N/A
705
WORM GEAR
Price
N/A
706
FIXED STOP COLLAR
Price
N/A
707
LIFTING GEAR ASSY LEFT
Price
N/A
708
RIGHT LIFT SCR 1-1/4-4 X 400 W/ GEAR
Price
N/A
709
Now: P2907
THRUST BEARING 2907
Price
N/A
710
Now: PSS05
SET SCREW 5/16-18 X 1/4
Price
N/A
711
Now: PB07M
HEX BOLT M8-1.25 X 25
Price
N/A
801
INFEED ROLLER 42 X 732MM
Price
N/A
802
COLLAR
Price
N/A
803
FOLLER CASE LT RIGHT
Price
N/A
804
BALL BEARING 6205ZZ
Price
N/A
805
CASE COVER RIGHT
Price
N/A
806
SPROCKET WASHER 25.5X11.5MM
Price
N/A
807
FEED ROLLER SPROCKET
Price
N/A
808
BEARING FIXED NUT M25-16
Price
N/A
809
ROLLER CASE LEFT
Price
N/A
810
CASE COVER LEFT
Price
N/A
811
Now: PSS15
SET SCREW 3/8-16 X 3/8
Price
N/A
812
Now: PK27M
KEY 7 X 7 X 25
Price
N/A
813
CIRCULAR RUBBER
Price
N/A
901
STOP PAWL SHAFT
Price
N/A
902
PAWL
Price
N/A
903
STOP PAWL
Price
N/A
904
STOP PAWL FIXED RING M8X6MM
Price
N/A
905
SET SCREW M8-1.25 X 6
Price
N/A
MANUAL
MANUAL FOR G9740/Z/G9741/G9961/G9967/Z 1
Price
N/A