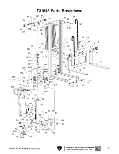
Parts for T31643 2-Ton Bear-Lift Pro Pallet Stacker

Parts Diagrams for T31643 - 2-Ton Bear-Lift Pro Pallet Stacker

IMPORTANT

Parts may have multiple versions that have changed over time. This will be indicated by V1, V2, V3, etc. in the parts description, followed by the version month and year that it was first used. Example: V2.01.17 indicates version 2 of a part went into use in January 2017. Please reference the manufacture date on the ID Label for your machine to ensure you are selecting the correct part when multiple versions are indicated.

If you cannot locate your part below, please contact our tech support department at techsupport@grizzly.com or 570-546-9663.

Please note: All parts ship out of our Springfield, Missouri facility.

Parts List for Parts for T31643 2-Ton Bear-Lift Pro Pallet Stacker

1
FORK MOUNTING PLATE
$264.50
Enter quantity between 1 and 99
2
Now: PB43M
HEX BOLT M12-1.75 X 75
Price
N/A
3
Now: PN09M
HEX NUT M12-1.75
Price
N/A
4
Now: PR64M
INT RETAINING RING 72MM
Price
N/A
5
BEARING SLEEVE 40MM
$11.20
Enter quantity between 1 and 99
6
Now: PR12M
EXT RETAINING RING 35MM
Price
N/A
7
BUSHING 16MM
$1.90
Enter quantity between 1 and 99
8
BALL BEARING 6207-2RS
Price
N/A
9
BEARING SLEEVE 110 X 35
$18.40
Enter quantity between 1 and 99
10
HAMMER FORK
$499.20
Enter quantity between 1 and 99
11
STAMPING FORK
$499.20
Enter quantity between 1 and 99
12
LIFTING FRAME
$132.25
Enter quantity between 1 and 99
13
Now: PN02M
HEX NUT M10-1.5
Price
N/A
14
LOCK WASHER 10MM
Price
N/A
15
Now: PB14M
HEX BOLT M10-1.5 X 35
Price
N/A
16
WHEEL ASSEMBLY
Price
N/A
17
LOCK WASHER 10MM
Price
N/A
18
Now: PW04M
FLAT WASHER 10MM
Price
N/A
19
Now: PB32M
HEX BOLT M10-1.5 X 25
Price
N/A
20
CROSS BAR
$5.45
Enter quantity between 1 and 99
21
MAST
$477.25
Enter quantity between 1 and 99
22
STEEL FENCE
$25.90
Enter quantity between 1 and 99
23
FENDER WASHER 5MM
Price
N/A
24
Now: PS08M
PHLP HD SCR M5-.8 X 12
Price
N/A
25
Now: PB20M
HEX BOLT M8-1.25 X 35
Price
N/A
26
Now: PN03M
HEX NUT M8-1.25
Price
N/A
27
Now: PW04M
FLAT WASHER 10MM
Price
N/A
28
COTTER PIN M5 X 25 STANDARD
$1.90
Enter quantity between 1 and 99
29
LOCK PIN
$2.60
Enter quantity between 1 and 99
30
BEARING SLEEVE 70 X 25
$16.95
Enter quantity between 1 and 99
31
Now: PR55M
INT RETAINING RING 60MM
Price
N/A
32
Now: PR64M
INT RETAINING RING 72MM
Price
N/A
33
BALL BEARING 6200-2RS
Price
N/A
34
CHAIN BLOCK
$18.40
Enter quantity between 1 and 99
35
ROLL PIN 8 X 35
Price
N/A
36
BEARING SHAFT
$20.90
Enter quantity between 1 and 99
37
ROLLER CHAIN
$37.10
Enter quantity between 1 and 99
38
COTTER PIN M4 X 28 STANDARD
$1.90
Enter quantity between 1 and 99
39
LINK PIN
$2.60
Enter quantity between 1 and 99
40
LINK SCREW 25 X 25
$11.90
Enter quantity between 1 and 99
41
COTTER PIN M10 X 40 STANDARD
$1.90
Enter quantity between 1 and 99
42
Now: PN28M
HEX NUT M20-2.5
Price
N/A
43
WHEEL ASSEMBLY
Price
N/A
44
BALL BEARING 6204ZZ
Price
N/A
45
WHEEL ASSEMBLY
$16.20
Enter quantity between 1 and 99
46
Now: PR08M
EXT RETAINING RING 19MM
Price
N/A
47
PISTON HOUSING ASSEMBLY
Price
N/A
48
PISTON HOUSING ASSEMBLY
Price
N/A
49
PISTON HOUSING ASSEMBLY
Price
N/A
50
STEEL BALL 6MM
Price
N/A
51
ROLL PIN 8 X 30
Price
N/A
52
STEEL BALL 6MM
Price
N/A
53
PISTON HOUSING ASSEMBLY
Price
N/A
54
PISTON HOUSING ASSEMBLY
Price
N/A
55
STEEL BALL 6MM
Price
N/A
56
PISTON HOUSING ASSEMBLY
Price
N/A
57
LIFT HANDLE ASSEMBLY
Price
N/A
58
LIFT HANDLE ASSEMBLY
Price
N/A
59
ROLL PIN 4 X 30
Price
N/A
60
ROLL PIN 4 X 30
Price
N/A
61
ROLL PIN 4 X 22
Price
N/A
62
ROLL PIN 4 X 22
Price
N/A
63
LIFT HANDLE ASSEMBLY
Price
N/A
64
LIFT HANDLE ASSEMBLY
Price
N/A
65
ROLL PIN 6 X 30
Price
N/A
66
PISTON HOUSING ASSEMBLY
Price
N/A
67
PISTON HOUSING ASSEMBLY
Price
N/A
68
PISTON HOUSING ASSEMBLY
Price
N/A
69
PISTON HOUSING ASSEMBLY
Price
N/A
70
PISTON HOUSING ASSEMBLY
Price
N/A
71
STEEL BALL 6MM
Price
N/A
72
STEEL BALL 6MM
Price
N/A
73
PISTON HOUSING ASSEMBLY
Price
N/A
74
PISTON HOUSING ASSEMBLY
Price
N/A
75
PISTON HOUSING ASSEMBLY
Price
N/A
76
ROLL PIN 8 X 30
Price
N/A
77
ROLL PIN 8 X 30
Price
N/A
78
PISTON HOUSING ASSEMBLY
Price
N/A
79
PISTON HOUSING ASSEMBLY
Price
N/A
80
PISTON HOUSING ASSEMBLY
Price
N/A
81
PISTON HOUSING ASSEMBLY
Price
N/A
82
PISTON HOUSING ASSEMBLY
Price
N/A
83
PISTON HOUSING ASSEMBLY
Price
N/A
84
PISTON HOUSING ASSEMBLY
Price
N/A
85
PISTON HOUSING ASSEMBLY
Price
N/A
86
PISTON HOUSING ASSEMBLY
Price
N/A
87
PISTON HOUSING ASSEMBLY
Price
N/A
88
LIFT HANDLE ASSEMBLY
Price
N/A
89
ROLL PIN 5 X 45
Price
N/A
90
PISTON HOUSING ASSEMBLY
Price
N/A
91
PISTON HOUSING ASSEMBLY
Price
N/A
92
PISTON HOUSING ASSEMBLY
Price
N/A
93
PISTON HOUSING ASSEMBLY
Price
N/A
94
PISTON HOUSING ASSEMBLY
Price
N/A
95
PISTON HOUSING ASSEMBLY
Price
N/A
96
PISTON HOUSING ASSEMBLY
Price
N/A
97
LIFT HANDLE ASSEMBLY
Price
N/A
98
LIFT HANDLE ASSEMBLY
Price
N/A
99
PISTON HOUSING ASSEMBLY
Price
N/A
100
PISTON HOUSING ASSEMBLY
Price
N/A
100A
PISTON HOUSING ASSEMBLY
$646.20
Enter quantity between 1 and 99
101
PISTON HOUSING ASSEMBLY
Price
N/A
102
PISTON HOUSING ASSEMBLY
Price
N/A
103
PISTON HOUSING ASSEMBLY
Price
N/A
104
PISTON HOUSING ASSEMBLY
Price
N/A
105
PISTON HOUSING ASSEMBLY
Price
N/A
106
PISTON HOUSING ASSEMBLY
Price
N/A
107
PISTON HOUSING ASSEMBLY
Price
N/A
108
PISTON HOUSING ASSEMBLY
Price
N/A
109
PISTON HOUSING ASSEMBLY
Price
N/A
110
PISTON HOUSING ASSEMBLY
Price
N/A
111
LOCK WASHER 8MM
Price
N/A
112
CAP SCREW M10-1.5 X 55
Price
N/A
113
Now: PN04M
HEX NUT M4-.7
Price
N/A
114
Now: PS39M
PHLP HD SCR M8-1.25 X 10
Price
N/A
115
FENDER WASHER 8MM
Price
N/A
200
PISTON RAM
$403.95
Enter quantity between 1 and 99
251
LIFT HANDLE ASSEMBLY
Price
N/A
251A
LIFT HANDLE ASSEMBLY
$58.95
Enter quantity between 1 and 99
265
Now: PR66M
INT RETAINING RING 25MM
Price
N/A
266
BALL BEARING 6200-2RS
Price
N/A
267
Now: PR66M
INT RETAINING RING 25MM
Price
N/A
268
BALL BEARING 6205-2RS
Price
N/A
269
FOOT BRAKE M8-1.25 X 12
$4.70
Enter quantity between 1 and 99
270
WHEEL STOP
$6.35
Enter quantity between 1 and 99
271
WHEEL BRACKET L
$18.40
Enter quantity between 1 and 99
272
Now: PW01M
FLAT WASHER 8MM
Price
N/A
273
LOCK NUT M8-1.25
Price
N/A
274
Now: PB32M
HEX BOLT M10-1.5 X 25
Price
N/A
275
LOCK WASHER 10MM
Price
N/A
276
LOCK WASHER 10MM
Price
N/A
277
WHEEL 180 X 50 REAR
$11.90
Enter quantity between 1 and 99
278
WHEEL SHAFT 20MM X 77MM
$4.00
Enter quantity between 1 and 99
279
WHEEL BRACKET R
$18.40
Enter quantity between 1 and 99
285
WHEEL DUST COVER
$2.35
Enter quantity between 1 and 99
286
FOOT LEVER BRACKET
$7.60
Enter quantity between 1 and 99
301
GRIZZLY.COM LABEL
$1.90
Enter quantity between 1 and 99
302
QR CODE LABEL
$1.25
Enter quantity between 1 and 99
303
LIFT CONTROL LABEL
$1.25
Enter quantity between 1 and 99
304
READ MANUAL 2.8W X 1.5H
Price
N/A
305
N/S GRIZZLY GREEN G1023S
Price
N/A
306
MACHINE ID LABEL
$16.40
Enter quantity between 1 and 99
307
FALL HAZARD LABEL
$1.25
Enter quantity between 1 and 99
308
GLOSSY BLACK
Price
N/A
MAN
MANUAL T31643 MFD-9.19+ V1.11.19
$15.25
Enter quantity between 1 and 99